|
|
(21), (22) Заявка: 2006104775/12, 15.02.2006
(24) Дата начала отсчета срока действия патента:
15.02.2006
(46) Опубликовано: 10.03.2008
(56) Список документов, цитированных в отчете о поиске:
SU 1822667 A1, 23.06.1993. SU 1771595 A1, 30.10.1992. US 4662105 A, 05.05.1987. JP 2004121173 A, 22.04.2004.
Адрес для переписки:
660049, г.Красноярск, пр. Мира, 88, ФГОУ ВПО КрасГАУ, патентоведу Т.А. Лобановой
|
(72) Автор(ы):
Долгих Павел Павлович (RU), Шилоносова Татьяна Юрьевна (RU), Пильчук Наталья Алексеевна (RU), Кудашова Елена Николаевна (RU)
(73) Патентообладатель(и):
Федеральное образовательное учреждение высшего профессионального образования Красноярский Государственный Аграрный Университет (RU)
|
(54) УСТРОЙСТВО ДЛЯ ОБЛУЧЕНИЯ РАСТЕНИЙ
(57) Реферат:
Изобретение относится к сельскому хозяйству, в частности к устройствам, обеспечивающим заданный уровень температуры и освещенности при выращивании растений в теплицах. Корпус устройства выполнен из жалюзийных экранов, прикрепленных к каркасу конструкции. В двух противоположных по диагонали шарнирных соединениях каркаса установлены биметаллические пластины. Нагревательные элементы выполнены в форме сетки и закреплены к каркасу с внутренней стороны по всему его периметру. Техническим результатом изобретения является повышение равномерности и эффективности распределения тепловой и световой энергии. 2 ил.
Изобретение относится к сельскому хозяйству, в частности к устройствам, обеспечивающим заданный уровень температуры и освещенности при выращивании растений в теплицах путем локального досвечивания и подогрева растений на фоне общего освещения и отопления теплицы.
Известен облучатель (Патент РФ №42876, МПК F21V 7/00, 2004 – аналог), состоящий из источника излучения, корпуса, отражающей системы и снабженный подвижными отражающими поверхностями в виде двух пластин, расположенных на внешних сторонах корпуса и выполненных с возможностью равномерного поворота их на угол 90-180° относительно горизонтальной оси корпуса с возможностью одновременного перемещения источника излучения и подвижных отражающих поверхностей в противоположных направлениях, за счет установки шестерен на направляющих пазов патрона и отражающих пластин.
Недостатком известного облучателя является невозможность распределения светового потока в верхнюю полусферу, в результате чего растения облучаются неравномерно.
Известно устройство для облучения растений (А.с. СССР №1822667, МПК А01G 9/24, 9/26, 1991 – прототип), содержащее источник света с возможностью перемещения по высоте и светоотражающий экран, причем светоотражающий экран расположен под источником света и выполнен в виде двух шарнирно связанных панелей с механизмом изменения их взаимного положения, на теневой поверхности которых смонтированы электронагревательные элементы, а источник света выполнен в виде световода с оптической щелью, обращенной в сторону светоотражающих панелей.
Недостатком данного устройства является неравномерность распределения тепловой и световой энергии на плоды и завязи растений.
Технический результат изобретения – повышение равномерности и эффективности распределения тепловой и световой энергии.
Технический результат достигается тем, что в известном устройстве для облучения растений, содержащем источник света, установленный с возможностью перемещения по высоте, согласно изобретению корпус устройства выполнен из жалюзийных экранов, прикрепленных к каркасу конструкции, а в двух противоположных по диагонали шарнирных соединениях каркаса установлены биметаллические пластины, при этом нагревательные элементы выполнены в форме сетки и прикреплены к каркасу с внутренней стороны по всему его периметру.
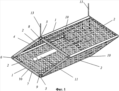
На фиг.1 представлено устройство для облучения растений, общий вид, на фиг.2 – устройство для облучения растений в работе.
Известно, что требования к обеспечению температурных режимов для культивирования растений при разных уровнях облученности различны. Так, в условиях более интенсивного облучения, когда фотосинтез растений высок, температура воздуха может быть повышенной. Это ускоряет рост. При слабой облученности растений, чтобы уменьшить потери на дыхание, следует поддерживать пониженные температуры.
Устройство для облучения растений (фиг.1) содержит корпус 7, состоящий из четырех прямоугольных жалюзийных экранов 2, выполненных из отражающего материала, например стали, алюминия, и прикрепленных к каркасу 3 (фиг.2), образованному из отдельных сегментов 4 (например, из трубок, уголков), соединенных с помощью шарнирных соединений 5 и 6. Жалюзийные экраны 2 прикреплены к каркасу 3 посредством системы управления 7 и биметаллических пластин 8 и 9, установленных в двух противоположных по диагонали шарнирных соединениях 5. К каркасу с внутренней стороны закреплены по периметру нагревательные элементы в форме крупной сетки 10 напротив жалюзийных экранов 2. Внутри корпуса 1 помещен источник света 77 и автоматическое управляющее устройство 72. К каркасу 3 также прикреплены устройства для изменения высоты подвеса 73. В теплице устройство располагают между растениями 14.
Устройство для облучения растений работает следующим образом.
Перед началом работы (фиг.2) устройство находится в верхнем положении (высота h). Если в теплице температурный и световой климат в норме и соответствует технологическим требованиям, то устройство для облучения растений отключено, а жалюзийные экраны 2 закрыты. По мере регулирования высоты подвеса устройства для облучения растений с помощью устройства для изменения высоты подвеса 13 условия микроклимата изменяются (так как в нижней части теплицы световой и тепловой режимы отличаются от тех же условий в верхней части теплицы из-за наличия градиента температур и затемнения нижних побегов верхними побегами). На изменение температуры реагируют биметаллические пластины 8 или 9, которые изгибаются, воздействуя при этом на систему управления 7, открывая или закрывая жалюзийные экраны 2.
Если температура понижена, то биметаллические пластины 8 и 9 изгибаются, воздействуют на систему управления 7 и открывают жалюзийные экраны 2. При этом подается сигнал на автоматическое управляющее устройство 12, включаются нагревательные элементы в форме крупной сетки 10 и источник света 11. Растения 14 начинают дополнительно облучаться и обогреваться. Распределение тепла и света регулируется жалюзийными экранами 2, притом при необходимости освещения и обогрева растений только сверху верхние жалюзийные экраны закрыты и световой и тепловой потоки направлены вниз (положение h), а при освещении и обогреве нижней части растений закрываются нижние жалюзийные экраны и световой и тепловой потоки направлены вверх (положение h1). Если необходимо освещать и обогревать все растение, то открываются верхние и нижние жалюзийные экраны. В случае необходимости открываются и боковые жалюзийные экраны.
В теплице устройство располагают между рядами растений с возможностью изменения высоты подвеса, также открытия и закрытия верхних, нижних, боковых жалюзийных экранов, в процессе эксплуатации. Таким образом, достигается равномерность и эффективность распределения тепловой и световой энергии.
Устройство для облучения растений позволяет регулировать тепловой и световой режимы в теплице и может быть легко реализовано в сельском хозяйстве.
Формула изобретения
Устройство для облучения растений, содержащее источник света, установленный с возможностью перемещения по высоте, отличающееся тем, что корпус устройства выполнен из жалюзийных экранов, прикрепленных к каркасу конструкции, при этом в двух противоположных по диагонали шарнирных соединениях каркаса установлены биметаллические пластины, воздействующие на систему управления жалюзийными экранами и на управляющее устройство нагревательных элементов, выполненных в форме сетки и прикрепленных к каркасу с внутренней стороны по всему его периметру.
РИСУНКИ
MM4A – Досрочное прекращение действия патента СССР или патента Российской Федерации на изобретение из-за неуплаты в установленный срок пошлины за поддержание патента в силе
Дата прекращения действия патента: 16.02.2008
Извещение опубликовано: 27.12.2009 БИ: 36/2009
|
|