|
(21), (22) Заявка: 2006109704/12, 27.03.2006
(24) Дата начала отсчета срока действия патента:
27.03.2006
(46) Опубликовано: 10.03.2008
(56) Список документов, цитированных в отчете о поиске:
SU 1136765 А, 30.01.1985. SU 1665943 A1, 30.07.1991. RU 2216913 C2, 27.11.2003. RU 2224408 C2, 27.02.2004. RU 2225091 C2, 10.03.2004. FR 2495890 A1, 18.06.1982. FR 2634347 A1, 26.01.1990. US 4336732 A, 29.06.1982.
Адрес для переписки:
410056, г.Саратов, ул. Советская, 60, Саратовский ГАУ им. Н.И. Вавилова, патентная группа
|
(72) Автор(ы):
Глухарев Владимир Алексеевич (RU), Попов Иван Николаевич (RU), Соколов Виталий Николаевич (RU), Володин Виктор Владимирович (RU)
(73) Патентообладатель(и):
ФГОУ ВПО “Саратовский государственный аграрный университет им. Н.И. Вавилова” (RU)
|
(54) РАЗРЕЗАЮЩЕЕ УСТРОЙСТВО ДЛЯ ПРЕССОВАННЫХ КОРМОВ
(57) Реферат:
Изобретение относится к сельскохозяйственному машиностроению и может быть использовано для разрезания заготовленных в рулонах кормов. Устройство содержит раму с кронштейнами для крепления к стреле погрузчика, корпус и нож с приводом. Корпус выполнен в виде полого бруса, жестко соединенного с рамой. Внутри полого корпуса на шатунах установлен лезвием вверх нож. Привод ножа образован системой из тяги и коромысла, соединяющих нож с закрепленным на раме гидровибратором. Выполнение корпуса полым позволяет скрыть нож при транспортировке рулона с внедренным в центр рулона полым корпусом. Для разрезания рулона ножу сообщается возвратно-поступательное движение, он выдвигается из корпуса и разрезает слои обвисающего на корпусе материала. Устройство обеспечивает транспортировку рулона и его разрезание при наименьшем числе операций технологического процесса. 5 ил.
Изобретение относится к механизации сельского хозяйства, а именно к устройствам для подготовки к раздаче грубых и сочных кормов, заготовленных в рулонах, разделением рулона на слои посредством его разрезания.
Работа разрезающего устройства заключается в следующем. Погрузчик подъезжает к рулону со стороны образующей и за счет напорного действия внедряет штыри под образующую или в рулон. Затем посредством гидроцилиндров опускается П-образная рама и прижимает рулон к пальцам. За счет силового действия гидроцилиндров рама надавливает на рулон и посредством ножа перерезает его пополам.
Недостатками данного разрезающего устройства являются:
1. Затрудненная выемка рулонов из штабеля. Из-за отсутствия ориентирующих частей существует вероятность повреждения соседних рулонов штырями устройства, что особенно недопустимо при работе с сенажом, упакованным в полиэтиленовую пленку.
2. Повышенная энергоемкость процесса вследствие применения статического резания.
3. Большая металлоемкость конструкции и применение высокопрочных материалов, связанные с особенностями процесса резания, и как следствие высокая стоимость изделия и повышенные эксплуатационные затраты.
Устройство представляет собой статическую конструкцию, навешиваемую на стрелу погрузчика, и состоит из рамы, в центре которой закреплен неподвижный нож. Рама выполнена из прямоугольного профиля и имеет кронштейны для крепления к стреле погрузчика. Крепление ножа усилено раскосом в вертикальной плоскости. Нож представляет собой плоский заостренный брус с режущей кромкой, обращенной вниз. Для захвата и транспортировки рулона нож используется как обычный штырь, за счет напорного действия погрузчика он внедряется в основание рулона и удерживает его при подъеме. Для того, чтобы начать резание, необходимо совершить дополнительное маневрирование погрузчика для извлечения ножа из рулона и подъезда в исходное положение, так чтобы расположить нож над рулоном сверху.
Разрезание рулона осуществляется за счет силы давления ножа, создаваемой гидроцилиндрами погрузчика при опускании стрелы. При этом возникает другой недостаток, заключающийся в сложности контролирования процесса резания, так как скорость перемещения стрелы не согласуется со скоростью разрезания рулона. В результате может возникнуть чрезмерная деформация рулона и превышение нагрузок на ноже, что может привести к деформации конструкции.
Исходя из требований повышенной прочности и того, что брус и лезвие ножа являются единой деталью, возникает необходимость изготовления его из высокопрочной и износостойкой стали, что существенно увеличивает стоимость и металлоемкость устройства.
Как следствие применения статического резания является повышенная энергоемкость процесса.
Недостатками прототипа являются:
1. Необходимость совершения дополнительного маневрирования погрузчика для перехода от процесса транспортировки к процессу резания рулона.
2. Сложность контролирования процесса резания из-за невозможности согласования скорости перемещения стрелы погрузчика со скоростью разрезания рулона.
3. Необходимость изготовления ножа из высокопрочной и износостойкой стали, так как лезвие и брус являются единой деталью.
4. Повышенная энергоемкость процесса вследствие применения статического резания.
Технической задачей предлагаемого изобретения является обеспечение возможности транспортировки рулона к месту раздачи и его разрезание с уменьшением числа операций технологического процесса, устранением дополнительного маневрирования при достижении достаточной простоты и быстроты операций и наименьшей удельной энергоемкости процесса.
Решение технической задачи достигается в разрезающем устройстве для прессованных кормов, содержащем раму с кронштейнами для крепления к стреле погрузчика и нож, где согласно изобретению нож закреплен посредством шатунов в корпусе, который выполнен в виде полого бруса, жестко соединенного с рамой, причем нож обращен лезвием вверх и имеет привод, образованный системой, состоящей из тяги и коромысла, соединяющих нож с гидровибратором, закрепленным на раме.
В отличие от прототипа нож закреплен на шатунах в корпусе, выполненном в виде полого бруса, чем обеспечивается возможность скрывать нож в корпусе при транспортировке рулона. А так как нож установлен режущей кромкой вверх, это позволяет производить разрезание, не изымая ножа из рулона. При этом прорезание обеспечивается колебательными движениями ножа, при которых нож выдвигается из корпуса и прорезает обвисающую на брусе массу. Привод ножа обеспечивается гидровибратором, шток которого соединен через коромысло и тягу с ножом, а так как нож установлен на шатунах, то при колебаниях штока нож совершает плоскопараллельное движение.
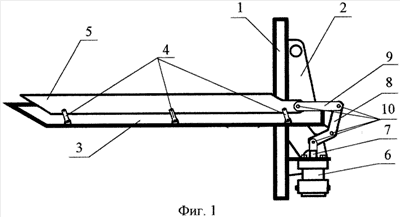
На фиг.1 изображена схема устройства – вид с боку; на фиг.2 – схема устройства в аксонометрической проекции; фиг.3а, 3б, 3в – схема технологического процесса работы устройства.
Разрезающее устройство (фиг.1, 2) содержит сварную раму 1 из прямоугольного профиля, состоящую из горизонтальных балок и вертикальных стоек. К внешним вертикальным стойкам приварены кронштейны 2 для крепления к стреле погрузчика. Между двумя смежными средними стойками жестко закреплен корпус 3.
Корпус 3 представляет собой полый брус с продольным разрезом по верхней грани. Внутри корпуса 3 на шатунах 4 установлен подвижный нож 5, обращенный лезвием вверх. Нож 5 приводится в движение от гидровибратора 6, закрепленного на раме 1. От штока 7 гидровибратора 6 возвратно-поступательные движения передаются на коромысло 8, которое через тягу 9 сообщает ножу 5 колебательные движения, для чего соединения элементов привода ножа сделаны шарнирными – 10.
Разрезающее устройство для прессованных кормов работает по следующей схеме (фиг.3):
– ориентация устройства по отношению к рулону (фиг.3а), изымаемому из штабеля; корпус ножа 3 (фиг.1, фиг.2) внедряется в центр основания рулона за счет напорного действия погрузчика; рулон изымается из штабеля и транспортируется к месту раздачи;
– разрезание рулона производится на весу (фиг.3б). После включения гидровибратора 6 (фиг.1, 2) шток 7 начинает вибрировать и передавать колебания на коромысло 8, которое через тягу 9 соединено с ножом 5, закрепленным на шатунах 4, вследствие чего нож 5 совершает плоскопараллельное движение, при этом выдвигаясь из корпуса, обеспечивает прорезание обвисающего на корпусе материала. Находясь на весу, рулон создает необходимое давление и обеспечит требуемую силу резания на вибрирующем ноже;
– окончание резания (фиг.3в). После того как нож перережет последний слой, рулон распадется на отдельные слои, что облегчит его раздачу животным. Перерезанная обвязка останется на земле. В случае работы с мобильным кормораздатчиком обвязку необходимо удалить предварительно.
Устройство обеспечивает возможность транспортировки рулона к месту раздачи и его разрезание с уменьшением числа операций технологического процесса, что обеспечивается возможностью скрывать нож в корпусе при транспортировке рулона и производить разрезание, не изымая ножа из рулона.
Устройство имеет минимальную энергоемкость вследствие применения динамического резания, а не статического – за счет силы давления ножа, создаваемой гидроцилиндрами погрузчика при опускании стрелы. Это, в свою очередь, снижает нагрузки на конструкцию и как следствие предъявляет не столь высокие требования к прочности ее узлов.
Формула изобретения
Разрезающее устройство для прессованных кормов, содержащее раму с кронштейнами для крепления к стреле погрузчика и нож, отличающееся тем, что нож закреплен посредством шатунов в корпусе, который выполнен в виде полого бруса, жестко соединенного с рамой, причем нож обращен лезвием вверх, и имеет привод, образованный системой, состоящей из тяги и коромысла, соединяющих нож с гидровибратором, закрепленным на раме.
РИСУНКИ
MM4A – Досрочное прекращение действия патента СССР или патента Российской Федерации на изобретение из-за неуплаты в установленный срок пошлины за поддержание патента в силе
Дата прекращения действия патента: 28.03.2008
Извещение опубликовано: 27.03.2010 БИ: 09/2010
|