|
|
(21), (22) Заявка: 2006110456/12, 31.03.2006
(24) Дата начала отсчета срока действия патента:
31.03.2006
(46) Опубликовано: 10.03.2008
(56) Список документов, цитированных в отчете о поиске:
RU 2080042 C1, 27.05.1997. RU 2228587 C2, 20.05.2004. RU 2246205 C1, 20.02.2005. RU 95111604 A1, 20.06.1997. GB 2249931 A1, 27.05.1992.
Адрес для переписки:
400123, г.Волгоград, ул. Хользунова, 23, кв.34, В.И. Пындаку
|
(72) Автор(ы):
Пындак Виктор Иванович (RU), Борисенко Иван Борисович (RU), Майоров Андрей Викторович (RU)
(73) Патентообладатель(и):
Волгоградская государственная сельскохозяйственная академия (RU)
|
(54) СПОСОБ ВНЕСЕНИЯ ЖИДКИХ УДОБРЕНИЙ ОДНОВРЕМЕННО СО ВСПАШКОЙ ПОЧВЫ
(57) Реферат:
Изобретение относится к сельскохозяйственному производству. Способ включает формирование борозды, подачу удобрения и закрытие борозды. В качестве жидких удобрений используют угольную кислоту Н2СО3, формирование борозды осуществляют чизельным безотвальным орудием с наклонными стойками, после прохождения которого образуется гребнистое дно борозды. Подачу угольной кислоты осуществляют под давлением 0,1-0,2 МПа по трубопроводам на тыльной стороне стоек и посредством жиклеров на концах трубопроводов выбрасывают в углубления дна борозды, последующим ходом орудия борозду закрывают почвой посредством наклонных стоек. После этого углекислота выделяет углекислый газ CO2, который поднимается по пустотам взрыхленной почвы, достигая верхнего горизонта 0-10 см. Способ позволяет повысить плодородие бедных гумусом почв за счет их насыщения углекислым газом при глубокой чизельной безотвальной обработке почвы. 3 з.п. ф-лы, 3 ил., 2 табл.
Изобретение относится к сельскохозяйственному производству, а именно к способам внесения в почву угольной кислоты – эффективных органических флюидов.
Известны лабораторные опыты, имитирующие поливы растений водой, насыщенной угольной кислотой, которая, как известно, выделяет углекислый газ CO2 (см. книгу: Самохвалов Г.К. Новое об углеродном питании растений. – Издание 2-е. – Харьков: Изд-во ХГУ, 1956. – С.63-70).
Технический недостаток этих опытов в случае их переноса в полевые условия – кратковременное действие углекислоты и углекислого газа вследствие их поверхностного применения и летучести.
Известно устройство для внутрипочвенного внесения жидких удобрений методом накалывания, содержащее инъектирующие иглы, механизм для перемещения и средство для заглубления их в почву, последнее выполнено в виде падающего молота (RU 2228587 С2, МПК7 А01С 23/02, 10.06.2002).
Технический недостаток подобных устройств: отсутствие возможности сплошного покрытия соответствующих горизонтов почвы; внесение жидких удобрений в плотную (необработанную) почву, что является дополнительным препятствием для растекания удобрений по горизонту; повышенная энергоемкость процесса; лишнее воздействие техники на почву, поскольку внесение удобрений не совмещено со вспашкой почвы; невозможность внесения летучих удобрений.
Известен способ внесения жидких и суспензированных удобрений одновременно со вспашкой почвы, включающий формирование борозды, подачу удобрения и закрытие борозды (см. RU 2080042 С1, МПК6 А01С 21/00, 23/00, А01В, 49/06, 27.05.97).
Технический недостаток данного способа: ограниченная область применения – внесение в почву преимущественно меловых и известняковых суспензий и, как следствие, невозможность внесения в почву жидких летучих удобрений, в частности угольной кислоты; применение многоярусного лемешно-отвального плуга, работа которого неразрывно связана с технологическим процессом внесения жидких удобрений, но в современных агротехнических технологиях предпочтение отдается безотвальным орудиям – глубокорыхлителям; это крайне важно для бедных гумусом почв, которые, прежде всего, нуждаются в эффективных жидких удобрениях.
Техническая задача: расширение области применения; обеспечение возможности внесения в почву эффективных органических флюидов в виде угольной кислоты, выделяющей углекислый газ, при глубокой чизельной безотвальной обработке почвы.
Технический результат: повышение плодородия бедных гумусом почв за счет их обогащения углекислым газом.
Согласно изобретению способ внесения жидких удобрений одновременно со вспашкой почвы включает формирование борозды, подачу удобрения и закрытие борозды; в качестве жидких удобрений используют угольную кислоту Н2СО3, формирование борозды осуществляют чизельным безотвальным почвообрабатывающим орудием с наклонными стойками, после прохождения которого образуется гребнистое дно борозды, подачу угольной кислоты осуществляют под давлением 0,1-0,2 МПа по трубопроводам на тыльной стороне стоек и посредством жиклеров на концах трубопроводов выбрасывают в углубление дна борозды, последующим ходом орудия борозду закрывают почвой посредством наклонных стоек, после чего углекислота выделяет углекислый газ СО2, который поднимается по пустотам взрыхленной почвы, достигая верхнего горизонта 0-10 см. Углубления дна борозды формируют на расстоянии 35-45 см от дневной поверхности; до внесения в почву угольную кислоту содержат в баллонах высокого давления, снабженных регулятором давления; дискретное регулирование количества поступающей в почву угольной кислоты осуществляют жиклерами на концах трубопроводов.
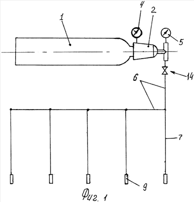
На фиг.1 изображена принципиальная схема подачи угольной кислоты от баллона в углубление дна борозды; на фиг.2 – схема взаимодействия с почвой наклонных стоек почвообрабатывающего орудия и внесения в почву углекислоты, вид сзади в разрезе; на фиг.3 – то же, вид сбоку в разрезе.
Способ внесения жидких удобрений одновременно со вспашкой почвы реализуют следующим образом.
В качестве жидких удобрений используют угольную кислоту H2СО3, которую до внесения в почву содержат в баллонах 1 высокого давления (фиг.1), снабженных регулятором давления (редуктором) 2. Один или два баллона закрепляют на раме 3 чизельного безотвального почвообрабатывающего орудия с наклонными стойками (фиг.2). Редукторы 3 монтируют на горловине каждого баллона (фиг.1). Систему баллон- редуктор снабжают двумя манометрами: до редуктора (4) и после редуктора (5). До начала внесения в почву давление углекислоты в баллонах достигает 16 МПа. После редуктора 2 от баллона прокладывают трубопровод 6, который закрепляют на раме 3 орудия, этот трубопровод соединяют с отводами 7 (фиг.1), количество которых равно числу наклонных стоек 8 (фиг.2, 3) чизельного орудия. На концах отводов закрепляют жиклеры 9.Отводы 7 прокладывают на тыльной стороне каждой наклонной стойки, а жиклеры 9 закрепляют на нижней части стойки – на ее башмаке 10. Последний несет на себе долото 11 (фиг.3).
После прохода чизельного почвообрабатывающего орудия с наклонными стойками 8 формируют гребнистое дно борозды 12 с углублениями 13 на расстоянии 35-45 см от дневной поверхности. Углубления 13 – это следы взаимодействия долот 11 с почвой. Одновременно с проходом орудия – безотвальной вспашкой почвы – в углубления 13 гребнистого дна борозды 12 осуществляют подачу угольной кислоты под давлением 0,1-0,2 МПа. Для этого перед пахотой по манометру 4 проверяют наличие и давление углекислоты в баллоне 1. Затем регулятором давления (редуктором) 3 выставляют давление на выходе после редуктора (в трубопроводе 6) – контролируют по манометру 5. Дискретное регулирование количества поступающей в почву углекислоты осуществляют жиклерами 9 на концах отводов 7 трубопровода 6 (при открытом вентиле 14 на этом трубопроводе), после этого вентиль закрывают.
После заглубления орудия в почву, т.е. непосредственно перед началом пахоты, вентиль 14 открывают и производят внесение углекислоты одновременно со вспашкой почвы. После попадания углекислоты в углубления 13 последующим ходом орудия борозду 12 закрывают почвой посредством наклонных стоек 8. Применение в составе чизельного орудия наклонных стоек обусловлено тем, что прямые стойки могут оставлять после себя узкие щели от углублений 13 до дневной поверхности. По этим щелям выделяющийся из углекислоты углекислый газ СО2 частично может улетучиваться в атмосферу. Наклонные стойки не оставляют после себя щелей. Угольная кислота Н2СО3, как известно, обладает высокой летучестью и разлагается на составляющие ее компоненты по схеме:
Н2СО3 СО2+Н2О.
При указанном давлении в баллонах 1 (и снижении давления при разрядке баллонов) углекислота не разлагается; содержание воды H2O в углекислоте незначительно. Несмотря на это, углекислота – это жидкость. А по условиям безопасности углекислый газ целесообразно содержать в баллонах в виде жидкой консистенции – углекислоты. После заделки в почву на большую глубину (35-45 см) углекислота сравнительно быстро выделяет углекислый газ CO2, который поднимается по пустотам взрыхленной почвы (фиг.3), достигая верхнего горизонта 0-10 см; незначительная часть СО2 может улетучиться в атмосферу.
Углекислый газ, как известно, относится к природным биологическим ингредиентам, которые являются составной частью биомассы почвы и, в частности, гумуса. С другой стороны, CO2 является отличной питательной средой для полезной микрофлоры почвы, которая сосредоточена в основном слое 0-15 см и частично в слое 15-25 см. Микроорганизмы перерабатывают часть CO2 и не только отщепляют природный углерод – основу жизнедеятельности микрофлоры, но и перерабатывают его. Наряду с этим отсоединившийся кислород O2 является окислителем биологического материала, что способствует ускорению его разложения. В результате этого в почве возрастает содержание питательных веществ, в том числе соединений азота NO3 и NH4, фосфора Р2O5 и калия K2O (см. табл.1), причем эти вещества находятся в почве в форме, легкоусвояемой корневой системой растений. Этот процесс весьма активно протекает в первые дни после внесения в почву углекислоты, в дальнейшем, например через 21 день после поступления в почву углекислоты, процесс замедляется и количество названных веществ в почве уменьшается (табл.2). Это относится, прежде всего, к соединениям азота. Несмотря на это, после внесения углекислоты органические вещества в почве накапливаются в различных формах, вследствие чего плодородие почвы повышается.
Повышению плодородия почвы способствует также возрастание количества гуминовых кислот – высокомолекулярных органических веществ, образующихся при бактериальном разложении внутрипочвенного органического материала, в том числе под действием кислорода. Гуминовые кислоты, как известно, являются составной и высокоэффективной частью гумуса. Кроме названного преобразования угольной кислоты в полном объеме ее образование и разложение может проходить по следующей схеме:
CO2+H2O H2CO3 H++HCO3 – 2Н++СО3 2-.
Угольная кислота может давать два ряда солей: средние – карбонаты с анионом СО3 2- и кислые – гидрокарбонаты НСО3 –. В почве, богатой калием (см. табл.1 и 2), реально образование калийных солей карбонатов К2СО3 и гидрокарбонатов (бикарбонатов) КНСО3. Карбонат К2СО3 – это одна из разновидностей калийного удобрения. Гидрокарбонаты выполняют важную физиологическую роль, являясь буферными веществами. Обе разновидности калиевых карбонатов растворимы в виде, при разложении выделяется CO2. Эти новые процессы, протекающие в почве после внесения угольной кислоты, дополнительно подтверждают ее позитивное влияние на плодородие почвы.
Заделку в почву углекислоты проводили в южном регионе, в теплую осень, в бедную гумусом светло-каштановую почву. Относительно высокая температура окружающей среды, не свойственная этому региону, продолжалась до начала декабря. Вследствие этого в почве, в том числе в контроле, куда углекислоту не заделывали, продолжалось развитие корневой системы убранной культуры и сорной растительности и микробиологические процессы по переработке органического материала. Поэтому в почве (в контроле) повышалось содержание соединений азота NO3 и частично фосфора Р2O5 (в верхнем слое). Несмотря на это, содержание NO3, скачкообразное увеличение которого произошло после заделки H2СО3, уменьшилось незначительно, а содержание Р2O5 даже несколько увеличилось (см. табл.1 и 2). Наряду с этим по указанным выше причинам увеличилось содержание NO3 в контроле, куда H2СО3 не заделывали.
Заделку в почву углекислоты проводили под давлением 0,1-0,2 МПа и 0,45-0,55 МПа. В последнем варианте при первом заборе почвы (табл.1) результаты были хуже (в части наличия NO3), но по истечении 21 дня (табл.2) улучшились. Поэтому соответствующие данные при давлении углекислоты на выходе 0,5 МПа в табл.1 и 2 включены для сравнения.
Приведенных данных достаточно, чтобы судить о повышении плодородия бедных гумусом почв за счет их обогащения углекислым газом – посредством заделки углекислоты на большую глубину – до 40 см – одновременно со вспашкой почвы. Этому способствует чизельное орудие с наклонными стойками, которые на указанной глубине формируют углубления на дне борозды и надежно закрывают углекислоту почвой.
Примечание: таблицы 1 и 2 составлены как среднее значение по результатам трехкратного забора почвы как в контроле, так и после заделки в почву углекислоты.
| Таблица 1 |
| Контроль или условия заделки углекислоты |
Горизонты почвы, см |
Содержание веществ, мг/100 г почвы |
| NO3 |
NH4 |
Р2O5 |
К2О |
Контроль, без заделки углекислоты |
0-10 |
1,38 |
0,44 |
5,14 |
55,65 |
| 10-20 |
1,61 |
0,69 |
8,08 |
62,26 |
| 20-30 |
1,30 |
0,20 |
7,24 |
44,52 |
Углекислота под давлением 0,1-0,2 МПа |
0-10 |
9,12 |
0,84 |
6,93 |
70,98 |
| 10-20 |
7,60 |
1,17 |
6,51 |
54,07 |
| 20-30 |
3,36 |
1,26 |
6,61 |
49,87 |
Углекислота под давлением
0,5 МПа |
0-10 |
1,47 |
1,53 |
8,61 |
67,20 |
| 10-20 |
1,15 |
0,84 |
7,14 |
42,00 |
| 20-30 |
0,98 |
1,32 |
7,03 |
40,42 |
| Таблица 2 |
| Контроль или условия заделки углекислоты |
Горизонты почвы, см |
Содержание веществ, мг/100 г почвы |
| NO3 |
NH4 |
Р2O5 |
К2О |
Контроль, без заделки углекислоты |
0-10 |
4,74 |
0,42 |
7,49 |
60,53 |
| 10-20 |
3,14 |
0,28 |
6,27 |
47,60 |
| 20-30 |
2,20 |
0,38 |
6,55 |
46,04 |
Углекислота под давлением 0,1-0,2 МПа |
0-10 |
7,43 |
0,61 |
8,45 |
65,52 |
| 10-20 |
4,27 |
0,78 |
7,68 |
52,35 |
| 20-30 |
3,74 |
0,16 |
7,45 |
51,07 |
Углекислота под давлением
0,5 МПа |
0-10 |
8,96 |
0,70 |
7,84 |
66,15 |
| 10-20 |
5,37 |
0,16 |
7,61 |
53,54 |
| 20-30 |
5,48 |
1,03 |
7,35 |
47,88 |
Формула изобретения
1. Способ внесения жидких удобрений одновременно со вспашкой почвы, включающий формирование борозды, подачу удобрения и закрытие борозды, отличающийся тем, что в качестве жидких удобрений используют угольную кислоту Н2СО3, формирование борозды осуществляют чизельным безотвальным почвообрабатывающим орудием с наклонными стойками, после прохождения которого образуется гребнистое дно борозды, подачу угольной кислоты осуществляют под давлением 0,1-0,2 МПа по трубопроводам на тыльной стороне стоек и посредством жиклеров на концах трубопроводов выбрасывают в углубления дна борозды, последующим ходом орудия борозду закрывают почвой посредством наклонных стоек, после чего угольная кислота выделяет углекислый газ СО2, который поднимается по пустотам взрыхленной почвы, достигая верхнего горизонта 0-10 см.
2. Способ по п.1, отличающийся тем, что углубления дна борозды формируют на расстоянии 35-45 см от дневной поверхности.
3. Способ по п.1, отличающийся тем, что до внесения в почву углекислоту содержат в баллонах высокого давления, снабженных регулятором давления.
4. Способ по п.1, отличающийся тем, что дискретное регулирование количества поступающей в почву угольной кислоты осуществляют жиклерами на концах трубопроводов.
РИСУНКИ
MM4A – Досрочное прекращение действия патента СССР или патента Российской Федерации на изобретение из-за неуплаты в установленный срок пошлины за поддержание патента в силе
Дата прекращения действия патента: 01.04.2008
Извещение опубликовано: 27.03.2010 БИ: 09/2010
|
|