|
|
(21), (22) Заявка: 2006127791/11, 31.07.2006
(24) Дата начала отсчета срока действия патента:
31.07.2006
(46) Опубликовано: 10.03.2008
(56) Список документов, цитированных в отчете о поиске:
RU 2125778 C1, 10.02.1999. RU 2053608 C1, 10.02.1996. SU 1796083 A1, 23.02.1993. RU 2215385 C2, 10.11.2003. SU 1060127 A, 15.12.1983. SU 483945 A, 26.12.1975. SU 1727554 A1, 23.04.1992. UA 14300 U, 15.05.2006. JP 10108511 A, 28.04.1998.
Адрес для переписки:
410010, г.Саратов, ул. Тулайкова, 7, ГНУ НИИСХ Юго-Востока РАСХН
|
(72) Автор(ы):
Соколов Николай Михайлович (RU), Стрельцов Сергей Борисович (RU), Худяков Владимир Васильевич (RU), Шабаев Анатолий Иванович (RU), Жолинский Николай Михайлович (RU)
(73) Патентообладатель(и):
ГНУ Научно-исследовательский институт сельского хозяйства Юго-Востока Российской академии сельскохозяйственных наук (RU)
|
(54) ОРУДИЕ ДЛЯ ПРОТИВОЭРОЗИОННОЙ ОБРАБОТКИ ПОЧВЫ
(57) Реферат:
Изобретение относится к сельскохозяйственному машиностроению, в частности к орудиям для противоэрозионной обработки почвы. Орудие содержит раму с опорным механизмом качения. На раме закреплены почвообрабатывающие рабочие органы с возможностью образования борозд для укладки в них стерневых кулис, батареи. Батареи выполнены в виде несущих элементов с шарнирно закрепленными, подрезающими верхний слой почвы вместе со стерней и формирующими кулисы дисковыми рабочими органами. Дисковые рабочие органы расположены по обе стороны от продольной оси орудия и под углом к ней. Почвообрабатывающие рабочие органы выполнены в виде рыхляще-подрезающих лап для мелкой обработки почвы. Образование борозд выполняют установленные на стойках крайних почвообрабатывающих рыхляще-подрезающих лап бороздообразователи, автономно регулируемые по глубине хода в почве в пределах глубины обработки почвы рыхляще-подрезающими лапами. Несущие элементы расположены по обе стороны от продольной оси орудия и под углом к ней таким образом, что его вершина обращена к передней части орудия. Несущие элементы установлены на раме орудия с возможностью изменения угла атаки дисковых рабочих органов. Кулисы, основание которых уложено в две продольные борозды, окончательно формируют при смежных проходах агрегата. Технический результат направлен на повышение противоэрозионной устойчивости пашни при снижении энергоемкости орудия. 1 з.п. ф-лы, 4 ил.
Изобретение относится к сельскохозяйственному машиностроению, в частности к орудиям для противоэрозионной обработки почвы.
Известно орудие для борьбы с эрозией почвы [авторское свидетельство СССР №396101, кл. А01В 13/16, 49/02, заявка №1723897 от 10.12.71, опубл. в БИ, №36, 29.08.73], содержащее раму с опорным колесом, на брусе которой закреплены плужные корпуса, задний из которых выполнен с укороченным отвалом, а соседний с ним – с почвоуглубителем. На раме плуга со стороны необработанного поля навешена рамка, к которой под углом к направлению движения присоединена батарея с установленными на осях дисковыми рабочими органами. Диски батареи расположены один от другого с шагом, обеспечивающим передачу срезанного слоя от диска к другому диску, в сторону борозды, образованной плужным корпусом с почвоуглубителем. Дисковая батарея присоединена к раме плуга с возможностью независимого копирования поверхности почвы. Сзади батареи расположены опорные колеса, имеющие механизм регулировки глубины хода.
Недостатками этого известного орудия является то, что копирование поверхности почвы выполняется всей дисковой батареей, без возможности индивидуального копирования поверхности почвы каждым дисковым рабочим органом батареи, это приводит к недостаточному копированию поверхности поля дисковой батарей и неудовлетворительной сепарации почвы между дисками, в процессе транспортировки подрезанного верхнего слоя почвы со стерней, ввиду этого стерневой валок (кулиса) имеет низкую водопроницаемость, из-за большого содержания в нем почвы и в связи с этим пашня имеет низкую противоэрозионную устойчивость. Установленные на раме орудия плужные корпуса и наличие почвоуглубителя на одном из плужных корпусов не позволяют проводить мелкую обработку верхнего слоя почвы, это приводит к значительному увеличению энергоемкости орудия и не в полной мере обеспечивает защиту почвы от эрозии.
Известно также орудие для противоэрозионной обработки почвы [авторское свидетельство СССР №1796083, кл. А01В 13/16, 49/02, заявка №4884607 от 22.11.90, опубл. в БИ, №7, 23.02.93], содержащее раму, опорное колесо, плужные корпуса, установленные на брусе рамы, причем один из плужных корпусов имеет укороченный отвал, а перед ним установлен плужный корпус с почвоуглубителем. На раме плуга хомутами закреплен несущий элемент с шарнирно установленными на стойках дисковыми рабочими органами для подрезания верхнего слоя почвы вместе со стерней и их укладки в валки (кулисы). Несущий элемент имеет возможность перемещения вдоль бруса рамы с плужными корпусами и изменения угла атаки дисковых рабочих органов.
Недостатком этого известного орудия является то, что валок (кулиса) укладывается в одну борозду, образованную корпусом с почвоуглубителем, при этом весной при интенсивном снеготаянии часть воды движется вниз по склону, попадая в валок (кулису). Вода заполняет поры стерни и частично впитывается в почву, при этом мелкозем как более тяжелая фракция оседает в борозде, как в отстойнике, постепенно заполняя его. После заполнения борозды вода просачивается сквозь валок (кулису) и подходит к следующему, нижерасположенному по склону валку (кулисе), усиливая поток воды. В этом случае поверхностный сток и эрозия почвы увеличиваются от валка к валку и процесс приобретает лавинообразный характер. Поэтому на склонах, при интенсивном снеготаянии, одной борозды под основанием валка (кулисы) не достаточно для надежной противоэрозионной устойчивости пашни. Установленные на раме орудия плужные корпуса и почвоуглубитель не позволяют проводить мелкую обработку верхнего слоя почвы, это приводит к значительному увеличению энергоемкости орудия и не в полной мере обеспечивает защиту почвы от эрозии.
Наиболее близким техническим решением (прототипом) к предлагаемому является орудие для противоэрозионной обработки почвы [патент Российской Федерации №2125778, кл. А01В 13/16, 49/02, заявка №97111523 от 08.07.97, опубл. 10.02.99], содержащее раму с опорным колесом, на которой закреплены рабочие органы в виде плужных корпусов, задний из которых выполнен с укороченным отвалом, а соседний – с ним с почвоуглубителем, и две дисковые батареи, выполненные в виде несущих элементов с шарнирно закрепленными дисковыми рабочими органами, одна из которых размещена перед плужными корпусами и установлена под углом к продольной оси орудия, а вторая дисковая батарея установлена относительно этой оси под углом, вершина которого направлена к задней части орудия, при этом корпус с укороченным отвалом смещен назад относительно корпуса с почвоуглубителем.
Недостатком прототипа является то, что стерневой валок (кулиса) уложен в одну борозду, образованную корпусом с почвоуглубителем, и закрыт сверху почвой, это приводит к заиливанию пожнивных остатков стерневого валка (кулисы) почвой, что снижает его пористость, водопоглощающую способность и вследствие этого противоэрозионную устойчивость пашни. Особенно это проявляется при интенсивном снеготаянии и наличии ледяной корки на поверхности пашни. Такие условия создаются при высоких дневных температурах и ночных заморозках. Установленные на раме орудия плужные корпуса не позволяют проводить мелкую сплошную обработку верхнего слоя почвы, а наличие почвоуглубителя на одном из корпусов плуга приводит к значительному увеличению энергоемкости орудия и не обеспечивает надежной защиты почвы от эрозии.
Техническим результатом предлагаемого изобретения является повышение противоэрозионной устойчивости пашни при снижении энергоемкости орудия.
Технический результат достигается в предлагаемом орудии для противоэрозионной обработки почвы, содержащем раму с опорным механизмом качения, на которой закреплены почвообрабатывающие рабочие органы с возможностью образования борозд для укладки в них стерневых кулис, батареи, выполненные в виде несущих элементов с шарнирно закрепленными, подрезающими верхний слой почвы вместе со стерней и формирующими кулисы, дисковыми рабочими органами, расположенными по обе стороны от продольной оси орудия и под углом к ней, тем, что на раме орудия установлены почвообрабатывающие рабочие органы, выполненные в виде рыхляще-подрезающих лап для мелкой обработки почвы, причем образование борозд выполняют установленные на стойках крайних почвообрабатывающих рыхляще-подрезающих лап бороздообразователи, автономно регулируемые по глубине хода в почве в пределах глубины обработки почвы рыхляще-подрезающими лапами, а несущие элементы расположены по обе стороны от продольной оси орудия и под углом к ней таким образом, что его вершина обращена к передней части орудия, при этом кулисы, основание которых уложено в две продольные борозды, окончательно формируют при смежных проходах агрегата, кроме того, несущие элементы установлены на раме орудия с возможностью изменения угла атаки дисковых рабочих органов.
При этом опорный механизм качения лучше выполнять в виде двух опорных колес, расположенных по обе стороны от продольной оси орудия перед крайними почвообрабатывающими рыхляще-подрезающими лапами.
Предлагаемая совокупность существенных признаков предлагаемого орудия для противоэрозионной обработки почвы обеспечивает осуществление следующих технических процессов: выполнение мелкого безотвального рыхления почвы с образованием борозд, одновременного подрезания верхнего слоя почвы вместе со стерней и формирования из подрезанной стерни, перемешанной с почвой, кулис, основания которых уложены в две продольные борозды, глубина которых находится в пределах глубины мелкого безотвального рыхления почвы.
Признаки предлагаемого изобретения находятся в следующей причинно-следственной связи с достигаемым техническим результатом.
Так как в предлагаемом орудии для противоэрозионной обработки почвы на раме установлены почвообрабатывающие рабочие органы, выполненные в виде рыхляще-подрезающих лап для мелкой обработки почвы, причем на стойках крайних почвообрабатывающих рыхляще-подрезающих лап установлены бороздообразователи, регулируемые по глубине хода в почве в пределах глубины обработки почвы рыхляще-подрезающими лапами, а несущие элементы расположены по обе стороны от продольной оси орудия и под углом к ней таким образом, что его вершина обращена к передней части орудия и, кроме того, так как несущие элементы установлены на раме орудия с возможностью изменения угла атаки дисковых рабочих органов, а опорный механизм качения может быть выполнен в виде двух опорных колес, расположенных по обе стороны от продольной оси орудия перед крайними почвообрабатывающими рыхляще-подрезающими лапами, то в сравнении с известным орудием (прототипом) при работе предлагаемого орудия для противоэрозионной обработки почвы выполняется мелкое безотвальное рыхление почвы с образованием борозд, без дополнительного глубокого рыхления почвоуглубителем, и одновременное формирование кулис из подрезанной стерни, перемешанной с почвой, основание которых уложено в две продольные борозды, глубина которых находится в пределах глубины мелкого безотвального рыхления почвы. Это в сравнении с известным орудием (прототипом) обеспечивает повышение противоэрозионной устойчивости пашни при снижении энергоемкости орудия за счет повышения противоэрозионной надежности кулисы, основание которой укладывается в две борозды, каждая из которых создает дополнительное препятствие для стока талой воды и смыва почвы.
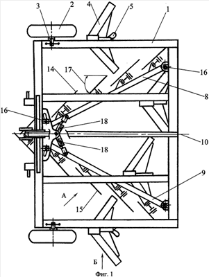
Предлагаемое орудие для противоэрозионной обработки почвы иллюстрируется фиг.1-4. На фиг.1 представлена схема предлагаемого орудия для противоэрозионной обработки почвы; на фиг.2 – фрагмент несущего элемента с дисковыми рабочими органами, вид А, данный на фиг.1; на фиг.3 – стойка рыхляще-подрезающего рабочего органа с регулируемым по глубине хода в почве бороздообразователем, вид Б, данный на фиг.1; на фиг.4 схематично изображено поперечное сечение пласта почвы, обработанного предлагаемым орудием.
Предлагаемое орудие для противоэрозионной обработки почвы содержит раму 1, на которой установлен опорный механизм качения 2 с механизмами регулировки 3 глубины обработки почвы, рыхляще-подрезающие лапы 4 для мелкой обработки почвы, причем на стойках крайних рыхляще-подрезающих лап 4 установлены бороздообразователи 5, автономно регулируемые по глубине хода в почве, в пределах глубины обработки (h)-6 почвы рыхляще-подрезающими лапами 4, с помощью регулировочных отверстий 7; правый 8 и левый 9 несущие элементы, установленные под углом к продольной оси 10 орудия, вершина которого обращена к его передней части, с шарнирно закрепленными на поводках 11, посредством осей 12, с шагом (t)-13 между собой, правыми 14 и левыми 15 дисковыми рабочими органами. Правый 8 и левый 9 несущие элементы закреплены на раме 1 орудия кронштейнами 16 с возможностью изменения угла атаки ( )-17 дисковых рабочих органов 14 и 15 при помощи винтовых механизмов 18. Правые 14 и левые 15 дисковые рабочие органы дополнительно соединены с несущими элементами 8 и 9, пружинами 19, натяжение пружин 19 регулируется винтами 20. Ограничение глубины подрезания верхнего слоя почвы дисковыми рабочими органами, 14 и 15, осуществляется при помощи регулировочных болтов 21.
Опорный механизм качения 2 в предлагаемом орудии для противоэрозионной обработки почвы лучше выполнять в виде двух опорных колес, расположенных по обе стороны от продольной оси 10 орудия перед крайними почвообрабатывающими рыхляще-подрезающими лапами 4.
Орудие для противоэрозионной обработки почвы работает следующим образом. Перед работой орудия производится автономная регулировка бороздообразователей 5 по глубине хода в почве, в пределах глубины обработки (h)-6 почвы рыхляще-подрезающими лапами 4, при помощи регулировочных отверстий 7, а также устанавливается угол атаки ( )-17 дисковых рабочих органов 14 и 15, при помощи винтовых механизмов 18. При движении агрегата по полю рыхляще-подрезающие лапы 4 для мелкой обработки рыхлят почву без оборота пласта на глубину от 8 до 16 см, при этом бороздообразователями 5, расположенными на стойках крайних рыхляще-подрезающих лап 4, образуются две борозды 22 вдоль продольной оси 10 орудия, глубина борозд 22 находится в пределах глубины (h)-6 мелкого безотвального рыхления почвы. Одновременно правые 14 и левые 15 дисковые рабочие органы под действием собственного веса и дополнительной нагрузки, создаваемой пружинами 19, заглубляются и, вращаясь под действием реакции почвы, подрезают верхний слой почвы вместе со стерней. В результате того что дисковые рабочие органы, 14 и 15, установлены на несущих элементах 8 и 9, с шагом (t)-13 и под углом атаки ( )-17, происходит транспортировка подрезанной массы от одного дискового рабочего органа к другому в борозды 22, проделанные бороздообразователями 5. Кулиса 23, основание которой уложено в две продольные борозды 22, окончательно формируется при смежных проходах агрегата. В результате технологического процесса выполняется мелкая безотвальная обработка почвы, и одновременно формируются кулисы 23, расположенные поперек склона, причем основание каждой кулисы 23 уложено в две продольные борозды 22, глубина которых не превышает глубину обработки (h)-6 верхнего слоя почвы. Образованные кулисы 23, возвышающиеся над поверхностью почвы, способствуют предотвращению эрозии почвы в период снеготаяния и ливневых осадков.
В том случае когда опорный механизм качения 2 выполнен в виде двух опорных колес, расположенных по обе стороны от продольной оси 10 орудия перед крайними почвообрабатывающими рыхляще-подрезающими лапами 4, обеспечивается равномерная глубина хода в почве рыхляще-подрезающих лап 4.
Предлагаемое орудие для противоэрозионной обработки почвы по сравнению с прототипом позволяет повысить противоэрозионную устойчивость пашни при снижении энергоемкости орудия.
Формула изобретения
1. Орудие для противоэрозионной обработки почвы, содержащее раму с опорным механизмом качения, на которой закреплены почвообрабатывающие рабочие органы с возможностью образования борозд для укладки в них стерневых кулис, батареи, выполненные в виде несущих элементов с шарнирно закрепленными, подрезающими верхний слой почвы вместе со стерней и формирующими кулисы дисковыми рабочими органами, расположенными по обе стороны от продольной оси орудия и под углом к ней, отличающееся тем, что почвообрабатывающие рабочие органы выполнены в виде рыхляще-подрезающих лап для мелкой обработки почвы, причем образование борозд выполняют установленные на стойках крайних почвообрабатывающих рыхляще-подрезающих лап бороздообразователи, автономно регулируемые по глубине хода в почве в пределах глубины обработки почвы рыхляще-подрезающими лапами, а несущие элементы расположены по обе стороны от продольной оси орудия и под углом к ней таким образом, что его вершина обращена к передней части орудия, при этом кулисы, основание которых уложено в две продольные борозды, окончательно формируют при смежных проходах агрегата, кроме того, несущие элементы установлены на раме орудия с возможностью изменения угла атаки дисковых рабочих органов.
2. Орудие по п.1, отличающееся тем, что опорный механизм качения выполнен в виде двух опорных колес, расположенных по обе стороны от продольной оси орудия перед крайними почвообрабатывающими рыхляще-подрезающими лапами.
РИСУНКИ
|
|