|
|
(21), (22) Заявка: 2006119828/09, 06.06.2006
(24) Дата начала отсчета срока действия патента:
06.06.2006
(46) Опубликовано: 27.02.2008
(56) Список документов, цитированных в отчете о поиске:
RU 2267848 С1, 10.01.2006. RU 2216087 С1, 10.11.2003. US 5905361 А, 18.05.1999. US 6885168 А, 18.05.1999.
Адрес для переписки:
346413, Ростовская обл., г. Новочеркасск, ул. Машиностроителей, 3, ОАО ВЭлНИИ
|
(72) Автор(ы):
Сметанкин Георгий Павлович (RU), Бурдюгов Александр Сергеевич (RU), Матекин Сергей Семенович (RU), Варламов Дмитрий Олегович (RU), Бурдюгова Алла Георгиевна (RU)
(73) Патентообладатель(и):
Открытое акционерное общество “Всероссийский научно-исследовательский и проектно-конструкторский институт электровозостроения” (ОАО “ВЭлНИИ”) (RU)
|
(54) АВТОМАТИЗИРОВАННОЕ УСТРОЙСТВО ДЛЯ УСКОРЕННОГО ЗАРЯДА АККУМУЛЯТОРНЫХ БАТАРЕЙ АСИММЕТРИЧНЫМ ТОКОМ
(57) Реферат:
Использование: в электротехнике, для ускоренного заряда аккумуляторных батарей (АБ) асимметричным током и для заряда постоянным током на основе заряд-разрядных ШИМ-преобразователей, может быть использовано для заряда герметичных АБ. Сущность изобретения: при подключении АБ к устройству автоматически определяется тип батареи и выбирается алгоритм и способ заряда, соответствующий типу АБ. Устройство содержит схему управления по заданному алгоритму и схему управления силовой частью. Блок управления в виде однокристального микропроцессора (ОМП) формирует сигналы в соответствии с алгоритмом заряда для управления высокочастотными ШИМ-преобразователями. В качестве нагрузки к зарядному ШИМ-преобразователю подключается аккумуляторная батарея, она же является источником питания разрядного ШИМ-преобразователя. Сигнал с датчика тока подается в ОМП, который задает и поддерживает необходимый уровень зарядного и разрядного тока в соответствии с алгоритмом заряда. Сигнал с датчика напряжения АБ подается в ОМП для контроля процесса заряда и определения критериев окончания заряда. Техническим результатом является расширение функциональных возможностей устройства за счет возможности ведения стандартного заряда АБ постоянным током с предварительным доразрядом. Устройство предназначено для заряда NiCd и NiMH герметичных АБ. 1 ил.
Изобретение относится к электротехнике, в частности к устройствам для ускоренного заряда аккумуляторных батарей (АБ) на основе преобразователей с широтно-импульсной модуляцией (ШИМ).
Наиболее близким к предлагаемому техническому решению является устройство [Патент Российской Федерации №2267848, Н02J 7/10, 2006] для автоматизированного ускоренного заряда аккумуляторных батарей асимметричным током, содержащее схему управления силовой частью, включающую диод, соединенный анодом с положительным выводом питающего напряжения, блок фильтров, соединенный с катодом диода и с отрицательным выводом питающего напряжения, блок регулируемого источника зарядного тока, соединенный с блоком фильтров, блок регулируемого источника разрядного тока, соединенный с блоком регулируемого источника зарядного тока и с точкой соединения блока фильтров и блока регулируемого источника зарядного тока, блок усилителей, соединенный с блоком регулируемого источника зарядного тока, второй блок усилителей, соединенный с блоком регулируемого источника разрядного тока, блок подключения аккумуляторных батарей, соединенный с блоком аккумуляторной батареи, второй блок фильтров, соединенный с блоком подключения аккумуляторных батарей и с точкой соединения блока регулируемого источника зарядного тока и блока регулируемого источника разрядного тока, и схему управления по заданному алгоритму, включающую блок управления, соединенный с блоком задания алгоритма заряда, блоком задания режима заряда, блоком индикации, блоком звуковой сигнализации, блоком широтно-импульсной модуляции (ШИМ), блоком аналого-цифрового преобразования (АЦП), блок задания режима заряда соединен с блоком подключения аккумуляторных батарей, блок ШИМ соединен с обоими блоками усилителей схемы управления силовой частью, блок датчика тока, соединенный с блоком подключения аккумуляторных батарей и блоком АЦП, блок датчика напряжения, соединенный с блоком подключения аккумуляторных батарей и блоком АЦП, блок питания, соединенный с положительным и отрицательным выводами питающего напряжения, при этом блок управления, блок ШИМ, блок АЦП, блок задания режима заряда и блок задания алгоритма заряда входят в состав блока однокристального микропроцессора (ОМП).
В данном устройстве при формировании разрядного импульса асимметричного тока используется метод рекуперации энергии в емкостной элемент блока фильтров, которая затем расходуется на формирование зарядного импульса. Недостатком устройства является невозможность вести продолжительный разряд АБ, т.к. при этом энергия разряда не расходуется на формирование зарядного импульса, а накапливается на емкостном элементе блока фильтров, что приводит к выходу его из строя.
Задачей изобретения является расширение функциональных возможностей устройства за счет способности вести разряд АБ, т.к. в некоторых областях применения, кроме ускоренного заряда АБ, требуется, чтобы зарядное устройство могло обеспечивать стандартный режим заряда (NiCd и NiMh АБ), перед которым батарея должна быть полностью разряжена.
Поставленная задача достигается тем, что в известное устройство для автоматического ускоренного заряда аккумуляторных батарей асимметричным током, содержащее схему управления силовой частью, включающую диод, соединенный анодом с положительным выводом питающего напряжения, блок фильтров, соединенный с катодом диода и с отрицательным выводом питающего напряжения, блок регулируемого источника зарядного тока, соединенный с блоком фильтров, блок регулируемого источника разрядного тока, соединенный с блоком регулируемого источника зарядного тока и с точкой соединения блока фильтров и блока регулируемого источника зарядного тока, блок усилителей, соединенный с блоком регулируемого источника зарядного тока, второй блок усилителей, соединенный с блоком регулируемого источника разрядного тока, блок подключения аккумуляторных батарей, соединенный с блоком аккумуляторной батареи, второй блок фильтров, соединенный с блоком подключения аккумуляторных батарей и с точкой соединения блока регулируемого источника зарядного тока и блока регулируемого источника разрядного тока, и схему управления по заданному алгоритму, включающую блок управления, соединенный с блоком задания алгоритма заряда, блоком задания режима заряда, блоком индикации, блоком звуковой сигнализации, блоком широтно-импульсной модуляции (ШИМ), блоком аналого-цифрового преобразования (АЦП), блок задания режима заряда соединен с блоком подключения аккумуляторных батарей, блок ШИМ соединен с обоими блоками усилителей схемы управления силовой частью, блок датчика тока, соединенный с блоком подключения аккумуляторных батарей и блоком АЦП, блок датчика напряжения, соединенный с блоком подключения аккумуляторных батарей и блоком АЦП, блок питания, соединенный с положительным и отрицательным выводами питающего напряжения, введены в схему управления силовой частью блок разряда конденсаторов, соединенный одним выводом с точкой соединения блока фильтров и блока регулируемого источника зарядного тока, другим выводом – с отрицательным выводом питающего напряжения, а в схему управления по заданному алгоритму – блок переключателя, соединенный с блоком управления. Введенный блок разряда конденсаторов состоит из ключевого элемента, подключающего нагрузочный резистор к отрицательному выводу питающего напряжения, что позволяет разряжать емкостной элемент блока фильтров и поддерживать его напряжение в рабочем диапазоне при разряде АБ. Внутренняя схема управления ключевого элемента включает/выключает его в зависимости от уровня напряжения на емкостном элементе блока фильтров, который поступает на пороговый элемент, имеющий гистерезисную характеристику срабатывания. Введенный блок переключателя служит для выбора способа заряда АБ: ускоренный заряд асимметричным током или стандартный заряд постоянным током. Введение в схему блока разряда конденсаторов позволяет вести продолжительный разряд АБ, поскольку рекуперируемая при этом в емкостной элемент блока фильтров энергия рассеивается на нагрузочном резисторе блока разряда конденсаторов, а введение блока переключателя позволяет выбирать между способом заряда постоянным током с предварительным доразрядом АБ и способом заряда асимметричным током без предварительного доразряда.
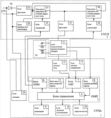
На чертеже представлена блок-схема устройства.
Устройство включает систему управления по заданному алгоритму (СУЗА) 1 и систему управления силовой частью (СУСЧ) 2. Блок 3 ОМП состоит из блока 4 управления, блока 5 задания алгоритма заряда, блока 6 ШИМ, блока 7 АЦП и блока 8 задания режима заряда и соединен с блоком 9 индикации, блоком 10 звуковой сигнализации, блоком 11 подключения аккумуляторных батарей, блоком 12 датчика тока и блоком 13 датчика напряжения. Входы блоков 12 и 13 датчика тока и датчика напряжения соответственно соединены с соответствующими выходами блока 11 подключения АБ, входы которого соединены с блоком 14 АБ. Выходы блока 6 ШИМ соединены с входами соответствующих блоков 15 и 16 усилителей, выходы которых соединены со входами блоков 17 и 18 регулируемых источников зарядного и разрядного тока соответственно. Питающее напряжение подается на блок 19 питания, положительный вывод питающего напряжения соединен с анодом диода 20, катод которого соединен со входом блока 21 фильтров. Выход блока 21 фильтров соединен с входом блока 17 регулируемого источника зарядного тока, представляющего собой ШИМ-преобразователь понижающего типа, выход которого соединен со входом блока 22 фильтров и входом блока 18 регулируемого источника разрядного тока, представляющего собой ШИМ-преобразователь повышающего типа. Выход блока 22 фильтров соединен с блоком 11 подключения аккумуляторных батарей. Выход блока 18 регулируемого источника разрядного тока соединен с выходом блока 21 фильтров и входом блока 17 регулируемого источника зарядного тока. Блок 23 разряда конденсаторов соединен одним выводом с точкой соединения блока 21 фильтров и блока 17 регулируемого источника зарядного тока, другим выводом – с отрицательным выводом питающего напряжения. Блок 24 переключателя соединен с блоком 4 управления.
Устройство работает следующим образом. Питающее напряжение поступает на блок 19 питания, который вырабатывает постоянные стабилизированные напряжения для питания блока 9 индикации, блока 10 сигнализации, блока 11 подключения аккумуляторных батарей, блока 12 датчика тока, блока 13 датчика напряжения, блоков 15 и 16 усилителей и блока 3 однокристального микропроцессора (ОМП), состоящего из блока 4 управления, блока 5 задания алгоритма заряда, блока 6 ШИМ, блока 7 АЦП и блока 8 задания режима заряда. При включении устройства сигналы с выхода блока 3 ОМП запирают блоки усилителей во избежание открытия силовых элементов схемы управления силовой частью 2. Блок 3 ОМП инициирует записанную в блоке 5 задания алгоритма заряда программу, которая устанавливает выходные сигналы портов ввода-вывода в начальное состояние, контролирует входные сигналы портов ввода-вывода и АЦП. При нормальном завершении опроса на блок 10 звуковой сигнализации выдается сигнал длительностью 500 мс с частотой 2 КГц. При возникновении запрещенной комбинации на входах ОМП 3 выдает сигнал аварии на блок 10 звуковой сигнализации частотой 1 КГц длительностью 230 мс и паузой 20 мс и на блок 9 индикации частотой 4 Гц и скважностью 0,1. После предварительной обработки и установки соответствующих сигналов ОМП 3 переходит в режим ожидания, периодически опрашивая выходы блока 8 задания режима заряда и блока 13 датчика напряжения. При подключении АБ к блоку 11 подключения батареи срабатывает переключатель, соответствующий данному типу батареи, сигнал с которого поступает в блок 8 задания режима заряда и с его выхода на блок 3 ОМП. Напряжение батареи поступает на вход блока 13 датчика напряжения и с его выхода на блок 7 АЦП. Блок 4 управления анализирует полученные сигналы и выбирает из блока 5 задания алгоритма заряда алгоритм, соответствующий заряду данного типа батареи. Способ заряда (постоянный или асимметричный ток) задается по сигналу, получаемому блоком 4 управления от блока 24 переключателя.
Если задан ускоренный заряд асимметричным током, блок 4 управления выдает сигналы управления зарядом на блок 6 ШИМ и сигнал постоянного свечения на блок 9 индикации. Сигналы с блока 6 ШИМ, поступающие на блоки 15 и 16 усилителей и далее на блоки 17 и 18 регулируемых источников зарядного и разрядного тока соответственно, устанавливают амплитуды и длительности зарядных и разрядных импульсов согласно выбранному алгоритму заряда. Амплитуды зарядного и разрядного импульса контролируются с помощью сигнала с блока 12 датчика тока, поступающего на блок 7 АЦП. В ходе заряда в соответствии с алгоритмом контролируется напряжение АБ. По окончании процесса заряда блок 4 управления прекращает подачу сигналов управления на блок 6 ШИМ, на выходах которого устанавливаются уровни, запирающие блоки 17 и 18 регулируемых источников зарядного и разрядного тока, батарея отключается от зарядных и разрядных цепей, блок 4 управления подает сигнал о нормальном завершении процесса заряда в блок 9 индикации с частотой 2 Гц и скважностью 0,5 и блок 10 звуковой сигнализации с частотой 1 кГц длительностью 250 мс и паузой 250 мс. В ходе заряда контролируются параметры тока на соответствие выбранному режиму заряда. При несоответствии токов параметрам режима заряд прекращается и включаются аварийные звуковая сигнализация и индикация, что говорит о неисправности батареи.
Если задан стандартный режим заряда постоянным током, блок 4 управления выдает сигналы управления разрядом на блок 6 ШИМ и сигнал постоянного свечения на блок 9 индикации. Сигнал с блока 6 ШИМ, поступающий на блок 16 усилителей и далее на блок 18 регулируемого источника разрядного тока, устанавливает амплитуду разрядного тока согласно выбранному алгоритму заряда. Амплитуда разрядного тока контролируется с помощью сигнала с блока 12 датчика тока, поступающего на блок 7 АЦП. Когда за счет рекуперируемой при разряде энергии АБ напряжение на емкостном элементе блока 21 фильтров достигнет порога срабатывания ключевого элемента блока 23 разряда конденсаторов, избыточная энергия начнет преобразовываться в тепло на резистивном элементе блока 23 разряда конденсаторов, напряжение будет уменьшаться и по достижении нижней границы гистерезиса порогового элемента ключевой элемент закроется и напряжение снова начнет нарастать. В ходе разряда в соответствии с алгоритмом контролируется напряжение АБ. По достижении конечного разрядного напряжения блок 4 управления прекращает подачу сигналов управления на блок 6 ШИМ, на выходе которого устанавливается уровень, запирающий блок 18 регулируемого источника разрядного тока. В ходе разряда контролируются параметры тока на соответствие выбранному режиму разряда. При несоответствии тока параметрам режима разряд прекращается и включаются аварийные звуковая сигнализация и индикация.
Далее блок 4 управления выдает сигналы управления зарядом на блок 6 ШИМ. Сигнал с блока 6 ШИМ, поступающий на блок 15 усилителей и далее на блок 17 регулируемого источника зарядного тока, устанавливает амплитуду зарядного тока согласно выбранному алгоритму заряда. Амплитуда зарядного тока контролируется с помощью сигнала с блока 12 датчика тока, поступающего на блок 7 АЦП. В ходе заряда в соответствии с алгоритмом контролируется время заряда. По истечении времени заряда блок 4 управления прекращает подачу сигналов управления на блок 6 ШИМ, на выходах которого устанавливается уровень, запирающий блок 17 регулируемого источника зарядного тока, батарея отключается от зарядных и разрядных цепей, блок 4 управления подает сигнал о нормальном завершении процесса заряда в блок 9 индикации с частотой 2 Гц и скважностью 0,5 и блок 10 звуковой сигнализации с частотой 1кГц длительностью 250 мс и паузой 250 мс. В ходе заряда контролируются параметры тока на соответствие выбранному режиму заряда. При несоответствии токов параметрам режима заряд прекращается и включаются аварийные звуковая сигнализация и индикация, что говорит о неисправности батареи.
Цепь заряда состоит из диода 20, служащего для предотвращения обратного тока через источник питания от аккумуляторной батареи при пропадании входного напряжения, блока 21 фильтров, осуществляющего защиту питающего напряжения от низкочастотной и высокочастотной помехи, возникающей при коммутациях в блоке 17 регулируемого источника зарядного тока, а также функцию накопления заряда на емкости при протекании разрядного тока, блока 17 регулируемого источника зарядного тока, управляемого через блок 15 усилителей от блока 3 ОМП, служащего для поддержания уровня зарядного тока в соответствии с режимом заряда, блока 22 фильтров, необходимого для сглаживания высокочастотных пульсаций зарядного тока, блока 11 подключения аккумуляторных батарей.
Цепь разряда состоит из блока 11 подключения аккумуляторных батарей, блока 22 фильтров, необходимого для сглаживания высокочастотных пульсаций разрядного тока, блока 18 регулируемого источника разрядного тока, управляемого через блок 16 усилителей от блока 3 ОМП, которым задается и поддерживается необходимый уровень разрядного тока, энергия импульса разрядного тока преобразуется в заряд конденсатора блока 21 фильтров и используется для создания зарядного тока, и блока 23 разряда конденсаторов, предохраняющего емкостной элемент блока 21 фильтров от выхода из строя при продолжительном разряде.
Введение в систему управления силовой частью 2 блока 22 разряда конденсаторов и в систему управления по заданному алгоритму 1 блока 24 переключателя расширяет функциональные возможности устройства за счет возможности ведения не только ускоренного заряда асимметричным током, но и стандартного заряда постоянным током.
Формула изобретения
Автоматизированное устройство для ускоренного заряда аккумуляторных батарей асимметричным током, содержащее схему управления силовой частью, включающую диод, соединенный анодом с положительным выводом питающего напряжения, блок фильтров, соединенный с катодом диода и с отрицательным выводом питающего напряжения, блок регулируемого источника зарядного тока, соединенный с блоком фильтров, блок регулируемого источника разрядного тока, соединенный с блоком регулируемого источника зарядного тока и с точкой соединения блока фильтров и блока регулируемого источника зарядного тока, блок усилителей, соединенный с блоком регулируемого источника зарядного тока, второй блок усилителей, соединенный с блоком регулируемого источника разрядного тока, блок подключения аккумуляторных батарей, соединенный с блоком аккумуляторной батареи, второй блок фильтров, соединенный с блоком подключения аккумуляторных батарей и с точкой соединения блока регулируемого источника зарядного тока и блока регулируемого источника разрядного тока, и схему управления по заданному алгоритму, включающую блок управления, соединенный с блоком задания алгоритма заряда, блоком задания режима заряда, блоком индикации, блоком звуковой сигнализации, блоком широтно-импульсной модуляции (ШИМ), блоком аналого-цифрового преобразования (АЦП), блок задания режима заряда соединен с блоком подключения аккумуляторных батарей, блок ШИМ соединен с обоими блоками усилителей схемы управления силовой частью, блок датчика тока, соединенный с блоком подключения аккумуляторных батарей и блоком АЦП, блок датчика напряжения, соединенный с блоком подключения аккумуляторных батарей и блоком АЦП, блок питания, соединенный с положительным и отрицательным выводами питающего напряжения, отличающееся тем, что в схему управления силовой частью введен блок разряда конденсаторов, соединенный одним выводом с точкой соединения блока фильтров и блока регулируемого источника зарядного тока, другим выводом – с отрицательным выводом питающего напряжения, а в схему управления по заданному алгоритму введен блок переключателя, соединенный с блоком управления.
РИСУНКИ
|
|