| На основании пункта 3 статьи 13 Патентного закона Российской Федерации от 23 сентября 1992 г. № 3517-I патентообладатель обязуется передать исключительное право на изобретение (уступить патент) на условиях, соответствующих установившейся практике, лицу, первому изъявившему такое желание и уведомившему об этом патентообладателя и федеральный орган исполнительной власти по интеллектуальной собственности, – гражданину РФ или российскому юридическому лицу. |
|
(21), (22) Заявка: 2005100874/09, 17.01.2005
(24) Дата начала отсчета срока действия патента:
17.01.2005
(43) Дата публикации заявки: 20.06.2006
(46) Опубликовано: 27.02.2008
(56) Список документов, цитированных в отчете о поиске:
SU 957332 А1, 07.09.1982. SU 890507 А1, 25.12.1981. DE 3013060, 08.10.1981. DE 1216956, 18.05.1966. FR 2277454, 30.01.1976.
Адрес для переписки:
115551, Москва, ул. Домодедовская, 5, корп.3, кв.368, А.П. Ефимочкину
|
(72) Автор(ы):
Ефимочкин Анатолий Павлович (RU), Ефимочкина Дарья Анатольевна (RU)
(73) Патентообладатель(и):
Ефимочкин Анатолий Павлович (RU), Ефимочкина Дарья Анатольевна (RU)
|
(54) ВСТРЯХИВАТЕЛЬ ПРОВОДОВ
(57) Реферат:
Изобретение относится к области энергетики, электротехники, системам проводной связи, теле- и радиопередач. Устройство содержит крыльчатку, выполненную из диэлектрика, пластины, выполнены из двух частей, внутренних и внешних, последние выполнены с возможностью отгиба в одну сторону, при этом центральное, продольное отверстие крыльчатки выполнено в виде продольно разрезанной втулки, диаметр которой равен диаметру провода, на внутренней поверхности втулки нанесено рифление, а пластины размещены, например, взаимоперпендикулярно друг относительно друга. Техническим результатом является расширение функциональных возможностей за счет устранения наиболее опасных причин обрыва проводов. 1 з.п. ф-лы, 3 ил.
Настоящее изобретение относится к области энергетики, электротехники, системам проводной связи, теле- и радиопередач и, в частности, может быть использовано для встряхивания проводов для сбрасывания налипшего снега и атмосферной влаги.
Широко известна проблема очистки проводов от снега и наледи.
На наружные провода воздействуют такие климатические факторы, как снег, дождь, град, ветер и резкие перепады температуры. Наиболее опасными из них являются – мокрый снег в безветренную погоду, дождь и повышенная влажность с последующим резким перепадом температуры в отрицательную область. Последние создают наледь на проводах большой массы, что, в большинстве случаев, приводит к обрыву проводов.
Их последующее восстановление связано с большими материальными и моральными затратами, с транспортными расходами, монтажными и пусконаладочными работами.
Для очистки проводов от снега и наледи используются различные устройства, в основном, двух типов: электрические и механические.
Электрическое устройство очистки проводов известно по изобретению “Способ удаления гололеда с двойных или кратных проводов контактной сети и линии электропередачи”.
Способ реализуется путем пропускания электрического переменного тока или импульсов тока с частотой, близкой к механическому резонансу, и амплитудой, достаточной для преодоления внешних и внутренних сил трения, или пачек импульсов, периодического тока, тока с качающейся частотой, изменяющегося по гармоническому закону, см. заявку РФ №991147061.
Наиболее близким по технической сущности к заявленному изобретению является “Устройство для удаления гололедных отложений”, содержащее пружину и крыльчатку, см. например, а/с №957332, Н02G 7/16.
Однако данная конструкция предназначена для удаления наледи, когда она уже намерзла на проводах. К этому моменту некоторые провода вследствие нависания на них большой массы льда могут оборваться, что приведет к прерыванию снабжения потребителей электроэнергией и прекращению связи.
Существенным недостатком известного устройства является и то, что оно не способно сбросить мокрый снег, налипший на проводах в безветренную погоду, а также удалить атмосферную влагу (дождь, росу и туман), которая в случае резкого перепада температуры в отрицательную область создает наледь значительного веса, также часто приводящую к обрыву проводов.
Целью настоящего изобретения является расширение функциональных возможностей за счет устранения наиболее опасных причин обрыва проводов, т.е. при осаждении на них мокрого снега в безветренную погоду, и уменьшения объема атмосферной влаги, способной стать наледью.
Указанная цель обеспечивается тем, что в известном устройстве, содержащем крыльчатку, предлагается последнюю выполнить из диэлектрика с пластинами, состоящими из двух частей, внутренних и внешних, последние из которых должны быть выполнены с возможностью отгиба в одну сторону.
Также предлагается выполнить крыльчатку с центральным, продольным отверстием в виде разрезной втулки, диаметр которой равен диаметру провода, ее внутреннюю поверхность выполнить с рифлением, а пластины расположить, например, взаимоперпендикулярно.
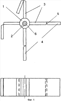
Изобретение поясняется графическими материалами. На Фиг.1 представлена конструкция встряхивателя проводов, на Фиг.2 показан встряхиватель со снегом, на Фиг.3 показано срабатывание встряхивателя.
Встряхиватель проводов содержит втулку 1, вдоль продольной оси которой выполнен щелевидный разрез 2. С наружной стороны втулки 1 размещены пластины, состоящие из двух частей, внутренней 3 и внешней 4.
Внешние части 4 отделены от внутренних частей 3 пластин уголковым пазом 5 так, чтобы обеспечивалась возможность их поворота, т.е. складывания только в одну сторону.
Внутренняя поверхность втулки 1, устанавливаемая на провод 6, имеет рифление.
На Фиг.2 показан снег 7 на пластинах.
Рассмотрим пример работы встряхивателя, выполненный с противоположными взаимно перпендикулярными пластинами.
Разжав по щелевидному разрезу 2 втулку 1, встряхиватель одевают на провод 6.
В свободном состоянии встряхиватель устанавливается на проводе 6 почти симметрично относительно вертикальной и горизонтальной осей. Т.е., одна пара диаметрально расположенных пластин расположится горизонтально, а другая – вертикально, см. Фиг.1.
В таком положении внутренняя 3 и внешняя 4 части правой пластины расположатся в одной плоскости, т.е. будут иметь большую длину, чем левое плечо, образованное только внутренней 3 частью пластины. Такое состояние обеспечивается наличием одностороннего уголкового паза 5, создающим возможность внешним частям 4 пластины отгибаться только в одну сторону.
Различие длин горизонтально расположенных пластин придает несимметричность всей конструкции устройства. При этом несмотря на то, что центр тяжести всей системы чуть смещен в сторону длинного плеча, система будет находиться в положении неустойчивого равновесия.
При отсутствии снега сила трения между внутренней поверхностью втулки 1 и проводом 6 удерживает встряхиватель в установленном положении.
Рассмотрим наиболее тяжелую климатическую ситуацию – падение мокрого тяжелого снега при полном отсутствии ветра.
Снег опускается на провод и одновременно ложится на верхние поверхности горизонтально расположенных пластин встряхивателя.
В связи с тем, что одно плечо пластин (на Фиг.1 – правое) длиннее, чем другое (левое), на нем происходит накопление большего объема снега. И это будет продолжаться до тех пор, пока разница весов снега на правой (удлиненной) пластине и на левой (короткой) не превысит силу трения между втулкой 1 и проводом 6.
В этом случае нарушится равновесное состояние встряхивателя и он резко повернется вправо.
Такой резкий поворот импульсно воздействует на провод 6, который в силу своей ответной реакции резко смещается в противоположную сторону, т.е. влево.
Весь провод, смещаясь влево, как бы, резко “вздрагивает”.
Рожденный таким образом импульс смещения провода 6 “бежит” вдоль него дальше, раскачивая его и сбрасывая налипший на него снег.
При повороте правая пластина встряхивателя опускается вниз, а верхняя часть 4 соседней, левой пластины, переходя через правый, верхний сектор, разворачивает свою внешнюю часть 4, увеличивая общую длину пластины.
Встряхиватель занимает новое положение, аналогичное предыдущему.
В случаях сочетания таких погодных условий, как снег и ветер, вертикальные пластины встряхивателя будет “парусить” и раскачивать провод. Это дает возможность сбрасывать снег с проводов уже при его малом объеме на поверхности пластин.
Теперь рассмотрим работу встряхивателя в случае образования наледи вследствие наличия в атмосфере большого объема влаги.
Такое состояние возможно во время зимнего дождя, сильного тумана и обильной росы в холодные периоды года с резким переходом в минусовую температуру.
Зимний дождь может быть с ветром. В этом случае встряхиватель порывами ветра раскачивается и стряхивает воду, текущую по желобам скрученных проводников.
При зимнем дожде без ветра капли дождя ударяют по верхним поверхностям горизонтально расположенных пластин. Здесь также, как в случае с падающим снегом, количество ударов капель на правую (длинную) пластину будет больше, чем на правую (короткую).
Капли падают разновременно, но в некоторые моменты времени их количество на правую (длинную) пластину, см. Фиг.1, за счет ее большей площади может превысить количество ударов капель, упавших на левую (короткую) пластину.
Это создаст импульс поворота или вздрагивания встряхивателя, тем самым стряхивая текущую по желобам между проводниками воду.
Такие дополнительные встряхивания проводов существенно уменьшают общий объем водной массы на проводе, и в случае резкого перехода температуры в отрицательную область масса наледи от оставшейся в желобах между проводниками воды также будет меньше, что уменьшит объем наледи и исключит обрыв провода.
Наличие рифления внутри втулки 1 повышает длительность работы встряхивателя.
Со временем рифление внутри втулки 1 может стереться, но даже и в этом случае встряхиватель будет обеспечивать выполнение своих функций стряхивания снега и влаги только через более короткие периоды времени.
Заявленный встряхиватель кроме вышеназванных функций создает еще один положительный эффект.
При воздействии периодических порывов ветра различные собственные частоты встряхивателя и провода исключают возникновение резонансных колебаний провода.
При изготовлении встряхивателя диаметр внутреннего отверстия втулки 1 выбирается равным диаметру провода, на который он одевается. Это позволит обеспечить возможность легкого поворота пластин.
Заявленный встряхиватель может быть изготовлен на любом, средней технологической оснащенности, производстве, что говорит о его соответствии критерию патентоспособности “промышленная применимость”.
Формула изобретения
1. Встряхиватель проводов, содержащий крыльчатку, отличающийся тем, что крыльчатка выполнена из диэлектрика и содержит втулку, вдоль продольной оси которой выполнен щелевидный разрез, с наружной стороны втулки размещены пластины, состоящие из двух частей, внутренних и внешних, которые выполнены с возможностью отгиба в одну сторону, диаметр втулки равен диаметру провода, на котором она установлена.
2. Встряхиватель проводов по п.1, отличающийся тем, что внутренняя поверхность втулки имеет рифление, а пластины размещены взаимоперпендикулярно относительно друг друга.
РИСУНКИ
|