|
|
(21), (22) Заявка: 2005115466/09, 07.10.2003
(24) Дата начала отсчета срока действия патента:
07.10.2003
(30) Конвенционный приоритет:
21.10.2002 DE 10249615.3
(43) Дата публикации заявки: 20.01.2006
(46) Опубликовано: 27.02.2008
(56) Список документов, цитированных в отчете о поиске:
DE 19712182 A, 24.09.1998. SU 1084909 A1, 07.04.1984. DE 19712182 A, 24.09.1998. DE 9314754 U, 03.03.1994. GB 1030798 A, 25.05.1966. US 4568804 A, 04.02.1986.
(85) Дата перевода заявки PCT на национальную фазу:
23.05.2005
(86) Заявка PCT:
DE 03/03362 (07.10.2003)
(87) Публикация PCT:
WO 2004/038748 (06.05.2004)
Адрес для переписки:
129010, Москва, ул. Б. Спасская, 25, стр.3, ООО “Юридическая фирма Городисский и Партнеры”, пат.пов. Ю.Д.Кузнецову, рег.№ 595
|
(72) Автор(ы):
ХЕРИНГ Уве (DE), ФОЛЬКМАР Ральф-Райнер (DE)
(73) Патентообладатель(и):
СИМЕНС АКЦИЕНГЕЗЕЛЛЬШАФТ (DE)
|
(54) ИЗГОТОВЛЕНИЕ ИЗОЛИРОВАННОГО ТВЕРДЫМ ЭЛЕКТРОИЗОЛЯЦИОННЫМ МАТЕРИАЛОМ ПОЛЮСА ВЫКЛЮЧАТЕЛЯ
(57) Реферат:
Изобретение относится к способу для изготовления изолированного твердым электро-изоляционным материалом полюса выключателя (1) с предусмотренным для ввода приводного движения приводным отверстием, при котором выключатель (2) с корпусом выключателя (3), который имеет приводную сторону (8), пронизываемую оперативной штангой (9), и снабженную соединительной деталью (6) оболочку (7) стабильной формы из изоляционного материала изготавливают независимо друг от друга, при котором выключатель (2) закрепляют в оболочке (7) так, что корпус выключателя (3), за исключением приводной стороны (8), и снабженная соединительной деталью (6) оболочка (7) ограничивают лежащее открыто в направлении к приводному отверстию промежуточное пространство, при котором затем промежуточное пространство заполняют текучей компенсационной массой (10) и затем компенсационную массу (10) отверждают. Изобретение относится далее к изолированному твердым электроизоляционным материалом полюсу выключателя (1) для прерывания электрического тока с заливочным каналом. Техническим результатом является экономичность с точки зрения затрат. 2 н. и 8 з.п. ф-лы, 2 ил.
Изобретение относится к способу для изготовления изолированного твердым электроизоляционным материалом полюса выключателя с по крайней мере одним приводным отверстием, выполненным для ввода приводного движения.
Изобретение относится далее к изолированному твердым электроизоляционным материалом полюсу выключателя для прерывания электрического тока с приводным отверстием, выполненным для ввода приводного движения, выключателем, который содержит корпус выключателя, и с выполненной из твердого электроизоляционного материала и снабженной соединительной деталью оболочкой, в которой закреплен выключатель, причем промежуточное пространство, образованное между оболочкой и корпусом выключателя, заполнено компенсационной массой так, что корпус выключателя окружен компенсационной массой по крайней мере частично.
Подобный способ и подобный полюс выключателя уже известны из DE 19712182 A1. Согласно ранее известному способу сначала изготавливают вакуумный выключатель с вакуумным корпусом. Вакуумный корпус состоит из керамического отрезка в виде полого цилиндра, который газоплотно закрыт металлическими стенками на стороне торцов. Внутри вакуумного корпуса расположена неподвижная контакт-деталь и аксиально противоположно – подвижная контакт-деталь, причем неподвижная контакт-деталь жестко связана с одной из металлических стенок на стороне торцов. Подвижная контакт-деталь удерживается оперативной штангой, которая пронизывает обращенную от неподвижной контакт-детали металлическую стенку на стороне торцов и предусмотрена для ввода приводного движения приводного агрегата.
Для изготовления твердотельной изоляции полюса выключателя на снабженный соединительными деталями выключатель надвигают усаживаемый шланг, состоящий из эластичного каучука. При этом усаживаемый шланг сохраняет цилиндрическую форму с помощью пластмассовых спиралей так, что его надвигание на цилиндрический вакуумный корпус упрощено. После удаления пластмассовых спиралей шланг, выполненный из этилен-пропилен-диенового каучука равномерно прилегает к вакуумному корпусу. После нанесения каучука вакуумный выключатель заливают обычным способом гелеобразования под давлением ароматическими или циклоалифатическими, наполненными эпоксидными смолами, причем каучук берет на себя уплотнение литьевой формы относительно сердечника формы. Усаживаемый шланг служит в качестве компенсационной массы для выравнивания температурно обусловленных объемных расширений выключателя, которые могут приводить к нежелательным трещинам в изоляции из твердого электроизоляционного материала.
Известному ранее способу присущ тот недостаток, что изоляция из твердого электроизоляционного материала не может быть изготовлена независимо от выключателя. После изготовления выключателя поэтому выключатель должен с трудом транспортироваться к месту изготовления твердой изоляции. Это отрицательно действует также, в частности, тогда, когда изготовление твердой изоляции падает в сферу ответственности поставщика. Выключатель тогда, как правило, должен транспортироваться к поставщику и затем снова транспортироваться обратно с оболочкой из твердого электроизоляционного материала к изготовителю выключателя.
Задачей изобретения поэтому является предоставление в распоряжение способа названного выше вида, которым исключена транспортировка выключателя к месту изготовления твердой оболочки.
Задачей изобретения является далее предоставление в распоряжение изолированного твердым электроизоляционным материалом полюса выключателя, названного выше вида, который является экономичным с точки зрения затрат.
Изобретение решает эту задачу посредством способа для изготовления изолированного твердым электроизоляционным материалом полюса выключателя с предусмотренным для ввода приводного движения приводным отверстием, при котором выключатель с корпусом выключателя, который имеет приводную сторону, пронизываемую оперативной штангой, и снабженную соединительной деталью оболочку стабильной формы из изоляционного материала изготавливают независимо друг от друга, при котором выключатель закрепляют в оболочке так, что корпус выключателя за исключением приводной стороны и снабженная соединительной деталью оболочка ограничивают лежащее открыто в направлении к приводному отверстию промежуточное пространство, при котором промежуточное пространство после этого наполняют текучей компенсационной массой и наконец компенсационную массу отверждают.
Изобретение решает эту задачу, исходя из названного во вводной части полюса выключателя за счет того, что в снабженной соединительной деталью оболочке предусмотрен заливочный канал для изготовления компенсационной массы после монтажа выключателя.
Согласно изобретению стабильная по форме оболочка и подлежащий изолированию выключатель изготавливают независимо друг от друга. Только после отдельного завершения изготовления этих деталей выключатель закрепляют в оболочке. При этом на оболочке уже может быть закреплена соединительная деталь, которая при работе полюса выключателя служит для электрического присоединения всей конструктивной детали. Альтернативно к этому согласно изобретению можно крепить соединительную деталь к оболочке только при монтаже выключателя. Корпус выключателя, за исключением приводной стороны, соединительная деталь и оболочка должны рассчитываться с подходящими друг к другу размерами так, чтобы они ограничивали промежуточное пространство, которое граничит со всем корпусом выключателя за исключением приводной стороны. Это промежуточное пространство может быть теперь простым образом заполнено компенсационной массой, например, путем подвода входящего в промежуточное пространство шланга. Согласно изобретению таким образом может быть заполнен даже выключатель, который пронизывается подвижной оперативной штангой, не вызывая ухудшения приводного движения оперативной штанги. Для этого в промежуточное пространство должно заполняться так много текучей компенсационной массой, чтобы по крайней мере оперативная штанга оставалась свободной от компенсационной массы. Промежуточное пространство должно заполняться поэтому только настолько, чтобы оно не переполнялось или переполнялось только незначительно так, чтобы выступающая из промежуточного пространства текучая компенсационная масса проходила на пути к оперативной штанге и не застывала на ней. Конечно, согласно изобретению также возможно с помощью фасонной закраины защищать оперативную штангу от компенсационной массы, которая выступает во время или после наполнения из промежуточного пространства. Вместо оперативной штанги, которая обычно выполняет возвратно-поступательное движение, согласно изобретению для ввода приводного движения в корпус выключателя можно использовать также вращающуюся контактную ось.
Под текучей в смысле изобретения должно пониматься то, что компенсационная масса по крайней мере перед отверждением при выбранной температуре изготовления имеет такую вязкость, что она после заполнения в промежуточное пространство за счет процессов текучести заполняет его по крайней мере частично. Чем более жидкой или более текучей является компенсационная масса, тем более быстрым является процесс изготовления. Заполнение текучей компенсационной массы должно однако происходить настолько медленно и осторожно, чтобы в основном избежать включений воздуха или газа. Так как промежуточное пространство лежит открытым, вытесненный при заполнении промежуточного пространства газ может выходить через приводное отверстие полюса выключателя во внешнюю атмосферу.
Предпочтительным образом в качестве компенсационной массы используют эластомеры, полимеризация или сшивка которых еще не полностью закончена. В рамках изобретения разумеется также возможно заполнять в промежуточное пространство целесообразные мономеры и только затем возбуждать полимеризацию посредством подходящих химических или физических инициаторов. В качестве эластомера, например, можно рассматривать полиуретан. В предпочтительном примере выполнения компенсационной массой является каучук, в частности, кремнийорганический каучук. В рамках изобретения возможно также использование этилен-пропилен-диенового каучука (EPDM). Заполнение EPDM в промежуточное пространство должно однако производиться при более высоких температурах, например, посредством метода литья под давлением. Предпочтительным образом компенсационная масса имеет хорошую теплопроводность.
В качестве изоляционного материала для изготовления стабильной по форме оболочки пригодными являются не проводящие термопластичные или термореактивные пластмассы, как эпоксидные смолы.
В предпочтительном примере выполнения изобретения промежуточное пространство заполняют текучей компенсационной массой через по крайней мере один предусмотренный в оболочке и/или соединительной детали заливочный канал. При заполнении промежуточного пространства через заливочный канал находящиеся в промежуточном пространстве газы, например, воздух могут равномерно вытесняться компенсационной массой. Включения воздуха в состоящей из компенсационной массы амортизирующей подушке с последующим уменьшением трекингостойкости и электрической прочности могут таким образом избегаться. Заливочный канал или заливочные каналы выбраны по сравнению с промежуточным пространством целесообразно с малыми размерами.
В относящемся к этому примере выполнения предусмотрен единственный заливочный канал в соединительной детали, который является электрически проводящим и поэтому обычно изготовлен из металла. Соединительная деталь имеет поэтому повышенную по сравнению с оболочкой механическую прочность. Трубы или шланги, которые предусмотрены для подвода текучей компенсационной массы, могут тем самым закрепляться простым образом, например, за счет предусматривания целесообразной резьбы на металлической стенке заливочного канала. Так, на соединительной детали может предусматриваться, например, направленный вентиль, который позволяет прохождение текучей среды только в одном направлении. Также использование нагнетательного вентиля является возможным согласно изобретению.
В отличие от этого заливочный канал может быть предусмотрен только в оболочке. Кроме того, в рамках изобретения возможно предусматривать заливочные каналы как в оболочке, так и в соединительной детали, причем введенные в соответствующие детали отрезки каждого заливочного канала впадают друг в друга так, что промежуточное пространство может заполняться снаружи.
Кроме того, является целесообразным, если каждый заливочный канал при заполнении текучей компенсационной массой расположен ниже промежуточного пространства. Таким образом еще больше уменьшается опасность нежелательных воздушных включений, которые снижали бы электрическую прочность изоляций из твердого материала. При этом выполнении текучая компенсационная масса, медленно поднимаясь снизу вверх, может непрерывно вытеснять воздух из промежуточного пространства.
При целесообразном дальнейшем развитии изобретения в промежуточном пространстве при заполнении текучей компенсационной массой создают пониженное давление. Пониженное давление, с одной стороны, ускоряет процесс заполнения и служит, кроме того, также для того, чтобы уменьшить опасность воздушных включений.
Кроме того, может быть целесообразным, чтобы текучая компенсационная масса направлялась в промежуточное пространство под давлением. Текучая компенсационная масса может при этом подаваться к промежуточному пространству через подходящие трубы или шланги. За счет избыточного давления при заполнении повышается скорость транспортировки текучей среды внутри этой подводящей системы труб так, что процесс изготовления таким образом ускоряется.
При дальнейшем развитии изобретения каждый заливочный канал после заполнения закрывают. Затвор может быть простым болтом, который, например, ввинчивают вместо вентиля в резьбу, которая была введена в стенку заливочного канала.
В отличие от этого каждый заливочный канал закрывают изоляционным материалом.
Предпочтительным образом соединительную деталь заливают в оболочку при ее изготовлении. За счет этого соединения с геометрическим замыканием соединительная деталь не должна сложным образом крепиться в оболочке стабильной формы, например, посредством привинчивания, приклеивания или тому подобного.
Дальнейшие целесообразные формы выполнения и преимущества изобретения являются предметом последующего описания примеров выполнения изобретения со ссылкой на чертежи, причем соответствующие детали снабжены одинаковыми ссылочными позициями.
Фигура 1 показывает вид продольного сечения примера выполнения полюса выключателя, изолированного твердым электроизоляционным материалом, и
Фигура 2 – следующий пример выполнения соответствующего изобретению полюса выключателя, изолированного твердым электроизоляционным материалом, в виде продольного сечения.
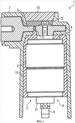
Фигура 1 показывает вид продольного сечения примера выполнения полюса выключателя 1, соответствующего изобретению. Представленный полюс выключателя 1 содержит в качестве выключателя вакуумный выключатель 2 с корпусом выключателя 3. Корпус выключателя 3 жестко соединен на крепежной стороне 4 посредством резьбового соединения 5 с соединительной деталью 6, которая предусмотрена для присоединения полюса выключателя 1 к не представленному на чертеже токоведущему проводу. При этом соединительная деталь 6 соединена с геометрическим замыканием с оболочкой 1, которая выполнена стабильной по форме, или другими словами, жесткой, чтобы предоставить в распоряжение механическую прочность, необходимую для удерживания вакуумного выключателя 2. Одним из удовлетворяющих этим требованиям изоляционным материалом является, например, ароматическая или циклоалифатическая эпоксидная смола. В показанном примере выполнения оболочка 7 состоит из литьевой смолы. Из Фигуры 1 далее отчетливо видно, что полюс выключателя 1 за счет соединительной детали 6 и соответствующей оболочки с геометрическим замыканием образует закрытую торцовую сторону. На своей противоположной соединительной детали 6 торцовой стороне полюс выключателя 1 имеет приводное отверстие, через которое является возможным ввод приводного движения.
Вакуумный выключатель 2 снабжен приводной стороной 8, которая обращена к приводному отверстию и которая пронизывается оперативной штангой 9. Оперативная штанга 9 уплотнена относительно корпуса выключателя 3 не показанным на чертеже металлическим сильфоном так, что является возможным возвратно-поступательное движение оперативной штанги 9. За счет этого возвратно-поступательного движения также расположенная внутри корпуса выключателя 3 подвижная контакт-деталь приводится в контакт с неподвижной контакт-деталью. В этом положении контакта становится возможным прохождение тока через вакуумный выключатель 2. Оперативная штанга 9 является частью приводного рычажного механизма, который проходит из полюса выключателя 1 через приводное отверстие к расположенному вне полюса выключателя 1 приводному модулю.
Вакуумно-плотный корпус выключателя 3 состоит обычно из трубчатой керамики, которая как на крепежной стороне 4, так и на приводной стороне 8 герметично закрыта металлическими прикрывающими пластинами. Различные температурные расширения этого составного тела могут приводить к напряжениям в стабильной по форме оболочке 7 из литьевой смолы и, кроме того, даже к ее разрушению. Для улавливания этих термически обусловленных расширений между оболочкой 7 и корпусом выключателя 3 предусмотрена компенсационная масса 10. Вакуумный выключатель 2 поэтому полностью окружен изоляционным твердым телом, за исключением своей приводной стороны 8.
Для введения компенсационной массы 10 в показанном примере выполнения заливочный канал 11 предусмотрен в соединительной детали 6, причем соединительная деталь 6 на своей обращенной от вакуумного выключателя 2 стороне электрически изолирована наружу посредством эластомера 12, например, кремнийорганического каучука, а также другой стабильной по форме пластмассы 13, например, литьевой смолой.
Для изготовления полюса выключателя 1 сначала изотавливают вакуумный выключатель 2. Независимо от этого происходит изготовление снабженной соединительной деталью 6 оболочки 7, причем в этом случае соединительная деталь 6 была залита в изоляционный материал оболочки 7. Вакуумный выключатель 2 может теперь быть жестко соединен резьбовым соединением 5 на своей крепежной стороне 4 с соединительной деталью 6 и тем самым жестко соединено с всей оболочкой 7. Подвод текучей компенсационной массы 10 происходит через заливочный канал 11, который в показанном примере выполнения имеет резьбу, в которую ввинчивается не представленный на чертеже, снабженный шлангом направленный вентиль. Текучая компенсационная масса 10 в показанном примере выполнения также состоит из кремнийорганического каучука, который, однако, еще не полностью отвержден, или другими словами, еще не полностью сшит и тем самым имеет достаточно малую вязкость, чтобы течь по шланговому соединению через вентиль и заливочный канал 11 в промежуточное пространство.
При заполнении текучей компенсационной массы 10 полюс выключателя 1 целесообразно ориентирован противоложно показанному на Фигуре 1 изображению так, что заливочный канал 11 находится под промежуточным пространством и текучая компенсационная масса 10 поднимается снизу вверх против силы тяжести. Таким образом, воздух, находящийся в промежуточном пространстве, медленно вытесняется снизу вверх. Для ускорения описанного процесса заполнения, а также для дальнейшего уменьшения опасности воздушных включений оболочка 7 может быть закрыта на ее приводном отверстии и в возникающем полом пространстве приложено легкое пониженное давление. Для предотвращения отверждения компенсационной массы 10 на оперативной штанге 9 в принципе должно заполняться только такое количество текучей компенсационной массы 10, чтобы промежуточное пространство было заполнено почти полностью. Конечно, возможно и незначительное переполнение так, что переливающаяся часть компенсационной массы 10 течет на приводной стороне 8 вакуумного выключателя 2. В показанном примере выполнения, однако, предусмотрена фасонная закраина 21 для защиты оперативной штанги 9 от отверждающейся компенсационной массы 10. С помощью этой фасонной закраины поэтому является возможной заделка крупных частей приводной стороны 8 в компенсационную массу 10.
Фигура 2 показывает дальнейший пример выполнения соответствующего изобретению полюса выключателя 1. Показанная здесь соединительная деталь 6 выполнена из двух частей и состоит из выведенного из оболочки 7 с торцовой стороны мундштука 14 и соединенной посредством резьбового соединения 5 с вакуумным выключателем 2 крепежной детали 15. Заливочный канал 11 в показанном примере выполнения выполнен Т-образным и содержит внешний канал 17, входящий в соединительное отверстие 16, а также проходящий под прямым углом к нему внутренний канал 18. В мундштуке 14 можно увидеть далее крепежное отверстие 19.
Изготовление показанного полюса выключателя 1 происходит опять-таки посредством раздельного изготовления оболочки 7, а также вакуумного выключателя 2, причем оболочка 7 изготовлена не со всей соединительной деталью 6, а лишь вместе с мундштуком 14 путем заливки его в литьевую смолу. На вакуумном выключателе 2 через резьбовое соединение 5 монтируют крепежную деталь 15. В заключение соединенные друг с другом детали вводят в полое пространство оболочки 7. Крепление вакуумного выключателя 2 к оболочке 7 производят через расположенное в крепежном отверстии 19 резьбовое соединение. После закрепления вакуумного выключателя 2 производят подвод текучей компенсационной массы 10. Для этого целесообразное трубчатое или шланговое соединение закрепляют, например, через резьбу на внешнем канале 17 заливочного канала 11, причем соединительное отверстие 16 предоставляет в распоряжение необходимый доступ снаружи. Затем текучую компенсационную массу 10 закачивают в промежуточное пространство через внешний канал 17, а также внутренний канал 18. Заполнение полюса выключателя 1 можно производить, как в предыдущем примере выполнения, снизу вверх, пока будет достигнут предусмотренный уровень заполнения промежуточного пространства. Кроме того, в промежуточном пространстве можно создавать пониженное давление.
После заполнения компенсационной массой 10 заливочный канал 11 закрывают посредством уплотнительного болта 20.
Формула изобретения
1. Способ для изготовления изолированного твердым электроизоляционным материалом полюса выключателя (1) с предусмотренным для ввода приводного движения приводным отверстием, при котором выключатель (2) с корпусом выключателя (3), который имеет приводную сторону (8), пронизываемую оперативной штангой (9), и снабженную соединительной деталью (6) оболочку (7) стабильной формы из изоляционного материала изготавливают независимо друг от друга, при котором выключатель (2) закрепляют в оболочке (7) так, что корпус выключателя (3) за исключением приводной стороны (8) и снабженная соединительной деталью (6) оболочка (7) ограничивают лежащее открыто в направлении к приводному отверстию промежуточное пространство, при котором промежуточное пространство затем заполняют текучей компенсационной массой (10) и, наконец, компенсационную массу (10) отверждают.
2. Способ по п.1, отличающийся тем, что промежуточное пространство заполняют текучей компенсационной массой (10) через по крайней мере один предусмотренный в оболочке (7) и/или соединительной детали (6) заливочный канал (11).
3. Способ по п.2, отличающийся тем, что каждый заливочный канал (11) при заполнении текучей компенсационной массой (10) расположен ниже промежуточного пространства.
4. Способ по п.3, отличающийся тем, что каждый заливочный канал (11) после заполнения закрывают.
5. Способ по п.4, отличающийся тем, что каждый заливочный канал (11) закрывают изоляционным материалом (12, 13).
6. Способ по любому из предыдущих пунктов, отличающийся тем, что соединительную деталь (6) при изготовлении оболочки (7) заливают в нее.
7. Способ по любому из пп.1-5, отличающийся тем, что в промежуточном пространстве при заполнении текучей компенсационной массой (10) прикладывают пониженное давление.
8. Способ по любому из пп.1-5, отличающийся тем, что текучую компенсационную массу (10) вводят в промежуточное пространство под давлением.
9. Способ по п.7, отличающийся тем, что текучую компенсационную массу (10) вводят в промежуточное пространство под давлением.
10. Изолированный твердым электроизоляционным материалом полюс выключателя (1) для прерывания электрического тока с предусмотренным для ввода приводного движения приводным отверстием, выключателем (2), который имеет корпус выключателя (3), и с выполненной из изоляционного материала и снабженной соединительной деталью (6) оболочкой (7), в которой закреплен выключатель, причем образованное между оболочкой (7) и корпусом выключателя (3) промежуточное пространство заполнено компенсационной массой (10) так, что корпус выключателя (3) окружен по крайней мере частично компенсационной массой (10), отличающийся тем, что в снабженной соединительной деталью (6) оболочке (7) предусмотрен заливочный канал (11) для изготовления компенсационной массы (10) после монтажа выключателя (2) в снабженной соединительной деталью (6) оболочке (7).
РИСУНКИ
|
|