|
|
(21), (22) Заявка: 2005130009/06, 26.02.2004
(24) Дата начала отсчета срока действия патента:
26.02.2004
(30) Конвенционный приоритет:
26.02.2003 US 60/450,563 02.09.2003 US 60/499,453 18.01.2004 US 60/537,207
(43) Дата публикации заявки: 20.02.2006
(46) Опубликовано: 27.02.2008
(56) Список документов, цитированных в отчете о поиске:
US 5846894 А, 08.12.1998. JP 7204605 А, 08.08.1995. SU 1356856 А1, 15.08.1994. JP 09-288196 А, 04.11.1997.
(85) Дата перевода заявки PCT на национальную фазу:
26.09.2005
(86) Заявка PCT:
US 2004/005794 (26.02.2004)
(87) Публикация PCT:
WO 2004/077454 (10.09.2004)
Адрес для переписки:
103735, Москва, ул. Ильинка, 5/2, ООО “Союзпатент”, Н.Н.Высоцкой
|
(72) Автор(ы):
ВЭГ Арон С. (US), МЭЛОНИ Мартин Д. (US)
(73) Патентообладатель(и):
СиЭйч2Эм ХИЛЛ, ИНК. (US), ТЕ ЮНИВЕРСИТИ ОФ ЧИКАГО (US)
|
(54) АЛЮМИНИЕВО-ФОСФАТНАЯ КЕРАМИКА ДЛЯ ХРАНЕНИЯ ОТХОДОВ И СПОСОБ ОБРАБОТКИ ОТХОДОВ
(57) Реферат:
Настоящее изобретение описывает твердые формы отходов и способы обработки отходов. В одном из конкретных вариантов изобретение обеспечивает способ обработки отходов, который может быть пригоден, в частности, для обработки вредных (опасных) отходов. Согласно этому способу компонент отходов смешивается с оксидом алюминия и кислотным фосфатным компонентом в суспензию. Молярное отношение алюминия к фосфору в суспензии составляет больше единицы. Вода может испаряться из суспензии в процессе перемешивания суспензии при температуре примерно 140-200°С. Вымешанная суспензия может подвергаться отверждению в твердую форму отходов. Эта твердая форма отходов включает безводный фосфат алюминия, по меньшей мере, с остаточной частью компонента отходов, связанного внутри нее. Изобретение позволяет надежно и эффективно захоранивать радиоактивные отходы. 6 н. и 78 з.п. ф-лы, 3 ил.
Область техники, к которой относится изобретение
Настоящее изобретение в общем смысле относится к способам и аппарату для обработки отходов и к твердым формам отходов. Аспекты изобретения могут быть полезны, в частности, при обработке потоков радиоактивных отходов и потоков других вредных отходов с целью их последующего длительного хранения и/или захоронения.
Предшествующий уровень техники
Предложен ряд решений долгосрочного хранения и захоронения потоков различных отходов. Выбор решения для захоронения специфического типа отходов частично зависит от природы отходов. Надежное и эффективное с точки зрения затрат захоронение, например, вредных отходов представляет собой трудно решаемую проблему. Потоки таких вредных отходов могут включать один, два или более типов жидких отходов, неоднородные примеси, неорганические шламы, тяжелые металлы, органические жидкости, зараженную почву и радиоактивные побочные продукты производства ядерной энергии или ядерного оружия. (В контексте настоящего описания термин “вредные отходы” может включать ядерные материалы, которые могут не классифицироваться как “вредные отходы” по соответствующим законам или положениям на уровне штатов, федеральном уровне или местном уровне). Обработка высокоактивных отходов также связана со значительньми трудностями.
Одним из предложенных подходов к долгосрочной стабилизации и хранению вредных отходов, в частности радиоактивных отходов, является остекловывание. К сожалению, остекловывание требует обработки при очень высоких температурах. Например, патент США №6258994 предлагает проводить остекловывание отходов, включая радиоактивные отходы, примерно при 1050-1250°С и утверждает, что обычно процессы остекловывания имеют место, например, при 1400°С. Нагревание отходов до таких высоких температур является довольно дорогостоящим. Многие потоки вредных отходов содержат опасные материалы, которые улетучиваются при “летучих” температурах намного ниже 1000°С. Некоторые вредные компоненты, например, радиоактивных отходов имеют низкие “летучие” температуры порядка 200°С, а хлорид ртути улетучивается примерно при 200-225°С. Вследствие этого остекловывание отходов, содержащих хлорид ртути или другие материалы, улетучивающиеся при низких температурах, генерирует вторичные потоки вредных отходов, требующие дальнейшей обработки.
Предложены также иммобилизация или стабилизация вредных отходов в керамике, образование которой может происходить при пониженных температурах. Международная публикация WO 92/15536 (включенная в полном объеме в перечень ссылок к настоящей заявке), например, предлагает проводить иммобилизацию вредных отходов в гидратированном цементе. Ряд продуктов из фосфатной керамики с химически связанньми фосфатами (СВРС) использовался для стабилизации вредных отходов. Например, патенты США №№5645518 и 5846894 и опубликованная заявка на патент США 2003/0092554 (каждый из этих материалов включен в полном объеме в перечень ссылок к настоящей заявке) предлагают различные СВРС композиции, пригодные для низкотемпературной обработки отходов. Традиционные СВРС, предлагаемые для обработки отходов, обычно представляют собой гидратированные керамические материалы, такие как гексагидрат магниево-калиевого фосфата (MgKPO4·6Н2О) или невберриит (MgHPO4·3Н2O).
Исследования подтвердили, что гидратированные цементы и СВРС вполне пригодны для обработки широкого спектра потоков отходов. К сожалению, было доказано, что применение обычных цементов и СВРС для стабилизации радиоактивных отходов, в частности высокоактивных отходов, весьма проблематично. Радиоактивные отходы обычно испускают -лучи и -, – и n-частицы, которые могут расщеплять связанную воду в гидратированных цементах и СВРС в процессе, называемом радиолизом, с образованием водородсодержащего газа. Этот газ вызывает рост давления в контейнерах для хранения или в других формах отходов, что может стать причиной разрушения контейнеров или форм отходов и проникновения внутрь влаги из воздуха, грунтовых вод или других элементов. В таких условиях вода может отражать ядерную радиацию, увеличивая шанс того, что высокоактивные отходы могут “перейти в критическое состояние”, если искусственно не поддерживать низкую загрузку отходов.
Значительный объем и масса конечной формы отходов также являются недостатками форм хранения отходов в композициях СВРС и гидратированного цемента. Если поток отходов является сухим или представляет собой жидкие отходы с относительно низким влагосодержанием, то для формирования керамической матрицы может добавляться дополнительная вода. Это увеличивает как объем, так и массу конечной формы отходов. Даже в случае жидких отходов с достаточным влагосодержанием вода, химически связанная в системе, может значительно увеличить общую массу: вода может составлять, например, свыше 40% молекулярной массы гексагидрата. магниево-калиевого фосфата. Дополнительные масса и объем могут увеличить и без того высокие затраты на хранение и захоронение радиоактивных отходов.
Краткое описание фигур
На фиг.1 схематически изображен аппарат для обработки отходов в соответствии с одним из вариантов изобретения.
На фиг.2 схематически изображена система получения кислого фосфата в соответствии с другим вариантом изобретения.
На фиг.3 схематически изображена твердая форма отходов в соответствии со следующим вариантом изобретения.
Подробное описание изобретения
А. Обзор
Различные варианты осуществления настоящего изобретения обеспечивают твердые формы отходов и способы обработки отходов. Ниже обсуждаются аспекты изобретения со ссылкой на фигуры 1-3 в целях более подробного раскрытия конкретных вариантов. Однако квалифицированному специалисту в данной области должно быть понятно, что возможны и другие дополнительные варианты или что практическое осуществление изобретения может реализоваться без некоторых деталей вариантов, представленных на фигурах 1-3.
Один из вариантов изобретения обеспечивает способ обработки отходов, который включает смешивание компонента отходов с оксидом алюминия и кислотным фосфатным компонентом с получением суспензии, содержащей воду. Компонент отходов может содержать вредные отходы, а молярное отношение алюминия к фосфору в суспензии может быть больше единицы. Вода в суспензии может испаряться в процессе перемешивания суспензии при функциональной температуре примерно 140-200°С. По окончании перемешивания суспензия может подвергаться отверждению в твердую форму отходов, содержащую безводный фосфат алюминия с остаточной порцией компонента отходов, связанного в нем.
Способ производства стабильной формы отходов в альтернативном варианте включает реагирование оксида алюминия с кислотным фосфатным компонентом с получением первой суспензии. Первая суспензия, по меньшей мере, частично высушивается при первой температуре с получением предшественника фосфата. Предшественник фосфата и отходы смешиваются во вторую суспензию при второй температуре примерно 106-175°С при одновременном испарении воды из второй суспензии. После того как, по меньшей мере, большая часть воды испарится из второй суспензии, вымешанная вторая суспензия может подвергаться отверждению в твердую форму отходов. Твердая форма отходов включает оставшуюся часть оксида алюминия, распределенного в матрице, содержащей безводный фосфат алюминия и, по меньшей мере, часть отходов.
Другой вариант изобретения обеспечивает способ производства стабильной формы отходов меньшего объема из радиоактивного материала. В соответствии с этим вариантом радиоактивный материал смешивается с оксидом алюминия и кислым фосфатом с образованием суспензии. Молярное отношение алюминия к фосфору в суспензии составляет примерно от 2 до 5, а оксид алюминия может включать водный оксид алюминия, безводный оксид алюминия или гидроксид алюминия. Суспензия может нагреваться до первой температуры, которая не превышает примерно 200°С, но, по меньшей мере, равна температуре растворения оксида алюминия с кислым фосфатом. В процессе вымешивания суспензии вода испаряется из суспензии при второй температуре примерно 140-175°С до тех пор, пока не испарится большая часть воды. После испарения воды оставшийся продукт может подвергаться отверждению в твердую форму отходов, включающую частицы оксида алюминия и, по меньшей мере, часть радиоактивных отходов в матрице, состоящей в основном из безводного фосфата алюминия.
Твердая форма отходов согласно еще одному варианту включает матрицу, содержащую в основном безводный фосфат алюминия и фосфат тяжелого металла. Радиоактивный материал и частицы оксида алюминия распределяются в матрице.
Чтобы лучше понять изобретение, авторы разбили приведенное ниже обсуждение на три части. В первой части обсуждается аппарат для обработки отходов согласно выборочным вариантам изобретения. Во второй части обсуждаются способы в соответствии с другими аспектами изобретения. В третьей части обсуждаются аспекты твердых форм отходов в соответствии с другими вариантами изобретения.
Б. Аппарат для обработки отходов
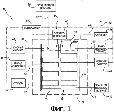
Выборочные варианты осуществления настоящего изобретения обеспечивают системы обработки отходов, пригодные для использования с широким спектром потоков отходов. Фигура 1 дает схематическое изображение системы обработки отходов 10 согласно одному из предпочтительных вариантов изобретения. Система обработки отходов 10 включает резервуар для обработки отходов 20, имеющий стенки 22, ограничивающие внутреннее пространство 24 резервуара. Резервуар 20 может быть открытого типа, как показано, или закрытого типа. В одном из вариантов резервуар для обработки отходов 20 представляет собой обычный танк для хранения такого типа, который повсеместно используется в настоящее время для хранения некоторых жидких отходов, например жидких радиоактивных отходов. В зависимости от природы обрабатываемых отходов может стать выгодным вплоть до эффективного размещение резервуара для обработки отходов 20 внутри “перчаточного бокса” 12 или аналогичного закрытого устройства в целях ограничения распространения радиоактивного материала или других вредных компонентов отходов.
Кислый фосфат может подаваться во внутреннее пространство 24 резервуара из системы снабжения фосфатом 40 по трубопроводу подачи фосфата 42. Оксид алюминия может подаваться во внутреннее пространство 24 резервуара из системы снабжения оксидом алюминия 46 по трубопроводу подачи оксида алюминия 48. Отходы из системы поступления отходов 50 могут подаваться по трубопроводу подачи отходов 52 во внутреннее пространство 24 резервуара. В выборочных вариантах система обработки отходов 10 включает систему снабжения предшественником СВРС 90, например, источник оксида магния (MgO). Предшественник может подаваться во внутреннее пространство 24 резервуара по трубопроводу подачи СВРС 92. При необходимости во внутреннее пространство 24 резервуара может подаваться вода из системы снабжения водой 56 по трубопроводу подачи воды 58.
Система смешивания 30 может использоваться для смешения материалов, поступающих во внутреннее пространство 24 резервуара. Система смешивания 30 на фигуре 1 включает электродвигатель 32, который может размещаться вне перчаточного бокса 12 в целях ограничения загрязнения, подключенный к мешалке 35 с помощью разъемного сцепления 34. Мешалка 35 на фигуре 1 схематически изображена в виде ряда расходящихся в боковые стороны лопастей, но так показано только в целях иллюстрации, поскольку могут использоваться мешалки любой формы. Сцепление 34 может закрепляться с возможностью выборочного зацепления с валом мешалки 35 для вращения электродвигателем 32 и в то же время с возможностью быстрого отсоединения мешалки 35 от электродвигателя 32. Например, сцепление 34 может обеспечить шпоночное соединение между мешалкой 35 и электродвигателем 32, что позволит выборочно подсоединять или отсоединять мешалку 35 от электродвигателя 32 осевым движением. В других вариантах система смешивания 30, показанная на фигуре 1, может быть заменена любой из большого числа систем, которые способны эффективно смешивать материалы, поступающие во внутреннее пространство 24 резервуара.
Система обработки отходов 10 может также включать терморегулятор 60, оперативно связанный с перчаточным боксом 12 и/или резервуаром для обработки отходов 20, для контроля температуры материала во внутреннем пространстве 24 резервуара. Терморегулятор 60 может, например, включать водяную рубашку для циркуляции горячей или холодной жидкости вокруг резервуара 20. В альтернативном варианте терморегулятор 60 может включать источник микроволн или ряд панелей инфракрасного нагрева, смонтированных таким образом, чтобы излучение было направлено прямо на и/или в резервуар 20. В других вариантах терморегулятор 60 не используется. Он может быть полезен в том случае, если реакция в резервуаре является достаточно экзотермической для нагревания содержимого до требуемой температуры.
Как объясняется более подробно ниже, в процессе обработки вода может испаряться из содержимого внутреннего пространства 24 резервуара. Если этого требует природа отходов в системе поступления отходов 50, то водяной пар и любой другой газ из перчаточного бокса 12 может направляться в скруббер 64 по газопроводу 66. После очистки в скруббере 64 с удалением вредных летучих материалов газ может отводиться в атмосферу по вентиляционному трубопроводу 68.
В некоторых вариантах изобретения, подробно обсуждаемых ниже, обработанные отходы подвергаются отверждению в резервуаре 20. В других вариантах может быть предпочтительным удаление смешанных компонентов из резервуара 20 еще до их отверждения, например, в непрерывном режиме, а не в периодическом. В таком варианте содержимое резервуара 20 может подаваться в резервуар для хранения 70 через выходное отверстие 72.
Контроллер 80 может использоваться для контроля работы системы обработки отходов 10. Контроллер 80 может быть оперативно связан с одной или более системой смешивания 30, терморегулятором 60, системой снабжения фосфатом 40 или трубопроводом подачи 42, системой снабжения оксидом алюминия 46 или трубопроводом подачи 48, системой поступления отходов 50 или трубопроводом подачи 52, системой снабжения СВРС предшественником 90 или трубопроводом подачи СВРС 92 и с системой снабжения водой 56 или трубопроводом подачи воды 58. В одном из вариантов контроллер 80 включает, по меньшей мере, один компьютер с программньм процессором, запрограммированным на контроль операций с указанными компонентами для обработки отходов в системе поступления отходов 50.
Оксид алюминия и система снабжения оксидом алюминия 46 может включать любой из множества видов оксидов алюминия. Пригодные для данной цели оксиды алюминия включают (но их перечень не ограничивается только названными здесь) безводные оксиды алюминия (например, корунд формулой Al2O3), водные оксиды алюминия (например, гиббсит (Al2О3·3Н2О) или бемит (Al2О3·Н2О)) и гидроксид алюминия (Al(ОН)3). Оксиды алюминия могут использоваться в относительно чистой форме или как компоненты соответствующих минералов, например, боксита или каолина. Установлено, что алюмосиликаты не способны реагировать с кислыми фосфатами, даже с концентрированной фосфорной кислотой, при релевантных температурах с образованием алюминиево-фосфатной керамики согласно вариантам настоящего изобретения. Присутствие алюмосиликатов в конечной форме отходов вряд ли будет иметь какие-то неблагоприятные последствия. Тем не менее, при определении количества оксида алюминия, которое требуется добавить из системы снабжения оксидом алюминия 46, следует учитывать только количество оксидов алюминия не алюмосиликатного происхождения в системе снабжения оксидом алюминия 46.
Система снабжения фосфатом 40 может включать любой кислый фосфат, т.е. способный реагировать с оксидом алюминия в системе снабжения оксидом алюминия 46 с образованием твердой формы отходов согласно аспектам изобретения, обсуждаемым ниже. При необходимости кислый фосфат может также обладать соответствующей способностью к реакции с предшественником СВРС в системе снабжения СВРС предшественником 90. Примеры пригодных для данной цели кислых фосфатов включают (но их перечень не ограничивается только названными здесь) Н3РO4 (фосфорная кислота) и фосфатные соли, такие как фосфатные соли одновалентных металлов (например, К, Na, Li или Rb). Образование таких солей и их применение в различных СВРС обсуждаются в патентах США №№5830815 и 6153809, включенных в полном объеме в перечень ссылок к настоящей заявке.
Фосфорную кислоту с трудом можно безопасно обрабатывать, особенно если обработка отходов должна проводиться в перчаточном боксе 12 или в подобном оградительном устройстве. Фосфаты одновалентных металлов могут иметь кристаллическую форму, которая может облегчить процесс обработки. Однако в другом варианте кислый фосфат в системе снабжения фосфатами 40 включает и может состоять только из гидрофосфата алюминия, например, AlH3(PO4)2·Н2O, AlH3(PO4)2·3Н2O, и, необязательно, дополнительного оксида алюминия.
Отходы в системе поступления отходов 50 могут представлять собой любые отходы из широкого спектра потенциально проблематичных в обработке потоков отходов, например, потоки отходов (специфические или смешанные), включающие один или более видов вредных отходов, промышленных отходов, не относящихся к категории вредных, и химических отходов, не относящихся к категории вредных, которые могут оказывать существенное воздействие на окружающую среду (например, при избыточном содержании нитратов или многих органических химикатов). Аспекты изобретения особенно пригодны для обработки вредных отходов. В контексте описания термин “вредные отходы” или “опасные отходы” включает материал, который может классифицироваться или не классифицироваться как подпадающий под действие законов и положений, например, FERC или CERCLA. Следовательно, термин “вредные отходы” включает, но не ограничивается только названными здесь, высокоактивные отходы, трансурановые (TRU) отходы, низкоактивные отходы, отходы атомного деления, ядерные материалы (например, уран, плутоний и другие, относящиеся к категории ядерного оружия, или чрезвычайно опасные радиоактивные или пирофорные металлы), побочные продукты ядерных процессов, тяжелые металлы, пирофорные металлы, которые не являются ядерными материалами, и токсичные органические материалы (например, РСВ или некоторые пестициды). Термин “вредные отходы” в контексте описания включает (если нет ссылки на другое его значение) как потоки относительно специфических отходов, например, многие высокоактивные отходы, так и смешанные потоки отходов, которые могут содержать материалы, которые не классифицируются как вредные, например, загрязненную почву. Предполагается также, что варианты изобретения могут использоваться для обработки вредных отходов, которые представляют собой твердые вредные отходы, полутвердые вредные отходы (например, шлам) или жидкие вредные отходы, которые могут включать воду, кислоты, масла или органические растворители, например. В одном частном примере вредные отходы содержат ядерные материалы, которые представляют собой твердые отходы/порошки, загрязненные галогенированными солями.
Как отмечалось выше, кислый фосфат в системе снабжения фосфатом 40 может включать гидрофосфат алюминия. Фигура 2 схематически изображает систему получения фосфата 100 согласно одному из вариантов изобретения, которая может быть пригодна для получения композиций гидрофосфата алюминия. Указанная система получения фосфата 100 включает емкость для получения фосфата 110 с внутренним пространством 112. Емкость для получения фосфата 110 может быть открытого типа, что позволяет газам (например, водяному пару) выходить из емкости 110; в представленном варианте емкость 110 является емкостью закрытого типа. Мешалка 120 для смешивания реагирующих компонентов, подаваемых в емкость 110, может размещаться в любом, пригодном для этого месте во внутреннем пространстве 112 емкости. Кислый фосфат может поступать в емкость 110 из системы снабжения фосфатом 130 по трубопроводу подачи 132. Оксид алюминия из системы снабжения оксидом алюминия 136 может поступать во внутреннее пространство 112 емкости по трубопроводу подачи 138. При необходимости к содержимому емкости для получения фосфата 110 может добавляться вода из системы снабжения водой 154 по трубопроводу подачи 156.
Как объясняется ниже, может быть выгодным получать гидрофосфат алюминия в системе получения фосфата 100 при температуре 100°С или ниже. Терморегулятор 150 может быть оперативно связан с емкостью для получения фосфата 110 с тем, чтобы контролировать соответствующим образом температуру реагирующих компонентов во внутреннем пространстве 112 резервуара. Указанный терморегулятор 150 может быть приспособлен для контроля нагревания и/или охлаждения содержимого резервуара 110. Если емкость для получения фосфата 110 закрытого типа, как показано, то давление во внутреннем пространстве 112 резервуара может регулироваться и/или контролироваться контроллером давления 140. Водяной пар и другие газы из внутреннего пространства 112 резервуара могут отводиться, например, в атмосферу по вентиляционному трубопроводу 142. В вентиляционном трубопроводе 142 может быть смонтирован избирательно регулируемый вентиляционный клапан 144. Вентиляционный клапан 144 может управляться непосредственно контроллером давления 140 или, в случае необходимости, может быть связан напрямую с контроллером 160. Контроллер 160 в таком варианте может быть аналогичен контроллеру 80, описанному выше.
Если получение гидрофосфата алюминия осуществляется в системе получения фосфата 100 в периодическом режиме, то емкость для получения фосфата 110 может опорожняться по окончании периодического цикла, например, путем ее открывания. В целях облегчения опорожнения или в системах непрерывного действия готовая композиция гидрофосфата алюминия может отгружаться из внутреннего пространства 112 резервуара через выходящий трубопровод 172. Выходной клапан 174 может быть вмонтирован в выходящий трубопровод 172 для избирательного открывания или перекрывания указанного трубопровода 172. В показательном варианте продукт, отгружающийся по выходящему трубопроводу 172, поступает на хранение 170. В других вариантах по выходящему трубопроводу 172 может осуществляться подача композиции гидрофосфата алюминия непосредственно в систему обработки отходов 10 фигуры 1. Например, выходящий трубопровод 172 системы получения фосфата 100 может функционировать как трубопровод подачи кислого фосфата 42 в систему обработки отходов 10.
Оксиды алюминия, пригодные для системы снабжения оксидом алюминия 136, включают перечисленные выше как наиболее пригодные для системы снабжения оксидом алюминия 46 в системе обработки отходов 10 (фигура 1). Равным образом, кислые фосфаты, пригодные для системы снабжения фосфатом 130, могут быть идентичны кислым фосфатам, обсуждавшимся выше в связи с системой снабжения фосфатом 40 в системе обработки отходов 10 (фигура 1). В одном из предпочтительных вариантов кислый фосфат в системе снабжения фосфатом 130 включает фосфорную кислоту. Фосфорная кислота обычно реализуется не в чистом виде, а в разбавленном водой виде, например в водном растворе, содержащем не более 85% масс. фосфорной кислоты. В вариантах с применением фосфатных солей может быть предпочтительным добавление воды из системы снабжения водой 154 к партии материалов во внутреннем пространстве 112 резервуара.
Как объясняется более подробно ниже, композиции гидрофосфата алюминия, получаемые в системе получения фосфатов 100, могут обеспечивать все необходимое количество кислых фосфатов и оксида алюминия для обработки отходов в системе обработки отходов (фигура 1). В таком варианте система снабжения фосфатом 40 и система снабжения оксидом алюминия 46 в системе обработки отходов 10 могут быть объединены в единую систему снабжения, содержимое которой можно будет получать в системе получения фосфатов 100 фигуры 2.
В. Способы обработки отходов
Другие варианты изобретения обеспечивают способы обработки отходов, например, вредных отходов. В нижеследующем обсуждении этих способов ссылка делается на систему обработки отходов 10, показанную на фигуре 1, и систему получения фосфатов 100, показанную на фигуре 2. Само собой разумеется, что это только в целях иллюстрации изобретения и что нижеследующие способы не ограничиваются применением конкретных структур или систем, показанных на фигурах или обсуждавшихся выше.
В соответствии с одним из вариантов изобретения кислый фосфат из системы снабжения фосфатом 40, оксид алюминия из системы снабжения оксидом алюминия 46, отходы из системы поступления отходов 50 и вода, необязательно, из системы снабжения водой 56 могут добавляться в резервуар для обработки отходов 20 фигуры 1. Указанные материалы могут смешиваться с помощью системы смешивания 30 с образованием суспензии, например водной суспензии.
Относительное количество кислого фосфата, оксида алюминия и отходов, добавляемых в резервуар для обработки отходов 20, будет зависеть, по меньшей мере, частично от природы самих материалов. Например, можно добавить больше жидких отходов с высоким влагосодержанием, чем в том случае, когда отходы представляют собой сухие отходы или имеют пониженное влагосодержание. В альтернативном варианте отходы, содержащие оксид алюминия, могут потребовать добавления меньшего количества оксида. Предполагается, что загрузка отходов (т.е. относительное количество отходов в конечной твердой форме отходов) порядка примерно 85% масс. (в пересчете на сухую массу) может работать в случае многих типов отходов. В случае отходов, из которых, как предполагается, выщелачиваются вредные материалы (например, тяжелые металлы), снижение загрузки отходов может быть более приемлемым. Например, предполагается, что загрузка некоторых потоков отходов, несущих тяжелые металлы, может составлять 70% масс. конечной твердой формы отходов.
В некоторых вариантах алюминий и фосфор могут присутствовать в суспензии в любом соотношении, например, равном единице или меньше единицы. Установлено, однако, что во многих сферах использования предпочтительным может быть молярное отношение алюминия к фосфору в суспензии больше единицы. Как объясняется ниже, выборочные варианты, использующие указанное отношение, могут давать твердые формы отходов, включающие частицы оксида алюминия, распределенные в безводном фосфате алюминия, что может улучшить механические свойства твердой формы отходов. Однако, если отношение Al:Р слишком высокое, то это может чрезмерно снизить производительность системы по загрузке отходов в конечную твердую форму отходов. Следовательно, молярные отношения Al:Р больше единицы, но не более пяти, могут быть более приемлемыми. В выборочных вариантах отношение Al:Р, равное, по меньшей мере, примерно двум, например, примерно 2-5, с диапазоном примерно 2-3, может дать, как ожидается, удовлетворительные результаты без чрезмерного увеличения массы твердой формы отходов. Как отмечалось выше, алюмосиликаты в недостаточной мере реагируют с кислыми фосфатами с образованием безводного фосфата алюминия в соответствии с вариантами изобретения. Поэтому в вариантах изобретения, которые включают алюмосиликаты в суспензию (или из системы снабжения оксидом алюминия 46, или из другого источника), отношение Al:Р может быть больше 5, но более приемлемым может служить отношение Al:Р, исключающее алюмосиликаты и не превышающее примерно 5.
Как отмечалось выше, варианты изобретения обеспечивают твердые формы отходов, содержащие безводные фосфаты алюминия. Даже если в компонентах, добавляемых в резервуар для обработки отходов 20, присутствует относительно немного воды, то вода может генерироваться или высвобождаться в ходе реакции между кислым фосфатом и оксидом алюминия. Например, если оксид алюминия представляет собой гидратированный оксид алюминия, например гиббсит, то может высвобождаться вода, связанная в оксиде алюминия. Даже если оксид алюминия в системе снабжения оксидом алюминия 46 является безводным (например, корунд), то вода может генерироваться реакцией с кислотным фосфатным компонентом. Например, в большинстве случаев оксид алюминия может реагировать с фосфорной кислотой в соответствии со следующим уравнением:
Al2O3+2Н3PO4 2AlPO4+3Н2O.
В вариантах изобретения, в которых матрица формируется из безводного фосфата алюминия, этот водный побочный продукт может испаряться из резервуара для обработки отходов 20. В конкретной системе обработки отходов 10, показанной на фигуре 1, этот водяной пар может отводиться из перчаточного бокса 12 по вентиляционному газопроводу 66.
Температура реагирующих компонентов в резервуаре для обработки отходов 20 может контролироваться терморегулятором 60 с целью инициирования испарения избыточной воды в измеряемом режиме и контроля природы конечного продукта реакции. Если перемешивать эту суспензию примерно при комнатной температуре, как это обычно делается в большинстве систем хранения СВРС отходов, известных из уровня техники, то реакция между оксидом алюминия и кислым фосфатом даст гидрофосфат алюминия, например, AlH3(PO4)2·Н2О и AlH3(PO4)2·3Н2О. Вода, связанная в гидрофосфате, может расщепляться радиолизом с генерированием водородсодержащего газа. Во избежание генерирования водорода в конечной форме отходов реакция между оксидом алюминия и фосфатом алюминия должна проводиться при повышенной температуре, равной, по меньшей мере, примерно 100°С. Как отмечалось выше, некоторые компоненты потоков вредных отходов, например, HgCl начинают улетучиваться примерно при 200°С. Для ограничения их улетучивания в некоторых вариантах изобретения реакция между оксидом алюминия и кислым фосфатом проводится при температуре примерно 100-200°С.
Предполагается, что при наличии, по меньшей мере, некоторого количества воды в системе реакция между оксидом алюминия и кислым фосфатом будет прогрессировать. В частности, в случае потоков отходов с относительно низким влагосодержанием температуры, которые являются чрезмерно высокими, могут способствовать испарению всей воды еще до того, как оксид алюминия и кислый фосфат получат адекватную возможность для реакции с образованием прочной матрицы. Таким образом, в некоторых вариантах изобретения температура реагирующих компонентов составляет не выше примерно 175°С, например, не выше примерно 160°С. В одном из предпочтительных вариантов температура составляет примерно от 100°С до 150°С.
Температура, при которой растворимость оксида алюминия в фосфорной кислоте (которая может использоваться в качестве кислого фосфата) достигает максимума, может зависеть от природы оксида алюминия. Например, корунд достигает максимальной растворимости в фосфорной кислоте примерно при 106°С. Бемит достигает максимальной растворимости примерно при 126°С, гидроксид алюминия достигает максимальной растворимости примерно при 133°С, а гиббсит достигает максимальной растворимости примерно при 170°С. Таким образом, в некоторых вариантах изобретения, главным образом в тех, в которых в качестве кислого фосфата используется фосфорная кислота, температура реагирующих компонентов, по меньшей мере, идентична температуре растворения оксида алюминия, которую можно определить как температуру, при которой оксид алюминия достигает или почти достигает своей максимальной растворимости. Например, если оксид алюминия представляет собой корунд, то температура суспензии в резервуаре для обработки отходов 20 может быть примерно 106-200°С. Температуры примерно 130-200°С, предпочтительно – примерно 140-200°С, например, примерно 140-160°С, должны быть приемлемыми для многих оксидов алюминия. В выборочных вариантах процесс идет при температурах примерно 145-155°С.
Некоторые вредные отходы включают тяжелые металлы, например, свинец, цезий или технеций, которые растворяются в воде. Большинство этих тяжелых металлов реагирует с кислым фосфатом с образованием фосфата металла, который практически не растворяется в воде. Это может значительно уменьшить вероятность выщелачивания тяжелых металлов обрабатываемых отходов из конечной твердой формы отходов. Если содержание тяжелых металлов в обрабатываемых отходах достаточно высокое, то предполагается, что в этом случае предпочтительно, чтобы реакция кислого фосфата в суспензии с тяжелыми металлами с образованием нерастворимых фосфатов проводилась при пониженной температуре в водной суспензии, которая будет способствовать протеканию реакции путем удержания металлов в растворе. После этого температура может повышаться с целью инициирования образования безводного фосфата алюминия и испарения воды из суспензии.
В одном из показательных вариантов обработки отходов, включающих компонент тяжелого металла, суспензия может перемешиваться при температуре ниже 100°С, например, в пределах от комнатной температуры до 100°С, в течение, по меньшей мере, десяти минут еще до нагревания суспензии до температуры выше 100°С, как описано выше. Предполагается, что времени порядка примерно 10-15 минут будет достаточно для многих потоков отходов. Если потребуется, то компоненты могут смешиваться в суспензию примерно при комнатной температуре, а терморегулятор 60 может использоваться для постепенного доведения температуры, например, до ниже 100°С в течение 10-15 минут.
Конкретная система обработки отходов 10, показанная на фигуре 1, включает систему снабжения СВРС предшественником 90, приспособленную для подачи СВРС предшественника во внутреннее пространство 24 резервуара 20 по трубопроводу подачи СВРС 92. В некоторых вариантах, которые особенно пригодны для использования с некоторыми высококислотными отходами, СВРС предшественник включает оксид металла, который способен реагировать с кислым фосфатом с образованием СВРС, но может также адаптироваться к реакции с другими кислотными компонентами в отходах. В одном из частных вариантов осуществления изобретения СВРС предшественник включает MgO, который адаптируется к реакции с кислыми фосфатами, как объясняется выше, а также к реакции с нитратами (NO3 –) с образованием Mg(NO3)2, который хуже растворяется, чем вода во многих других нитратах. Образованию Mg(NO3)2 может способствовать добавление СВРС предшественника к отходам во внутреннем пространстве 24 резервуара еще до добавления оксида алюминия или кислого фосфата в резервуар 20. Что ускорить эту реакцию, можно использовать мешалку 30 для перемешивания суспензии в течение периода времени, например, 10-15 минут, что позволит MgO или другому СВРС предшественнику реагировать с нитратами в отходах.
Добавление СВРС предшественника из системы снабжения СВРС предшественником 90 может быть предпочтительным также и в случае некоторых высокощелочных отходов. Например, некоторые радиоактивные отходы включают высокий уровень нитратов (например, от применения азотной кислоты для обработки отработанного топлива) и натрия (например, добавление NaOH для нейтрализации азотной кислоты с образованием высокощелочных отходов). В таком варианте добавление СВРС предшественника, но только не оксида алюминия, может способствовать связыванию и натрия, и нитратных компонентов отходов, что более подробно объясняется ниже. В таких вариантах использования может быть предпочтительным смешивание СВРС предшественника, например, MgO и, по меньшей мере, части кислого фосфата с отходами еще до добавления оксида алюминия. Как и в предшествующем варианте, мешалка 30 может использоваться для перемешивания конечного продукта. Это обеспечит продолжительность реакции СВРС предшественника, например, 10-15 минут, после чего может добавляться оксид алюминия и остальное количество кислого фосфата.
Система смешивания 30 может продолжать перемешивание суспензии по мере испарения воды из смеси реагирующих компонентов в резервуаре 20. В дополнение к поддержанию хорошего смешения компонентов продолжение перемешивания поможет высвободить водяной пар из суспензии. Это, в свою очередь, сократит число пустот в твердой форме отходов и, тем самым, увеличит ее прочность и снизит ее объем. В одном из вариантов изобретения объем пор в конечной твердой форме отходов, т.е. общий объем внутренних пустот, составляет не более примерно 5% от объема твердой формы отходов. В одном из частных вариантов объем пор составляет не более примерно 3% об., причем для многих случаев применения особенно предпочтительным считается объем пор не более примерно 1% об.
По мере протекания реакции и испарения воды становится все более трудно приводить в действие мешалку 35. В выборочных вариантах изобретения система смешивания 30 прекращает перемешивание суспензии, когда суспензия достигнет конечной консистенции. Эта конечная консистенция может определяться целым рядом методов. В одном из вариантов она может определяться путем регулирования усилия, требуемого для приведения в действие мешалки 35 электродвигателем 32; как только необходимое движущее усилие достигнет заданного предела, контроллер 80 может отключить электродвигатель 32, что приведет к отключению мешалки 35. Если потребуется, то мешалка 35 может затем демонтироваться из резервуара-реактора 20 и использоваться повторно в следующем резервуаре-реакторе. Однако в одном из частных вариантов изобретения мешалка 35 может оставаться в суспензии по мере ее отверждения в конечную твердую форму отходов (обсуждается ниже со ссылкой на фигуру 3). Разъемное сцепление 34 между мешалкой 35 и электродвигателем 32 облегчит отсоединение твердой формы отходов, включая мешалку 35, от электродвигателя 32. После этого к электродвигателю 32 может подсоединяться новая мешалка 35 для обработки следующей партии отходов.
По окончании перемешивания реагирующие компоненты в суспензии можно подвергнуть отверждению в твердую форму отходов. Для улучшения однородности твердой формы отходов суспензия при достижении своей конечной консистенции должна быть достаточно вязкой во избежание нежелательного осаждения компонентов суспензии.
Как объяснялось выше со ссылкой на фигуру 2, в некоторых вариантах изобретения в качестве кислого фосфата в системе снабжения кислым фосфатом 40 в системе обработки отходов 10 (фигура 1) может использоваться композиция гидрофосфата алюминия. В соответствии с одним из таких вариантов, по меньшей мере, часть требуемого оксида алюминия суспензии в резервуаре для обработки отходов 20 может комбинироваться с кислотным фосфатным компонентом в суспензию предшественника фосфата. Например, оксид алюминия из системы снабжения оксидом алюминия 136 и кислый фосфат из системы снабжения кислым фосфатом 130 могут добавляться в емкость для получения фосфатов 110 системы получения фосфатов 100 (фигура 2). Эта суспензия может перемешиваться с помощью мешалки 120 до достижения ее однородности.
При необходимости конечная суспензия, которая содержит гидрофосфат алюминия, может использоваться в системе снабжения кислым фосфатом 40 системы обработки отходов 10 фигуры 1. В других вариантах суспензия в емкости для получения фосфатов 110 (фигура 2) высушивается, по меньшей мере, частично с получением предшественника кислого фосфата, который может быть более концентрированным и/или более легким в обработке. В одном из частных вариантов суспензия предшественника фосфата подвергается достаточной сушке до образования пасты или лепешки, которая включает гидрофосфат алюминия. В другом частном варианте суспензия предшественника фосфата высушивается почти полностью с получением порошкообразного предшественника фосфата. Хранение таких паст и порошков значительно облегчается и их легко можно использовать позднее в обработке отходов.
Как отмечалось выше, в некоторых вариантах кислый фосфат и оксид алюминия реагируют при повышенной температуре, например 130-200°С, с образованием безводных фосфатов алюминия. Для снижения процентного содержания безводных фосфатов алюминия в предшественнике фосфата суспензия предшественника фосфата может подвергаться сушке при температуре не выше примерно 130°С, например при или ниже 100°С. В одном из частных вариантов оксид алюминия и кислый фосфат добавляются в емкость для получения фосфата 110 примерно при комнатной температуре. Реакция с образованием гидрофосфата алюминия является экзотермической реакцией и может повышать температуру суспензии. При необходимости может использоваться терморегулятор 150 для поддержания суспензии при температуре не выше примерно 130°С в течение большей части или всего времени реакции.
Как отмечалось выше, желательно, чтобы молярное отношение алюминия к фосфору в суспензии отходов было больше единицы, например, примерно 2-5. При необходимости отношение алюминия к фосфору в композиции гидрофосфата алюминия Al:Р может поддерживаться таким же, какое требуется на стадии обработки отходов. В таком варианте композиция гидрофосфата алюминия включает как гидрофосфат алюминия, так и избыточное количество оксида алюминия. Предполагается, что процесс образования композиции гидрофосфата алюминия, которая включает значительный избыток оксида алюминия, например, при Al:Р, равном двум или более, может происходить предпочтительно в две стадии. В одном из показательных вариантов композиция гидрофосфата алюминия первой стадии, отношение Al:Р в которой составляет примерно 0,95-1,1, образуется согласно способу, описанному выше. Затем композиция гидрофосфата алюминия первой стадии может смешиваться с достаточным количеством порошка оксида алюминия для доведения отношения Al:Р до требуемого уровня. В одном из частных вариантов осуществления изобретения композиция гидрофосфата алюминия первой стадии подвергается достаточной сушке с получением пасты или порошка еще до смешивания с порошком оксида алюминия.
Таким образом, композиция гидроксида алюминия в одном из вариантов может обеспечивать и кислый фосфат, и оксид алюминия, используемые в суспензии отходов. В указанном варианте предполагается, что суспензия отходов будет содержать больше воды, чем композиция гидрофосфата алюминия. Если отходы являются жидкими отходами, включающими воду, то эту воду можно испарить из самих отходов. В противном случае, может добавляться дополнительная вода из системы снабжения водой 56 для образования приемлемой суспензии и ускорения конверсии гидрофосфата алюминия в безводный фосфат алюминия при повышенных температурах.
В других вариантах изобретения отношение Al:Р в композиции гидрофосфата алюминия меньше, чем требуемое отношение Al:Р в суспензии отходов. При необходимости отношение Al:Р может быть меньше единицы, оставляя избыток кислого фосфата в композиции гидрофосфата алюминия. В других вариантах отношение Al:Р может составлять примерно единицу, обеспечивая по существу стехиометрический баланс, который может дать композицию гидрофосфата алюминия, состоящую в основном из гидрофосфата алюминия. В других вариантах отношение Al:Р может быть больше единицы, но все же меньше, чем требуемое отношение Al:Р в суспензии отходов. Например, отношение Al:Р в композиции гидрофосфата алюминия может составлять примерно от единицы до двух, например, примерно 1-1,1, давая композицию гидрофосфата алюминия с избытком оксида алюминия.
Г. Адаптация изобретения применительно к специфическим потокам отходов
Как отмечалось ранее, некоторые варианты изобретения весьма пригодны, в частности, для долгосрочного хранения радиоактивных отходов, включая высокоактивные отходы. Даже если форма отходов может быть стабильной и проявлять минимальную степень радиолиза, готовая твердая форма отходов все равно может давать значительную радиацию. В соответствии с одним из частных вариантов к суспензии отходов могут добавляться защищающие от радиации компоненты. Например, к суспензии отходов может добавляться бор (например, в форме 10В4С) для облегчения поглощения нейтронов и блокирования гамма-излучения. К суспензии отходов могут добавляться гематит и/или магнетит, чтобы обеспечить средства для ослабления фотонов. Равным образом, к суспензии отходов может добавляться оксид висмута (III), чтобы усилить защитные (от гамма-лучей) свойства твердой формы отходов. Добавление таких компонентов к другим СВРС (например, магниево-калиевым фосфатам) в целях использования их как наружного экрана от радиации обсуждается в международной публикации РСТ WO 02/069348, которая в полном объеме включена в перечень ссылок к настоящей заявке.
В некоторых вариантах изобретения отходы могут содержать ртуть и/или хром. Для таких отходов может быть предпочтительным добавление сульфидирующего агента Na2S в количестве примерно менее 1% масс., более предпочтительно примерно не выше 0,5% масс., для конверсии металлов в их сульфиды. Такие сульфиды могут быть более стабильными и, по всей видимости, меньше будут выщелачиваться из конечной формы отходов. Равным образом, к отходам, содержащим технеций, может добавляться редуктант, например SnCl2, в количестве менее 1% масс., предпочтительно не более примерно 0,5% масс. Как указывается в патенте США №6133498 (Singh et al.; включен в полном объеме в перечень ссылок к настоящей заявке), SnCl2 или т.п. могут лимитировать выщелачивание технеция из конечной формы отходов. Предполагается также, что 0,5% масс. или менее хлорида олова могут реагировать с ртутью и/или хромом в отходах с образованием стабильного хлорида. Таким образом, может появиться возможность отказаться от применения Na2S даже в случае отходов, содержащих ртуть и/или хром. В одном из вариантов тяжелым металлам дается период времени для их реакции с сульфидирующим агентом и/или редуктантом еще до окончания конверсии оксида алюминия в фосфат алюминия. Таким образом, в одном из вариантов суспензия перемешивается при температуре не выше примерно 130°С в течение определенного периода времени, например 10-15 минут. После этого суспензия может нагреваться до более высокой температуры, например примерно 140-200°С, для ускорения образования AlPO4.
Одним из преимуществ выборочных вариантов изобретения является возможность легко обрабатывать отходы, несущие соли, щелочные отходы и кислотные отходы. Хотя несущие соли отходы могут быть особенно проблематичными в случае применения портландцементов или подобных материалов, большинство солей должно мало влиять на образование матрицы AlPO4, обсуждавшейся выше. Щелочные отходы также могут обрабатываться исключительно легко за счет простого увеличения количества кислого фосфата, добавляемого к суспензии отходов. Например, небольшое количество фосфорной кислоты может добавляться к суспензии для доведения рН суспензии до приемлемого уровня. В аналогичном варианте кислотные отходы могут эффективно нейтрализоваться до приемлемого уровня рН путем добавления дополнительных оксидов к суспензии отходов. В одном из вариантов это дополнительное количество оксида может включать дополнительное количество оксида алюминия, например, Al2О3 и/или Al(ОН)3, либо оксида магния, который, как указывается выше, облегчает обработку отходов, содержащих нитраты. Как отмечалось ранее, другие потоки отходов могут быть высокощелочными. В одном из примеров некоторое количество кислотных отходов, включающих высокие концентрации азотной кислоты, нейтрализовались и переводились в щелочную форму за счет добавления NaOH при сохранении и натрия, и нитратов в отходах.
Некоторые потоки отходов являются высококислотными. Например, потоки отходов от экстракции плутония или от обработки других ядерных материалов могут включать высокие концентрации азотной кислоты. Во многих традиционных процессах, включая процессы цементирования в обычный или пуццолановый цемент, и натрий, и нитраты сильно выщелачиваются. В тепловых процессах натрий и нитраты вызывают сильную коррозию и могут улетучиваться. Установлено, что применение, по меньшей мере, некоторых СВРС может значительно снизить выщелачивание натрия и нитратов из формы отходов. Поэтому в одном из вариантов СВРС предшественник, но не оксид алюминия, смешивается с отходами либо до добавления, либо одновременно с добавлением оксида алюминия и/или кислого фосфата к суспензии отходов. В одном их частных примеров СВРС предшественник включает кальцинированный MgO, а кислый фосфат включает монофосфат калия (КН2PO4), что может дать СВРС, который содержит гексагидрат магниево-калиевого фосфата (MgKPO4·6H2O). Как указывается в предварительной заявке США 60/450 563 (которая включена в полном объеме в перечень ссылок к настоящей заявке), MgO, как предполагается, образует СВРС, которая может способствовать эффективному связыванию и натрия, и нитратов, включая как MgNaPO4·nH2O, так и KNO3.
В другом варианте, указанном выше, СВРС предшественник включает кальцинированный MgO и добавляется еще до добавления кислого фосфата, образуя Mg(NO3)2, который показывает тенденцию к образованию мелких частиц. Эти мелкие, относительно нерастворимые частицы могут связываться внутри AlPO4 матрицы. Если MgO используется в избыточном количестве, то он может реагировать с кислым фосфатом с образованием фосфата магния.
Надежное образование твердых форм отходов из маслянистых отходов весьма проблематично в некоторых случаях применения. В соответствии с вариантами настоящего изобретения маслянистые отходы могут эффективно очищаться фосфорной кислотой, которая может действовать как детергент и расщеплять указанные отходы. Предварительное смешивание маслянистых отходов с фосфорной кислотой поможет расщепить отходы, и полученная предварительная смесь может добавляться в суспензию отходов. В альтернативном варианте к суспензии отходов может добавляться дополнительное количество кислого фосфата, преимущественно фосфорной кислоты, с целью расщепления маслянистых отходов в резервуаре для обработки отходов 20 (фигура 1). Если потребуется, то суспензия отходов в таком варианте может смешиваться в течение некоторого времени при температуре ниже 130°С, например примерно ниже 100°С, в течение некоторого времени до нагревания ее до более высокой второй температуры, например 140-175°С.
Вариант изобретения также эффективно обрабатывает отходы, несущие карбонаты. В некоторых известных процессах генерирование диоксида углерода из карбонатов может приводить к образованию нежелательных пустот в твердой форме отходов. Как отмечалось выше, перемешивание суспензии отходов согласно вариантам изобретения может способствовать испарению водяных паров из суспензии. То же перемешивание может также способствовать высвобождению генерируемого CO2 еще до отверждения твердой формы отходов.
Д. Твердые формы отходов
Суспензия отходов может подвергаться отверждению в любую, пригодную для данной цели форму. Например, суспензия отходов может выгружаться из резервуара для обработки отходов 20 через выходное отверстие 72 и заливаться в формы соответствующего размера с применением известной техники отливки.
На фигуре 3 схематически изображена твердая форма отходов 200 согласно одному из частных вариантов изобретения. Твердая форма отходов 200 служит примером твердой формы отходов, которая может быть получена с использованием системы обработки отходов 10, показанной на фигуре 1. В указанном варианте резервуар для обработки отходов 20 и мешалка 35 могут вводиться в твердую форму отходов 200. Большое число мешалок 35 может фиксироваться в твердой керамике 210, являющейся продуктом реакций, описанных выше. Объем отвержденной керамики может быть меньше общего объема суспензии отходов вследствие испарения воды из суспензии отходов. Эта вода может выходить через верхнее пространство 215 между твердой керамикой 210 и верхней кромкой резервуара для обработки отходов 20.
В случае необходимости верхнее пространство 215 может заполняться частично или полностью “чистым” материалом, таким как не содержащая отходов СВРС, органическая смола или литейный цемент, с целью ограничения воздействия керамики 210 на элементы. В альтернативном подходе верхнее пространство 215 может частично или полностью заполняться дополнительным количеством несущей отходы безводной композиции фосфата алюминия. В одном из частных вариантов дополнительное количество несущей отходы композиции фосфата алюминия может быть приготовлено в большинстве случаев, как указано выше, во втором резервуаре для обработки отходов 20 (фигура 1). Когда суспензия во втором резервуаре для обработки отходов 20 подвергается сушке до требуемого уровня, например, когда она достигнет мажущейся консистенции (подобно шпатлевке), тогда она может вводиться в верхнее пространство 215 в первом резервуаре для обработки отходов 20 (фигура 3). В одном из частных вариантов материал из второго резервуара 20 может добавляться в верхнее пространство 215 еще до полного отверждения материала в первом резервуаре 20. Это может способствовать связыванию добавляемого материала в материале, уже находящемся в резервуаре, с образованием твердой керамики 210, которая в основном и заполняет объем резервуара для обработки отходов 20.
Керамика 210 в большинстве случаев включает матрицу с заключенными в нее частицами. Матрица может включать безводный фосфат алюминия, например ортофосфат алюминия (AlPO4), с минорным количеством метафосфата алюминия (Al(РО3)3). Хотя матрица может также включать гидрофосфаты алюминия, количество гидрофосфата в матрице желательно поддерживать на относительно низком уровне или полностью удалить его. Матрица безводного фосфата алюминия может также связывать компоненты отходов в керамике 210. Например, если поток отходов включает тяжелые металлы, то матрица может связывать фосфаты тяжелых металлов. Если отходы включают вещества в форме макрочастиц, то эти макрочастицы могут распределяться в матрице в виде дискретных частиц и могут почти полностью инкапсулироваться в матрицу. Если отходы содержат радиоактивные отходы, то радиоактивные отходы обычно распределяются в матрице. В одном из вариантов компоненты отходов почти равномерно распределяются в матрице.
Как отмечалось выше, желательно, чтобы молярное отношение алюминия к фосфору в суспензии отходов составляло больше единицы. Это приводит к избытку оксида алюминия в твердой форме отходов. Обычно вначале оксид алюминия представляет собой компонент в форме макрочастиц, например, частиц оксида алюминия. Эти оксиды алюминия могут распределяться в матрице и по большей части равномерно распределяться по всей матрице. Предполагается, что эти частицы оксида алюминия внутри фосфатной матрицы улучшают механические свойства твердой керамики 210 и, следовательно, формы отходов 200.
В одном из указанных выше вариантов СВРС предшественник, но не оксид алюминия, а, например, оксид магния или другого металла, может добавляться к суспензии. В частности, если этому СВРС предшественнику дать возможность реагировать с отходами, несущими азотную кислоту, еще до добавления оксида алюминия и кислого фосфата, то можно ожидать, что указанный СВРС предшественник образует частицы нитрата металла, например, Mg(NO3)2, если СВРС включает MgO. Предполагается, что частицы будут оставаться в суспензии и, в конечном счете, в готовой форме отходов. Если щелочные отходы, включающие Na и NO3 –, обрабатываются оксидом магния и кислым фосфатом, то полученный фосфат магния может определять частицы, которые инкапсулируются в матрицу безводного фосфата алюминия в форме отходов. Исследования и характеристика СВРС на основе оксида магния все еще ведутся, но совсем недавно было высказано предположение, что, по меньшей мере, часть этой специфической СВРС принимает псевдогидроксиапатитную форму, например, MgNa(PO4)·nH2O. Если в суспензии присутствуют нитраты, то эта СВРС может быть способна также или взамен к образованию нитрированного минерала типа апатита, ранее не упоминавшегося в литературе. Таким образом, форма отходов в этом частном примере может содержать в матрице, которая включает безводный фосфат алюминия, либо один, либо сразу оба из (а) псевдогидроксиапатита, включающего магний и натрий, и (б) нитратного апатита, включающего натрий и нитрат.
В одном из частных вариантов количество добавляемого оксида магния превышает стехиометрическое количество, требуемое для реакции с нитридами и/или другими соединениями в отходах. Если к суспензии добавляется также превышающее стехиометрическое количество оксида алюминия, то конечная форма отходов может включать оксид алюминия в виде макрочастиц и оксид магния. Предполагается, что оксид магния будет реагировать с водородом в конечной форме отходов. Следовательно, если радиолиз воды генерирует водородсодержащий газ, то избыточный оксид магния может служить в качестве газопоглотителя, снижая, тем самым, отмечавшуюся выше опасность, связанную с радиолизом.
Подробно описанные выше варианты и примеры служат лишь иллюстрацией изобретения, не исчерпывающей его сущности, и квалифицированным специалистам в данной области должно быть понятно, что возможны различные эквивалентные модификации в масштабе изобретения. Например, хотя в вышеописанных вариантах стадии выполняются в заданном порядке, в альтернативных вариантах они могут осуществляться в другом порядке. Кроме того, различные варианты, описанные здесь, могут комбинироваться друг с другом для обеспечения дополнительных вариантов.
В большинстве случаев термины, применяющиеся в нижеприведенной формуле изобретения, не должны истолковываться как ограничивающие изобретение специфическими вариантами, раскрытыми в описании, если в предыдущем описании не дается точная формулировка этих терминов. Изобретатели оставляют за собой право вносить дополнительные пункты в формулу изобретения после подачи заявки с тем, чтобы подобрать дополнительные формы изложения пунктов формулы по другим аспектам изобретения.
Формула изобретения
1. Способ обработки отходов, включающий следующие стадии: смешивание компонента отходов с оксидом алюминия и кислотным фосфатным компонентом в суспензии, содержащей воду, в котором компонент отходов включает вредные отходы, при этом молярное отношение алюминия к фосфору в суспензии составляет больше единицы, выпаривание воды из суспензии при перемешивании суспензии при функциональной температуре примерно 140-200°С и отверждение вымешанной суспензии в твердую форму отходов, содержащую безводный фосфат алюминия с остаточной порцией компонента отходов, связанного в ней.
2. Способ по п.1, в котором вредные отходы включают радиоактивный материал.
3. Способ по п.1, в котором функциональная температура составляет не выше 175°С.
4. Способ по п.1, в котором функциональная температура составляет от 150 до 175°С.
5. Способ по п.1, в котором функциональная температура составляет не выше 155°С.
6. Способ по п.1, в котором безводный фосфат алюминия включает ортофосфат алюминия.
7. Способ по п.1, в котором компонент отходов содержит тяжелый металл и в котором осуществляют перемешивание суспензии при температуре не выше 130°С в течение первого периода времени до перемешивания суспензии при функциональной температуре.
8. Способ по п.1, в котором компонент отходов представляет собой компонент жидких отходов, включающий воду, а, по меньшей мере, часть воды в суспензии обеспечивается за счет компонента жидких отходов.
9. Способ по п.1, в котором кислотный фосфатный компонент включает фосфорную кислоту.
10. Способ по п.1, в котором кислотный фосфатный компонент включает гидрофосфат алюминия.
11. Способ по п.1, в котором оксид алюминия включает Al2О3.
12. Способ по п.11, в котором оксид алюминия включает безводный Al2О3.
13. Способ по п.1, в котором оксид алюминия включен в боксит или каолин.
14. Способ по п.1, в котором оксид алюминия включает гидроксид алюминия.
15. Способ по п.1, в котором молярное отношение составляет не более 5.
16. Способ по п.1, в котором молярное отношение составляет 2-5.
17. Способ по п.1, в котором молярное отношение составляет 2-3.
18. Способ обработки отходов, в котором осуществляют следующие стадии: смешивание оксида алюминия и кислотного фосфатного компонента; смешивание компонента отходов со смесью оксида алюминия и кислотного фосфатного компонента в суспензии, содержащей воду, при этом компонент отходов содержит вредные отходы, а молярное отношение Al к Р в суспензии составляет 1 или более единицы, выпаривание воды в суспензии при перемешивании суспензии при функциональной температуре от 140 до 200°С, отверждение вымешанной суспензии до твердой формы отходов, содержащей безводный фосфат алюминия с остаточной частью компонента отходов, связанного с ней.
19. Способ по п.18, в котором при смешивании оксида алюминия и кислотного фосфатного компонента алюминий реагирует с фосфорной кислотой.
20. Способ по п.18, в котором при смешивании оксида алюминия и кислотного фосфатного компонента алюминий реагирует с фосфорной кислотой в суспензии, содержащей воду и, по меньшей мере, осуществляют частичную сушку суспензии отходов при температуре не выше 130°С.
21. Способ обработки отходов, в котором осуществляют следующие стадии: смешивание оксида алюминия и кислотного фосфатного компонента, реагирование, по меньшей мере, части оксида алюминия с кислотным фосфатным компонентом в суспензии предшественника фосфата, по меньшей мере, частичную сушку суспензии предшественника фосфата с получением предшественника фосфата, включающего пасту или порошок, и,
по меньшей мере, частичную сушку суспензии предшественника фосфата, смешивание компонента отходов со смесью оксида алюминия и кислотного фосфатного компонента в суспензии, содержащей воду и в суспензии отходов, при этом компонент отходов содержит вредные примеси, а молярное отношение Al к Р в суспензии составляет единицу или более единицы, выпаривание воды из суспензии при перемешивании суспензии при функциональной температуре от 140 до 200°С, отверждение вымешанной суспензии в твердую форму отходов, содержащую безводный фосфат алюминия с остаточной порцией компонента отходов, связанного с ней, причем суспензия отходов имеет воды больше чем предшественник фосфата до начала выпаривания воды из суспензии отходов.
22. Способ по п.1, в котором перемешивание суспензии осуществляют в контейнере, а вымешанная суспензия подвергается отверждению в контейнере.
23. Способ по п.1, в котором заканчивают перемешивание при достижении конечной консистенции.
24. Способ по п.1, в котором перемешивание суспензии заканчивают по достижении конечной консистенции, которая определяется по величине усилия, требуемого для приведения мешалки в действие.
25. Способ по п.1, в котором перемешивают суспензию в контейнере с помощью мешалки и оставляют мешалку в твердой форме отходов.
26. Способ по п.1, в котором добавляют химически связанную фосфатную керамику.
27. Способ по п.1, в котором также добавляют оксид магния к суспензии.
28. Способ по п.26, в котором при дальнейшем перемешивании суспензии в нее добавляют предшественник химически связанной фосфатной керамики, отличный от оксида алюминия, с компонентом отходов и кислым фосфатом и после этого к суспензии добавляют оксид алюминия.
29. Способ по п.1, в котором компонент отходов хранится в контейнере для хранения отходов, причем компонент отходов, оксид алюминия и кислотный фосфатный компонент смешиваются в этом же контейнере для хранения отходов.
30. Способ по п.1, в котором суспензия включает также, по меньшей мере, один компонент из SnCl2 и Na2S.
31. Способ по п.30, в котором перемешивают суспензию при температуре не выше примерно 130°С в течение первого периода времени еще до перемешивания суспензии при функциональной температуре.
32. Способ по п.1, в котором добавляют нейтрализующий материал к суспензии до отверждения вымешанной суспензии, чтобы хотя бы частично нейтрализовать отходы.
33. Способ по п.1, в котором добавляют, по крайней мере, один из материалов, поглощающих гамма, нейтроны или фотоны непосредственно к компоненту отходов прежде чем отвердить вымешанную суспензию.
34. Способ по п.1, который содержит стадию выпаривания воды из отходов во время смешивания оксида алюминия с кислотным фосфатным компонентом.
35. Способ по п.1, который содержит добавление нейтрализующего материала к отходам, чтобы, по крайней мере, частично нейтрализовать отходы прежде чем компонент отходов смешивают с оксидом алюминия и с кислотным фосфатным компонентом.
36. Способ по п.1, который содержит добавление газопоглощающего водород агента к компоненту отходов или к суспензии, чтобы понизить генерацию водорода.
37. Способ по п.36, в котором агент, поглощающий водород, содержит MgO.
38. Способ по п.1, в котором компонент отходов представляет собой кислотный компонент и который содержит добавление оксида металла к, по крайней мере, одному из компонентов отходов и суспензии, чтобы нейтрализовать отходы.
39. Способ по п.1, который содержит добавление соли к суспензии, чтобы регулировать скорость реакции в процессе вымешивания суспензии.
40. Способ по п.1, который содержит добавление, по крайней мере, одного стабилизирующего агента и восстановительного агента к компоненту отходов или к суспензии.
41. Способ по п.1, который содержит добавление экзотермического агента к одному компоненту отходов или к суспензии, которое при реакции выделяет тепло, нагревающее, по крайней мере, один из компонентов отходов или суспензию.
42. Способ по п.1, который содержит добавление к суспензии защитного агента от радиации, чтобы получать, по крайней мере, частично защищенные отходы.
43. Способ получения стабильной формы отходов, включающий следующие стадии: реагирование оксида алюминия с кислотным фосфатным компонентом в первой суспензии, по меньшей мере, частичную сушку первой суспензии при первой температуре с получением предшественника фосфата, смешивание предшественника фосфата и отходов со второй суспензией при второй температуре в интервале от 106 до 175°С с одновременным испарением воды из второй суспензии, отверждение вымешанной второй суспензии в твердую форму отходов, включающую остальную часть оксида алюминия, распределенного в матрице, состоящей из безводного фосфата алюминия и, по меньшей мере, части отходов после испарения, по меньшей мере, большей части воды из второй суспензии.
44. Способ по п.43, в котором первая температура составляет не выше 130°С.
45. Способ по п.43, в котором вторая температура составляет, по меньшей мере, 140°С.
46. Способ по п.43, в котором вторая температура составляет не выше 155°С.
47. Способ по п.43, в котором отходы включают тяжелый металл, при этом перемешивание второй суспензии осуществляют при температуре не выше 130°С в течение первого периода времени до перемешивания суспензии при второй температуре.
48. Способ по п.43, в котором вторая суспензия включает также воду в дополнение к воде в жидких отходах.
49. Способ по п.43, в котором кислотный фосфатный компонент включает фосфорную кислоту.
50. Способ по п.43, в котором кислотный фосфатный компонент включает гидрофосфат алюминия.
51. Способ по п.43, в котором оксид алюминия включает гидроксид алюминия.
52. Способ по п.43, в котором молярное отношение алюминия к фосфору в форме отходов составляет более единицы, но не более 5.
53. Способ по п.52, в котором из молярного отношения исключается алюминий в форме алюмосиликата.
54. Способ по п.43, в котором молярное отношение алюминия к фосфору в форме отходов составляет 2-3.
55. Способ по п.43, в котором вторую суспензию перемешивают в контейнере с помощью мешалки и затем отверждают вымешанную вторую суспензию в контейнере.
56. Способ по п.43, в котором вторую суспензию перемешивают в контейнере с помощью мешалки, причем перемешивание прекращается, как только усилие, требуемое для включения мешалки, достигнет, по меньшей мере, значения конечного усилия перемешивания.
57. Способ по п.43, в котором после перемешивания второй суспензии в контейнере с помощью мешалки, мешалку оставляют в твердой форме отходов.
58. Способ по п.43, в котором при перемешивании второй суспензии в нее добавляют предшественник химически связанной фосфатной керамики, отличной от оксида алюминия.
59. Способ по п.43, в котором при перемешивании второй суспензии в нее также вмешивают оксид магния.
60. Способ по п.43, в котором отходы хранятся в контейнере для хранения отходов, при этом вторая суспензия перемешивается в этом же контейнере для хранения отходов.
61. Способ по п.43, в котором вторая суспензия включает также, по меньшей мере, один компонент из SnCl2 и Na2S.
62. Способ по п.61, в котором также перемешивают вторую суспензию при третьей температуре в течение первого периода времени еще до перемешивания второй суспензии при второй температуре, причем вторая температура выше третьей температуры.
63. Способ получения стабильной формы отходов из радиоактивного материала, содержащий следующие стадии: смешивание радиоактивного материала с оксидом алюминия и кислотным фосфатным компонентом с получением суспензии, при этом оксид алюминия включает водный оксид алюминия, безводный оксид алюминия или гидроксид алюминия, нагревание суспензии до первой температуры, которая имеет значение не выше 200°С, и, по меньшей мере, идентична температуре растворения оксида алюминия с кислым фосфатом, выпаривание воды из суспензии в процессе ее перемешивания при втором интервале температур от 140 до 175°С до тех пор, пока не испарится большая часть воды, отверждение конечного продукта с выпаренной водой в твердую форму отходов, включающую частицы оксида алюминия и, по меньшей мере, часть радиоактивных отходов в матрице, состоящей в основном из безводного AlPO4.
64. Способ по п.63, в котором алюминий в форме алюмосиликата не учитывается в молярном отношении.
65. Способ по п.63, в котором кислый фосфат выбирается из группы, состоящей из фосфорной кислоты и композиций, содержащих фосфат алюминия.
66. Способ по п.63, в котором кислый фосфат включает гидрофосфат алюминия и в котором кислый фосфат и оксид алюминия предварительно смешиваются в предварительную смесь еще до смешивания с радиоактивным материалом.
67. Способ по п.63, в котором молярное отношение алюминия к фосфору в предварительной смеси в основном такое же, что и молярное отношение алюминия к фосфору в суспензии.
68. Способ по п.63, в котором вторая температура выше первой температуры.
69. Способ по п.63, в котором первая температура составляет, по меньшей мере, 106°С.
70. Способ по п.63, в котором первая температура имеет интервал от 130 до 160°С.
71. Способ по п.63, в котором первая температура примерно такая же, что и вторая температура.
72. Способ по п.63, в котором жидкие отходы включают, по меньшей мере, один тяжелый металл и осуществляют также перемешивание суспензии при температуре ниже 130°С в течение, по меньшей мере, 10 мин еще до нагревания суспензии до первой или второй температуры.
73. Способ по п.63, в котором твердая форма отходов имеет объем пор не более примерно 5 об.%.
74. Способ по п.63, в котором добавляют химически связанный предшественник химически связанной фосфатной керамики к суспензии, отличной от оксида алюминия.
75. Способ по п.63, в котором отходы включают щелочные отходы, и осуществляют также добавление оксида магния к суспензии.
76. Способ по п.63, в котором отходы включают щелочные отходы и в котором осуществляют перемешивание суспензии, включающее также смешивание химически связанного предшественника химически связанной фосфатной керамики, отличной от оксида алюминия, с компонентом отходов и кислым фосфатом в суспензию и после этого добавляют оксид алюминия к суспензии.
77. Способ по п.63, в котором радиоактивный материал хранится в контейнере для хранения отходов и суспензия перемешивается в этом же контейнере для хранения отходов.
78. Способ по п.63, в котором суспензия включает также, по меньшей мере, один компонент из SnCl2 и Na2S.
79. Способ по п.78, в котором также перемешивают суспензию при третьей температуре в течение первого периода времени еще до нагревания суспензии до первой температуры, причем третья температура ниже второй температуры.
80. Твердая форма отходов, включающая твердую матрицу, состоящую в основном из безводного фосфата алюминия и фосфата тяжелого металла химически связанные друг с другом, вредный материал, распределенный в матрице, и частицы оксида алюминия, распределенные в матрице.
81. Твердая форма отходов по п.80, включающая также мешалку, фиксированную в матрице.
82. Твердая форма отходов по п.80, в которой, по меньшей мере, часть радиоактивного материала включает частицы радиоактивного материала, инкапсулированные в матрицу.
83. Твердая форма отходов по п.80, включающая также оксид магния, распределенный в матрице.
84. Твердая форма отходов по п.80, в котором вредный материал представляет собой радиоактивный материал.
РИСУНКИ
|
|