|
|
(21), (22) Заявка: 2005122628/12, 19.07.2005
(24) Дата начала отсчета срока действия патента:
19.07.2005
(43) Дата публикации заявки: 27.01.2007
(46) Опубликовано: 27.02.2008
(56) Список документов, цитированных в отчете о поиске:
US 5762386 А, 09.06.1998. US 1594472 A, 03.08.1926. US 1605638 A, 02.11.1926. US 3736017 A, 29.05.1973. RU 2180385 C1, 10.03.2002. US 3466077 A, 09.09.1969.
Адрес для переписки:
248021, г.Калуга, ул. Московская, 247, корп.74, ЗАО “Страж-Калуга”, В.М. Ледовскому
|
(72) Автор(ы):
Ледовский Вячеслав Михайлович (RU), Алешин Сергей Валентинович (RU)
(73) Патентообладатель(и):
Закрытое Акционерное Общество “Страж-Калуга” (RU)
|
(54) ПЛОМБА КОНТРОЛЬНАЯ
(57) Реферат:
Изобретение относится к скобяным изделиям – группе охранных средств однократного применения – и касается пломбы контрольной, содержащей корпус и фиксирующий элемент с защитной пластиной, выполненные заедино из пластмассы, и гибкий запирающий элемент. Пломба имеет крышку корпуса со стенками и отверстием для фиксирующего элемента, выполненную заедино из пластмассы с корпусом и фиксирующим элементом, на дне корпуса расположены две втулки со сквозными отверстиями, соединенные ребром жесткости, а фиксирующий элемент имеет ребро для прижатия крышки к корпусу при замыкании пломбы. При этом при замыкании пломбы узел гибкого запирающего элемента и фиксирующий элемент имеют возможность располагаться внутри полости корпуса, а фиксирующий элемент устанавливается в отверстие крышки. Техническим результатом является повышение надежности пломбы от несанкционированного вскрытия, снижение трудоемкости изготовления и эксплуатации. 4 з.п. ф-лы, 3 ил.
Изобретение относится к скобяным изделиям – группе охранных средств однократного применения – и касается пломбы контрольной.
Известна пломба (патент США 5762386, кл. G09F 3/03, опубл. 09.06.1998), содержащая корпус и фиксирующий элемент с защитной пластиной, выполненные заедино из пластмассы, а также гибкий запирающий элемент.
Недостатками этой пломбы является недостаточно высокая стойкость к вскрытию.
Техническим результатом изобретения является повышение устойчивости пломбы от несанкционированного вскрытия, снижение трудоемкости изготовления и эксплуатации.
Указанный технический результат достигается тем, что контрольная пломба содержит корпус и фиксирующий элемент с защитной пластиной, выполненные заедино из пластмассы, и гибкий запирающий элемент. Пломба имеет крышку корпуса со стенками и отверстием для фиксирующего элемента, выполненную заедино из пластмассы с корпусом и фиксирующим элементом, на дне корпуса расположены две втулки со сквозными отверстиями, соединенные ребром жесткости, а фиксирующий элемент имеет ребро для прижатия крышки к корпусу при замыкании пломбы, при этом при замыкании пломбы узел гибкого запирающего элемента и фиксирующий элемент имеют возможность располагаться внутри полости корпуса, а фиксирующий элемент устанавливается в отверстие крышки.
На наружной поверхности крышки имеется буртик, внутри которого имеет возможность располагаться защитная пластина.
У основания фиксирующего элемента имеется канавка, сужающаяся в сторону защитной пластины.
Ребро фиксирующего элемента выполнено на перемычке между фиксирующим элементом и корпусом.
На корпусе нанесен индивидуальный код пломбы.
В полости корпуса размещаются концы гибкого запирающего элемента, предварительно пропущенного через проушины пломбируемого объекта и втулки с отверстиями корпуса, концы гибкого запирающего элемента связываются узлом, не допускающим его ослабления или сползания. Корпус с закрытой крышкой, прижатой ребром и заблокированной фиксирующим элементом, предварительно пропущенным через отверстие крышки, образуют замкнутую полость, надежно защищающую узел гибкого запирающего элемента от несанкционированного криминального воздействия, так как фиксирующий механизм контрольной пломбы не позволяет открыть устройство, не повредив его или не нарушив целостность изделия, а индивидуальный уникальный номер, который имеет каждая пломба, исключает возможность ее подмены. Конструкция корпуса пломбы позволяет снизить трудоемкость изготовления и эксплуатации изделия.
Изобретение поясняется чертежами, где изображено:
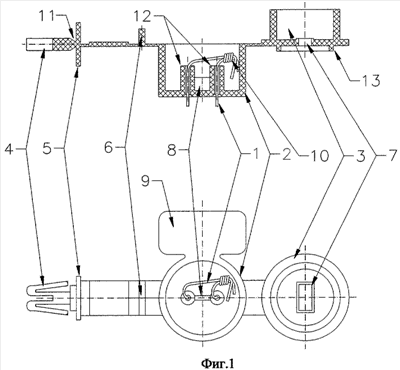
на фиг.1 – общий вид контрольной пломбы в положении «не замкнуто» (не опломбировано);
на фиг.2 – общий вид контрольной пломбы в положении «закрыто» (опломбировано);
на фиг.3 – внешний вид корпуса контрольной пломбы в аксонометрии.
Контрольная пломба состоит из гибкого запирающего элемента 1, выполненного из металлической проволоки или тросика, и корпуса, выполненного из пластмассы; на дне корпуса 2 расположены две втулки 12 с отверстиями, соединенные ребром жесткости 8; крышки корпуса 3 со стенками, отверстием 7 и буртиком 13; фиксирующего элемента 4 с канавкой 11, ребра 6 и защитной пластины 5.
В полости корпуса размещаются концы гибкого запирающего элемента 1, предварительно пропущенного через проушины пломбируемого объекта и отверстия втулок 12 корпуса 2, и связанные узлом 10 так, чтобы не допустить его ослабления или сползания при приложении усилия к запирающему элементу. В закрытом положении крышка со стенками 3 прижимается к корпусу 2 ребром 6 с одной стороны и перемычкой между корпусом 2 и крышкой 3, блокируется фиксирующим элементом 4, пропущенным через отверстие 7 крышки 3.
Фиксирующий элемент 4 выполнен в виде «якоря» с пазом, в который входит ребро жесткости 8, предотвращающее от прокручивания фиксирующий элемент, и канавки (концентратора напряжений) 11, расположенной у основания фиксирующего элемента в плоскости крышки 3 и сужающейся по направлению к защитной пластине 5, что исключает возможность криминального воздействия на фиксирующий элемент и служит местом разрушения корпуса пломбы при ее несанкционированном вскрытии.
Защитная пластина 5 в закрытом положении прикрывает отверстие 7 крышки 3 и располагается внутри буртика 13 на наружной поверхности крышки 3, что дополнительно исключает возможность криминального воздействия на фиксирующий элемент 4.
Стенки крышки 3, входящие в полость корпуса 2, защищают узел запирающего элемента 10 и фиксирующий элемент 4 от криминального воздействия.
Корпус пломбы выполнен с приливом в виде «флажка» 9 с нанесенным на него индивидуальным уникальным буквенно-цифровым кодом, логотипом фирмы-изготовителя либо заказчика, что исключает возможность ее подмены. Пломбы, по желанию заказчика, могут изготавливаться в различной цветовой гамме.
Навешивание и замыкание пломбы производится следующим образом.
Гибкий запирающий элемент 1 пропускают через проушины пломбируемого объекта, затем концы запирающего элемента заводят в отверстия втулок 12 корпуса 2 пломбы, где их завязывают узлом 10, не допускающим его ослабления и сползания, и размещают внутри корпуса 2; закрывают крышку 3; блокируют крышку 3, установив фиксирующий элемент 4 в отверстие 7 крышки 3. Таким образом получают неразъемную конструкцию, где крышка 3, соединенная с одной стороны перемычкой с корпусом 2, с другой стороны прижимается к корпусу 2 ребром 6 и перемычкой между фиксирующим элементом 4 и лапками «якоря» фиксирующего элемента 4, а в полости корпуса 2 находится узел 10, изолированный от криминального воздействия.
При попытке вытянуть фиксирующий элемент 4 из крышки 3 лапки «якоря» фиксирующего элемента 4 препятствуют его извлечению, и при превышении заданного усилия вытягивания фиксирующего элемента 4 происходит разрушение корпуса пломбы по канавке 11, что указывает на попытку несанкционированного вскрытия.
Для санкционированного вскрытия пломбы достаточно разорвать или разрезать запирающий элемент 1 в любом доступном месте.
Предлагаемая контрольная пломба проста по конструкции, состоит из минимального количества деталей. Пластмассовый корпус пломбы технологичен при изготовлении пресс-формы, повышает производительность труда, что позволит изготавливать ее с минимальными затратами и реализовывать по низким ценам.
Формула изобретения
1. Контрольная пломба, содержащая корпус и фиксирующий элемент с защитной пластиной, выполненные заедино из пластмассы, и гибкий запирающий элемент, отличающаяся тем, что она имеет крышку корпуса со стенками и отверстием для фиксирующего элемента, выполненную заедино из пластмассы с корпусом и фиксирующим элементом, на дне корпуса расположены две втулки со сквозными отверстиями, соединенные ребром жесткости, а фиксирующий элемент имеет ребро для прижатия крышки к корпусу при замыкании пломбы, при этом при замыкании пломбы узел гибкого запирающего элемента и фиксирующий элемент имеют возможность располагаться внутри полости корпуса, а фиксирующий элемент устанавливается в отверстие крышки.
2. Контрольная пломба по п.1, отличающаяся тем, что на наружной поверхности крышки имеется буртик, внутри которого имеет возможность располагаться защитная пластина.
3. Контрольная пломба по п.1, отличающаяся тем, что у основания фиксирующего элемента имеется канавка, сужающаяся в сторону защитной пластины.
4. Контрольная пломба по п.1, отличающаяся тем, что ребро фиксирующего элемента выполнено на перемычке между фиксирующим элементом и корпусом.
5. Контрольная пломба по п.1, отличающаяся тем, что на корпусе нанесен индивидуальный код пломбы.
РИСУНКИ
MM4A – Досрочное прекращение действия патента СССР или патента Российской Федерации на изобретение из-за неуплаты в установленный срок пошлины за поддержание патента в силе
Дата прекращения действия патента: 20.07.2008
Извещение опубликовано: 10.07.2010 БИ: 19/2010
|
|