Изобретение относится к скобяным изделиям – группе охранных средств однократного применения – и касается пломбы пластмассовой, содержащей соединенные перемычкой крышку со стенками, в которой расположена лепестковая цанга, и фиксирующий элемент с защитной пластиной. Пломба имеет гибкий запирающий элемент с рядом отверстий, а между крышкой и фиксирующим элементом на перемычке имеется стакан, при этом на перемычке между фиксирующим элементом и стаканом выполнено ребро для прижатия крышки к стакану, на стакане выполнен прилив в виде «флажка» для нанесения индивидуального цифробуквенного кода, а фиксирующий элемент и крышка с цангой имеют возможность расположения внутри полости, образованной стаканом при замыкании пломбы, причем пломба выполнена в виде единой детали. Техническим результатом является повышение надежности пломбы от несанкционированного вскрытия, снижение трудоемкости изготовления и эксплуатации. 2 з.п. ф-лы, 4 ил.
Изобретение относится к скобяным изделиям – группе охранных средств однократного применения – и касается пломбы пластмассовой.
Известна пластмассовая пломба (патент США 4059300, кл. B65D 63/00, опубл. 22.11.1977), содержащая соединенные перемычкой крышку со стенками, в которой расположена лепестковая цанга, и фиксирующий элемент с защитной пластиной.
Недостатком этой пломбы является недостаточно высокая стойкость к вскрытию.
Техническим результатом изобретения является повышение устойчивости пломбы от несанкционированного вскрытия, снижение трудоемкости изготовления и эксплуатации.
Указанный технический результат достигается тем, что пломба пластмассовая содержит соединенные перемычкой крышку со стенками, в которой расположена лепестковая цанга, и фиксирующий элемент с защитной пластиной. Также пломба имеет гибкий запирающий элемент с рядом отверстий, а между крышкой и фиксирующим элементом на перемычке имеется стакан, при этом на перемычке между фиксирующим элементом и стаканом выполнено ребро для прижатия крышки к стакану, на стакане выполнен прилив в виде «флажка» для нанесения индивидуального цифробуквенного кода, а фиксирующий элемент и крышка с цангой имеют возможность расположения внутри полости, образованной стаканом при замыкании пломбы, причем пломба выполнена в виде единой детали.
Защитная пластина перекрывает отверстие гибкого запирающего элемента, через которое проведен фиксирующий элемент, и заходное отверстие цанги.
У основания фиксирующего элемента в зоне присоединения к защитной пластине выполнено утонение.
Стакан с закрытой крышкой и расположенной на крышке цангой, блокирующей фиксирующий элемент, проведенный через одно из отверстий гибкого запирающего элемента, предварительно пропущенного через проушины пломбируемого объекта, образуют замкнутую полость, надежно защищающую находящуюся в ней цангу с фиксирующим элементом от несанкционированного криминального воздействия, так как запирающий механизм контрольной пломбы не позволяет открыть устройство, не повредив его или нарушив целостность изделия, а индивидуальный уникальный номер, который имеет каждая пломба, исключает возможность ее подмены. Данная пломба состоит всего из одной детали (не требует трудоемкой операции запрессовки цанги в корпус пломбы), что позволяет снизить трудоемкость изготовления и повысить эксплуатационные характеристики изделия.
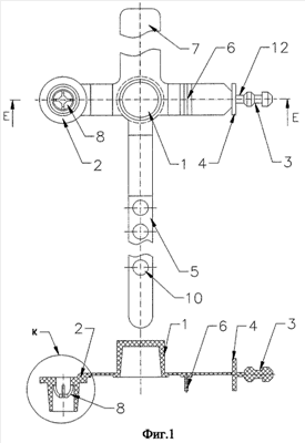
Изобретение поясняется чертежами, где изображено:
на фиг.1 – общий вид пломбы пластмассовой в положении “не замкнуто” (не опломбировано),
на фиг.2 – общий вид пломбы пластмассовой в положении “закрыто” (опломбировано),
на фиг.3 – крышка с цангой (вид К),
на фиг.4 – внешний вид корпуса пломбы пластмассовой в аксонометрии в положении “не замкнуто”.
Пломба пластмассовая состоит из полого стакана 1, крышки 2 со стенками 11 и лепестковой цангой 8, соединенной со стаканом 1 перемычкой с одной стороны, с другой стороны стакан соединен перемычкой с фиксирующим элементом 3 с защитной пластиной 4 и ребром 6, пломба имеет гибкий запирающий элемент 5 с рядом отверстий 10, прилив 7 на стакане для нанесения буквенно-цифрового кода.
При замыкании пломбы в полости стакана 1 размещается крышка 2 со стенками 11 и лепестковой цангой 8. Крышка 2 прижимается к стакану 1 ребром 6, а с другой стороны удерживается пластмассовой перемычкой, соединяющей стакан 1 и крышку 2.
Через одно из отверстий 10 гибкого запирающего элемента 5, предварительно пропущенного через проушины пломбируемого объекта (см. фиг.2), в отверстие 9 цанги 8 вводится фиксирующий элемент 3.
Фиксирующий элемент 3 выполнен в виде цилиндра с канавкой, соответствующей отверстию 9 в цанге 8. У основания фиксирующего элемента в зоне присоединения к защитной пластине 4 выполнено утонение 12, выполняющее роль концентратора напряжений, что затрудняет криминальное воздействие на запирающий элемент и служит местом разрушения пломбы при ее вскрытии. Защитная пластина 4 в положении “закрыто” удерживает (прижимает) гибкий запирающий элемент 5, перекрывая соответствующее отверстие 10 и заходное отверстие цанги 8.
Стакан 1 пломбы выполнен с приливом 7 в виде “флажка” с нанесенным на него индивидуальным уникальным цифробуквенным кодом, логотипом фирмы-изготовителя либо заказчика, что исключает возможность ее подмены. Пломбы, по желанию заказчика, могут изготавливаться в различной цветовой гамме.
Навешивание и замыкание пломбы производится следующим образом.
Гибкий запирающий элемент 5, образовав петлю, пропускают через проушины пломбируемого объекта, закрывают стакан 1 крышкой 2, совмещают одно из отверстий 10 с заходным отверстием цанги 8, вводят фиксирующий элемент 3 в отверстие 9 цанги 8 до замыкания лепестков цанги с канавкой фиксирующего элемента 3, тем самым блокируя фиксирующий элемент 3. Стенки 11 крышки 2, ребро 6, прижимающее крышку 2, защитная пластина 4, утонение 12 у основания фиксирующего элемента 3 защищают цангу 8 от криминального воздействия.
При попытке извлечь фиксирующий элемент 3 из цанги 8 лепестки цанги, взаимодействуя с канавкой фиксирующего элемента 3, препятствуют его вытягиванию и при превышении заданного усилия фиксирующий элемент 3 разрушается по утонению 12, что указывает на попытку несанкционированного вскрытия.
Для санкционированного вскрытия пломбы достаточно разорвать петлю запирающего элемента 5 по отверстиям 10 или разрезать ее в любом доступном месте.
Предлагаемая контрольная пломба проста по конструкции, состоит только из одной детали. Пластмассовый корпус пломбы технологичен при изготовлении пресс-формы и при производстве деталей, повышает производительность труда, что позволит изготавливать ее с минимальными затратами и реализовывать по низким ценам.
1. Пломба пластмассовая, содержащая соединенные перемычкой крышку со стенками, в которой расположена лепестковая цанга, и фиксирующий элемент с защитной пластиной, отличающаяся тем, что она имеет гибкий запирающий элемент с рядом отверстий, а между крышкой и фиксирующим элементом на перемычке имеется стакан, при этом на перемычке между фиксирующим элементом и стаканом выполнено ребро для прижатия крышки к стакану, на стакане выполнен прилив в виде «флажка» для нанесения индивидуального цифробуквенного кода, а фиксирующий элемент и крышка с цангой имеют возможность расположения внутри полости, образованной стаканом при замыкании пломбы, причем пломба выполнена в виде единой детали.
2. Пломба пластмассовая по п.1, отличающаяся тем, что защитная пластина перекрывает отверстие гибкого запирающего элемента, через которое проведен фиксирующий элемент и заходное отверстие цанги.
3. Пломба пластмассовая по п.1, отличающаяся тем, что у основания фиксирующего элемента в зоне присоединения к защитной пластине выполнено утонение.