|
|
(21), (22) Заявка: 2004106558/09, 04.09.2002
(24) Дата начала отсчета срока действия патента:
04.09.2002
(30) Конвенционный приоритет:
04.09.2001 US 09/946,905
(43) Дата публикации заявки: 10.08.2005
(45) Опубликовано: 27.02.2008
(56) Список документов, цитированных в отчете о поиске:
WO 0058858 А, 10.05.2000. RU 2095112 C1, 10.11.1997. GB 2161629 A, 15.01.1986. RU 2144264 C1, 10.01.2000. EP 1120757 A2, 01.08.2001.
(85) Дата перевода заявки PCT на национальную фазу:
04.03.2004
(86) Заявка PCT:
US 02/28187 (04.09.2002)
(87) Публикация PCT:
WO 03/021543 (13.03.2003)
Адрес для переписки:
125040, Москва, Ленинградский пр-кт, 23, патентно-лицензионная фирма “Транстехнология”, пат.пов. Г.П.Курапову
|
(72) Автор(ы):
ПОЛСЕН Крэйг А. (US), НГУЙЕН Бинх Т. (US)
(73) Патентообладатель(и):
АйДжиТи (US)
|
(54) ВОЗМОЖНОСТЬ ЭЛЕКТРОННОЙ ПОДПИСИ В ИГРОВОЙ МАШИНЕ
(57) Реферат:
Изобретение относится к игровым машинам типа слот-машин и машин для видеопокера, и в частности к устройствам и способам для приема и аутентификации электронных подписей игроков на игровой машине. Техническим результатом изобретения является защита от несанкционированного доступа в систему за счет возможности приема и аутентификации электронной подписи игрока на устройстве ввода подписи. Игровая машина использует программное обеспечение захвата и аутентификации электронной подписи в сочетании с базой данных электронных подписей для аутентификации вводимой электронной подписи на игровой машине. Программное обеспечение аутентификации может быть локализовано вместе с программным обеспечением захвата электронной подписи на игровой машине или отдельно от программного обеспечения захвата электронной подписи. База данных электронных подписей может быть локализована вместе с программным обеспечением захвата электронной подписи и/или программным обеспечением аутентификации или отдельно от программного обеспечения захвата электронной подписи и/или программного обеспечения аутентификации. 4 н. и 56 з.п. ф-лы, 7 ил.
ОБЛАСТЬ ТЕХНИКИ, К КОТОРОЙ ОТНОСИТСЯ ИЗОБРЕТЕНИЕ
Настоящее изобретение относится к игровым машинам типа слот-машин и машин для видеопокера. В частности, настоящее изобретение относится к способам и устройствам для приема и аутентификации электронных подписей игроков на игровой машине.
ПРЕДПОСЫЛКИ К СОЗДАНИЮ ИЗОБРЕТЕНИЯ
Выбор вспомогательных устройств, которые могут быть подключены к игровой машине, такой как слот-машина или машина для видеопокера, является очень широким. В качестве отдельных примеров этих устройств можно назвать модули трекинга игрока (трекинг игрока – отслеживание и учет игорным домом всех наиболее важных показателей игры определенного индивидуума, прим. пер.), лампы, билетопечатающее устройства, устройства считывания карточек, динамики, банкнотоприемники, устройства считывания билетов, монетоприемники, панели отображения, клавишные панели, накопители монет и кнопочные панели. Многие из этих устройств являются встроенными в игровую машину, в то время как некоторые сгруппированы в отдельные модули типа приставок, которые могут быть размещены на верхней части корпуса машины.
Как правило, с помощью ведущего игрового контроллера игровая машина управляет различными комбинациями устройств, которые позволяют игроку вести игру на игровой машине, а также поощрять ведение игры на игровой машине. Например, для ведения игры на игровой машине обычно требуется, чтобы игрок ввел деньги в игровую машину или установил кредит, указал сумму ставок и запустил игру. Эти шаги требуют от игровой машины управления устройствами ввода, включая банкнотоприемники и монетоприемники, приема денег в игровую машину и распознавания данных, вводимых пользователем с устройств типа кнопочных панелей и рычагов, определения суммы ставок и запуска игры.
После запуска игры игровая машина определяет результат игры, представляет этот результат игроку и в зависимости от результата игры может выдать какой-либо выигрыш. Для представления результата игры могут быть использованы многочисленные разнообразные визуальные и аудиосредства типа фонарей, музыки, звуков и графики. Применение визуальных и аудиосредств представления результата игры может быть использовано для привлечения внимания игрока к различным отличительным особенностям игры и усиления заинтересованности игрока в проведении дополнительных сеансов игры.
Описанные выше операции могут быть выполнены на игровой машине, работающей как “автономный” модуль или соединенной через сеть какого-либо типа с группой игровых машин. С прогрессом технологии в игровой индустрии расширяется и спектр игровых услуг, обеспечиваемых игровым машинам с использованием модели клиент-сервер. В модели клиент-сервер группы игровых машин соединены через специализированную сеть связи какого-либо типа с удаленным компьютером, который, используя эту специализированную сеть связи, обеспечивает одну или более игровых услуг.
Поддержание заинтересованности игрока в ведении игры, например, на игровой машине или в процессе совершения других игровых действий является важным показателем работы оператора игрового заведения. Многие казино в настоящее время используют программы трекинга игрока, чтобы поддержать заинтересованность игрока в проведении дополнительных сеансов игры в процессе пребывания в игровом заведении и привлечения игрока в игровое заведение для участия в различных игровых действиях. Программы трекинга игрока обеспечивают вознаграждение тем игрокам, которые, как правило, соответствуют определению постоянного клиента (например, по частоте ведения игр и/или общему количеству игр в данном казино). Вознаграждениями по результатам трекинга игрока могут выступать бесплатная еда, бесплатный номер в гостинице и/или бесплатное развлечение. Эти вознаграждения помогают поддерживать заинтересованность игрока.
В игровой машине программа трекинга игрока реализуется с помощью модуля трекинга игрока, установленного в игровой машине и участвующего в обмене данными с удаленным сервером трекинга игрока. Модули трекинга игрока обычно производятся как самостоятельное устройство, обособленное от игровой машины. Многие различные компании занимаются производством модулей трекинга игрока как части систем трекинга игрока/бухгалтерского учета. Эти системы трекинга игрока/бухгалтерского учета используются в большинстве казино.
Вообще модули трекинга игрока были разработаны главным образом для того, чтобы позволить игроку вводить карточку с магнитной полосой и обеспечить ввод идентификационного кода с помощью клавишной панели. Поэтому интерфейс модуля трекинга игрока, разработанный для выполнения этих задач, как правило, представляет собой клавишную панель, устройство считывания карточек или простой дисплей типа вакуумного флуоресцентного дисплея (ВФД).
Как правило, перед началом игры игрок вставляет свою карточку трекинга в устройство считывания карточек на игровой машине. Программное обеспечение трекинга игрока на игровой машине или в игровой сети обнаруживает эту карточку, фиксирует личность игрока и осуществляет слежение за действиями игровой машины. Когда игрок завершает диалог с игровой машиной машина распечатывает билет, на котором могут быть указаны параметры конечного статуса игрока, типа времени и суммы выплаты наличными. В некоторых случаях билет может быть закодирован на возможность игры на другой игровой машине и использование какого-либо кредита или денежной стоимости, присвоенной билету.
Часто в процессе игры игроку приходится оставлять игровую машину, например, чтобы пополнить запас наличных денег, обналичить деньги в банке казино или позаботиться о других транзакциях, которые могут требовать подписи, таких как подписание соглашений о предоставлении кредитов в казино, договоров на прокат автомобилей, заявок на бронирование мест в гостинице или предварительный заказ авиабилетов. Необходимость оставлять игровую машину часто приводит к срыву активности игрока или потере им данной игровой машины в пользу другого игрока, т.е. вызывает события, являющиеся для многих игроков нежелательными.
В прошлом, как правило, законность выполнения многих из вышеупомянутых и других транзакций могла быть подтверждена только рукописной подписью игрока. В настоящее же время правовой статус рукописных подписей законодательство предоставляет и электронным подписям.
Все изложенное выше позволяет сделать вывод о желательности устройства и/или способа приема электронных подписей на игровой машине, которые позволили бы игроку выполнять транзакции с подписью на игровой машине.
КРАТКОЕ ИЗЛОЖЕНИЕ СУЩНОСТИ ИЗОБРЕТЕНИЯ
Это изобретение имеет своей целью удовлетворить обозначенные выше потребности с помощью игровой машины с возможностью приема и аутентификации электронной подписи игрока. Настоящее изобретение позволит клиентам казино выполнять на игровой машине транзакции с подписью. Например, с помощью настоящего изобретения клиенты казино смогут подписывать договоры на прокат автомобилей, заявки на билеты на шоу в казино, на залы казино, на предварительный заказ авиабилетов, на туристические пакеты, напитки, еду, электронные формы W2G (формы декларации о доходах, прим. пер.), соглашения о предоставлении кредитов в казино, квитанции о выплатах наличными, о покупках кредитных карточек, сувениров или любые другие деловые бумаги, требующие подписи.
Основной целью настоящего изобретения является создание игровой машины с возможностью приема и аутентификации электронной подписи игрока. Такая игровая машина, как правило, содержит: ведущий игровой контроллер, предназначенный для управления одной или более играми, запускаемыми на игровой машине; множество игровых устройств, подключенных к игровой машине и участвующих в обмене данными с ведущим игровым контроллером, причем по меньшей мере одно из игровых устройств является устройством ввода подписи, предназначенным для генерации элементов данных электронной подписи, представляющих электронную подпись, получаемую в результате ввода подписи в устройство ввода подписи; и память, предназначенную для хранения множества элементов программного обеспечения электронной подписи, которые позволяют машине захватывать вводимую электронную подпись на устройстве ввода подписи и аутентифицировать электронную подпись.
Другой целью настоящего изобретения является разработка способа аутентификации вводимой электронной подписи на игровой машине. Такой способ, как правило, содержит: операцию ввода подписи на устройстве ввода подписи, локализованном на игровой машине; операцию генерации элементов данных первой электронной подписи, представляющих первую электронную подпись; и операцию аутентификации первой электронной подписи.
Третья цель настоящего изобретения заключается создании сети игровых машин. Сеть игровых машин, как правило, содержит: множество файловых запоминающих устройств, хранящих программы пакета игрового программного обеспечения; множество игровых машин; и сеть, обеспечивающую связь между файловыми запоминающими устройствами и множеством игровых машин. Игровые машины в составе игровой сети, как правило, содержат: ведущий игровой контроллер, предназначенный для управления одной или более играми, запускаемыми на игровой машине; множество игровых устройств, подключенных к игровой машине и участвующих в обмене данными с ведущим игровым контроллером, причем по меньшей мере одно из игровых устройств является устройством ввода подписи, предназначенным для генерации элементов данных электронной подписи, представляющих электронную подпись, получаемую в результате ввода подписи в устройство ввода подписи; и память, предназначенную для хранения множества элементов программного обеспечения электронной подписи, которые позволяют машине захватывать вводимую электронную подпись на устройстве ввода подписи и аутентифицировать эту электронную подпись.
Еще одной целью настоящего изобретения является компьютерный программный продукт, содержащий компьютерно-читаемый носитель, на котором хранятся команды программы, обеспечивающей осуществление каждого из описанных выше способов.
Ниже следует более подробное описание этих и других признаков настоящего изобретения, иллюстрируемое прилагаемыми рисунками.
КРАТКОЕ ОПИСАНИЕ ФИГУР
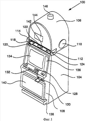
Фиг.1 – схематическое изображение игровой машины, имеющей устройство ввода подписи для обеспечения возможности электронной подписи в соответствии с одним из примеров осуществления настоящего изобретения;
Фиг.2 – блок-схема, иллюстрирующая компоненты игровой машины с возможностью электронной подписи в соответствии с одним из примеров осуществления настоящего изобретения;
Фиг.3 – блок-схема, иллюстрирующая компоненты игровой машины с возможностью электронной подписи в соответствии с другим примером осуществления настоящего изобретения;
Фиг.4 – блок-схема, иллюстрирующая компоненты игровой машины с возможностью электронной подписи в соответствии с третьим примером осуществления настоящего изобретения;
Фиг.5 – блок-схема, иллюстрирующая компоненты игровой машины с возможностью электронной подписи в соответствии с четвертым примером осуществления настоящего изобретения;
Фиг.6 – схема последовательности операций в процессе подготовки базы данных электронных подписей для использования при аутентификации электронной подписи в соответствии с одним из примеров осуществления настоящего изобретения; и
Фиг.7 – схема последовательности операций, иллюстрирующая ввод подписи, захват и аутентификацию электронной подписи в соответствии с одним из примеров осуществления настоящего изобретения.
ОПИСАНИЕ ПРЕДПОЧТИТЕЛЬНЫХ ПРИМЕРОВ ОСУЩЕСТВЛЕНИЯ
В настоящем изобретении предлагается игровая машина, содержащая устройство ввода подписи, которое позволяет игроку вводить свою подпись в игровую машину с помощью электроники. Электронная подпись захватывается как элементы данных электронной подписи и аутентифицируется с помощью базы данных электронных подписей перед направлением на выполнение транзакции, например такой как плата за прокат автомобиля, покупка билета на шоу в казино, бронирование места в гостинице, предварительный заказ авиабилета, покупка туристического пакета, заказ напитка, предварительный заказ обеда, электронная форма W2G, предоставление кредита в казино, выплата наличными, покупка кредитной карточки, покупка товаров и электронный перевод платежей.
На Фиг.1 представлена игровая машина 100, имеющая устройство ввода подписи для обеспечения возможности электронной подписи в соответствии с одним из примеров осуществления настоящего изобретения. Игровая машина 100 имеет основной корпус 104, который, как правило, окружает внутреннюю часть машины (не показано) и который могут обозревать пользователи. Со своей передней стороны основной корпус имеет главную дверцу 108, открывающуюся для обеспечения доступа к внутренним блокам машины. На поверхность главной дверцы 108 выведены переключатели или кнопки ввода 132, монетоприемник 128 и банкнотоприемник 130, лоток для монет 138, а также защитное стекло 140. Через главную дверцу 108 можно видеть монитор с видеодисплеем 134 и информационную панель 136.
Монитор с дисплеем 134, как правило, представляет собой катодно-лучевую трубку, плоскопанельный ЖК дисплей с высоким разрешением или другой обычный видеомонитор с электронным управлением. В этом конкретном примере осуществления поверх монитора с дисплеем 134 может также быть установлен сенсорный экран, на котором может быть отображен электронный интерфейс с подсказкой о том, как игрок должен осуществить ввод своей подписи, например написать ее на сенсорном экране с помощью стилуса или кончиком своего пальца. Пример сенсорного экрана, смонтированного на внешней поверхности дисплея, описан в патенте США №6210279 В1 Дикинсоном. В других примерах монитор с дисплеем 134 может быть снабжен другими элементами, которые позволяют обнаруживать вводимую подпись игрока, например с использованием воздействия теплоты, давления, движения или других физических явлений.
Информационная панель 136 может представлять собой стеклянную панель с задней подсветкой и выполненными методом трафаретной печати надписями, представляющими общую игровую информацию, включая, например, количество играющих монет. Банкнотоприемник 130, переключатели ввода 132, монитор с видеодисплеем 134 и информационная панель 136 являются устройствами, используемыми для ведения игры на игровой машине 100. Управление этими устройствами осуществляется схемой (не показано), размещенной внутри основного корпуса 104 машины 100. Машины, являющиеся предметом этого изобретения, позволяют вести всевозможные игры, включая видеослоты, механические слоты, видеоблэкджеки, видеопокеры, видеокено, видеобинго, видеопатинко, карточные видеоигры, азартные видеоигры и их сочетания, а также бонусные игры.
Игровая машина 100 имеет верхнюю приставку 106, которая установлена на верхней поверхности основного корпуса 104. В верхней приставке 106 размещен ряд устройств, которые могут использоваться для придания дополнительных особенностей игре, запускаемой на игровой машине 100, включая динамики 110, 112, 114 и билетопечатающее устройство 118, которое может печатать билеты со штриховым кодом 120, используемые как безналичные инструменты. В верхней приставке 106 установлен вторичный дисплей 144, который может быть также снабжен сенсорным экраном. Вторичный дисплей 144 может быть также использован для приема вводимой подписи игрока с помощью электроники и/или для работы интерфейсов игровых услуг.
Модуль трекинга игрока (не показано), установленный внутри верхней приставки 106, может быть снабжен дисплеем с сенсорным экраном 122, который может использоваться для приема подписи игрока, осуществляемого с помощью электроники. Модуль трекинга игрока включает также устройство считывания карточек 124 для ввода карточки с магнитной полосой, содержащей данные трекинга игрока, и динамик/микрофон 142 для воспроизведения звуков и/или ввода речевых данных. В дополнение к этому, модуль трекинга игрока может включать дополнительные периферийные интерфейсные устройства типа биометрических устройств ввода, используемых при приеме подписи игрока с помощью электроники, например устройство захвата отпечатка пальца или устройство сканирования радужной оболочки глаза.
Когда пользователь собирается запустить игровую машину 100, он или она вводит наличные деньги через монетоприемник 128 или банкнотоприемник 130 с возможностями оптического считывания/сканирования. В дополнение к этому, чтобы зарегистрировать кредиты на игровой машине 100, игрок может использовать какой-либо безналичный инструмент. Например, банкнотоприемник 130 может принять напечатанный билет-ваучер, включая 120, как гарантию кредита. В другом примере устройство считывания карточек 124 может принять дебетную карточку или смарт-карточку, содержащую информацию о наличности или кредитоспособности, которая может быть использована для регистрации кредитов на игровой машине.
До начала игровой сессии (периода игры за определенный отрезок времени, прим. пер.) на игровой машине 100 игрок может вставить свою карточку трекинга в устройство считывания карточек 124, чтобы инициировать сеанс трекинга игрока. В некоторых примерах осуществления после того, как игрок вставил свою карточку, ему может быть сделана визуальная или звуковая подсказка соответственно на экране дисплея 122 или с использованием динамика 142 о необходимости ввода идентифицирующей информации, такой как код персонального идентификационного номера (ПИН-код), с помощью дисплея с сенсорным экраном 122. Это может быть сделано системой трекинга игрока в виде ссылки на “вход в систему” или регистрацию. В некоторых примерах осуществления “вход в систему” позволяет также извлекать информацию о профиле игрока и его предпочтениях, а в отдельных случаях – загружать кредит игрока до начала игры. Как правило, в течение игровой сессии карточка трекинга игрока может оставаться в устройстве считывания карточек 124.
В другом примере игровая машина может передавать данные трекинга игрока от переносного беспроводного устройства, которое игрок носит с собой, через беспроводное интерфейсное устройство (не показано) на игровой машине 100. Преимущество использования переносного беспроводного устройства состоит в том, что передача данных трекинга игрока осуществляется автоматически и игроку не нужно помнить о необходимости вставить свою карточку трекинга в игровую машину соответствующим образом. В сеансе трекинга игрока на игровой машине показатели игры за игровую сессию на игровой машине, такие как суммы ставок в процессе игровой сессии, могут быть преобразованы в очки трекинга игрока и сохранены в учетной записи игрока на сервере трекинга игрока. Позже накопленные очки трекинга игрока могут быть возвращены ему в виде вознаграждений или бесплатных услуг, таких как, бесплатная еда, бесплатные номера в гостинице или другие призы.
Обычно карточка трекинга игрока, вставленная в устройство считывания карточек, содержит по меньшей мере данные учетной записи трекинга игрока. Когда карточка вставлена соответствующим образом в устройство считывания карточек 124, информация, хранимая на карточке, например данные учетной записи игрока, может быть считана устройством считывания карточек и передана логическим устройством в модуле трекинга игрока на сервер трекинга игрока. Данные учетной записи трекинга игрока позволяют серверу трекинга игрока сохранять очки трекинга игрока, накопленные в течение игровой сессии, в соответствующей учетной записи.
В процессе ведения игры игрок может принимать некоторые решения, оказывающие влияние на результат игры. Например, игрок может изменять сумму своих ставок в отдельной игре, выбирать приз за отдельную игру или принимать решения, которые оказывают влияние на результат отдельной игры. Возможность выбора этих вариантов игрок может реализовать с помощью переключателей ввода 132, экрана видеодисплея 134 или каких-либо других устройств, обеспечивающих игроку возможность ввода информации в игровую машину.
В отдельных случаях игрок может пожелать выполнить транзакцию с подписью, в процессе проведения которой игрок может ввести свою подпись на одном или нескольких мониторах/дисплеях игровой машины 100. При этом подпись захватывается с помощью электроники элементами программного обеспечения электронной подписи, загруженными в память игровой машины 100. Следует обратить внимание на то, что в других примерах программное обеспечение захвата электронной подписи может постоянно находиться в памяти в качестве части программного обеспечения трекинга игрока, если основная игровая машина не поддерживает этой возможности.
В некоторых примерах осуществления настоящего изобретения вводимая подпись может быть использована для идентификации игрока и выполнения специальных услуг в соответствии с личностью игрока. Например, игроку, идентифицируемому как “игрок, играющий по крупному”, казино можно позволить выполнять на игровой машине транзакции с подписью, не доступные для других игроков. В качестве еще одного примера можно привести возможность настройки игровой машины в соответствии с предпочтениями идентифицированного игрока по ведению игры в соответствии с его личностью, определяемой по вводимой подписи. Предпочтения идентифицированного игрока по ведению игры могут храниться на удаленном сервере, участвующем в обмене данными с игровой машиной.
При определенных игровых событиях игровая машина 100 может воспроизводить визуальные и звуковые эффекты, оказывающие на игрока несомненное влияние. Эти эффекты придают игре дополнительный эмоциональный накал, вызывающий у игрока желание продолжить игру. Звуковые эффекты могут представлять собой различные звуки, воспроизводимые динамиками 110, 112, 114. В качестве визуальных эффектов могут быть использованы проблесковые или трассирующие огни или другие картины, воспроизводимые с помощью источников света на игровой машине 100, с помощью ламп, расположенных за защитным стеклом 140, или светового табло на модуле трекинга игрока.
По окончании игры игрок может получить игровые жетоны из лотка для монет 138 или билет 120 из принтера 118, которые могут быть использованы в последующих играх или для выкупа приза. Игрок может также получить из принтера 118 билет 120 на продукты питания, товары или игры. Тип билета 120 может зависеть от игровой истории игрока, зарегистрированной программным обеспечением трекинга игрока в игровой машине 100. В некоторых примерах осуществления эти билеты могут быть использованы игроком для получения игровых услуг в качестве квитанции на транзакции с подписью или для транзакций по игровым услугам, выполняемых на игровой машине.
Игровая машина 100 представляет собой всего лишь один пример из множества вариантов игровых машин, в которых возможно использование настоящего изобретения, и может включать другие устройства ввода подписи, отличные от описанных выше или в дополнение к ним. Например, игровая машина 100 может также включать другие дисплеи с сенсорным экраном, клавиатуру ввода, стилус, порт ввода для приема данных электронной подписи от персонального цифрового секретаря (ПЦС), беспроводный интерфейс, биометрические устройства, цифровую мышь, цифровую перчатку, цифровую камеру, сканер или другое устройство, способное с помощью электроники принимать подпись игрока.
Следует также отметить, что несмотря на то, что одной из форм “подписи” может являться рукописная подпись, подразумевается, что термин “подпись” для целей настоящего изобретения может быть также использован применительно к другим считываемым с помощью электроники отличительным признакам игрока, которые могут стать общепринятыми формами “подписи”, таким как “отпечатки” радужной оболочки глаза, образцы голоса, цифровые изображения, отпечатки пальца, тепловые снимки и т.д., и применяется также к цифровым или электронным формам этих “подписей”, таким как в случае подписи, вводимой от ПЦС в порт на игровой машине.
Кроме того, не все подходящие игровые машины имеют верхние приставки или модули трекинга игрока. Далее, некоторые игровые машины имеют два или более игровых дисплея – механический и/или видео. А некоторые игровые машины предназначены для барных стоек и имеют дисплеи с экраном, обращенным вверх. Более того, некоторые машины могут быть предназначены полностью для безналичных систем. Эти машины не могут содержать таких устройств как банкнотоприемники, монетоприемники и лотки для монет. Вместо этого они могут иметь только устройства считывания билетов, устройства считывания карточек и устройства для выдачи билетов.
В варианте изобретения игра может генерироваться на хост-компьютере и воспроизводиться на удаленном терминале или удаленном компьютере. Удаленный компьютер может быть подключен к хост-компьютеру через сеть какого-либо типа, такую как Internet. Специалистам в данной области техники должно быть очевидно, что настоящее изобретение, как описывается ниже, может быть использовано на большинстве игровых машин, доступных в настоящее время или будущих.
Фиг.2-5 иллюстрируют несколько примеров осуществления настоящего изобретения, обеспечивающих захват электронной подписи и аутентификацию в игровой машине. Следует обратить внимание на то, что для осуществления настоящего изобретения могут быть использованы различные аппаратные средства и архитектуры программного обеспечения и что примеры осуществления изобретения, представленные на Фиг.2-5, носят чисто иллюстративный характер и не ограничивают существа изобретения. Например, в настоящее время во многих архитектурах программное обеспечение игровой машины хранится в ППЗУ или в запоминающем устройстве типа жесткого диска на игровой машине, а в настоящем изобретении, следует обратить внимание, программное обеспечение может храниться и в другом месте, например на игровом сервере, и затем распределяться и выполняться отдельной игровой машиной. Это распределение может осуществляться по системе интрасети или по системе интерсети типа Internet или по другим глобальным, или региональным систем передачи. В любом из примеров осуществления может быть также предусмотрено дальнейшее кодирование и/или физическая защита информации на стадиях захвата, хранения и передачи.
На Фиг.2 представлена блок-схема, иллюстрирующая компоненты игровой машины с возможностью электронной подписи в соответствии с одним из примеров осуществления настоящего изобретения. Для представления одной или более игр на игровой машине 202 используется ведущий игровой контроллер 204. Для обеспечения работы игровых устройств 214, таких как накопители монет, банкнотоприемники, монетоприемники, динамики, принтеры, лампы, дисплеи и механизмы ввода, ведущий игровой контроллер 204 выполняет множество программ игрового программного обеспечения. Для реализации возможности ввода подписи игрока на игровой машине 202 используется одно или более устройств ввода подписи 210. Одно или более устройств ввода подписи 210 могут быть реализованы в виде самых разнообразных устройств, например дисплеев с сенсорным экраном, клавиатур ввода, стилуса, биометрических устройства, порта ввода, который может быть использован для приема вводимой подписи на периферийном устройстве типа любого из упомянутых выше устройств, персонального цифрового секретаря (ПЦС), цифровой мыши, цифровой перчатки, цифровой камеры, сканера, беспроводного интерфейса, других устройств ввода с возможностью приема подписи игрока или сочетаний перечисленных устройств.
В одном из примеров осуществления устройство ввода подписи 210 может осуществлять прием вводимой подписи с сенсорного экрана на карманном устройстве типа персонального цифрового секретаря. Это карманное устройство может устанавливать связь с устройством ввода подписи 210 через беспроводный интерфейс (не показанный). Беспроводный интерфейс может представлять собой инфракрасное или ВЧ-устройство. В памяти игровой машины могут храниться один или более инфракрасных или ВЧ коммуникационных протоколов или комбинаций этих протоколов для обмена данными с карманным устройством через устройство ввода подписи 210.
Ведущий игровой контроллер 204 может выполнять игровое программное обеспечение 212, позволяющее воспроизводить на одном или более дисплеях сложные графические построения, которые могут быть использованы как часть представления результатов игры на игровой машине 202, и может представлять игроку графические пользовательские интерфейсы, требующие ввода подписи пользователя для выполнения транзакции. Ведущий игровой контроллер 204 может также выполнять игровое программное обеспечение, позволяющее обмениваться данными с игровыми устройствами, расположенными вне корпуса игровой машины 202, такими как серверы аутентификации подписи, серверы бронирования, серверы бухгалтерского учета, серверы призов, серверы трекинга игрока и серверы прогрессивных игр (ставки в которых изменяются в зависимости от результата предыдущего хода, прим. пер.). В некоторых примерах осуществления связь с упомянутыми выше игровыми устройствами, также как и с другими устройствами, расположенными вне корпуса игровой машины, может быть осуществлена с помощью главной коммуникационной платы 216. Таким образом, несмотря на то, что Фиг.2 иллюстрирует устройство ввода подписи 210, устанавливающее связь через ведущий игровой контроллер 204, в некоторых примерах осуществления устройство ввода подписи 210 может обмениваться данными непосредственно с программным обеспечением захвата электронной подписи 218 или через другой программный элемент типа программного обеспечения трекинга игрока.
Управление различными программами пакета игрового программного обеспечения, загруженными в оперативную память 206 для выполнения ЦП 208, может осуществляться в виде “процессов” операционной системой, используемой на игровой машине 202. Операционная система может также осуществлять планирование процесса и управление памятью. Примерами операционной системы, которая может быть использована в настоящем изобретении, являются: операционная система QNX компании QNX Software Systems, Ltd. (Каната, Онтарио, Канада); NT, встроенная версия NT и WinCE корпорации Microsoft (Редмонт, Вашингтон); Solaris фирмы Sun Microsystems (Пало Альто, Калифорния.); или свободно распространяемые операционные системы, такие как LINUX, BSD и другие варианты UNIX.
В рассматриваемом примере осуществления устройство ввода подписи 210 осуществляет прием подпись игрока и передает эту подпись как элементы данных подписи в программное обеспечение захвата электронной подписи 218. В одном из примеров осуществления программное обеспечение захвата электронной подписи 218 предназначено по меньшей мере для временного хранения элементов данных подписи в цифровой форме и передаче этих элементов данных подписи в программное обеспечение аутентификации подписи 226 для аутентификации.
Программное обеспечение захвата электронной подписи 218 преобразует подпись, например как элементы данных подписи, в цифровой файл типа компьютерного файла для хранения релевантных данных, соответствующих подписи, таких как графический образ, скорость нанесения и нажим подписи, изображение отпечатка пальца, образец голоса, биометрические данные и т.д., а также имя, номера карточки и время. Программное обеспечение захвата подписи 218 может также затем осуществить шифрование файла подписи. При начальной регистрации программное обеспечение захвата подписи 218 может быть использовано для захвата эталонных подписей с целью хранения в базе данных.
В рассматриваемом примере осуществления программное обеспечение аутентификации электронной подписи 226 аутентифицирует вводимую подпись путем сравнения с электронными подписями, хранимыми в базе данных электронных подписей 220. Программное обеспечение аутентификации 226 может варьироваться в широких пределах по форме и процессу аутентификации вводимой электронной подписи по отношению к электронной подписи, зарегистрированной в базе данных электронных подписей 220.
База данных электронных подписей 220 может сначала расшифровывать полученный файл подписи и масштабировать подпись для сравнения изображения с подписью в базе данных. База данных электронных подписей 220 может также генерировать сигнал подтверждения/неподтверждения относительно транзакции и послать сигнал инициатору запроса на транзакцию, такому как игровая машина, банк, гостиница, агентство по прокату автомобилей и т.д. База данных электронных подписей 220 может также регистрировать транзакцию.
База данных электронных подписей 220 представляет собой среду типа файловой базы данных, хранящей электронную версию электронной подписи игрока для целей аутентификации вводимой электронной подписи игрока в игровой машине или других обычных местах совершения действий, требующих подписи. Форма базы данных электронных подписей 220 может варьироваться в широких пределах. Например, база данных электронных подписей 220 может быть реляционной, одноуровневой и т.д. Далее, система управления базой данных может также варьироваться в широких пределах и принимать запросы к базе данных в различных форматах, например на языке структурированных запросов (SQL), на булевом или естественном языках. В качестве некоторых примеров программного обеспечения баз данных можно назвать Oracle 91 фирмы Oracle (Редвуд Сити, Калифрния.), DB2 компании International Business Machines (Армонк, Нью-Йорк.) и SQL Server, Access корпорации Microsoft (Редмонд, Вашингтон). База данных электронных подписей 220 может также содержать идентифицирующие данные игрока, такие как имя, адрес и т.д., и другие соответствующие данные.
База данных электронных подписей 220 хранит данные, соответствующие подписи, и отвечает на запросы по данным от различных приложений, таких как программное обеспечение бронирования мест в гостинице, программное обеспечение предоставления кредитов на игровой машине (операций снятия со счета/внесения депозитов), программное обеспечение предварительного заказа мест в ресторане и/или программное обеспечение транзакций с банковскими счетами и т.д.
После приема запроса на данные база данных электронных подписей 220 определяет, является ли обращение с запросом санкционированным. В случае санкционированного обращения база данных выполняет поиск запрашиваемой записи, обращение к записи в случае ее обнаружения и регистрацию транзакции.
Следует обратить внимание на то, что ввод данных в базу данных электронных подписей 220 может также варьироваться в широких пределах по форме и формату. Физические компоненты базы данных электронных подписей 220 могут представлять собой одно или более файловых запоминающих устройств, локализованных на игровой машине 202, на других игровых машинах, на специализированном сервере аутентификации электронной подписи, удаленных серверах или их комбинациях, как будет показано на примерах ниже.
В рассматриваемом примере осуществления захват электронной подписи и аутентификация происходят в игровой машине 202 перед установлением связи с приемным сервером 222 для дальнейшей обработки, например, транзакции по бронированию номера в гостинице. Для выполнения транзакции может потребоваться аутентификация, при которой игрок должен будет ввести дополнительную информацию, например ПИН-код.
Кроме того, в рассматриваемом примере осуществления электронная база данных 220 представляет собой локальную базу данных электронных подписей, которая позволяет осуществлять процесс аутентификации локально без необходимости обмена данными с другой базой данных электронных подписей через сеть и, таким образом, предотвратить появление сетевой задержки по времени и избежать обращения к сети. В другом примере осуществления, если согласование электронной подписи не может быть осуществлено локально в базе данных электронных подписей 220, перед обменом данными с приемным сервером 222 программное обеспечение аутентификации электронной подписи 226 может передать электронную подпись в другую базу данных электронных подписей 224, такую как региональная или глобальная база данных, для аутентификации. В некоторых примерах осуществления электронная подпись может быть зашифрована.
На Фиг.3 представлена блок-схема, иллюстрирующая компоненты в игровой машине с возможностью электронной подписи в соответствии с другим примером осуществления настоящего изобретения. Для предоставления игроку возможности ввода своей подписи на игровой машине 302 используется одно или более устройств ввода подписи 310, в состав которых может входить множество устройств, описанных ранее применительно к устройствам ввода 210 на Фиг.2.
В этом примере осуществления программное обеспечение захвата электронной подписи 318 локализовано в игровой машине 302, но аутентификация подписи происходит дистанционно на специализированном сервере аутентификации подписи 324. Таким образом, в одном из примеров осуществления на этапе А программное обеспечение захвата электронной подписи 318 передает данные электронной подписи на сервер аутентификации 324. Сервер аутентификации 324 содержит программное обеспечение аутентификации подписи 326, которое осуществляет сравнение переданных данных подписи и любых других идентифицирующих данных с электронными подписями, хранимыми в базе данных электронных подписей 320, перед обратной передачей подписи в игровую машину 302, выполняемой после аутентификации на этапе В с целью обмена данными с сервером 322 для дальнейшей обработки транзакции с подписью.
Этот пример осуществления может быть использован для обеспечения дополнительной безопасности локализации программного обеспечения аутентификации подписи 326 и базы данных электронных подписей 320, например с помощью физических или защитных мер, таких как блокировки или шифрование. Следует обратить внимание на то, что вместо главной коммуникационной платы 316 для обмена данными может быть использована другая коммуникационная плата (не показано), такая как специализированная коммуникационная плата, которая может иметь специальное шифрование или соответствующие меры защиты.
На Фиг.4 изображена блок-схема, иллюстрирующая компоненты в игровой машине с возможностью электронной подписи в соответствии с третьим примером осуществления настоящего изобретения. Для предоставления игроку возможности ввода своей подписи на игровой машине 402 используется одно или более устройств ввода подписи 410, в состав которых может входить множество устройств, описанных ранее применительно к устройствам ввода 210 на Фиг.2.
В этом примере осуществления программное обеспечение захвата электронной подписи 418 локализовано в игровой машине 402, но программное обеспечение аутентификации подписи 426 и база данных электронных подписей 420 локализованы не на специализированном сервере аутентификации 324, как ранее было показано на Фиг.3, а на центральном сервере 422, с которого осуществляется дальнейшая обработка транзакций с подписью. При этом после аутентификации может быть осуществлена обратная передача подписи в игровую машину 402 для выполнения последующих вычислений, предшествующих обмену данными с другими элементами на сервере 422, или прямая передача подписи на сервер 402 для последующей обработки транзакции с подписью.
На Фиг.5 представлена блок-схема, иллюстрирующая компоненты в игровой машине с возможностью электронной подписи в соответствии с четвертым примером осуществления настоящего изобретения. Для предоставления игроку возможности ввода своей подписи на игровой машине 502 используется одно или более устройств ввода подписи 510, в состав которых может входить множество устройств, описанных ранее применительно к устройствам ввода 210 на Фиг.2.
В этом предпочтительном примере осуществления программное обеспечение захвата электронной подписи 518 является частью программного обеспечения трекинга игрока 524 на игровой машине 502. Программное обеспечение захвата электронной подписи 518 захватывает данные электронной подписи, которые затем передаются вместе с другими данными трекинга игрока на сервер трекинга игрока/бухгалтерского учета 522. В одном из примеров осуществления сервер трекинга игрока 522 содержит программное обеспечение аутентификации 526 и базу данных электронных подписей 520. После аутентификации программное обеспечение аутентификации 526 осуществляет обратную передачу подписи в игровую машину 502 для последующих вычислений или может вместо этого осуществить прямую передачу подписи в программное обеспечение трекинга игрока 528 или другие элементы на сервере трекинга игрока 522 с целью последующей обработки транзакции с подписью.
Перед аутентификацией электронной подписи с помощью программного обеспечения аутентификации электронной подписи создается база данных электронных подписей. База данных электронных подписей может иметь разнообразные формы организации и может содержать разнообразную информацию, соответствующую подписи игрока, ранее описанную со ссылками на Фиг.2.
На Фиг.6 представлена схема последовательности операций, иллюстрирующая процесс подготовки базы данных электронных подписей для использования при аутентификации электронной подписи в соответствии с одним из примеров осуществления настоящего изобретения. Как правило, данные электронной подписи и соответствующие информационные данные типа идентифицирующих данных должны быть сначала введены при регистрации игрока в казино, например в банке казино, киоске казино или офисе, а затем загружены в сервер или игровую машину, поддерживающую базу данных электронных подписей. В некоторых примерах осуществления ввод этой информации может быть осуществлен в процессе саморегистрации на игровой машине.
На начальном этапе операции 602 идентифицирующие данные игрока вводятся в формате, подходящем для включения в базу данных электронных подписей, например как файл или файлы. Эти данные могут варьироваться в широких пределах и представлять собой, например, имя игрока, адрес, номер телефона, а также его номер социального страхования или индивидуальный налоговый номер.
В одном из примеров игрок может заполнить форму, которая затем сканируется в базу данных электронных подписей. Например, программное обеспечение типа OmniPage фирмы ScanSoft (Пибоди, Массачусетс) или подобные продукты фирм Expervision (Фремонт, Калифорния) и Recognita (Будапешт, Венгрия) позволяют осуществлять преобразование почерка в компьютерный текстовый файл. В другом примере могут быть использованы формы Scantron фирмы Scantron (Тустин, Калифорния), которые затем могут быть подвергнуты сканированию. В других примерах может быть использована виртуальная клавиатура на дисплее с сенсорным экраном или данные могут быть введены на ПЦС через ИК- или ВЧ-средства.
На стадии 604 игрок вводит свою подпись как элементы данных электронной подписи в базу данных электронных подписей, в которой данные электронные подписи сопоставлены идентифицирующим данным игрока. Способы получения этих данных электронной подписи и их содержание могут варьироваться в широком диапазоне. В качестве одного из примеров игрок может выполнить рукописную подпись на бумаге или бланке, который затем считывается с помощью электроники или сканируется в файл базы данных. В другом примере игрок может выполнить рукописную подпись с использованием стилуса или кончика своего пальца на клавиатуре ввода, которая при этом получает элементы данных электронной подписи, такие как расположение, форма, скорость нанесения и/или нажим. В другом примере может быть использован стилус, который получает информацию, подобную клавиатуре ввода. В третьем примере, чтобы приблизить процесс нанесения подписи к тому, как это происходит на игровой машине, игрок может выполнить рукописную подпись на мониторе с сенсорным экраном или на другом дисплее, подобном тому, что используется на игровой машине. В четвертом примере игрок может выполнить подпись на клавиатур ввода ПЦС и передать информацию о данных электронной подписи в базу данных электронных подписей. В последующих примерах для ввода своей подписи игрок может использовать мышь, биометрическое устройство или цифровую перчатку.
В некоторых случаях электронная подпись может быть не рукописной, а представлять собой “отпечаток” радужной оболочки глаза, отпечаток пальца, образец голоса, тепловой снимок или цифровое изображение игрока, используемое в качестве электронной подписи. Следует обратить внимание на то, что все рассмотренные случаи представляют собой только примеры доступных для считывания характеристик игрока, причем эти примеры носят чисто иллюстративный характер и не ограничивают существа изобретения.
На стадии 606 подпись захватывается в электронной форме. В предпочтительном варианте захват электронной подписи делается с использованием программного обеспечения, подобного или совместимого с программным обеспечением захвата электронной подписи, используемым на игровой машине.
Для достижения требуемого уровня точности данных электронной подписи операции 604 и 606 можно повторять нужное количество раз. Например, операцию ввода подписи можно повторять до достижения приемлемого предела ошибки в данных электронной подписи, представляющих подпись игрока, которые хранятся в базе данных электронных подписей.
На стадии 608 данные электронной подписи, включая любые данные, такие как идентифицирующие данные игрока, т.е. имя, адрес, номер банковского счета и т.д. сохраняются как файл и загружаются в базу данных электронных подписей для использования при аутентификации электронной подписи, вводимой позднее с игровой машины, имеющей доступ к базе данных электронных подписей.
После создания базы данных электронных подписей электронная подпись может быть введена на игровой машине, как описано на Фиг.1, для аутентификации и использована в транзакции с подписью, выполняемой игровой машиной.
На Фиг.7 представлена схема последовательности операций, иллюстрирующая ввод подписи, захват и аутентификацию электронной подписи в соответствии с одним из примеров осуществления настоящего изобретения. Специалисту в данной области техники должно быть очевидно, что реализации настоящего изобретения предшествуют загрузка различных аппаратных и программных элементов игровой машины, включая элементы программного обеспечения электронной подписи, являющиеся предметом настоящего изобретения, в процессе инициализации и запуск игровой машины. Должны быть также задействованы какие-либо сетевые интерфейсы и соответствующие серверы, участвующие в обмене данными с игровой машиной.
На начальной стадии операции 702 игрок активизирует игровую машину и ее интерфейсы с целью подготовки к приему информации, вводимой игроком. Это может быть осуществлено различными способами. Например, игрок может вставить карточку, например карточку трекинга или другую идентификационную карточку, в игровую машину. В других случаях игрок может нажать кнопку типа “выбор игры”, “игра”, “регистрация”, “вход в систему” или “помощь”. Кроме того, активизация игровой машины может осуществляться голосом. В некоторых примерах осуществления игрок должен будет также ввести идентифицирующую информацию, например какую-нибудь часть своего имени, идентификационный номер игрока или другую базовую идентифицирующую информацию.
На стадии 704 после входа в систему запускается интерфейс пользователя. На стадии 706 игрок выбирает прикладную программу для назначения транзакции. Например, игрок может выбрать одну из нескольких представленных иконок, таких как запуск игры или игр, предоплата за прокат автомобиля, покупка билета на шоу в казино, бронирование места в гостинице, предварительный заказ авиабилета, организация покупки контракта на туристическую поездку, заказ напитка, предварительный заказ обеда, заполнение и/или распечатка электронной формы W2G, предоставление кредита в казино, печать квитанции о выплате наличными, покупка кредитной карточки, покупка товаров, организация электронного перевода платежа (т.е. на электронную машину или с нее) и т.д.
В некоторых примерах осуществления в состав транзакций могут быть включены специальные транзакции по услугам казино. Например, ввод определенной карточки трекинга игрока или идентифицирующей информации может обеспечить службе казино доступ к данным игровой машины, таким как количество вставляемых монет, количество выплачиваемых монет, количество запускаемых игр, конфигурация игровой машины, история джекпотов и сочетания перечисленных данных.
В некоторых примерах осуществления в состав транзакций могут быть включены специальные транзакции по аудиту. Например, ввод определенной карточки трекинга игрока или идентифицирующей информации может обеспечить правительственному должностному лицу доступ к данным, используемым при правительственном аудите, таким как данные о степени соответствии программного обеспечения игровой машины предъявляемым требованиям. В некоторых примерах осуществления ввод определенной карточки трекинга или идентифицирующей информации может обеспечить доступ казино к данным, используемым при аудите, таким как данные о верификации джекпотов, рабочие характеристики игровой машины, параметры конфигурации игровой машины и сочетания перечисленных данных.
После выбора вызывается соответствующая прикладная программа и игрок может выполнять транзакцию. Например, если приложение представляет собой электронный перевод платежей, игрок должен будет также ввести дополнительную информацию по сумме транзакции и т.д.
На стадии 708 игрок с помощью электроники вводит подпись в игровую машину. Как было описано ранее, электрический ввод подписи может быть осуществлен различными способами. Например, игрок может выполнить рукописную подпись своим пальцем или с помощью стилуса на мониторе дисплея с сенсорным экраном в составе игровой машины. Этот монитор с сенсорным экраном может представлять собой главный игровой монитор с дисплеем для воспроизведения игровой видеоинформации или может быть использован другой сенсорный экран на игровой машине, такой как сенсорный экран на модуле трекинга игрока.
В другом примере игрок может вводить свою электронную подпись, используя палец или стилус, на клавиатуре ввода типа графического планшета. В другом примере игрок может вводить электронную подпись на экране дисплея в составе верхней приставки, предназначенной, например, для воспроизведения данных трекинга игрока и вводимых данных. В другом примере игрок может вводить подпись в порт на игровой машине с карманного устройства типа персонального цифрового секретаря (ПЦС), используя для выполнения рукописной подписи, например, кончик своего пальца или стилус. В этом случае игрок должен подключить свой ПЦС к игровой машине, ввести подпись на ПЦС и передать подпись в игровую машину, например, через кабельное соединение или используя волновую форму передачи данных, такую как инфракрасная (ИК). В другом примере игрок может выполнить рукописную подпись на бланке и ввести бланк в сканирующее устройство или подключиться к игровой машине для сканирования подписи. В других примерах осуществления подпись может быть введена с использованием стилуса или биометрического устройства, регистрирующего физические параметры, такого как устройства захвата отпечатка пальца или устройства сканирования радужной оболочки глаза. В некоторых примерах осуществления вместо рукописной подпись может представлять собой “отпечатки” радужной оболочки глаза, образцы голоса, тепловые снимки, отпечатки пальца и цифровые изображения (т.е. полученные с помощью цифровой камеры).
На стадии 710 элементы данных электронной подписи захватываются программным обеспечением захвата электронной подписи. В некоторых примерах осуществления элементы электронной подписи могут временно сохраняться программным обеспечением захвата электронной подписи и шифроваться для передачи.
На стадии 712 данные электронной подписи направляются в программное обеспечение аутентификации электронной подписи. В некоторых примерах осуществления программное обеспечение аутентификации подписи может быть локализовано вместе с программным обеспечением захвата электронной подписи на игровой машине, а в других примерах осуществления оно может быть локализовано отдельно.
На стадии 714 программное обеспечение аутентификации подписи определяет, соответствие данных вводимой электронной подписи границам параметров аутентификации, хранимых в базе данных электронных подписей. Параметры аутентификации программного обеспечения аутентификации подписи могут варьироваться в широких пределах в зависимости от требований по аутентификации подписи, предъявляемых в соответствии с законом и/или в соответствии с действиями, предусматривающими транзакции с электронной подписью в отдельном судебном округе или отдельном казино. Например, вводимая электронная подпись может быть подвергнута сравнению с электронными подписями в базе данных электронных подписей с помощью методов согласования или распознавания образов. Могут быть использованы и другие способы сравнения или в процессе сравнения могут быть использованы такие данные, соответствующие электронной подписи, как скорость нанесения, направление и нажим подписи. При реализации еще одних способов сравнения могут быть использованы другие информационные данные, идентифицирующие игрока, и данные вводимой электронной подписи. Программное обеспечение аутентификации подписи может также выполнять и другие функции, такие как регистрация транзакций и ведение статистики процесса аутентификации.
Как ранее было описано со ссылками на Фиг.2, вводимая электронная подпись вначале может быть подвергнута сравнению с локальной базой данных электронных подписей, а затем в случае полного отсутствия согласования – сравнению с другой базой данных электронных подписей, например с региональной или глобальной базы данных.
Если подлинность вводимой подписи не может быть установлена, то на стадии 716 электронная подпись отклоняется. На стадии 718 в случае подтверждения подлинности подписи осуществляется прием электронной подписи. На стадии 720 программное обеспечение аутентификации подписи генерирует результирующее уведомляющее сообщение, направляемое на стадии 722 в игровую машину. В некоторых примерах осуществления это уведомление может быть направлено вместе с другой информацией с сервера трекинга игрока в программное обеспечения трекинга игрока на игровой машине. Например, если “игрок”, которые вводит подпись, был менеджером нижнего уровня или техником по ремонту, уведомляющее сообщение может содержать информацию, обеспечивающую изменение изображения на дисплее игровой машины, в результате которого на дисплее воспроизводится определенный экран и/или определенная информация, например сводная ведомость квитанций по проводимым играм или режим технического обслуживания игровой машины.
На стадии 724 результирующее уведомление может быть отображено на игровой машине и представлено игроку. Например, оно может быть отображено на дисплее по умолчанию, на дисплее ввода подписи или на дисплее трекинга игрока.
На стадии 726 игровая машина определяет, обозначает ли результирующее уведомление, что транзакция с электронной подписью была недействительной. Это определение осуществляется с участием конфигурации ведущего игрового контроллера, участием игрового программного обеспечения или участием программного обеспечения трекинга игрока. Если транзакция с электронной подписью является недействительной, то на стадии 730 последовательность операций на игровой машине заканчивается. Если транзакция с электронной подписью не была недействительной, т.е. действительной, то на стадии 728 игровая машина запускает игру. В некоторых случаях, как было описано ранее, до начала игры или до завершения транзакции с электронной подписью игрок должен ввести дополнительную информацию, например ПИН-код, для выполнения транзакции с подписью.
Как показано в приведенном выше описании и проиллюстрировано на фигурах, настоящее изобретение позволяет осуществлять ввод электронной подписи на игровой машине, включая захват электронной подписи и аутентификацию. Настоящее изобретение предоставляет игроку возможность выполнения транзакции с подписью на игровой машине, что позволяет снизить влияние факторов, нарушающих темп ведения игры, на игрока, а также уменьшить его зависимость от выбора игровой машины и обеспечивает ему комфорт в казино.
Выше было приведено довольно подробное описание настоящего изобретения, целью которого явилось прояснения сути изобретения. Однако очевидно, что в пределах объема притязаний прилагаемой формулы изобретения в него могут быть внесены определенные изменения и дополнения. Например, несмотря на то, что игровая машины, являющаяся предметом этого изобретения, была снабжена верхней приставкой, установленной на верхней поверхности основного корпуса игровой машины, использование игровых устройств в соответствии с этим изобретением не ограничивается этой приставкой. Например, игровая машина может выполнена без верхней приставки или может иметь дополнительные приставки, или прикрепленные устройства, или иметь вид надстроек к барным стойкам, настольных приставок, или других структур. Далее, месторасположение устройств ввода подписи на игровой машине может варьироваться в широких пределах в различных примерах осуществления. Поэтому изобретение не ограничивается рассмотренными здесь примерами. Кроме того, игровая машина может работать как автономное игровое устройством или в сети с другими игровыми устройствами, включая другие серверы или игровые устройства, со связью через Internet или другие проводные и беспроводные системы.
Формула изобретения
1. Игровая машина, содержащая ведущий игровой контроллер, конфигурированный для управления одной или более играми, запускаемыми на игровой машине, множество игровых устройств, подключенных к игровой машине и участвующих в обмене данными с ведущим игровым контроллером, причем, по меньшей мере, одно из игровых устройств является устройством ввода подписи, конфигурированным для обнаружения рукописной подписи или рукописного знака, вводимого с использованием устройства ввода подписи, и для захвата физических признаков, характеризующих рукописную подпись или рукописный знак, в качестве элементов данных электронной подписи для электронной подписи, причем элементы данных электронной подписи включают в себя, по меньшей мере, захваченную последовательность положений, соответствующих рисунку подписи или знака, и память, конфигурированную для хранения множества элементов программного обеспечения электронной подписи, которые позволяют машине захватывать вводимую электронную подпись на устройстве ввода подписи и аутентифицировать электронную подпись.
2. Игровая машина по п.1, отличающаяся тем, что содержит также программное обеспечение трекинга игрока, причем элементы программного обеспечения электронной подписи локализованы в программном обеспечении трекинга игрока.
3. Игровая машина по п.1, отличающаяся тем, что элементы программного обеспечения электронной подписи содержат также элемент программного обеспечения захвата электронной подписи для приема элементов данных электронной подписи, генерируемых устройством ввода подписи, и для передачи элементов данных подписи в элемент программного обеспечения аутентификации подписи.
4. Игровая машина по п.3, отличающаяся тем, что элементы программного обеспечения электронной подписи содержат также элемент программного обеспечения аутентификации электронной подписи для приема данных электронной подписи от элемента программного обеспечения захвата электронной подписи и для аутентификации данных электронной подписи.
5. Игровая машина по п.4, отличающаяся тем, что содержит также базу данных электронных подписей, участвующую в обмене данными с элементом программного обеспечения аутентификации подписи, причем база данных электронных подписей включает, по меньшей мере, одну подпись, хранимую как один или более элементов данных электронной подписи.
6. Игровая машина по п.4, отличающаяся тем, что элемент программного обеспечения аутентификации подписи участвует в обмене данными с базой данных электронных подписей и аутентифицирует данные электронной подписи на основе сравнения элементов данных вводимой подписи, по меньшей мере, с одной подписью, хранимой как один или более элементов данных электронной подписи в этой базе данных электронных подписей.
7. Игровая машина по п.1, отличающаяся тем, что устройство ввода подписи содержит дисплей с сенсорным экраном, клавиатуру ввода, стилус, сканер, порт ввода, беспроводной интерфейс, мышь, биометрическое устройство, блок формирования цифрового изображения, карманное устройство и цифровую перчатку.
8. Игровая машина по п.1, отличающаяся тем, что база данных электронных подписей включает также информацию, идентифицирующую игрока, подпись которого хранится в базе данных электронных подписей.
9. Игровая машина по п.1, отличающаяся тем, что одна или более игр выбраны из числа таких игр, как видеослоты, механические слоты, видеоблэкджеки, видеопокеры, видеокено, видеобинго, видеопатинко, карточные видеоигры, азартные видеоигры, и их сочетаний.
10. Игровая машина по п.1, отличающаяся тем, что содержит также беспроводной интерфейс для приема информации о подписи от карманного устройства.
11. Игровая машина по п.1, отличающаяся тем, что содержит также элементы игрового программного обеспечения для выполнения транзакции, требующей подписи, на игровой машине.
12. Игровая машина по п.11, отличающаяся тем, что транзакция выбрана из числа таких транзакций, как плата за прокат автомобиля, покупка билета на шоу в казино, бронирование места в гостинице, предварительный заказ авиабилета, покупка туристического пакета, заказ напитка, предварительный заказ обеда, электронная форма W2G, предоставление кредита в казино, выплата наличными, покупка кредитной карточки, покупка товаров и электронный перевод платежей.
13. Игровая машина по п.11, отличающаяся тем, что транзакция представляет собой транзакцию по услугам казино, обеспечивающую доступ к данным игровой машины.
14. Игровая машина по п.13, отличающаяся тем, что данные игровой машины выбраны из числа таких данных, как количество вставляемых монет, количество выплачиваемых монет, количество запускаемых игр, конфигурация игровой машины, история джекпотов, и сочетаний этих данных.
15. Игровая машина по п.11, отличающаяся тем, что транзакция представляет собой транзакцию по аудиту, обеспечивающую доступ к данным, используемым при аудите.
16. Игровая машина по п.15, отличающаяся тем, что транзакция представляет собой транзакцию по правительственному аудиту, обеспечивающую доступ к данным, используемым при правительственном аудите.
17. Игровая машина по п.16, отличающаяся тем, что данные, используемые при правительственном аудите, выбраны из числа таких данных, как данные о степени соответствия программного обеспечения игровой машины предъявляемым требованиям.
18. Игровая машина по п.15, отличающаяся тем, что данные, используемые при аудите, выбраны из числа таких данных, как данные о верификации джекпотов, рабочие характеристики игровой машины, параметры конфигурации игровой машины и сочетаний этих данных.
19. Способ аутентификации вводимой электронной подписи на игровой машине, содержащий операцию конфигурирования дисплея игровой машины в качестве устройства ввода подписи игрока, операцию ввода подписи на устройстве ввода подписи, операцию генерации элементов данных первой электронной подписи, представляющих первую электронную подпись, и операцию аутентификации первой электронной подписи.
20. Способ по п.19, отличающийся тем, что содержит также операцию захвата первой электронной подписи элементом программного обеспечения захвата электронной подписи и операцию передачи первой электронной подписи в элемент программного обеспечения аутентификации электронной подписи для аутентификации.
21. Способ по п.19, отличающийся тем, что содержит также операцию распознавания вводимой подписи, осуществляемую до операции генерации первой электронной подписи.
22. Способ по п.19, отличающийся тем, что содержит также операцию ввода данных, соответствующих подписи, на устройстве ввода, локализованном на игровой машине, и операцию передачи данных, соответствующих подписи, в элемент программного обеспечения аутентификации электронной подписи.
23. Способ по п.20, отличающийся тем, что содержит также операцию приема первой электронной подписи в элементе программного обеспечения аутентификации электронной подписи и сравнения первой электронной подписи, по меньшей мере, со второй электронной подписью, хранимой как элементы данных второй электронной подписи в базе данных электронных подписей.
24. Способ по п.23, отличающийся тем, что содержит также операцию генерации аутентификационного уведомления в элементе программного обеспечения аутентификации подписи и операцию передачи аутентификационного уведомления в игровую машину.
25. Способ по п.24, отличающийся тем, что содержит также операцию принятия решения о необходимости проверки достоверности первой электронной подписи игровой машиной.
26. Способ по п.23, отличающийся тем, что содержит также операцию проверки достоверности первой электронной подписи и операцию запуска игры.
27. Способ по п.23, отличающийся тем, что содержит также операцию проверки достоверности первой электронной подписи и операцию инициирования одной или более операций, требующих проверки достоверности подписи.
28. Способ по п.24, отличающийся тем, что одна или более операций представляет собой электронный перевод платежей, услугу по трекингу игрока и аудит.
29. Способ по п.19, отличающийся тем, что устройство ввода подписи может представлять собой дисплей с сенсорным экраном, клавиатуру ввода, стилус, сканер, порт ввода, беспроводной интерфейс, мышь, биометрическое устройство, блок формирования цифрового изображения, карманное устройство и цифровую перчатку.
30. Способ по п.19, отличающийся тем, что содержит также операцию идентификации имени, присвоенного первой электронной подписи, и операцию обеспечения одной или более специальных услуг, соответствующих идентифицированному имени, на игровой машине.
31. Способ по п.19, отличающийся тем, что содержит также операцию выполнения транзакции, требующей подписи, на игровой машине.
32. Способ по п.31, отличающийся тем, что транзакция выбрана из числа таких транзакций, как плата за прокат автомобиля, покупка билета на шоу в казино, бронирование места в гостинице, предварительный заказ авиабилета, покупка туристического пакета, заказ напитка, предварительный заказ обеда, электронная форма W2G, предоставление кредита в казино, выплата наличными, покупка кредитной карточки, покупка товаров и электронный перевод платежей.
33. Способ по п.31, отличающийся тем, что транзакция представляет собой транзакцию по услугам казино, обеспечивающую доступ к данным игровой машины.
34. Способ по п.31, отличающийся тем, что транзакция представляет собой транзакцию по аудиту, обеспечивающую доступ к данным, используемым при аудите.
35. Сеть игровых машин, содержащая множество файловых запоминающих устройств, хранящих программы пакета игрового программного обеспечения, множество игровых машин, каждая из которых содержит ведущий игровой контроллер, конфигурированный для управления одной или более играми, запускаемыми на игровой машине, множество игровых устройств, подключенных к игровой машине и участвующих в обмене данными с ведущим игровым контроллером, причем, по меньшей мере, одно из игровых устройств является устройством ввода подписи, конфигурированным для обнаружения рукописной подписи или рукописного знака, вводимого с использованием устройства ввода подписи, и для захвата физических признаков, характеризующих рукописную подпись или рукописный знак, в качестве элементов данных для электронной подписи, причем элементы данных электронной подписи включают в себя, по меньшей мере, захваченную последовательность положений, соответствующих рисунку подписи или знака, и память, конфигурированную для хранения множества элементов программного обеспечения электронной подписи, которые позволяют машине захватывать вводимую электронную подпись на устройстве ввода подписи и аутентифицировать электронную подпись, а также сеть, обеспечивающую связь между файловыми запоминающими устройствами и множеством игровых машин.
36. Сеть игровых машин по п.35, отличающаяся тем, что содержит также программное обеспечение трекинга игрока, причем элементы программного обеспечения электронной подписи локализованы в программном обеспечении трекинга игрока.
37. Сеть игровых машин по п.35, отличающаяся тем, что элементы программного обеспечения электронной подписи содержат также элемент программного обеспечения захвата электронной подписи для приема элементов данных электронной подписи, генерируемых устройством ввода подписи, и передачи элементов данных подписи в элемент программного обеспечения аутентификации подписи, и элемент программного обеспечения аутентификации электронной подписи для приема данных электронной подписи от элемента программного обеспечения захвата электронной подписи и аутентификации данных электронной подписи.
38. Сеть игровых машин по п.37, отличающаяся тем, что содержит также базу данных электронных подписей, участвующую в обмене данными с элементом программного обеспечения аутентификации подписи, причем база данных электронных подписей включает, по меньшей мере, одну подпись, хранимую как одни или более элементов данных электронной подписи.
39. Сеть игровых машин по п.37, отличающаяся тем, что элемент программного обеспечения аутентификации подписи участвует в обмене данными с базой данных электронных подписей и аутентифицирует данные электронной подписи на основе сравнения элементов данных вводимой подписи, по меньшей мере, с одной подписью, хранимой как один или более элементов данных электронной подписи в базе данных электронных подписей.
40. Сеть игровых машин по п.37, отличающаяся тем, что устройство ввода подписи содержит дисплей с сенсорным экраном, клавиатуру ввода, стилус, сканер, порт ввода, беспроводной интерфейс, мышь, биометрическое устройство, блок формирования цифрового изображения, карманное устройство и цифровую перчатку.
41. Сеть игровых машин по п.37, отличающаяся тем, что база данных электронных подписей включает также информацию, идентифицирующую игрока, подпись которого хранится в базе данных электронных подписей.
42. Сеть игровых машин по п.35, отличающаяся тем, что содержит также беспроводной интерфейс для приема информации о подписи от карманного устройства.
43. Сеть игровых машин по п.35, отличающаяся тем, что содержит также элементы игрового программного обеспечения для выполнения транзакции, требующей подписи, на игровой машине.
44. Сеть игровых машин по п.43, отличающаяся тем, что транзакция выбрана из числа таких транзакций, как плата за прокат автомобиля, покупка билета на шоу в казино, бронирование места в гостинице, предварительный заказ билета на самолет, покупка туристического пакета, заказ напитка, предварительный заказ обеда, электронная форма W2G, предоставление кредита казино, выплата наличными, покупка кредитной карточки, покупка товаров и электронный перевод платежей.
45. Сеть игровых машин по п.43, отличающаяся тем, что транзакция представляет собой транзакцию по услугам казино, обеспечивающую доступ к данным игровой машины, или транзакцию по правительственному аудиту, обеспечивающую доступ к данным, используемым при правительственном аудите.
46. Компьютерно-читаемый носитель, содержащий команды исполняемой компьютерной программы, которые при исполнении цифровой системой обработки обеспечивают осуществление этой системой способа аутентификации вводимой электронной подписи на игровой машине, причем этот способ содержит операцию конфигурирования дисплея игровой машины в качестве устройства ввода подписи игрока, операцию ввода подписи на устройстве ввода подписи, операцию генерации элементов данных первой электронной подписи, представляющих первую электронную подпись, и операцию аутентификации первой электронной подписи.
47. Компьютерно-читаемый носитель по п.46, отличающийся тем, что указанный способ содержит также операцию захвата первой электронной подписи элементом программного обеспечения захвата электронной подписи и операцию передачи первой электронной подписи в элемент программного обеспечения аутентификации электронной подписи для аутентификации.
48. Компьютерно-читаемый носитель по п.46, отличающийся тем, что указанный способ содержит также операцию распознавания вводимой подписи, осуществляемую до операции генерации первой электронной подписи.
49. Компьютерно-читаемый носитель по п.46, отличающийся тем, что указанный способ содержит также операцию ввода данных, соответствующих подписи, на устройстве ввода, локализованном на игровой машине, и операцию передачи данных, соответствующих подписи, в элемент программного обеспечения аутентификации электронной подписи.
50. Компьютерно-читаемый носитель по п.47, отличающийся тем, что указанный способ содержит также операцию приема первой электронной подписи в элементе программного обеспечения аутентификации электронной подписи и сравнения первой электронной подписи, по меньшей мере, со второй электронной подписью, хранимой как элементы данных второй электронной подписи в базе данных электронных подписей.
51. Компьютерно-читаемый носитель по п.50, отличающийся тем, что указанный способ содержит также операцию генерации аутентификационного уведомления в элементе программного обеспечения аутентификации подписи, и операцию передачи аутентификационного уведомления в игровую машину.
52. Компьютерно-читаемый носитель по п.51, отличающийся тем, что указанный способ содержит также операцию принятия решения о необходимости проверки достоверности первой электронной подписи игровой машиной.
53. Компьютерно-читаемый носитель по п.50, отличающийся тем, что указанный способ содержит также операцию проверки достоверности первой электронной подписи и операцию запуска игры.
54. Компьютерно-читаемый носитель по п.50, отличающийся тем, что указанный способ содержит также операцию проверки достоверности первой электронной подписи и операцию инициирования одной или более операций, требующих проверки достоверности подписи.
55. Компьютерно-читаемый носитель по п.54, отличающийся тем, что одна или более операций представляет собой электронный перевод платежей, услугу по трекингу игрока и аудит.
56. Компьютерно-читаемый носитель по п.46, отличающийся тем, что устройство ввода подписи может представлять собой дисплей с сенсорным экраном, клавиатуру ввода, стилус, сканер, порт ввода, беспроводной интерфейс, мышь, биометрическое устройство, блок формирования цифрового изображения, карманное устройство и цифровую перчатку.
57. Компьютерно-читаемый носитель по п.46, отличающийся тем, что указанный способ содержит также операцию идентификации имени, присвоенного первой электронной подписи, и операцию обеспечения одной или более специальных услуг, соответствующих идентифицированному имени, на игровой машине.
58. Компьютерно-читаемый носитель по п.46, отличающийся тем, что указанный способ содержит также операцию выполнения транзакции, требующей подписи, на игровой машине.
59. Компьютерно-читаемый носитель по п.58, отличающийся тем, что транзакция выбрана из числа таких транзакций, как плата за прокат автомобиля, покупка билета на шоу в казино, бронирование места в гостинице, предварительный заказ авиабилета, покупка туристического пакета, заказ напитка, предварительный заказ обеда, электронная форма W2G, предоставление кредита в казино, выплата наличными, покупка кредитной карточки, покупка товаров и электронный перевод платежей.
60. Компьютерно-читаемый носитель по п.58, отличающийся тем, что транзакция представляет собой транзакцию по услугам казино, обеспечивающую доступ к данным игровой машины, или транзакцию по аудиту, обеспечивающую доступ к данным, используемым при аудите.
РИСУНКИ
TH4A – Переиздание описания изобретения к патенту Российской Федерации
Причина переиздания: Коррекция в тексте описания изобретения и графической части
Извещение опубликовано: 20.05.2008 БИ: 14/2008
|
|