|
|
(21), (22) Заявка: 2006113408/28, 21.04.2006
(24) Дата начала отсчета срока действия патента:
21.04.2006
(46) Опубликовано: 27.02.2008
(56) Список документов, цитированных в отчете о поиске:
WO 01/04610 А2, 18.01.2001. SU 1709493 A1, 30.01.1992. SU 1483409 A1, 30.05.1989. SU 1497593 A1, 30.07.1989. ЕР 0397573 A1, 14.11.1990. GB 815526 А, 24.06.1959.
Адрес для переписки:
124527, Москва, Зеленоград, Солнечная аллея, 1, н/п 60, а/я 2, ЗАО “Телеком-СТВ”
|
(72) Автор(ы):
Алексеев Алексей Валентинович (RU), Гришин Михаил Викторович (RU), Короткевич Аркадий Владимирович (RU), Литвинович Владимир Владимирович (RU), Эйдельман Борис Львович (RU)
(73) Патентообладатель(и):
Закрытое акционерное общество “Телеком-СТВ” (RU)
|
(54) УСТРОЙСТВО ДЛЯ ИЗМЕРЕНИЯ ВРЕМЕНИ ЖИЗНИ НЕОСНОВНЫХ НОСИТЕЛЕЙ ЗАРЯДА В ПОЛУПРОВОДНИКАХ
(57) Реферат:
Предложенное изобретение относится к области измерительной техники, а именно к области измерений электрофизических параметров полупроводниковых материалов с использованием зондирующего электромагнитного излучения высокой частоты, и может быть использовано для определения времени жизни неосновных носителей заряда в кремниевых пластинах и слитках. Целью изобретения является повышение точности и надежности измерения времени жизни. Устройство для измерения времени жизни неосновных носителей заряда в полупроводниках содержит осциллятор высокочастотных электромагнитных колебаний, открытый резонатор электромагнитных колебаний со встроенным в него световодом для подвода светового пучка к поверхности полупроводника, циркулятор, детекторный блок, полупроводниковый лазер, сопряженный со световодом, для генерации электронно-дырочных пар в объеме полупроводника, блок формирования и блок регистрации выходного сигнала с применением компьютера. При этом открытый резонатор представляет собой открытый с одного торца отрезок прямоугольного волновода, в который установлена прямоугольная вставка переменной высоты, монотонно переходящая в плоскость верхней поверхности волновода при приближении к задней стенке резонатора, которая формирует в полости открытого торца резонатора выходную излучающую прямоугольную щель. 2 з.п. ф-лы, 1 ил.
Устройство относится к области измерительной техники, а именно к области измерений электрофизических параметров полупроводниковых материалов с использованием зондирующего электромагнитного излучения высокой частоты, и может быть использовано для определения времени жизни неосновных носителей заряда в кремниевых пластинах и слитках.
Известно устройство для измерения времени жизни неосновных носителей заряда в полупроводниках, состоящее из высокочастотного осциллятора на основе диода Ганна, волноводного тракта для направления электромагнитной волны на поверхность полупроводника, циркулятора электромагнитного поля для выделения отраженной компоненты поля от поверхности полупроводника и направления ее в детекторный узел, полупроводникового лазерного диода для модуляции электрической проводимости приповерхностной области полупроводника, формирователя выходного сигнала и блока обработки выходного сигнала, включая компьютер /1/. Импульсное световое излучение распространяется внутри волноводного канала по диэлектрическому световоду и направляется в локальную область полупроводника, представляющую интерес для исследования.
Импульсное световое излучение генерирует неравновесные носители заряда в полупроводниковой пластине или слитке. Соответственно изменяется коэффициент отражения и прохождения электромагнитной волны в исследуемом полупроводнике за счет взаимодействия со свободными носителями заряда. Волновод, расположенный в непосредственной близости от облучаемой светом поверхности полупроводника, направляет отраженную электромагнитную волну к устройствам регистрации этого излучения с последующим выделением полезного сигнала, несущего информацию относительно процессов релаксации неосновных носителей заряда в приповерхностных областях полупроводника.
Недостатком рассмотренного устройства является применение диода Ганна в качестве возбудителя сверхвысокочастотных колебаний, т.к. в данном случае невозможно получить высокое отношение “сигнал-шум” в осцилляторной системе /2/. Другим недостатком этого устройства является конструктивная громоздкость вследствие использования традиционных узлов высокочастотной техники, включая применение осциллографа для контроля выходного сигнала на выходе детекторного блока. Это предопределяет стационарное использование данного устройства в условиях работы исследовательской лаборатории.
Другим известным устройством является устройство измерения времени жизни неосновных носителей заряда на основе колебательного контура, индуктивно связанного с освещаемой светом поверхностью полупроводника /3/. В состав данного устройства входит колебательный контур, включенный в одно из плеч балансного резистивного моста, сигнал-генератор радиочастоты (900 МГц), полупроводниковый лазер для генерации световых импульсов, усилитель выходного сигнала, сигнальный процессор и компьютер. Переменное напряжение с выхода сигнал-генератора подается на вершины балансного моста, в одно из плеч которого включен колебательный контур. Катушка индуктивности колебательного контура расположена непосредственно над поверхностью исследуемого полупроводника. Резонансная частота колебательного контура подстраивается под частоту сигнал-генератора, при этом резистивные элементы балансного моста подбираются таким образом, чтобы разность электрических напряжений, снимаемых с плеч балансного моста, равнялась нулю при отсутствии освещения полупроводника. В процессе импульсной засветки поверхности полупроводника светом лазера (или другим источником света) возникают неравновесные носители заряда, которые изменяют проводимость приповерхностных слоев полупроводника, меняя при этом характер распределения вихревых токов, наведенных в полупроводнике катушкой индуктивности колебательного контура. Соответственно, изменяется электромагнитное поле и в объеме самой катушки индуктивности. В результате разбаланса импеданса одного из плеч моста появляется разность электрических напряжений на плечах балансного моста, которая отражает характер изменения проводимости исследуемого полупроводника. Особенностью этого устройства является относительная простота его практической реализации.
Недостатком данного устройства является большая область делокализации электромагнитного поля, обусловленная применением катушки идуктивности. Это, в свою очередь, предполагает малую степень локальности измерения времени жизни неосновных носителей заряда на поверхности полупроводника, что делает устройство малопригодным для определения времени жизни неосновных носителей заряда в полупроводниках с резким пространственным изменением времени жизни вдоль поверхности полупроводника (например, в случае исследования границ зерен в поликристаллическом материале).
Наиболее близким по технической сущности и достигаемому результату является устройство с использованием микроволнового излучения X-диапазона (10 ГГц), содержащего следующие элементы конструкции: настраиваемый высокочастотный генератор Х-диапазона с использованием диода Ганна в качестве возбудителя электромагнитных колебаний, коаксиальный волновод, сопряженный с осциллятором и настроенный на частоту колебаний осцилятора (волноводный коаксиальный резонатор), полупроводниковый лазер для возбуждения неравновесных носителей заряда в полупроводниковом материале, циркулятор электромагнитной волны для подвода отраженной от поверхности полупроводника электромагнитной волны к детекторному диоду, периферийные устройства для усиления и обработки выходного сигнала, регистрирующее и управляющее оборудование на базе персонального компьютера /4/. Область засветки лазерным излучением находится в непосредственной близости от приемного среза коаксиального волновода, что позволяет регистрировать отраженную от поверхности полуповодника мощность электромагнитного излучения. В силу малости внешнего диаметра коаксиального волновода ( 2 мм2) данное устройство может применяться для картирования времени жизни по поверхности исследуемого полупроводника.
Недостатком рассмотренного устройства является применение диода Ганна в качестве возбудителя сверхвысокочастотных колебаний. Это, в свою очередь, предполагает большие интенсивности светового потока для обеспечения заметного превышения выходного сигнала над шумовым, что может исказить малосигнальное время жизни неосновных носителей заряда, т.к. этот параметр полупроводника зависит от избыточной концентрации фотогенерируемых носителей заряда.
Другим недостатком этого устройства является необходимость очень точного импедансного согласования высокочастотных трактов устройства. Для этой цели служит дополнительный варактор, меняющий частоту осциллятора при изменении внешних условий (например, температуры) или при изменении расстояния коаксиального волновода от объекта исследования (рассогласование нагрузки). Данное устройство фактически требует непрерывной подстройки частоты высокочастотных колебаний для обеспечения максимальной эффективности работы в изменяющихся условиях проведения измерений. Соответственно, такая установка не может использоваться в качестве компактного переносного устройства.
Целью изобретения является повышение точности и надежности измерения времени жизни.
Это осуществляется за счет того, что в устройстве измерения времени жизни неосновных носителей заряда в полупроводниках, включающем осциллятор высокочастотных электромагнитных колебаний; открытый резонатор электромагнитных колебаний со встроенным в него световодом для подвода светового пучка к поверхности полупроводника, циркулятор, детекторный блок, полупроводниковый лазерный диод, сопряженный со световодом для генерации электронно-дырочных пар в объеме полупроводника, блок формирования и блок регистрации выходного сигнала с применением вычислительной техники,
– для обеспечения согласования устройства с нагрузкой с одновременным обеспечением локальности измерений применяется открытый резонатор, представляющий собой открытый с одного торца отрезок волновода, имеющего прямоугольную вставку (выступ) переменной высоты монотонно переходящую в плоскость верхней поверхности волновода при приближении к задней стенке резонатора, которая формирует в полости открытого торца резонатора выходную излучающую прямоугольную щель;
– осциллятор, световод, резонатор и блок предварительного усиления полезного сигнала объединяются в компактный единый выносной комплекс, соединенный с управляющим и отображающим информацию компьютером гибким кабелем, что позволяет использовать заявляемое устройство в переносном варианте для определения времени жизни неосновных носителей заряда в полупроводниках, позволящем экспрессно проводить измерения времени жизни неосновных носителей заряда;
– для увеличения отношения “сигнал-шум” в осцилляторном блоке применяется малошумящий высокочастотный транзистор.
Микрополосковый сверхвысокочастотный осциллятор (Х-диапазон, 10 ГГц) содержит в качестве активного устройства полупроводниковый полевой транзистор (GaAs), обладающий меньшим коэффициентом шума по сравнению с диодами Ганна или лавинно-пролетными диодами, а конструкция резонатора представляет собой открытый с одного торца отрезок прямоугольного волновода, имеющего прямоугольную вставку переменной высоты, которая формирует в полости открытого торца резонатора выходную излучающую прямоугольную щель. Прямоугольная вставка монотонно переходит в плоскость верхней поверхности прямоугольного волновода при приближении к задней стенке резонатора.
Наличие в резонаторе прямоугольной вставки переменной высоты, формирующей выходную излучательную щель, обеспечивает устойчивость генерации высокочастотных электромагнитных колебаний в области волновода и всего устройства в целом при резких изменениях внешних условий или быстрых изменениях нагрузочных характеристик в процессе проведения измерений. Фактически такая конструкция резонатора обеспечивает широкополосное согласование волновода со всей электромагнитной системой – при изменении внешних условий всегда имеется возможность поддержки высокочастотных колебаний путем перехода на новую моду генерации электромагнитных волн того или иного типа внутри резонаторного объема с максимальной концентрацией поля в области излучательной щели. Такое решение делает устройство надежным в работе (не наблюдается срыва генерации высокочастотных колебаний электромагнитного поля), что, в свою очередь, позволяет комбинировать все блоки в одно целое, а все устройство становится компактным и переносным.
Новизна заявляемого изобретения обуславливается тем, что применение малошумящих активных устройств для генерации высокочастотных колебаний позволяет измерять малые изменения проводимости полупроводника под действием светового потока, что обеспечивает проведение измерений во всем интересующем интервале зондирующих световых потоков. Применение оригинальной волноводной схемы позволяет добиться высокой устойчивости генерации электромагнитных волн и, как следствие, высокой надежности работы заявляемого устройства. В совокупности все это позволяет реализовывать надежные и переносные устройства для измерения времени жизни неосновных носителей заряда в полупроводниках.
В известных науке и технике решениях аналогичной задачи не обнаружено применение волноводного тракта заявляемой конструкции, также не обнаружено решений, направленных на создание устройств для измерения времени жизни неосновных носителей заряда переносного типа. На основании этого можно сделать вывод о соответствии заявляемого решения критерию “Изобретательский уровень”.
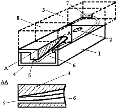
На чертеже схематически представлен резонатор,
где 1 – резонатор;
2 – отверстие для подвода электромагнитной энергии;
3 – осциллятор;
4 – прямоугольная вставка переменной высоты;
5 – открытый торец резонатора;
6 – световод;
7 – полупроводниковый лазер;
8 – блок предварительного усиления.
Открытый резонатор 1 представляет собой прямоугольную полую металлическую коробку заданных размеров, в верхней части которой имеется отверстие 2 для подвода электромагнитной энергии (штыревой ввод), генерируемой осциллятором 3, сопряженным с циркулятором для согласования амплитуды колебаний, установленным в районе отверстия 2 (не показан). Соответственно, внутри резонатора возникает стационарное распределение электромагнитного поля. При наличии прямоугольной вставки 4 переменной высоты напряженность электрического поля монотонно увеличивается по направлению к открытой части резонатора, достигая максимального значения на торце 5. Световое излучение к поверхности полупроводника подводится по световоду 6, сопряженному с полупроводниковым лазером 7 и непосредственно вставленному в щель резонатора, обеспечивая максимальную локальность измерения времени жизни. Отраженная от поверхности полупроводника электромагнитная волна модулирует напряженность поля в щели, вызывая изменение волнового поля в резонаторе, и, как следствие, вызывает появление электрического сигнала в детекторной цепи устройства, который усиливается и обрабатывается в блоке предварительного усиления 8.
Устройство работает следующим образом. Электромагнитное поле, генерируемое СВЧ осциллятором, через штыревой ввод направляется в полую область волновода, геометрически или резонансно согласованную с частотой генератора (осциллятора). Электромагнитное поле в области щелевого резонатора достигает своего максимального значения с линиями электрического поля, направленными перпендикулярно щели. Поле впоследствии излучается в окружающее пространство вне волноводного тракта. При внесении в волновое поле объекта измерения (кремниевой пластины или кремниевого слитка) от объекта распространяется отраженная электромагнитная волна. В свою очередь, эта волна меняет напряженность электромагнитного поля в области щели, вызывая сдвиг частоты и фазы осцилляторного устройства, что приводит к появлению электрического сигнала в детекторном тракте осциллятора. Этот сигнал усиливается и переводится в цифровую форму в соответствии с программой, заложенной в компьютере. При освещении измеряемого объекта светом лазерного диода происходит модуляция проводимости полупроводникового объекта, которая также регистрируется детекторным блоком с последующим представлением в удобной цифровой форме. Временные изменения проводимости (спад проводимости) после воздействия импульса светового излучения представляют собой основной параметр при анализе качества полупроводникового материала, из которого вычисляется эффективное время жизни неосновных носителей заряда.
Использование схемотехнических и конструктивных решений, приведенных выше, позволяет в отличие от известных в литературе устройств реализовывать переносные измерительные устройства для контроля времени жизни неосновных ностелей заряда в полупроводниках. Это является положительным эффектом, т.к. позволяет применять заявляемое устройство непосредственно в отдаленных помещениях при контроле того или иного полупроводникового материала или быстро и практически беззатратно применять заявляемое устройство в технологических линиях производства полупроводниковой продукции.
Это обусловлено оригинальной конструктивной особенностью волноводного тракта вместе с применением малошумящих активных полупроводниковых приборов, что делает возможным интеграцию всех блоков заявляемого измерительного устройства в единое компактное и переносное измерительное устройство.
Источники информации
1. Патент США № 5047713
2. С. Зи, “Физика полупроводниковых приборов”, кн. 2, стр.264. М.: Мир, 1984.
3. Патент США № 6369603.
4. Патент ВОИС WO 01/04610 – прототип.
Формула изобретения
1. Устройство для измерения времени жизни неосновных носителей заряда в полупроводниках, включающее осциллятор высокочастотных электромагнитных колебаний, открытый резонатор электромагнитных колебаний со встроенным в него световодом для подвода светового пучка к поверхности полупроводника, циркулятор, детекторный блок, полупроводниковый лазер, сопряженный со световодом, для генерации электронно-дырочных пар в объеме полупроводника, блок формирования и блок регистрации выходного сигнала с применением компьютера, отличающееся тем, что открытый резонатор представляет собой открытый с одного торца отрезок прямоугольного волновода, в который установлена прямоугольная вставка переменной высоты, монотонно переходящая в плоскость верхней поверхности волновода при приближении к задней стенке резонатора, которая формирует в полости открытого торца резонатора выходную излучающую прямоугольную щель.
2. Устройство по п.1, отличающееся тем, что осциллятор, световод, резонатор, предварительный усилитель полезного сигнала объединены в единый блок, соединенный гибким кабелем с управляющим и отображающим информацию компьютером.
3. Устройство по п.1, отличающееся тем, что в осцилляторе использован малошумящий высокочастотный транзистор.
РИСУНКИ
|
|