|
|
(21), (22) Заявка: 2006119768/28, 05.06.2006
(24) Дата начала отсчета срока действия патента:
05.06.2006
(46) Опубликовано: 27.02.2008
(56) Список документов, цитированных в отчете о поиске:
RU 2169361 C1, 20.06.2001. RU 2122187 C1, 20.04Л998. SU 1390557 A1, 23.04.1988. SU 957079 A, 07.09.1982.
Адрес для переписки:
410780, г.Саратов, Лопатина гора, 7, ООО Завод “Саратовгазавтоматика”
|
(72) Автор(ы):
Губанов Александр Георгиевич (RU), Деревягин Александр Михайлович (RU), Кузнецов Сергей Анатольевич (RU), Новиков Камиль Михайлович (RU)
(73) Патентообладатель(и):
ООО Завод “Саратовгазавтоматика” (RU)
|
(54) КАЛОРИМЕТРИЧЕСКИЙ СПОСОБ ИЗМЕРЕНИЯ ТЕПЛОТЫ СГОРАНИЯ ПРИРОДНОГО ГАЗА И ДРУГИХ ВИДОВ ГАЗООБРАЗНОГО ТОПЛИВА
(57) Реферат:
Изобретение относится к области теплофизических измерений. В способе сжигание газа производят на поверхности катализатора, нанесенного на калориметрическое вещество, в качестве которого используют металл с изменяющимся от температуры электрическим сопротивлением. Через калориметрическое вещество, расположенное в камере сгорания, пропускают электрический ток и нагревают катализатор до температуры, при которой происходит каталитический процесс окисления газа с выделением теплоты. Уменьшая электрическую мощность, расходуемую на нагрев, добиваются снижения температуры калориметрического вещества, а теплоту сгорания природного газа определяют по изменению электрической мощности, необходимой для поддержания постоянной температуры калориметрического вещества. Технический результат – упрощение способа и снижение длительности измерений. 1 з.п. ф-лы, 1 ил.
Изобретение относится к области теплофизических измерений и может быть использовано для определения теплоты сгорания природного газа и других видов газообразного топлива.
Известен способ измерения теплоты сгорания природного газа газовым хроматографом, который на основании анализа состава природного газа позволяет рассчитывать его теплоту сгорания. Этот метод определения калорийности природного газа является в настоящее время основным при его добыче и распределении. (International Standart ISO 6976:1996. Natural Gas – Calculation of calorific value, density, relative and Wobbe index from composition. International Organisation for Standartization. 1996.).
Газовый хроматограф позволяет, при определенных допущениях, производить расчет энергии сгорания природного газа с погрешностью, равной 0,1%. Указанная погрешность расчета получается при допущении, что значения энергии сгорания индивидуальных компонентов, входящих в состав природного газа, известны с такой высокой точностью, что их неопределенность не оказывает уже влияния на суммарную погрешность расчета. В действительности это допущение не выполняется. При этом наибольший вклад вносит погрешность измерения энергии сгорания метана, являющегося основным компонентом природного газа с концентрацией не менее 80%.
Известен калориметрический способ измерения энергии сгорания газообразного топлива и других легколетучих органических соединений [патент РФ №2122187, опубликован 20.11.1998 г.], основанный на измерении тепловой энергии, выделившейся в калориметрическом сосуде при сгорании газообразного топлива. Тепловую энергию аккумулируют в калориметрическом сосуде за счет плавления части введенного в сосуд калориметрического вещества. При этом поддерживают постоянной температуру оболочки калориметра, затем осуществляют кристаллизацию расплавившегося вещества. С помощью батареи дифференциальных термопар измеряют тепловой поток от калориметрического сосуда к окружающей его термостатируемой оболочке. Об энергии сгорания газа судят по величине измеренного теплового потока.
Однако данный способ также имеет ряд факторов, влияющих на погрешность измерения. Погрешность измерения можно уменьшить до желаемого предела, увеличив число опытов в каждой серии измерений, что требует весьма продолжительного времени, необходимого для определения теплоты сгорания. За счет этого усложняется сам способ измерения. При этом продолжительность времени измерения экспоненциально возрастает с повышением требований к точности измерений теплового потока, обусловленного кристаллизацией калориметрического вещества. Так, например, для измерения теплоты кристаллизации с погрешностью 0,1% требуются 8 часов.
Наиболее близким решением, выбранным в качестве прототипа, является калориметрический способ измерения теплоты сгорания природного газа и других видов газообразного топлива [патент РФ №2169361, опубликован 20.06.2001 г.].
Согласно этому способу в термостате размещают калориметрический сосуд с камерой сгорания и калориметрическим веществом. Камеру сгорания продувают окислителем и исследуемым газом, а тепловую энергию, выделившуюся в калориметрическом сосуде при сгорании исследуемого газа, используют для полного плавления введенного в сосуд калориметрического вещества. Процесс плавления проводят в заданном температурном интервале, симметричном относительно температуры плавления калориметрического вещества, поддерживая при этом температуру оболочки калориметрического сосуда, равной температуре плавления калориметрического вещества. Теплота сгорания исследуемого газа равна тепловой энергии, необходимой для нагревания калориметрического вещества в заданном температурном интервале и установленной в процессе электрической градуировке калориметра.
Данный способ имеет достаточно высокую точность измерения теплоты сгорания, однако он весьма сложен в реализации и характеризуется длительным временем измерения, что связано с использованием процесса плавления калориметрического вещества.
Задачей, на решение которой направлено заявленное изобретение, является упрощение способа определения теплоты сгорания и снижение времени измерения.
Предлагаемый калориметрический способ измерения теплоты сгорания природного газа включает размещение камеры сгорания и калориметрического вещества в термостате, продувание камеры сгорания окислителем и исследуемым газом, сжигание в камере сгорания исследуемого газа и использование выделяющейся при сгорании теплоты для нагревания калориметрического вещества.
В отличие от известного способа калориметрическое вещество помещают в камеру сгорания и сжигание газа производят на поверхности катализатора, нанесенного на калориметрическое вещество. В качестве калориметрического вещества используют металл с изменяющимся от температуры электрическим сопротивлением, например платину.
Через калориметрическое вещество пропускают электрический ток и нагревают калориметрическое вещество и катализатор до температуры, при которой происходит каталитический процесс окисления газа. Теплоту сгорания природного газа определяют по снижению мощности, необходимой для поддержания постоянной температуры калориметрического вещества.
Технический результат, получаемый при осуществлении изобретения, заключается в упрощении способа и снижении времени измерения за счет использования в предлагаемом способе технологий современной микросистемой техники.
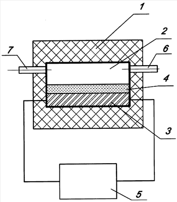
Способ поясняется чертежом, где представлено устройство для реализации предлагаемого способа.
Устройство для реализации предлагаемого способа (см. чертеж) состоит из термостата 1, камеры сгорания 2, калориметрического вещества 3, катализатора 4, регулирующего устройства 5, которое обеспечивает пропускание электрического тока через калориметрическое вещество, измерение его температуры и регулирование электрической мощности, патрубка 6 для подвода смеси природного газа и окислителя, патрубка 7 для удаления продуктов сгорания.
Предлагаемый способ реализуется следующим образом.
Калориметрическое вещество 3, с нанесенными на его поверхности катализатором 4, помещают в специальный корпус, который образует камеру сгорания 2 с узлами механического крепления и патрубками для подвода смеси природного газа и окислителя 6 и отвода продуктов сгорания 7. Камеру сгорания 2 помещают в пассивный или активный термостат 1 для обеспечения условий адиабатичности относительно внешней среды.
В качестве калориметрического вещества используют, например, платину, электрическое сопротивление которой увеличивается при увеличении температуры. Над поверхностью катализатора 4, расположенного в камере сгорания 2, через патрубки 6, 7 непрерывно пропускают смесь природного газа и окислителя (например, кислорода). Смесь подается с заданным, постоянным расходом и объемным соотношением природного газа и окислителя. Через калориметрическое вещество 3 начинают пропускать электрический ток от регулирующего устройства 5, в результате чего в соответствии с законом Джоуля – Ленца в объеме калориметрического вещества выделяется тепловая энергия, мощность которой P=I2R, где I – ток, протекающий через калориметрическое вещество; R – сопротивление калориметрического вещества. Выделяющаяся в калориметрическом веществе мощность расходуется на нагрев калориметрического вещества и катализатора. Увеличивая величину электрического тока с помощью регулирующего устройства 5, разогревают калориметрическое вещество и катализатор до температуры tк, при которой начинается процесс каталитического горения. Температуру tк и электрическую мощность P1 фиксируют. В процессе каталитического окисления газа происходит выделение дополнительной теплоты (теплоты сгорания) и, соответственно, повышение температуры калориметрического вещества и его сопротивления. Затем уменьшают электрический ток I и, соответственно, электрическую мощность, расходуемую на нагрев калориметрического вещества, добиваясь снижения температуры калориметрического вещества до первоначально зафиксированного значения tк. Поддерживая данную температуру постоянной, фиксируют электрическую мощность Р2.
Теплоту сгорания определяют по формуле:
Q=k(P1-Р2),
где Q – теплота сгорания газа, P1 – мощность, расходуемая на нагрев каталитического вещества до начала каталитического горения, P2 – мощность, расходуемая на нагрев каталитического вещества в процессе каталитического горения, k – калибровочный коэффициент.
В общем случае калориметрическое вещество вместе с катализатором может быть получено, например, путем нанесения вакуумным напылением на кремниевую основу, слоя платины необходимой толщины с последующим ионным травлением и нанесением слоя катализатора. Сформированный таким образом калориметрический чувствительный элемент имеет весьма малые размеры (менее 10-9 м3), соответственно уменьшаются постоянные времени таких нестационарных процессов, как нагрев и охлаждение калориметрического вещества, и, соответственно, снижается необходимое время измерения, что позволяет сократить процедуру измерения и упростить весь способ.
При необходимости устройство для измерения теплоты сгорания может быть оснащено дополнительными сервисными элементами: управляющим микроконтроллером, системами контроля температуры и давления, стабилизации расхода и т.д., что позволяет полностью автоматизировать процесс определения теплоты сгорания.
Формула изобретения
1. Калориметрический способ измерения теплоты сгорания природного газа и других видов газообразного топлива, включающий размещение камеры сгорания и калориметрического вещества в термостате, продувание камеры сгорания окислителем и исследуемым газом, сжигание в камере исследуемого газа и использование выделяющейся при сгорании теплоты для нагревания калориметрического вещества, отличающийся тем, что калориметрическое вещество помещают в камеру сгорания, сжигание газа производят на поверхности катализатора, нанесенного на калориметрическое вещество, в качестве которого используют металл с изменяющимся от температуры электрическим сопротивлением, через калориметрическое вещество пропускают электрический ток и нагревают катализатор до температуры, при которой происходит каталитический процесс окисления газа, а теплоту сгорания природного газа определяют по изменению мощности, необходимой для поддержания постоянной температуры калориметрического вещества.
2. Способ по п.1, отличающийся тем, что в качестве калориметрического вещества используют платину.
РИСУНКИ
|
|