|
|
(21), (22) Заявка: 2004133038/28, 10.04.2003
(24) Дата начала отсчета срока действия патента:
10.04.2003
(30) Конвенционный приоритет:
10.04.2002 US 10/119,492
(43) Дата публикации заявки: 10.08.2005
(46) Опубликовано: 27.02.2008
(56) Список документов, цитированных в отчете о поиске:
SU 163390 А, 22.04.1963. SU 1286960 A1, 30.01.1987. GB 2071354 А, 16.09.1981. US 2807976 A, 01.10.1957. JP 1018919 A, 04.12.1998.
(85) Дата перевода заявки PCT на национальную фазу:
10.11.2004
(86) Заявка PCT:
US 03/011095 (10.04.2003)
(87) Публикация PCT:
WO 03/087788 (23.10.2003)
Адрес для переписки:
101000, Москва, М.Златоустинский пер., 10, кв.15, “ЕВРОМАРКПАТ”, пат.пов. И.А.Веселицкой, рег. № 11
|
(72) Автор(ы):
ДИФОДЖИО Рокко (US), УОЛКОВ Арнолд М. (US), БЕРГРЕН Пол А. (US)
(73) Патентообладатель(и):
БЕЙКЕР ХЬЮЗ ИНКОРПОРЕЙТЕД (US)
|
(54) АППАРАТУРА И СПОСОБ ИЗМЕРЕНИЯ ПОКАЗАТЕЛЯ ПРЕЛОМЛЕНИЯ ПЛАСТОВОГО ФЛЮИДА
(57) Реферат:
Заявлен способ и устройство для измерения показателя преломления пробы пластового флюида. Устройство для измерения показателя преломления пробы пластового флюида содержит первый пропускающий свет стержень, через который на пробу направляют свет, второй пропускающий свет стержень, в котором собирается свет, отраженный от исследуемой пробы, при этом лежащие в одной плоскости первый и второй стержни наклонены под углом не более 4° к проходящему между ними на равном от них расстоянии перпендикуляру к поверхности пробы, канал, сообщающийся с пластом, из которого для анализа отбирают пробу флюида, источник света, направленного к поверхности раздела между первой стенкой канала и находящейся в нем пробой, и электронную систему анализа, предназначенную для непрерывного измерения посредством рефрактометра светового сигнала, отраженного от поверхности пробы на границе между пробой и стенкой канала. Технический результат: обеспечение непрерывного измерения с высокой точностью показателя преломления пробы. 2 н. и 23 з.п. ф-лы, 8 ил.
Область, к которой относится изобретение
Настоящее изобретение относится к скважинной рефрактометрии и спектроскопии. Изобретение относится, в частности, к робастной аппаратуре и способу непрерывного, а не дискретного измерения показателя преломления флюидов, измерения спектра ослабленного отраженного света и интерпретации полученных с помощью такой аппаратуры результатов измерений для определения целого ряда параметров пластового флюида. Предлагаемые в изобретении рефрактометр и спектрометр ослабленного отраженного света имеют простую конструкцию и поэтому могут успешно использоваться для проведения измерений в стволе скважины.
Предпосылки создания изобретения.
В настоящее время нефтяные и газовые компании несут исключительно высокие расходы на разработку новых месторождений углеводородов. Пробуренные в наиболее перспективных местах скважины используют не только для поиска углеводородов, но и для определения их свойств.
Для разработки глубоких морских месторождений сначала необходимо потратить несколько лет на строительство очень дорогих платформ с различным оборудованием для добычи нефти и газа. Технические нормы на проектирование и стоимость материалов, используемых при изготовлении такого оборудования, в значительной степени зависят от таких свойств добываемых углеводородов, как отношение газа к нефти, вязкость, давление начала кипения, давление осаждения асфальтенов и т.п. Пробуренная разведочная скважина обычно забивается и в течение сравнительно небольшого времени не эксплуатируется. Однако полученную на ней информацию часто используют в течение всего периода разработки открытого газового или нефтяного месторождения.
Для определения свойств углеводородов нефтяные и газовые компании часто берут пробы углеводородов из разведочной скважины. Для этого в скважину обычно на тросе опускают специальную аппаратуру, предназначенную для опробования пласта, такую как Baker Atlas Reservoir Characterization Instrument (RCI).
В начальный момент отбираемые пробы флюидов в значительной степени загрязнены различного рода фильтратами жидкости (“грязью”), которую использовали во время бурения. Для получения достаточно чистых образцов (обычно с загрязнением менее 10%) и достоверных данных о свойствах углеводородов пластовые флюиды обычно качают из скважины в течение 30-90 мин, контролируя их степень очистки в реальном масштабе времени. Взятые после очистки пробы флюидов собирают в подземных резервуарах и используют для последующего анализа в лабораторных условиях на поверхности земли.
Иногда анализ некоторых свойств проб выполняют непосредственно в скважине в реальном масштабе времени. Настоящее изобретение относится и к анализу очищенных проб, и к анализу проб непосредственно в скважине в естественных по температуре и давлению условиях.
Расположенные в скважине средства измерений работают в трудных условиях. Такие средства измерений должны работать в экстремальных условиях и ограниченном пространстве внутри находящегося под давлением корпуса прибора, при повышенных температурах, вибрациях и ударных нагрузках.
Оба патента US 5167149 и US 5201220, выданные на имя Mullins и др., озаглавлены “Apparatus and Method for Defining the Presence of Gas in a Borehole Flow Stream” (“Аппаратура и способ определения наличия газа в потоке скважинной жидкости”). Предлагаемая в этих патентах аппаратура содержит 8-канальный скважинный рефрактометр с критическим углом падения (углом полной поляризации, или углом Брюстера), позволяющий зафиксировать разницу между газом и жидкостью и оценить процентное содержание в жидкости газа.
Обычно для измерения показателя преломления темных жидкостей (таких как грубая нефть) используют рефрактометр с предельным углом падения. Рассеянный луч света проходит через прозрачное твердое тело (например стекло) и попадает на поверхность раздела между прозрачным твердым телом и исследуемой жидкостью, которая находится в контакте с прозрачным телом. Отраженный рассеянный луч на углах, близких к нормали к поверхности, становится более темным. На этих углах часть света проходит (преломляется) в жидкость.
Отраженный рассеянный луч имеет большую яркость на углах скольжения. Начиная с угла Брюстера, любой падающий поляризованный параллельно плоскости падения свет не имеет потерь на отражение. Начиная с критического угла, весь свет независимо от его поляризации не имеет потерь на отражение и полностью на все 100% отражается от поверхности раздела и не проходит в жидкость.
Критический угол для преломленного света, переходящего из среды n0 в среду n1, можно вычислить в соответствии с законом Снелла по формуле no sin 0=n1sin 1. Максимально возможный угол преломления (измеренный к нормали к поверхности раздела) равняется 90°, и, подставив 1=90° в формулу Снелла, можно вычислить критический угол с=n1arcsin(n1/n0).
На критическом угле происходит большое изменение интенсивности отраженного света (граница яркость/темнота), которое можно определить при использовании подвижного детектора или упорядоченного набора стационарных фотодетекторов. Необходимость в использовании даже одного подвижного детектора существенно усложняет конструкцию скважины.
Для определения критического угла в лабораторных приборах обычно используют наборы из 1024 или более стационарных фотодетекторов. Однако непосредственное использование лабораторных приборов в скважине связано со значительными проблемами из-за того, что встроенные в набор фотодетекторов мультиплексоры, как правило, не работают при температуре выше 95°С. Даже при использовании высокотемпературных мультиплексоров, собранных в один блок, мультиплексирование большого количества очень слабых сигналов при повышенной температуре в скважине оказывается весьма проблематичным. Поэтому в скважинном рефрактометре с критическим углом можно использовать только небольшое количество, например всего 8 фотодетекторов. Очевидно, что в 8-канальном рефрактометре, описанном в упомянутых выше патентах US 5167149 и US 5201220, показатель преломления измеряется не непрерывно, а дискретно по сигналам 8-ми фотодетекторов.
При измерении показателя преломления в грубом, 8-кратном шаговом режиме оператору сложно управлять процессом очистки пробы. Процесс очистки пробы заключается в переходе от загрязненной фильтратом жидкости к почти чистым пластовым флюидам, откачиваемым с определенной глубины скважины.
При грубом измерении показателя преломления управлять процессом тонкой очистки практически невозможно. Именно этим и объясняется необходимость в разработке способа и аппаратуры для непрерывного измерения показателя преломления, позволяющих оператору с высокой точностью контролировать показатель преломления пробы, отбираемой для анализа из определенного пласта.
Краткое изложение сущности изобретения.
В настоящем изобретении предлагается непрерывный способ измерения показателя преломления. Преимущество контроля степени очистки анализируемого флюида с использованием непрерывного измерения показателя преломления связано с тем, что показатель преломления гораздо менее чувствителен к наличию песка или других частиц, которые могут вызвать внезапные ложные выбросы (“прыжки”) оптической плотности во всем спектре скважинного спектрометра.
Предлагаемый в настоящем изобретении рефрактометр, который исследует жидкость только на расстоянии нескольких длин волн проходящего через окно света и поэтому не реагирует на частицы, которые проходят через камеру размером 2 мм, менее чувствителен к наличию в анализируемом флюиде отдельных частиц. В пределах нескольких длин волн света в окне находится мало частиц отчасти потому, что частицы и окно покрыты слоем жидкости, толщина которого составляет по меньшей мере несколько длин волн света.
Предлагаемый в настоящем изобретении прибор не требует измерения критического угла падения. Кроме того, его можно использовать в качестве спектрометра ослабленного отраженного света.
В настоящем изобретении, основанном на непрерывном измерении показателя преломления, предлагаются способ работы и простая конструкция рефрактометра, обеспечивающего возможность надежной и точной работы в условиях скважины. В одном из вариантов осуществления настоящего изобретения в нем предлагается новый способ интерпретации измерений, полученных с помощью предлагаемого в нем рефрактометра. В другом варианте осуществления настоящего изобретения в нем предлагается способ работы и аппаратура, позволяющие отличать газ от жидкости на основании существенно более низкого показателя преломления газа. Еще в одном варианте осуществления настоящего изобретения предлагается способ определения показателя преломления в стволе скважины или пластовом флюиде путем использования части светового потока R, отраженного средой, находящейся между прозрачным окном и стволом скважины или пластовым флюидом. Кроме того, настоящее изобретение можно при снижении давления пробы использовать для определения температуры начала кипения и температуры конденсации пластового флюида, а также для точного определения большого числа других свойств пласта. Настоящее изобретение можно также использовать для определения спектра поглощения флюидов в диапазонах сильного ослабления света.
Диапазоны сильного ослабления света включают асфальтеновый пик (из-за электронных переходов) в видимой области и ближней (длинноволновой) ИК-области спектра, а также сильные молекулярные вибрационные пики в средней (средневолновой) ИК-области спектра (в которой поглощение может в 100 раз превышать соответствующие пики поглощения в ближней (длинноволновой) ИК-области спектра) или в ближней (длинноволновой) ИК-области спектра. По существу такой спектр является слишком ослабленным для того, чтобы его можно было измерить с помощью пропускающего спектроскопа с длиной пути луча, равной 2 мм.
Среднюю (средневолновую) ИК-область спектра часто называют областью “отпечатков пальцев” ИК спектроскопии, поскольку именно в этом диапазоне небольшие химические различия часто могут стать особенно заметными. ИК-спектр алканов, содержащихся в сырой нефти, отличается от спектра алканов, содержащихся в некоторых буровых растворах, или от спектра различных ароматических соединений, содержащихся главным образом в сырой нефти, но отсутствующих, что сделано сознательно, в экологически чистых синтетических буровых растворах.
Различия в ИК-спектре, по которым можно определить небольшие различия в химическом составе анализируемых проб, можно положить в основу для создания более совершенного способа оценки количества содержащихся в пробе следов бурового раствора по данным вибрационной, а не цветовой спектроскопии. Перечисленные выше, а также другие особенности и преимущества настоящего изобретения подробно рассмотрены ниже на примере предпочтительного варианта его осуществления со ссылкой на прилагаемые чертежи, на которых показано:
Краткое описание чертежей
На прилагаемых к описанию чертежах показано:
на фиг.1 – график зависимости процента отраженного на поверхности раздела жидкость/сапфир света от показателя преломления при нормальном, перпендикулярном к поверхности угле падения, построенный для отражающих свет жидкостей,
на фиг.2 – схема выполненного по предпочтительному варианту предлагаемого в изобретении рефрактометра,
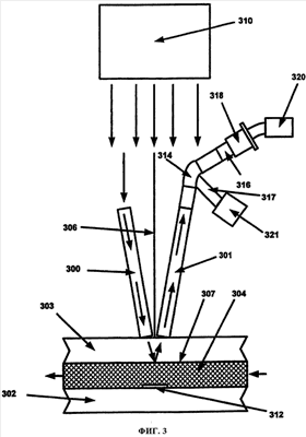
на фиг.3 – увеличенное изображение рефрактометра, показанного на фиг.2,
на фиг.4 – график, позволяющий сравнить результаты измерений, полученных с помощью предлагаемого в изобретении спектрометра и известного спектрометра,
на фиг.5 – график, на котором показано изменение измеренного показателя преломления n загрязненной сырой нефти в зависимости от процентного содержания в пробе фильтрата бурового раствора,
на фиг.6 – график зависимости отношения Клаузиуса-Моссотти (n2-1)/(n2+2) от плотности (г/см3) для 10 разных групп чистых углеводородов (гексан, октан, декан, додекан, докозан, бензол, толуол, о-ксилол, м-ксилол и п-ксилол); приведенные на этом графике данные взяты из общедоступной литературы (CRC Handbook of Chemistry and Physics, 50-е изд., 1969),
на фиг.7 – график зависимости взвешенной в соответствии с объемами суммы отдельных компонент Клаузиуса-Моссотти от плотности (г/см3) разных синтетических смесей этих десяти чистых углеводородов, при этом следует отметить, что параметры прямой (наклон и точка пересечения с осью абсцисс), наилучшим образом аппроксимирующей экспериментальные точки для этих смесей, очень близки к значениям, полученным для чистых компонентов смеси, и
на фиг.8 – график зависимости отношения Клаузиуса-Моссотти (n2-1)/(n2+2) от плотности (г/см3) для группы из десяти сортов сырой нефти в диапазоне от 19 до 41° API. Следует отметить, что параметры прямой (наклон и пересечение), наилучшим образом аппроксимирующей экспериментальные точки для этих очень сложных смесей, очень близки к значениям, полученным для чистых углеводородов и их смесей, что подтверждает почти универсальный характер зависимости отношения Клаузиуса-Моссотти от плотности, при этом приведенные на этом графике данные взяты из общедоступной литературы (таблица I из доклада Buckley и др.. Paper 61f, 2nd International Symposium on Thermodynamics of Heavy Oils and Asphaltenes, Хьюстон, 9-13 марта 1997 г.) с исключением одного выброса (сырая нефть марки Oklachoma crude).
Предпочтительные варианты осуществления изобретения
В настоящем изобретении предлагается способ и аппаратура для определения различных свойств пластовых флюидов на основании результатов измерений, полученных с помощью рефрактометра. В настоящем изобретении, кроме того, предлагается способ и аппаратура, позволяющие более точно отличить газ от жидкости по более низкому показателю преломления газа. Показатель преломления в стволе скважинного или пластового флюида можно определить с использованием части светового потока R, отраженного от поверхности раздела между имеющимся в приборе прозрачным окном с известным показателем преломления и анализируемыми пластовыми флюидами.
На фиг.1 показан процент отраженного от поверхности раздела жидкость/сапфир света, направленного перпендикулярно к плоскости поверхности прозрачного окна и поверхности раздела. Приведенный на этом чертеже график получен при фиксированном показателе преломления окна, равном 1,75, и переменном показателе преломления жидкости. Минимальное отражение светового потока соответствует показателю преломления жидкости, равному показателю преломления окна, величина которого для сапфира составляет 1,75.
На фиг.2 показан предпочтительный вариант конструктивного исполнения предлагаемого в изобретении рефрактометра, встроенного в существующий прибор для измерения характеристик жидкости в стволе скважины, который используют для анализа пластовых и скважинных флюидов в полевых условиях (например, прибор Baker Atlas Sample ViewSM).
В предпочтительном варианте источник 201 света (например, вольфрамовая электролампа) излучает свет в направлении пробы пластового или скважинного флюида. Излученный свет коллимируется коллимирующими линзами 203, расположенными между источником света и исследуемым флюидом. При отсутствии препятствий коллимированный световой луч в общем случае падает перпендикулярно к наружной поверхности первого сапфирового окна 303. Сапфировые окна 303 и 302 обычно расположены перпендикулярно к коллимированному лучу света и разделены зазором, или каналом, 304, по которому протекает анализируемый флюид. В предпочтительном варианте блок 205 рефрактометра отводит часть падающего коллимированного луча от светового потока 310 и фокусирует его на поверхность 307 между первым сапфировым окном 303 и флюидом, находящимся в канале 304. Отраженный световой луч в делителе 317 делится между рефрактометром (316, 318 и 320) и спектрометром 321 ослабленного отраженного света. Та часть коллимированного светового луча, которая не используется в рефрактометре или спектрометре, используется в других приборах, в частности в поглощающем проходящий свет спектрометре 209.
На фиг.3 в увеличенном масштабе показан блок 205 рефрактометра с двумя (левым и правым) оптическими передающими стержнями 300, 301 (представляющими собой либо объективы переноса изображения, либо просто стеклянные или сапфировые стержни). Продольные оси двух оптических передающих стержней лежат в плоскости, перпендикулярной плоскости двух прочных пластин 303, 302, образующих первое сапфировое окно 303, второе сапфировое окно 302 и канал 304. Оба оптических передающих стержня расположены рядом друг с другом (и сходятся в направлении поверхности пластины 303) и могут также касаться первой сапфировой пластины 303. Для получения максимального оптического сигнала можно использовать высокотемпературный, согласующий показатели преломления гель, которым заполняют зазор между передающими стержнями 300, 301 и первой сапфировой пластиной 303. Наличие заполненного только воздухом зазора не влияет на измерение показателя преломления, поскольку такой зазор в равной степени снижает интенсивность света и для неизвестной пробы, и для эталона. Вычисленное по уравнению (16) значение показателя преломления зависит только от отношения Ir_воздух/Ir_неизв., поскольку общий множитель в числителе и знаменателе сокращается. Передающие стержни 300 и 301 должны быть расположены под равными углами (около 4°) к нормали по разные стороны от среднего перпендикуляра 306. Такие углы являются минимальными рабочими углами, которые можно получить на практике с учетом различных конструктивных ограничений. В идеальном случае передающие стержни должны быть расположены строго перпендикулярно к плоскости пластины, поскольку именно к такому расположению передающих стержней и относится используемая в изобретении формула вычисления показателя преломления по интенсивности отражения. Однако фактически, как показали теоретические исследования, при изменении угла наклона стержней от 0 до 4° интенсивность отражения меняется незначительно (-0,0062% для воздуха и -0,0079% для нефти).
С учетом этой ошибки в определении интенсивности отражения по используемой в изобретении формуле оказывается, что угол величиной в 4° вызывает такую ошибку в измеряемом показателе преломления нефти относительно воздуха, которая изменяет значение показателя преломления на очень малую величину, составляющую от 2 до 3 миллионных долей от ожидаемого значения.
В предпочтительном варианте рефрактометр калибруют путем заполнения канала 304 веществом с известным показателем преломления (например, воздухом или водой). При калибровке регистрируют интенсивность отраженного на поверхности раздела сапфир/воздух (или сапфир/вода) света, направленного на первую сапфировую пластину 303 по левому стержню 300 и отраженного обратно по правому стержню 301, и используют ее как калибровочную величину для вычисления показателя преломления других жидкостей по интенсивности отраженного света. После заполнения канала 304 текучей средой с известным показателем преломления (предпочтительно воздухом) включают источник 310 света, который проходит по левому стержню 300, отражается поверхностью раздела сапфир/текучая среда и возвращается обратно по правому стержню 301. Отраженный свет по волоконно-оптическому кабелю 314 попадает в оптический фильтр 316, проходит через электронно-оптический преобразователь 318 и попадает в электронную систему 320 анализа/визуализации.
При использовании прозрачной калибровочной текучей среды с известными свойствами на внутренней поверхности второго сапфирового окна 302 в канале 304 размещают черную визирную марку 312. Черная визирная марка поглощает любой свет, который проходит через первое сапфировое окно и падает на второе сапфировое окно и таким образом ограничивает обратное отражение света от второго окна 302. Наличие визирной марки 312 обеспечивает возможность правильной регистрации данных, поскольку возникающее при ее отсутствии обратное отражение от второго сапфирового окна 302 существенно усиливает интенсивность отраженного света и искажает результаты калибровки. Такое вторичное отражение, однако, вызывает проблемы только в процессе калибровки. Связано это с тем, что пластовые флюиды обычно обладают намного более высоким коэффициентом пропускания, чем используемая при калибровке текучая среда, которая сама поглощает вторичное отражение. Другая причина заключается в том, что доля отраженного от поверхности первого окна и текучей среды света зависит для любой текучей среды только от показателя преломления на глубине поверхностного слоя этой поверхности раздела, которая существенно меньше глубины канала 304.
В предпочтительном варианте пластовую жидкость или газ пропускают через канал 304 между сапфировыми окнами 302 и 303 и измеряют интенсивность отраженного света. Интенсивность отраженного света зависит главным образом от показателя преломления тонкого слоя пластового флюида в канале 304 у поверхности верхней пластины 303.
Использование волоконно-оптического кабеля 314 позволяет разместить электронно-оптический преобразователь 318 и связанные с ним элементы аппаратуры вне центрального луча света, который проходит в поглощающий проходящий свет спектрометр 209. Такое выполнение аппаратуры препятствует затенению той части сапфирового окна, которая используется для других измерений, выполняемых, в частности, на поглощающем проходящий свет спектрометре 209.
Основные уравнения для отраженного света хорошо известны и приведены, например, в Handbook of Optics, т.I, 2-е изд., под ред. Michael Bass. Для не поглощающего свет окна и не поглощающей свет жидкости коэффициент отражения светового луча, падающего перпендикулярно к поверхности окна или жидкости, определяется по формуле:

где n0 обозначает показатель преломления окна, а n1 обозначает показатель преломления текучей среды. Уравнение (1) можно разрешить относительно n1:


В изобретении в качестве пропускающего свет материала предлагается использовать предпочтительно сапфир (n0=1,776). Показатель преломления большинства типов сырой нефти лежит в диапазоне 1,43-1,55. Показатель преломления природного газа при высоком давлении значительно меньше. Поэтому при практической реализации настоящего изобретения следует пользоваться формулой (2) для n10. Для проходящего через сапфировое окно и падающего на поверхность раздела жидкость/окно света интенсивность отраженного от поверхности света обратно пропорциональна показателю преломления жидкости. Наименьший показатель преломления (n0=1,0) имеет полностью разреженная среда, для которой этот показатель близок к показателю преломления воздуха с давлением в одну атмосферу при 0°С (n0=1,0002926).
В настоящем изобретении, кроме того, предлагается механизм коррекции полученной по формуле (1) оценки показателя преломления путем учета любого поглощения света жидкости (эффекты ослабленного отражения), которое происходит только на расстоянии, близком к толщине поверхностного слоя жидкости на поверхности, разделяющей жидкость и окно. Более точное (с поправками) определение поглощения осуществляется по уравнению (11), а не по уравнению (2) только в том случае, когда жидкость на рабочей длине волны рефрактометра поглощает достаточно большое количество света в пределах тонкого поверхностного слоя.
Для не поглощающего свет окна и поглощающей свет жидкости определяется комплексный показатель преломления жидкости с действительной частью (n1‘) и мнимой частью (k1):

где

В этой формуле k1 является мнимой частью комплексного показателя преломления жидкости, характеризующей оптическую плотность жидкости на длине волны , а является величиной, обратной расстоянию (часто называемому “толщиной поверхностного слоя” или “глубиной проникновения света”), в пределах которого интенсивность света падает до 1/е от его начального значения. По определению, оптическая плотность, или логарифм коэффициента пропускания, А=log10[I0/I]. Умножив обе части этого уравнения на и заменив I на (I0/е), получим, что соответствующая оптическая плотность жидкости на единицу длины на длине волны равняется

Оптическую плотность А жидкости на фиксированной длине L пути светового луча в настоящем изобретении определяют другим способом. Длина L обычно выбирается равной 2 мм. Оптическая плотность на единицу длины является интенсивным свойством, которое подобно массовой плотности не зависит от формы и объема жидкости. Поэтому, приравняв измеренную оптическую плотность на единицу длины (A/L) правой части уравнения (6) и, разрешив уравнение относительно , можно получить:

Подставив из уравнения (7) в уравнение (5), можно вычислить величину k1 как функцию измеренной оптической плотности на единицу длины на длине волны по формуле:

В численном виде при L=2 мм и , в нанометрах (нм),

и при =1300 нм k1=А2 мм/8396, а при =1600 нм k1=А2 мм/6821, где А2 мм представляет собой оптическую плотность, измеренную существующим скважинным пропускающим спектрометром, за которым установлен предлагаемый в изобретении рефрактометр.
Для не поглощающего свет окна и поглощающей свет жидкости коэффициент отражения светового луча, падающего перпендикулярно или почти перпендикулярно к поверхности, выражается формулой,

Из этого уравнения можно определить величину показателя преломления n1

где а=(1-R)/(1+R). Для минимальной коррекции оптической плотности измерение коэффициента отражения предпочтительно проводить на длинах волн, на которых свет минимально поглощается жидкостью, таких как 1300 нм и 1600 нм. Эти две волны находятся между полосами частот молекулярного поглощения света.
Конечно, сырые нефти обладают и электронными диапазонами поглощения света, которые из-за наличия в нефти асфальтенов сокращаются с увеличением длины волны. Для легкой сырой нефти асфальтеновый пик часто снижается до минимального на длине волны 1300 нм. Для сырой нефти средней плотности асфальтеновый пик имеет минимальное значение при больших длинах волн, достигающих 1600 нм. Для тяжелой сырой нефти может возникнуть необходимость в вычислении n1 по формулам коррекции (9) и (11) даже при длине волны с минимальной оптической плотностью, такой как 1600 нм.
При нормальном угле падения света при длине волны, на которой жидкость слабо поглощает свет, для вычисления показателя преломления nнеизв. неизвестной жидкости можно использовать приведенную ниже формулу. Вычисляемая по этой формуле величина nнеизв. является функцией 1) показателя преломления сапфира, 2) показателя преломления воздуха, 3) отношения интенсивности света, отраженного от поверхности раздела сапфир/воздух, к интенсивности света, отраженного от поверхности раздела сапфир/неизвестная жидкость:

где


при этом
Ir_воздух представляет собой интенсивность отраженного сигнала для камеры, заполненной воздухом,
Ir_неизв. представляет собой интенсивность отраженного сигнала для камеры, заполненной неизвестной жидкостью,
nнеизв. представляет собой показатель преломления неизвестной жидкости,
nвоздух представляет собой показатель преломления воздуха (приблизительно 1,0029),
nсапфир представляет собой показатель преломления сапфира (приблизительно 1,746).
Уравнение (14) можно вывести из уравнения (1) путем извлечения квадратного корня из отношения коэффициента отражения поверхности раздела сапфир/неизвестная жидкость к коэффициенту отражения поверхности раздела воздух/сапфир и использования приведенных выше формул для а и b для получения окончательного значения nнеизв..
На фиг.4 показаны результаты сравнения показателей преломления, измеренных с помощью предлагаемого в настоящем изобретении рефрактометра в видимом участке спектра на длине волны 1600 нм с использованием уравнения (14), с показателями преломления, измеренными известным спектрометром для воды, пентана и трихлорэтана (низкий, средний и высокий показатели преломления соответственно). Полученные результаты можно уточнить путем коррекции небольших изменений в показателях преломления воздуха и сапфира, вызванных температурой, или путем учета того обстоятельства, что в настоящем изобретении показатели преломления измеряли на длине волны 1600 нм, а известные показатели преломления измеряли в видимом свете с длиной волны, обычно равной 589 нм.
Предлагаемые в настоящем изобретении способ и аппаратура позволяют получить спектр сырой нефти выше значительно ослабленного асфальтенового пика в видимой области и коротковолновой ближней ИК-области спектра. Используемая для калибровки эталонная кривая спектральной зависимости интенсивности отраженного света от длины волны в диапазоне 400-1100 нм была получена с помощью малого портативного оптоволоконного спектрометра Ocean Optics S2000, подключенного непосредственно к волоконно-оптическому кабелю 314 при заполнении воздухом канала 304 под первым сапфировым окном 303. После получения калибровочной кривой канал 304 заполняли сырой нефтью и с помощью предлагаемой в настоящем изобретении аппаратуры получали другую кривую спектральной зависимости интенсивности отраженного света от длины волны. Десятичный логарифм отношения этих двух спектров является оптической плотностью сырой нефти во всем асфальтеновом диапазоне частот. Проведенные измерения показали увеличение оптической плотности асфальтенов на коротких длинах волн.
Для использования в предлагаемой в настоящем изобретении аппаратуре одновременно рефрактометра и спектрометра ослабленного отраженного света предназначен подключенный к волоконно-оптическому кабелю 314 оптический делитель 317. Делитель 317 направляет часть коллимированного светового луча в первичный оптический фильтр 316 и электронно-оптический преобразователь 318 рефрактометра. Остальную часть коллимированного светового луча делитель направляет в спектрометр 321 ослабленного отраженного света, содержащий один или несколько оптических фильтров, дифракционные решетки или другие разделяющие волны различной длины элементы и фотодетекторы.
В настоящем изобретении предлагается не дискретный (пошаговый), а непрерывный способ измерения показателя преломления, который можно использовать для контроля сравнительно небольших изменений показателя преломления в процессе очистки пробы. При очистке пробы происходит переход от загрязненного фильтратом пластового флюида к почти чистому пластовому флюиду, откачиваемому с определенной глубины скважины. На фиг.5 показан график изменения измеренного показателя преломления загрязненной сырой нефти в зависимости от процентного содержания фильтрата бурового раствора.
Уравнение (17) Клаузиуса-Моссотти связывает отношение Клаузиуса-Моссотти r=(n2-1)/(n2+2) с массовой плотностью , молярной поляризуемостью Р и молекулярной массой М флюида:

Для идеальной смеси объемно взвешенная сумма отношений Клаузиуса-Моссотти каждой из компонент смеси равна отношению Клаузиуса-Моссотти смеси. Такая зависимость позволяет связать показатель преломления смеси с показателями преломления компонентов смеси. Если показатель преломления смеси равняется n, a i-й компонент смеси имеет объемную долю fi и показатель преломления ni, то

Настоящее изобретение позволяет определить давление конденсации флюида, которое при анализе чистого пластового флюида характеризует свойства флюида в окружающей среде скважины. Для определения температуры конденсации или температуры начала кипения флюида канал 304 предлагаемой в изобретении аппаратуры заполняют пробой пластового флюида, после чего закрывают клапан 340 и с помощью поршня 341 периодически изменяют (увеличивают или уменьшают) объем находящейся в канале 304 пробы исследуемого флюида и соответственно увеличивают или уменьшают давление в канале 304. При определении давления конденсации пластовых флюидов предлагаемым в настоящем изобретении способом показатель преломления измеряется на небольшом расстоянии, равном нескольким длинам волн света, от поверхности, разделяющей отбираемую для анализа пробу флюида от стенки канала. При температуре конденсации газ превращается в жидкость и конденсируется на твердых поверхностях, являющихся центрами конденсации. При температуре конденсации на окне образуется тонкая пленка жидкости, которая фиксируется предлагаемым в изобретении способом по изменению показателя преломления, которое происходит при превращении газа в жидкость.
При переходе флюида из газообразной фазы в жидкую измеряемый показатель преломления повышается, поскольку наличие на поверхности окна жидкости сопровождается падением интенсивности отраженного света. В очень редких, практически маловероятных случаях, когда тонкий слой жидкости имеет не форму клина с небольшим углом наклона, а форму абсолютно плоской параллельной окну поверхности, некоторая часть отраженного от поверхности раздела жидкость/газ света может возвратиться обратно в детектор и привести к менее резкому изменению отраженного света при температуре конденсации.
На фиг.6 приведен график зависимости отношения Клаузиуса-Моссотти (n2-1)/(n2+2) от плотности (г/см3) для различных групп из 10-ти чистых углеводородов (гексан, октан, декан, додекан, докозан, бензол, толуол, о-ксилол, м-ксилол и n-ксилол). Данные, на основании которых построен этот график, взяты из общедоступной литературы (CRC Handbook of Chemistry and Physics, 50-е изд., 1969).
На фиг.7 приведен график зависимости объемно взвешенной суммы отношений Клаузиуса-Моссотти отдельных компонентов смеси от плотности (г/см3) смеси для разных синтетических смесей упомянутых выше десяти чистых углеводородов. Следует отметить, что параметры прямой (наклон и точка пересечения с осью абсцисс), наилучшим образом аппроксимирующей экспериментальные точки для этих смесей, очень близки к значениям, полученным для чистых компонентов смеси.
Предлагаемые в настоящем изобретении способ и аппаратура обеспечивают возможность непрерывного измерения показателя преломления пластовых флюидов. Результаты измерений комбинируются с оцениваемыми молярными массами, относительной плотностью или точкой кипения флюидов, которые находятся в имеющейся базе данных для определенного района, полученных при работе в данной географической местности и на данной глубине путем измерения показателя преломления или с помощью другой различной аппаратуры. Так, например, плотность флюида можно определить по градиенту (изменению) давления по глубине скважины путем измерения давления на разной глубине скважины дистанционным интерфейсом RCI. В другом варианте, как показано на фиг.8, плотность флюида можно определить только по показателю преломления.
Известные скважинные рефрактометры выполняют дискретные измерения в 8-шаговом режиме и поэтому позволяют определить показатель преломления только на одном из этих шагов. Таким образом, 8-шаговое измерение показателя преломления дает информацию только о диапазоне показателя преломления жидкости (нижнюю и верхнюю границы каждого из восьми шагов), а не само значение показателя преломления.
Предлагаемый в настоящем изобретении рефрактометр измеряет показатель преломления не дискретно, а непрерывно. Следовательно, измеряемый предлагаемым в изобретении способом показатель преломления позволяет оценить другие полезные свойства пластового флюида, такие как давление начала кипения, поверхностное натяжение и параметры его растворимости.
График зависимости показателя преломления флюида от давления имеет минимум в точке начала кипения. Так, например, показатель преломления может изменяться от 1,47 (когда давление флюида выше или ниже точки начала кипения) до значения 1,43 в точке кипения. Для уменьшения давления при измерении показателя преломления в точке начала кипения предлагаемым в настоящем изобретении рефрактометром предназначена расширяющаяся камера, образованная каналом 304, клапаном 340 и поршнем 341 (см. Buckley и др.. Paper 61f, 2nd International Symposium on Thermodynamics of Heavy Oils and Asphaltenes, Хьюстон, 9-13 марта 1997 г.). Расширяющиеся камеры, предназначенные для снижения давления ниже точки начала кипения, хорошо известны в данной области и описаны, в частности, в US 6218662.
Параметр Rm=(n2-1)/[(n2+2) ] определяет долю общего объема пробы, занимаемую молекулами, и является очень полезным для определения многих физических и термодинамических свойств флюидов (M.R.Riazi, Т.Е.Daubert, “Characterization Parameters for Petroleum Fractions”, Industrial and Engineering Chemistry Research, USA, 1987, т.26, c.755-759). В приведенной выше формуле величина (n2-1)/(n2+2) является объемом, занимаемым молекулами одного моля, а является числом молей (не граммов) в единице объема. Параметр Rm наряду с другими параметрами можно использовать для оценки поверхностного натяжения, точки начала кипения и при вычислениях, связанных с процессом испарения в результате внезапного расширения. (J.Escobedo и G.A.Mansoori, Surface Tension Prediction for Liquid Mixtures, AIChE Journal, т.44, №10, 1998, c.2324-2332).
Величина (n2-1)/(n2+2)3/4 пропорциональна параметру растворимости и может использоваться для оценки поляризуемости смеси и соотношения содержания в ней ароматических соединений и асфальтенов (Buckley и др., “Asphaltene Precipitation and Solvent Properties of Crude Oils”, Pet. Sci. Tech., т.16, №3-4, 1998, с.251).
Термодинамические и физические свойства нефтяных фракций и нефтепродуктов имеют большое значение при проектировании и эксплуатации оборудования, предназначенного для добычи нефти, ее обработки и транспортировки. Проблема оценки свойств пластовых флюидов достаточно подробно рассмотрена в приведенном ниже отрывке из работы Mohammad R.Riazi и Yosef A.Roomi, озаглавленной “Minimum Lab. Data To Measure Fluid Properties”, которая была представлена на 50-й Канадской инженерно-химической конференции (CSChE 2000), Монреаль, Канада, 15-18 октября 2000 г. (см. также Industrial & Engineering Chemistry Research (Issue 8, 2001) и работу M.R.Riazi и Y.Roomi “Use of Refracive Index in Estimating Thermophysical Properties of Hydrocarbon Mixtures”, принятую к публикации в Industrial & Engineering Chemistry Research, American Chemical Society, январь 2001) и в которой дается оценка большинства свойств пластовых флюидов по известным молярным массам, плотности и показателю преломления:
“Данные о теплоемкости, теплопроводности, вязкости и плотности нефтяных фракций являются необходимыми параметрами для проектирования и изготовления различных теплообменников, используемых на нефтеперерабатывающих заводах. Знание количественного содержания бензола, ароматических соединений и серы в нефтепродуктах является важным критерием для определения качества нефтяного топлива, такого как бензин или газойль. Экспериментальное определение всех этих свойств для каждой нефтяной смеси при различных условиях является дорогой и очень трудоемкой процедурой. Измерение только трех основных показателей нефти позволяет с высокой точностью оценить практически и ее каждое другое свойство. Такими тремя основными свойствами нефти являются молярная масса, плотность и показатель преломления при 20°С. При неизвестной молярной массе для оценки различных термодинамических и физических свойств нефти можно помимо плотности и показателя преломления использовать температуру кипения (данные перегонки). Нефтяные фракции и нефтепродукты представляют собой смеси, состоящие из многих углеводородных соединений различных групп. Эти соединения являются неполярными, и их основной межмолекулярной силой является рассеивающая сила Лондона, которая определяется поляризуемостью по показателю преломления. Показатель преломления легко определяется в лабораторных условиях. При известных показателе преломления, плотности и молярной массе можно точно определить количество парафинов, нафтенов, моноароматических и полиароматических соединений и серы, содержащихся в нефтяной фракции. С помощью этих параметров на основании экспериментальных данных с точностью 1-2% можно определить многие физические свойства, такие как критические свойства, уравнения состояния, вязкость, коэффициент теплопроводности, коэффициент диффузии, теплоемкость и теплоту парообразования. Многие химические и термодинамические свойства сложных нефтяных смесей можно определить по очень небольшому количеству измеренных параметров”.
Таким образом, используя настоящее изобретение для определения показателя преломления пробы флюида и зная его молярную массу и плотность, можно точно определить количество парафинов, нафтенов, моноароматических и полиароматических соединений и серы, содержащихся в нефтяной фракции. С помощью этих параметров можно оценить и многие другие физические свойства нефти, такие как критические свойства, уравнения состояния, вязкость, коэффициент теплопроводности, коэффициент диффузии, теплоемкость и теплоту парообразования.
Рассмотренные выше предпочтительные варианты осуществления изобретения лишь иллюстрируют, но не ограничивают его объем, определяемый его формулой.
Формула изобретения
1. Аппаратура для измерения показателя преломления пробы пластового флюида, содержащая первый пропускающий свет стержень, через который на пробу направляют свет, второй пропускающий свет стержень, в котором собирается свет, отраженный от исследуемой пробы, при этом лежащие в одной плоскости первый и второй стержни наклонены под углом не более 4° к проходящему между ними на равном от них расстоянии перпендикуляру к поверхности пробы, канал, сообщающийся с пластом, из которого для анализа отбирают пробу флюида, источник света, направленного к поверхности раздела между первой стенкой канала и находящейся в нем пробой, и электронную систему анализа, предназначенную для непрерывного измерения посредством рефрактометра светового сигнала, отраженного от поверхности пробы на границе между пробой и стенкой канала.
2. Аппаратура по п.1, в которой указанный канал имеет увеличивающийся в объеме участок, в котором происходит изменение давления пробы.
3. Аппаратура по п.1, в которой канал имеет вторую стенку с поглощающим свет участком, который во время калибровки аппаратуры минимизирует сигнал, отраженный от второй стенки.
4. Аппаратура по п.1, содержащая светоделитель, который направляет часть отраженного светового сигнала в спектрометр ослабленного отраженного света.
5. Способ измерения показателя преломления пробы флюида, заключающийся в том, что в непосредственной близости от поверхности пробы устанавливают собирающий свет стержень с возможностью получения максимального отраженного сигнала от поверхности пробы и с наклоном под углом не более 4° к линии, проходящей между лучом света и собирающим свет стержнем, канал заполняют пробой, направляют луч света на поверхность раздела между находящейся в канале пробой и стенкой канала, измеряют интенсивность светового луча, отраженного от поверхности раздела между пробой и стенкой канала, и непрерывно вычисляют показатель преломления пробы.
6. Способ по п.5, в котором непрерывно считывают данные о показателе преломления.
7. Способ по п.5, в котором измеренное значение показателя преломления корректируют в соответствии с интенсивностью поглощаемого пробой света.
8. Способ по п.5, в котором выполняют коррекцию показателя преломления в соответствии с оптической плотностью пробы.
9. Способ по п.5, в котором во избежание внесения поправок в измеренный показатель преломления, связанных с поглощением света, выбирают длины волн, при которых проба минимально поглощает свет.
10. Способ по п.5, в котором основанное на измерении интенсивности света различие между нефтью и газом, которое используют для определения давления начала кипения, поверхностного натяжения, параметров растворимости или степени загрязнения пробы, определяют непрерывно по небольшим изменениям интенсивности света, отраженного от поверхности раздела между пробой и стенкой канала.
11. Способ по п.5, в котором при снижении давления пробы определяют температуру конденсации флюида.
12. Способ по п.5, в котором измеряют ослабленный отраженный свет и по зависимости интенсивности ослабленного отраженного света от длины волны получают лежащий в ближнем ИК-диапазоне и среднем ИК-диапазоне инфракрасный спектр оптической плотности пробы.
13. Способ по п.5, в котором контролируют небольшие изменения показателя преломления, связанные с уменьшением степени загрязнения пробы.
14. Способ по п.5, в котором на поверхности канала выполняют поглощающий свет участок, который минимизирует сигнал, отраженный от поверхности канала, на которую попадает свет от источника света.
15. Способ по п.5, в котором используют канал с увеличивающимся объемом, в котором давление пробы снижается ниже ее давления начала кипения.
16. Способ по п.5, в котором используют канал, объем которого уменьшается до образования на поверхности раздела между стенкой канала и находящейся в нем пробой флюида тонкой пленки жидкости, по появлению которой определяют температуру конденсации пробы.
17. Способ по п.5, в котором для определения температуры начала кипения жидкой пробы определяют минимальное значение измеренного показателя преломления.
18. Способ по п.5, в котором для оценки поверхностного натяжения, температуры начала кипения или мгновенного испарения пробы определяют долю, занимаемую молекулами одного моля пробы в общем объеме пробы.
19. Способ по п.17, в котором по показателю преломления пробы определяют ее растворимость.
20. Способ по п.17, в котором измеренный показатель преломления и независимо определенные молярную массу и удельную массу или температуру начала кипения и удельную массу используют для определения количественного содержания в пробе по меньшей мере парафинов, нафтенов, моноароматических, полиароматических соединений и серы.
21. Способ по п.19, в котором показатель преломления и независимо определенные молярную массу и удельную массу или температуру начала кипения и удельную массу используют для оценки по меньшей мере вязкости, коэффициента теплопроводности, коэффициента диффузии, теплоемкости и теплоты парообразования.
22. Способ по п.5, в котором по показателю преломления оценивают массовую плотность пробы.
23. Способ по п.5, в котором путем непрерывного контроля считываемых показателей преломления контролируют степень загрязнения пробы.
24. Способ по п.5, в котором часть отраженного света направляют в спектрометр ослабленного отраженного света и измеряют интенсивность ослабленного отраженного света.
25. Способ по п.5, в котором показатель преломления пробы измеряют на расстоянии, равном 2-3 длинам волн направляемого на пробу света.
РИСУНКИ
|
|