|
|
(21), (22) Заявка: 2006108275/28, 07.03.2006
(24) Дата начала отсчета срока действия патента:
07.03.2006
(43) Дата публикации заявки: 27.09.2007
(46) Опубликовано: 27.02.2008
(56) Список документов, цитированных в отчете о поиске:
SU 637722 A1, 15.12.1978. RU 2129704 C1, 27.04.1999. JP 7012613 A, 17.01.1995. RU 2002108309 A, 27.11.2003.
Адрес для переписки:
420111, г.Казань, ул. Карла Маркса, 10, Казанский государственный технический университет им. А.Н. Туполева
|
(72) Автор(ы):
Каратаев Робиндар Николаевич (RU), Гогин Валерий Алексеевич (RU), Сойко Алексей Игоревич (RU), Макаров Юрий Михайлович (RU), Ахмадеева Римма Ильдашовна (RU), Каратаев Оскар Робиндарович (RU), Кубарев Артем Юрьевич (RU), Скурлатова Лидия Васильевна (RU)
(73) Патентообладатель(и):
Федеральное государственное учреждение “Татарстанский центр стандартизации, метрологии и сертификации” (RU), Казанский государственный технический университет им. А.Н. Туполева (RU)
|
(54) ГЕНЕРАТОР ПЕРЕМЕННОГО РАСХОДА ЖИДКОСТИ (ВАРИАНТЫ)
(57) Реферат:
Изобретение относится к генераторам переменного расхода и может быть использовано для определения метрологических характеристик средств измерений артериального давления. Сущность: генератор содержит ротор в виде усеченного цилиндра, цилиндрический статор с двумя выходными прорезями по образующей цилиндра на диаметрально противоположных сторонах. Ротор соединен с валом двигателя. Выходные прорези статора связаны с трубопроводами. Технический результат: расширение функциональных возможностей. 3 н. и 1 з.п. ф-лы, 2 ил.
Изобретение относится к генераторам переменного расхода для определения метрологических характеристик средств измерений артериального давления и может найти применение в приборостроительной промышленности при метрологической аттестации этих средств измерений.
Известны генераторы переменного расхода для определения динамических характеристик расходомеров (Генератор переменного расхода. Отчет №Б060014. Всесоюзный научно-технический информационный центр. М., 1974) – [1].
Известен генератор переменного расхода, который использует изменение площади прямоугольной прорези, расположенной по образующей цилиндрического статора (Пульсатор расхода ПР-1. Техническое описание П1-00-00 ТО, 1973) – [2]. Контролируемая среда подается во внутреннюю полость статора по входному трубопроводу. Изменение размеров площади прорези происходит при вращении ротора в форме цилиндра, усеченного плоскостью под углом к его продольной оси. При этом значение расхода через указанную выше прорезь при равномерном вращении ротора изменяется по синусоидальному закону. Прошедший через прорезь изменяемой площади поток поступает в испытательный участок в виде трубопровода с установленным в нем испытуемым расходомером и далее – в сливную емкость через сливной трубопровод. Частота пульсаций расхода определяется скоростью вращения ротора. Изменяя скорость вращения ротора и регистрируя показания испытуемого расходомера, можно определять частотную характеристику испытуемого расходомера. Этот известный генератор характеризуется трудностью получения пульсаций расхода требуемой амплитуды и формы в широком диапазоне частот, так как для этого необходимо управлять движением большой массы жидкости, а это требует создания значительного давления контролируемой среды, что в ряде случаев практически не осуществимо. Кроме того, в генераторах такой конструкции имеют место значительные перепады давления, что вносит дополнительные погрешности в результаты испытаний, не говоря уже о наличии больших вибраций трубопровода, особенно на низких частотах.
Известен гидромеханический пульсатор для исследования динамических характеристик расходомеров по авторскому свидетельству SU №1013764 A, G01F 25/00, опубликованный 23.04.83 Бюл. №15 – [3], содержащий цилиндрический корпус с входным и двумя выходными окнами прямоугольной формы, расположенными во взаимно перпендикулярных плоскостях, и с установленным в корпусе цилиндрическим ротором, который выполнен полым, с нечетным числом окон, идентичных выходным окнам корпуса, причем суммарный размер окон по окружности равен 180°. Недостатком такого пульсатора является воспроизведение только синусоидального пульсирующего потока.
Наиболее близким к заявленному изобретению является изобретение по авторскому свидетельству СССР №637722, G01F 25/00, Генератор переменного расхода, опубл. 15.12.78. Бюл. №46 – [4] для определения динамических характеристик расходомеров, содержащий ротор в форме цилиндра, усеченного плоскостью под углом к его продольной оси, пустотелый цилиндрический статор с прорезью прямоугольной формы по образующей цилиндра на диаметрально противоположных сторонах. Ротор соединен с валом двигателя. Внутренняя полость статора соединена с входным трубопроводом, подающим контролируемую среду, и через прорези сообщается с отрезками двух трубопроводов, в одном из которых установлен испытуемый расходомер. Другие концы трубопроводов присоединены к выходному трубопроводу через дроссельное устройство (фиг.2а).
Контролируемая среда по входному трубопроводу поступает в полость статора и через прорези проходит по двум трубопроводам и через расходомер – в выходной трубопровод.
Недостатком такого генератора является невозможность воспроизведения всего многообразия форм генерируемого расхода.
Технический результат, на достижение которого направлено заявляемое изобретение, заключается в расширении возможностей получения расхода жидкости с различными законами изменения за счет выполнения сечения ротора различных форм.
Технический результат достигается тем, что в генераторе переменного расхода жидкости, содержащем ротор в виде усеченного цилиндра, соединенный с валом двигателя, цилиндрический статор с двумя выходными прорезями по образующей цилиндра на диаметрально противоположных сторонах, связанными с трубопроводами, новым является то, что сечение съемного ротора представляет собой линейчатую поверхность, ограниченную направляющей кривой согласно уравнению , где R – радиус ротора; x, y – координаты точек направляющей кривой при нахождении начала координат в точке пересечения оси ротора с линией сопряжения секущих поверхностей. Съемный ротор выполнен в виде цилиндра, усеченного двумя линейчатыми поверхностями, одна из которых выпуклая, а другая вогнутая. Сечение съемного ротора представляет собой линейчатую поверхность, ограниченную направляющей кривой согласно уравнению , где R – радиус ротора; x, y – координаты точек направляющей кривой при нахождении начала координат в точке пересечения оси ротора с линией сопряжения секущих поверхностей. Сечение съемного ротора представляет собой линейчатую поверхность, ограниченную направляющей кривой согласно уравнению , где R – радиус ротора, x, y – координаты точек направляющей кривой при нахождении начала координат в точке пересечения оси ротора с линией сопряжения секущих поверхностей.
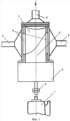
Сущность изобретения поясняется на фиг.1, 2, где:
фиг.1 – генератор переменного расхода;
фиг.2б, в, г – примеры усеченного ротора.
1 – ротор; 2 – статор; 3 – корпус; 4 – входной трубопровод; 5 – правый трубопровод; 6 – левый трубопровод; 7 – двигатель; 8 – прорези статора; 9 – муфта.
В статоре 2 в виде пустотелого цилиндра с прорезями 8, расположенными по образующей цилиндра на диаметрально противоположных сторонах, расположен ротор 1 в виде усеченного цилиндра. Ротор 1 соединен с валом двигателя 7 муфтой 9. Внутренняя полость статора 2 связана с входным трубопроводом 4, подающим контролируемую среду, и через прорези 8 сообщается с трубопроводами 5 и 6. Статор 2 закреплен с корпусом 3, в котором в подшипниках установлен вал ротора 1. Для замены ротора 1 с другим сечением его отсоединяют от вала двигателя 7 муфтой 9, а затем отсоединяют и статор 2.
Контролируемая жидкость по входному трубопроводу 4 поступает в полость статора 2 и через прорези 8 проходит по трубопроводам 5 и 6. В зависимости от углового положения ротора расход среды через прорези может быть либо одинаковым, либо разным. При этом расход определяется площадью прорези, не перекрытой в данный момент ротором.
Для получения различных характеристик форм переменного потока изменяют сечение ротора 1. На фиг.2 приведены примеры усеченного ротора 1. Сечение съемного ротора 1 представляет собой линейчатую поверхность, ограниченную направляющей кривой согласно уравнению (фиг.2б), где R – радиус ротора 1; x, y – координаты точек направляющей кривой при нахождении начала координат в точке пересечения оси ротора с линией сопряжения секущих поверхностей. Съемный ротор 1 выполнен в виде цилиндра, усеченного двумя линейчатыми поверхностями, одна из которых выпуклая, а другая вогнутая (фиг.2в). Сечение съемного ротора 1 представляет собой линейчатую поверхность, ограниченную направляющей кривой согласно уравнению , где R – радиус ротора 1; x, y – координаты точек направляющей кривой при нахождении начала координат в точке пересечения оси ротора с линией сопряжения секущих поверхностей. Сечение съемного ротора 1 представляет собой линейчатую поверхность, ограниченную направляющей кривой согласно уравнению (фиг.2г), где R – радиус ротора 1; x, y – координаты точек направляющей кривой при нахождении начала координат в точке пересечения оси ротора с линией сопряжения секущих поверхностей.
Продолжительность периода определяется скоростью вращения ротора 1. Масса жидкости в выходных трубопроводах 5 или 6 мала, и поэтому частотный диапазон генератора расширяется в сторону высоких частот. Вследствие того, что суммарная площадь условного прохода прорезей при работе генератора остается постоянной, перепада давления во входном трубопроводе не возникает, что сводит к минимуму искажения формы и амплитуды колебаний расхода и улучшает эксплуатационные характеристики генератора.
Генератор переменного расхода жидкости работает следующим образом.
При включении двигателя 7 ротор 1 приходит во вращение. Контролируемая среда по входному трубопроводу 4 поступает в полость статора 2 и через поочередно перекрывающиеся прорези 8 проходит по правому 5, и/или по левому 6 трубопроводам. При этом если площадь одной прорези 8 увеличивается, то площадь другой прорези уменьшается и наоборот. Поэтому расход через прорези 8 изменяется в противофазе по отношению друг к другу.
Выбирая необходимое сечение ротора 1, изменяют форму переменного генерируемого расхода. Для замены ротора 1 отсоединяют сначала муфту 9 от вала двигателя 7, а затем отсоединяют и корпус 3.
Таким образом, предложен генератор переменного расхода жидкости, в котором расширение возможностей получения расхода жидкости с различными законами изменения осуществляется за счет выполнения сечения ротора различных форм, при этом решение генератора несложно в исполнении, просто и надежно в работе.
Формула изобретения
1. Генератор переменного расхода жидкости, содержащий ротор в виде усеченного цилиндра, соединенный с валом двигателя, цилиндрический статор с двумя выходными прорезями по образующей цилиндра на диаметрально противоположных сторонах, связанными с трубопроводами, отличающийся тем, что сечение съемного ротора представляет собой линейчатую поверхность, ограниченную направляющей кривой согласно уравнению ,
где R – радиус ротора;
x, y – координаты точек направляющей кривой при нахождении начала координат в точке пересечения оси ротора с линией сопряжения секущих поверхностей.
2. Генератор переменного расхода жидкости, содержащий ротор в виде усеченного цилиндра, соединенный с валом двигателя, цилиндрический статор с двумя выходными прорезями прямоугольной формы по образующей цилиндра на диаметрально противоположных сторонах, связанными с трубопроводами, отличающийся тем, что съемный ротор выполнен в виде цилиндра, усеченного двумя линейчатыми поверхностями, одна из которых выпуклая, а другая вогнутая.
3. Генератор переменного расхода жидкости по п.2, отличающийся тем, что сечение съемного ротора представляет собой линейчатую поверхность, ограниченную направляющей кривой согласно уравнению
,
где R – радиус ротора; x, y – координаты точек направляющей кривой при нахождении начала координат в точке пересечения оси ротора с линией сопряжения секущих поверхностей.
4. Генератор переменного расхода жидкости, содержащий ротор в виде усеченного цилиндра, соединенный с валом двигателя, цилиндрический статор с двумя выходными прорезями по образующей цилиндра на диаметрально противоположных сторонах, связанными с трубопроводами, отличающийся тем, что сечение съемного ротора представляет собой линейчатую поверхность, ограниченную направляющей кривой согласно уравнению
,
где R – радиус ротора;
x, y – координаты точек направляющей кривой при нахождении начала координат в точке пересечения оси ротора с линией сопряжения секущих поверхностей.
РИСУНКИ
MM4A – Досрочное прекращение действия патента СССР или патента Российской Федерации на изобретение из-за неуплаты в установленный срок пошлины за поддержание патента в силе
Дата прекращения действия патента: 08.03.2008
Извещение опубликовано: 10.02.2010 БИ: 04/2010
NF4A – Восстановление действия патента СССР или патента Российской Федерации на изобретение
Дата, с которой действие патента восстановлено: 10.07.2010
Извещение опубликовано: 10.07.2010 БИ: 19/2010
|
|