|
|
(21), (22) Заявка: 2006136670/06, 16.10.2006
(24) Дата начала отсчета срока действия патента:
16.10.2006
(46) Опубликовано: 27.02.2008
(56) Список документов, цитированных в отчете о поиске:
RU 2215252 C1, 27.10.2003. RU 2073184 C1, 10.02.1997. SU 547623 A1, 25.02.1977. EP 0801280 A2, 15.10.1997.
Адрес для переписки:
392022, г.Тамбов, пер. Ново-Рубежный, 28, ГНУ ВИИТиН
|
(72) Автор(ы):
Нагорнов Станислав Александрович (RU), Клейменов Олег Александрович (RU), Матвеев Дмитрий Олегович (RU)
(73) Патентообладатель(и):
Государственное научное учреждение Всероссийский научно-исследовательский и проектно-технологический институт по использованию техники и нефтепродуктов в сельском хозяйстве (ГНУ ВИИТиН) (RU)
|
(54) УСТРОЙСТВО ДЛЯ СУШКИ СЫПУЧИХ МАТЕРИАЛОВ, РАСТВОРОВ, СУСПЕНЗИЙ И ПАСТ
(57) Реферат:
Изобретение относится к технике сушки и может использоваться в сельскохозяйственной и других отраслях промышленности. Устройство для сушки сыпучих материалов, растворов, суспензий и паст состоит из корпуса, который содержит две камеры – сушильную и сепарационную. В сушильной камере расположен блок завихрителей гетерогенной фазы и цилиндрический нагреватель со спиральным оребрением, направление навивки спирали которого противоположно направлению потока гетерогенной фазы. В сепарационной камере выполнены полки для разделения гетерогенной фазы и вытяжной трубопровод. Корпус имеет теплоизоляцию и установлен на четырех опорах. Загрузка устройства высушиваемым материалом и инертным теплоносителем осуществляется через загрузочное устройство. Выгрузка высушенного материала осуществляется через отводящий патрубок с фильтрующей решеткой. Для подачи сушильного агента в сушильную камеру предусмотрен нагнетатель и газоподводящий патрубок. Предварительный нагрев сушильного агента осуществляется с помощью калорифера. Изобретение позволяет интенсифицировать межфазный и внешний теплообмены в процессе сушки, увеличить производительность установки, уменьшить удельные энергозатраты и материалоемкость. 2 ил.
Изобретение относится к технике сушки и может использоваться в сельскохозяйственной и других отраслях промышленности.
Известна установка для сушки растворов, суспензий, паст и сыпучих материалов (см. авторское свидетельство СССР №515916, кл. F26В 17/10, 1973 г.), где высушиваемый материал подают в сушильную камеру, в которую через газораспределительную решетку поступает теплоноситель; высушенный материал уносится теплоносителем в камеру-сепаратор, отделенную от сушильной камеры разделительной перегородкой, где на фильтрующей решетке происходит отделение теплоносителя от высушенного материала, который затем выводится через разгрузочное устройство или возвращается на газораспределительную решетку.
Недостатком этой установки является малая составляющая межфазного теплообмена, отсутствие подвода тепла внутри сушильной камеры и затруднения с выгрузкой высушенного материала с фильтрующей решетки.
Известна установка для сушки сыпучих материалов паст и суспензий (выбрана в качестве прототипа), где интенсификация процесса сушки достигается подачей сушильного агента через пульсатор при закреплении корпуса аппарата в упругих виброопорах, позволяющих регулировать резонансную частоту колебаний и применением теплоотдающей разделительной перегородки, выполненной с развитой поверхностью теплообмена и оптимальными условиями отекания и скалывания сухого материала в сепарационной камере (см. патент РФ на изобретение №2215252, кл. F26В 17/26, 2003 год).
Недостатком этой установки является недостаточная циркуляция частиц, контактирующих с нагревателем, что приводит к ухудшению качества высушиваемого продукта и снижению коэффициента использования теплового потока нагревателя.
Задачей заявляемого изобретения является интенсификация межфазного и внешнего теплообмена в процессе сушки, увеличение производительности установки и уменьшение удельных энергозатрат.
Решение поставленной задачи достигается тем, что по сравнению с прототипом (см. патент РФ на изобретение №2215252, кл. F26В 17/26, 2003 г.), содержащим корпус на виброопорах, разделенный теплоотдающей разделительной перегородкой на две камеры – сушильную и сепарационную, загрузочное и разгрузочное устройство, пульсатор, газоподводящий патрубок, газораспределительное устройство, отводящий патрубок и фильтрующую решетку, в предлагаемом устройстве для сушки сыпучих материалов, растворов, суспензий и паст введен дополнительный блок завихрителей теплового потока, создающий высокой степени турбулентности закрученный поток инертного теплоносителя и сушильного агента, приводящий к увеличению межфазного и внешнего тепломассопереноса и снижению гидравлического сопротивления подводящего тракта, применен цилиндрический нагреватель, что увеличивает его контактирующую поверхность с высушиваемым материалом и приводит к значительному росту удельного теплового съема. Применение спирального оребрения поверхности нагревателя с направлением навивки спирали, противоположным направлению потока гетерогенной фазы, приводит к ударению частиц инертного теплоносителя с пленкой высушиваемого материала о спиральное оребрение стенки нагревателя, что обуславливает дополнительную интенсификацию процесса сушки.
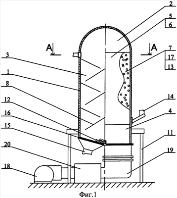
На фиг.1 схематично изображена данная установка, на фиг.2 – сечение А-А.
Устройство для сушки сыпучих материалов, растворов, суспензий и паст состоит из корпуса 1, который содержит две камеры – сушильную 2 и сепарационную 3. В сушильной камере 2 расположен блок завихрителей гетерогенной фазы 4 и цилиндрический нагреватель 5 со спиральным оребрением 6, направление навивки спирали которого противоположно направлению потока гетерогенной фазы 7. В сепарационной камере 3 выполнены полки 8 для разделения гетерогенной фазы 7 и вытяжной трубопровод 9. Корпус 1 имеет теплоизоляцию 10 и установлен на четырех опорах 11. Загрузка устройства высушиваемым материалом 12 и инертным теплоносителем 13 осуществляется через загрузочное устройство 14. Выгрузка высушенного материала 12 осуществляется через отводящий патрубок 15 с фильтрующей решеткой 16. Для подачи сушильного агента 17 в сушильную камеру 2 предусмотрен нагнетатель 18 и газоподводящий патрубок 19. Предварительный нагрев сушильного агента 17 осуществляется с помощью калорифера 20.
Устройство для сушки сыпучих материалов, растворов, суспензий и паст работает следующим образом.
Нагнетатель 18 осуществляет подачу сушильного агента 17, который, предварительно подогреваясь калорифером 20, через газоподводящий патрубок 19 поступает в блок завихрителей гетерогенной фазы 4, установленный на входе сушильной камеры 2. Через загрузочное устройство 14 вводится инертный теплоноситель 13. В блоке завихрителей гетерогенной фазы 4 создается высокой степени турбулентности закрученный поток инертного теплоносителя 13 и сушильного агента 17, обеспечивающий вихревое движение гетерогенной фазы 7 на выходе из блока завихрителей гетерогенной фазы 4. После нагрева инертного теплоносителя 13 до соответствующей температуры в сушильную камеру 2 через загрузочное устройство 14 вводится высушиваемый материал 12. Высушиваемый материал 12 поднимается в потоке гетерогенной фазы 7 вверх по нагретой внутренней поверхности нагревателя 5. За счет ударения частиц инертного теплоносителя 13 с пленкой высушиваемого материала 12 о спиральное оребрение 6 стенки нагревателя 18 происходит дополнительная интенсификация процесса сушки. Под действием закрученного турбулентного потока высушиваемый материал 12 уносится из зоны сушильной камеры 2 в сепарационную камеру 3. После выноса частиц инертного теплоносителя 13 с высушиваемой пленкой в зону сепарационной камеры 3 материал перемещается по наклонным полкам 8 для разделения гетерогенной фазы 7, где окончательно высушивается и начинает скалываться с поверхности частиц инертного теплоносителя 13. Измельченный высушенный материал 12 выносится сушильным агентом 17 через фильтрующую решетку 16 в отводящий патрубок 15. Инертный теплоноситель 13 и недосушенный материал по наклонной фильтрующей решетке 16 возвращается в сушильную камеру 2. Для отвода влажного воздуха из сепарационной камеры 3 предусмотрен его отсос с помощью вытяжного трубопровода 9.
Таким образом, использование данного изобретения позволит интенсифицировать процесс сушки, улучшить качество сушки, увеличить производительность устройства, уменьшить удельные энергозатраты.
Формула изобретения
Устройство для сушки сыпучих материалов, растворов, суспензий и паст, содержащее теплоизолированный корпус, в котором выполнены две камеры – сушильная и сепарационная, нагнетатель, калорифер, газоподводящий патрубок, отводящий патрубок с фильтрующей решеткой, загрузочное устройство, отличающееся тем, что на входе в сушильную камеру установлен блок завихрителей теплового потока, нагреватель сушильной камеры выполнен в виде цилиндра со спиральным оребрением.
РИСУНКИ
MM4A – Досрочное прекращение действия патента СССР или патента Российской Федерации на изобретение из-за неуплаты в установленный срок пошлины за поддержание патента в силе
Дата прекращения действия патента: 17.10.2008
Извещение опубликовано: 10.07.2010 БИ: 19/2010
|
|