|
(21), (22) Заявка: 2006125876/06, 17.07.2006
(24) Дата начала отсчета срока действия патента:
17.07.2006
(46) Опубликовано: 27.02.2008
(56) Список документов, цитированных в отчете о поиске:
RU 2080516 C1, 27.05.1997. SU 43589 A, 30.06.1935. RU 54654 U1, 10.07.2006. RU 2149318 C1, 20.05.2000. RU 2270405 C1, 20.02.2006. GB 1038566 А, 10.08.1966. FR 2404811 А, 27.04.1979.
Адрес для переписки:
603052, г.Нижний Новгород, Сормовское ш., 21, ОАО “Нижегородский машиностроительный завод”, начальнику ОИС С.Е. Культину
|
(72) Автор(ы):
Басов Геннадий Иванович (RU), Подпругин Сергей Григорьевич (RU), Проворов Владислав Валентинович (RU), Жидилов Константин Ариевич (RU), Сергеенко Николай Михайлович (RU), Зубарев Анатолий Николаевич (RU), Слепов Леонид Алексеевич (RU)
(73) Патентообладатель(и):
Открытое акционерное общество “Нижегородский машиностроительный завод” (RU)
|
(54) ВОДОГРЕЙНЫЙ КОТЕЛ
(57) Реферат:
Изобретение предназначено для нагрева воды и может быть использовано в теплоэнергетике. Водогрейный котел содержит герметичный корпус, теплообменник-конденсатор, размещенные внутри корпуса котла топочную камеру и парообразующий элемент. Котел снабжен переливным баком и насосом, теплообменник-конденсатор снабжен кожухом, расположен снаружи корпуса котла и соединен трубопроводом с парообразующим элементом, размещенным в топочной камере. Внутренняя полость переливного бака соединена трубопроводом с внутренней полостью кожуха теплообменника-конденсатора, всасывающий патрубок насоса – с внутренней полостью переливного бака, а нагнетательный патрубок насоса – с парообразующим элементом. Изобретение обеспечивает увеличение теплопередачи от паровой фазы теплоносителя к воде тепловой сети. 2 з.п. ф-лы, 2 ил.
Изобретение относится к теплоэнергетике, в частности к водогрейным котлам, и может быть использовано в системах отопления и горячего водоснабжения жилых и общественных зданий.
Известен водогрейный котел, основными элементами которого являются герметичный корпус, частично заполненный жидким теплоносителем, погруженные в теплоноситель топочную камеру и дымогарные трубы, размещенный над поверхностью теплоносителя теплообменник-конденсатор (см., например, патент РФ №2080516, МПК F22B 7/00).
Недостатком данного котла является то, что прочность корпуса котла не позволяет повысить давление в котле без увеличения толщины стенок и, естественно, массы котла, а известно, что с увеличением давления в котле увеличивается и теплопередача воде тепловой сети при конденсации пара на трубках теплообменника-конденсатора.
Кроме того, паровая фаза жидкого теплоносителя смешана с воздухом, находящимся в котле, а даже незначительное количество воздуха, находящееся в паровом пространстве котла, в несколько раз снижает теплопередачу от паровой фазы теплоносителя к воде тепловой сети.
Никаких средств для удаления воздуха из парового пространства котла в нем, кроме удаления его вместе с паром, да и то не полностью, не предусмотрено, поэтому теплопередача в таком котле в несколько раз ниже возможной.
Известны также котлы серии «Vacumatic ОАО Дорогобужкотломаш», например, КВ-Г-0,63-90Н и другие.
Котлы данной серии имеют герметичный корпус, частично заполненный водой, в нижней части корпуса размещена топочная камера, а в верхней части – теплообменник-конденсатор, по которому циркулирует вода тепловой сети.
При работе котлов данной серии, также как и вышеупомянутого, в результате испарения жидкого теплоносителя его паровая фаза контактирует с поверхностью теплообменника, конденсируется на ней, а конденсат стекает в объем жидкого теплоносителя.
Для того, чтобы воздух не ограничивал контакт паровой фазы теплоносителя с поверхностью теплообменника, котлы типа КВ-Г-0,63-90Н вакуумируют.
Вакуумирование котла перед пуском и периодический отсос воздуха в процессе работы осуществляется штатным вакуумным насосом.
Известный водогрейный котел является наиболее близким по совокупности существенных признаков к заявляемому изобретению и выбран в качестве ближайшего аналога.
Основным недостатком известного котла является то, что в паровом пространстве котла (зона, где расположен теплообменник-конденсатор) давление пара ниже атмосферного в связи с тем, что воздух вместе с паровой фазой теплоносителя откачиваются из котла.
Снижение давления в котле ниже атмосферного ведет к снижению температуры кипения воды, а значит, и температуры паровой фазы теплоносителя, что, в свою очередь, приводит к снижению температуры воды в тепловой сети.
Кроме того, наряду с паровой фазой теплоносителя в котле все же присутствует воздух, который ограничивает контакт паровой фазы теплоносителя с теплопередающей поверхностью теплообменника-конденсатора, тем самым ухудшает передачу тепла от паровой фазы теплоносителя к нагреваемой воде тепловой сети. Полностью откачать воздух из парового пространства не удается, а даже небольшое его количество в несколько раз снижает теплопередачу (при относительном содержании воздуха около 4% коэффициент теплопередачи уменьшается в пять раз, при относительном содержании воздуха 0,75% – в два раза).
Техническим результатом изобретения является увеличение теплопередачи от паровой фазы теплоносителя к воде тепловой сети за счет повышения давления паровой фазы теплоносителя в пространстве, где происходит передача тепла воде тепловой сети, то есть в районе теплообменника-конденсатора, а также исключения появления воздуха в паровом пространстве теплообменника-конденсатора с помощью специального средства, вследствие чего повышается КПД котла и снижаются его массо-габаритные характеристики при сохранении мощности.
Указанный технический результат достигается тем, что в водогрейном котле, содержащем герметичный корпус, теплообменник-конденсатор, размещенные внутри корпуса котла топочную камеру и парообразующий элемент, согласно изобретению, котел снабжен насосом и переливным баком, теплообменник-конденсатор снабжен кожухом, расположен снаружи корпуса котла и соединен трубопроводом с парообразующим элементом, размещенным в топочной камере, при этом внутренняя полость переливного бака соединена трубопроводом с внутренней полостью кожуха теплообменника-конденсатора, всасывающий патрубок насоса – с внутренней полостью переливного бака, а нагнетательный патрубок насоса – с парообразующим элементом.
Переливной бак снабжен средством изменения его внутреннего объема, которое выполнено в виде герметичной гибкой мембраны, скрепленной с переливным баком и разделяющей его на два отсека.
Парообразующий элемент укреплен в топочной камере котла и выполнен в виде трубчатого змеевика, соединенного с насосом и теплообменником-конденсатором.
Благодаря указанному выполнению устройства котла давление паровой фазы теплоносителя внутри теплообменника-конденсатора можно повысить без опасения повредить корпус котла, так как пар образуется в трубчатом змеевике, способном выдерживать высокое давление.
Кроме того, внутренние полости теплообменника-конденсатора, змеевика в топочной камере, переливного бака и насоса всегда заполнены водой, воздух внутри них отсутствует и не препятствует контакту паровой фазы теплоносителя с теплопередающей поверхностью теплообменника-конденсатора.
Перечисленные выше отличительные признаки конструкции позволяют увеличить передачу тепла от паровой фазы теплоносителя к нагреваемой воде тепловой сети, тем самым увеличить КПД котла и снизить его массо-габаритные характеристики при сохранении мощности.
Сущность изобретения поясняется графическими материалами, где
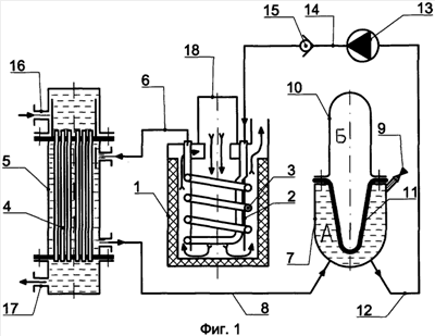
на фиг.1 изображено сечение водогрейного котла в подготовленном к работе состоянии;
на фиг.2 – сечение водогрейного котла в рабочем состоянии.
Водогрейный котел содержит герметичный корпус 1, внутри которого размещены топочная камера 2 и парообразующий элемент 3.
Теплообменник-конденсатор 4 снабжен кожухом 5, расположен снаружи корпуса котла 1 и соединен трубопроводом 6 с парообразующим элементом 3.
Переливной бак содержит корпус 7, который соединен трубопроводом 8 с внутренней полостью кожуха 5, при этом верхняя часть корпуса 7 переливного бака снабжена краном 9 для удаления воздуха при заполнении котла водой. Переливной бак содержит также крышку 10.
Средство изменения внутреннего объема переливного бака выполнено в виде герметичной гибкой мембраны 11, скрепленной с переливным баком и разделяющей его на два отсека А и Б.
Отсек А соединен трубопроводом 12 с всасывающим патрубком насоса 13.
Нагнетательный патрубок насоса 13 трубопроводом 14 через обратный клапан 15 соединен с парообразующим элементом 3.
Теплообменник-конденсатор снабжен патрубком 16, через который вода тепловой сети подается в теплообменник-конденсатор и патрубок 17, через который нагретая вода подается в тепловую сеть.
Газовая горелка 18 крепится к корпусу 1 котла.
Подготовка котла к работе осуществляется следующим образом.
Во внутренние полости контура, образованного парообразующим элементом 3, кожухом 5 теплообменника-конденсатора, корпусом 7 переливного бака и насосом 13, заливается вода, которая вытесняет воздух через кран 9 из внутренних полостей вышеупомянутых элементов котла.
Кран 9 закрывают, тем самым герметизируют этот контур.
Котел работает следующим образом.
Через патрубок 16 вода тепловой сети подается в теплообменник-конденсатор. Включается газовая горелка 18, продукты сгорания топлива проходят через топочную камеру 2, при этом осуществляется передача тепла от горячего газа к воде, находящейся в парообразующем элементе 3.
Вода в парообразующем элементе 3 нагревается, превращается в пар, который через трубопровод 6 направляется в кожух 5 теплообменника-конденсатора, вытесняя находящуюся в нем воду в корпус 7 переливного бака через трубопровод 8, вследствие чего вода давит на мембрану 11 в переливном баке, при этом мембрана 11 перемещается в сторону отсека Б переливного бака (фиг.2), сжимая находящийся в нем воздух.
Обратный клапан 15 препятствует перемещению пара в сторону насоса 13.
Пар, образовавшийся в парообразующем элементе 3, конденсируется на холодных поверхностях трубок теплообменника-конденсатора, передавая свое тепло воде тепловой сети, а конденсат удаляется насосом 13 сначала в корпус 7 переливного бака, а затем по трубопроводу 14 подается в парообразующий элемент 3.
Процесс испарения воды в парообразующем элементе 3 и конденсации в теплообменнике-конденсаторе непрерывно повторяется, при этом происходит перенос тепла от паров теплоносителя к воде тепловой сети.
При остановке котла горелка гасится, пар в замкнутом контуре конденсируется и его место занимает вода из переливного бака, которая под действием сжатого в отсеке Б воздуха в переливном баке и мембраны 11 заполняет весь контур, при этом мембрана 11 в переливном баке перемещается в сторону отсека А, занимая объем вытекающей из него воды. Котел полностью заполнен водой и готов к повторному запуску.
Таким образом, благодаря указанному выполнению устройства котла появляется возможность повысить давление в теплообменнике-конденсаторе, что существенно увеличит теплопередачу от паров теплоносителя к воде тепловой сети. Оснащение котла переливным баком с гибкой мембраной позволяет избавиться от воздуха в теплообменнике-конденсаторе и автоматизировать подготовку котла к повторному пуску. За счет повышения теплопередачи появляется возможность повысить КПД котла, снизить его массо-габаритные характеристики при сохранении его мощности.
Формула изобретения
1. Водогрейный котел, содержащий герметичный корпус, теплообменник-конденсатор, размещенные внутри корпуса котла топочную камеру и парообразующий элемент, отличающийся тем, что котел снабжен переливным баком и насосом, теплообменник-конденсатор снабжен кожухом, расположен снаружи корпуса котла и соединен трубопроводом с парообразующим элементом, размещенным в топочной камере, при этом внутренняя полость переливного бака соединена трубопроводом с внутренней полостью кожуха теплообменника-конденсатора, всасывающий патрубок насоса – с внутренней полостью переливного бака, а нагнетательный патрубок насоса – с парообразующим элементом.
2. Водогрейный котел по п.1, отличающийся тем, что переливной бак снабжен средством изменения его внутреннего объема, выполненным в виде герметичной гибкой мембраны, скрепленной с переливным баком и разделяющей его на два отсека.
3. Водогрейный котел по п.1, отличающийся тем, что парообразующий элемент выполнен в виде трубчатого змеевика, укрепленного в топочной камере и соединенного трубопроводами с насосом и теплообменником-конденсатором.
РИСУНКИ
|