|
| На основании пункта 3 статьи 13 Патентного закона Российской Федерации от 23 сентября 1992 г. № 3517-I патентообладатель обязуется передать исключительное право на изобретение (уступить патент) на условиях, соответствующих установившейся практике, лицу, первому изъявившему такое желание и уведомившему об этом патентообладателя и федеральный орган исполнительной власти по интеллектуальной собственности, – гражданину РФ или российскому юридическому лицу. |
|
(21), (22) Заявка: 2006136188/06, 13.10.2006
(24) Дата начала отсчета срока действия патента:
13.10.2006
(46) Опубликовано: 27.02.2008
(56) Список документов, цитированных в отчете о поиске:
RU 2030690 C1, 10.03.1995. SU 918697 A, 07.04.1982. SU 217628 A, 02.08.1968. SU 794312 A, 07.01.1981. RU 2144439 C1, 20.01.2000. SU 1240458 A1, 30.06.1986. SU 617608 A, 27.07.1978. GB 968490 A, 02.09.1964. DE 1524699 A, 10.05.1968.
Адрес для переписки:
123458, Москва, ул. Твардовского, 11, кв.92, О.С. Кочетову
|
(72) Автор(ы):
Кочетов Олег Савельевич (RU), Кочетова Мария Олеговна (RU), Кочетов Сергей Савельевич (RU), Кочетов Сергей Сергеевич (RU)
(73) Патентообладатель(и):
Кочетов Олег Савельевич (RU)
|
(54) ЭНЕРГОСБЕРЕГАЮЩИЙ ГИДРОКАЛОРИФЕР
(57) Реферат:
Изобретение предназначено для нагрева воздуха за счет скрытой теплоты льдообразования воды и может быть использовано в вентиляционной технике. Гидрокалорифер содержит шахту с патрубками для входа наружного воздуха и выхода приточного воздуха. Патрубок для входа наружного воздуха расположен в нижней части шахты, в которой расположен поддон с перфорированной решеткой и теплообменником, расположенным под решеткой и подсоединенным к входной и выходной магистралям системы сбросных технологических вод предприятия. Вода подается из поддона в напорный водопровод, подающий ее в коллекторы водоразбрызгивающей системы с форсунками камеры орошения, расположенными соответственно до и после каплеуловителя. В патрубке для выхода приточного воздуха расположен калорифер дополнительного нагрева воздуха до температуры приточного воздуха. Гидрокалорифер обеспечивает нагрев холодного наружного воздуха до температуры 0,2…1°С при следующих параметрах: скорость движения воздуха в камере орошения до 3 м/с; крупность капель воды до 300 мкм; коэффициент орошения – 0,03…0,2 кг/кг; давление воды перед форсункой не менее 2 атм. Каждая из форсунок состоит из корпуса со впускным отверстием, крышки, герметизирующей прокладки между корпусом и крышкой, пружины, расположенной между крышкой и завихрителем, выполненным в виде перевернутого днищем вверх цилиндрического стакана, установленного относительно корпуса с кольцевым зазором. В завихрителе выполнено, по меньшей мере, два ряда дроссельных отверстий, а в каждом ряду выполнено, по меньшей мере, два равномерно расположенных по кольцевой стенке завихрителя тангенциальных дроссельных отверстия. В нижней части корпуса установлен в виде конической шайбы сопловый вкладыш с калиброванным коническим отверстием, соосным с цилиндрической поверхностью завихрителя, имеющим конусность обратную конусности конической шайбы вкладыша. Изобретение обеспечивает повышение эффективности процесса нагрева холодного наружного воздуха. 1 з.п. ф-лы, 3 ил.
Изобретение относится к вентиляционной технике, а именно к устройствам для нагрева воздуха за счет скрытой теплоты льдообразования воды.
Наиболее близким техническим решением к заявляемому объекту является аппарат с подвижной насадкой, известный из книги А.А.Русанова. Справочник по пыле- и золоулавливанию. М.: Энергоатомиздат, 1983 г., стр.104, рис.4.23 (прототип), содержащий шахту с патрубками для входа наружного воздуха и выхода приточного воздуха, и водоразбрызгивающую систему.
Недостатком прототипа является сравнительно невысокая эффективность процесса нагрева холодного наружного воздуха.
Технический результат – повышение эффективности процесса нагрева холодного наружного воздуха.
Это достигается тем, что в энергосберегающем гидрокалорифере, содержащем шахту с патрубками для входа наружного воздуха и выхода приточного воздуха и водоразбрызгивающую систему, причем патрубок для входа наружного воздуха расположен в нижней части шахты, в которой расположен поддон с перфорированной решеткой и теплообменником, расположенным под решеткой и подсоединенным к входной и выходной магистралям системы сбросных технологических вод предприятия, а вода подается из поддона насосом в напорный водопровод, подающий ее в коллекторы водоразбрызгивающей системы с форсунками камеры орошения, расположенными соответственно до и после каплеуловителя, расположенного в верхней части шахты, а в патрубке для выхода приточного воздуха расположен калорифер дополнительного нагрева воздуха до температуры приточного воздуха, который вентилятором подается в приточную вентиляционную систему, при этом гидрокалорифер обеспечивает нагрев холодного наружного воздуха до температуры 0,2…1°С, при следующих параметрах: скорость движения воздуха в камере орошения до 3 м/с; крупность капель воды до 300 мкм; коэффициент орошения 0,03…0,2 кг/кг; давление воды перед форсункой не менее 2 атм, согласно изобретению каждая из форсунок состоит из корпуса со впускным отверстием, крышки, герметизирующей прокладки между корпусом и крышкой, пружины, расположенной между крышкой и завихрителем, выполненным в виде перевернутого днищем вверх цилиндрического стакана, установленного относительно корпуса с кольцевым зазором, причем в завихрителе выполнено, по меньшей мере, два ряда дроссельных отверстий, а в каждом ряду выполнено, по меньшей мере, два равномерно расположенных по кольцевой стенке завихрителя тангенциальных дроссельных отверстия, а в нижней части корпуса установлен в виде конической шайбы сопловый вкладыш с калиброванным коническим отверстием, соосным с цилиндрической поверхностью завихрителя, имеющим конусность обратную конусности конической шайбы вкладыша.
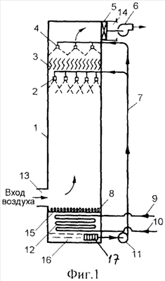
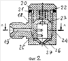
На фиг.1 изображен общий вид гидрокалорифера, на фиг.2 – общий вид форсунки для распыливания жидкостей, на фиг.3 – разрез А-А фиг.2.
Гидрокалорифер содержит шахту 1 с патрубками 13 и 14 соответственно для входа наружного воздуха с минусовой температурой -tн°C и выхода приточного воздуха с температурой +tп°C. Наружный воздух входит в шахту 1 через патрубок 13. Навстречу ему из форсунок 2 камеры орошения разбрызгивается вода. При контакте с воздухом вода, замерзая, отдает ему свою явную и скрытую теплоту и в виде шуги и мокрого снега 8 оседает на перфорированную решетку 15 поддона 16, в котором под решеткой 15 расположен теплообменник 12, подсоединенный к входной 9 и выходной 10 магистралям системы сбросных технологических вод предприятия. Насосом 11 вода подается из поддона 16 через фильтр 17 в напорный водопровод 7, подающий ее в коллекторы с центробежными форсунками 2 и 4, расположенными соответственно до и после каплеуловителя 3. Нагретый воздух проходит каплеуловитель 3, догревается в водяном или паровом калорифере 5 до температуры приточного воздуха +tп°C и вентилятором 6 подается в приточную вентиляционную систему.
Центробежная форсунка (фиг.2-3) состоит из корпуса 18 со впускным отверстием 19, крышки 20, герметизирующей прокладки 21 между корпусом и крышкой, пружины 22, расположенной между крышкой и завихрителем 23, выполненным в виде перевернутого днищем вверх цилиндрического стакана, установленного относительно корпуса 18 с кольцевым зазором 24. В завихрителе 23 выполнено, по меньшей мере, два ряда дроссельных отверстий 25, в каждом ряду выполнено, по меньшей мере, два равномерно расположенных по кольцевой стенке завихрителя 23 дроссельных отверстия 25. В нижней части корпуса 18 установлен в виде конической шайбы сопловый вкладыш 26, выполненный из твердых материалов: карбида вольфрама, рубина, сапфира с калиброванным коническим отверстием 27, соосным с цилиндрической поверхностью завихрителя 23, причем отверстие 27 имеет обратную конусность с конической шайбой вкладыша 26.
Гидрокалорифер работает следующим образом.
Наружный воздух с отрицательными температурами tН входит в шахту 1 через нижний патрубок 13, а навстречу ему из форсунок 2 разбрызгивается вода. При контакте с воздухом вода, замерзая, отдает ему свою явную и скрытую теплоту и в виде шуги и мокрого снега 8 оседает на перфорированной решетке 15 поддона 16, в котором расположен теплообменник 12. Нагретый воздух проходит каплеуловитель 3, догревается в водяном или паровом калорифере 5 до температуры приточного воздуха +tп°C и вентилятором 6 подается в приточную вентиляционную систему (не показано).
Центробежная форсунка для распыливания жидкостей работает следующим образом.
Жидкость подается по впускному отверстию 19 в кольцевой зазор 24, откуда в завихритель 23 через тангенциально расположенные к внутренней поверхности завихрителя 23 дроссельные отверстия 25. Вращающийся поток жидкости из завихрителя 23 выходит через калиброванное коническое отверстие 27 соплового вкладыша 26, в результате чего образуется факел распыленной жидкости, корневой угол которого определяется величиной угла наклона конической поверхности отверстия 27.
При среднем диаметре отверстия 27, находящимся в диапазоне 2,5…3,5 мм и давлении подаваемой через впускное отверстие 19 жидкости под давлением 6…9 МПа обеспечивается распыление от 400 до 1000 кг/ч жидкости. Форсунка проста в изготовлении и обслуживании.
Отходы гидрокалорифера, мокрый снег и шуга легко удаляются водой. Но особенно перспективно использование теплоты сбросных технологических вод предприятия для растапливания отходов непосредственно в поддоне теплообменником 12. Тогда насосом 11 можно замкнуть тракт орошающей воды и сделать гидрокалорифер безотходным.
Наиболее благоприятные условия тепло- и массообмена между воздухом и водой связаны с временем их контакта, а длительность его обусловлена максимальной взвешенностью капель в воздушном потоке, что диктует необходимость противоточной схемы движения воздуха снизу вверх, а движение капель воды сверху вниз. Наиболее высокий термический КПД установки достигается при одном ряде водораспыляющих форсунок с диаметром выходного отверстия 2 мм и скорости восходящего потока 1…1,5 м/с.
Исследования показали, что воздух нагревается за счет скрытой теплоты льдообразования воды, но при строгом соблюдении теплового режима в камере орошения.
Скорость нагреваемого воздуха обусловлена необходимостью взвешивания в потоке капелек воды преобладающей крупности, но не более 3,5 м/с.
На процесс нагрева воздуха оказывают значительное влияние также его температура и степень орошения. Чем ниже tН, тем выше термический КПД гидрокалорифера, что и предопределяет целесообразность применения последнего для условий климата с низкими и продолжительными по времени температурами наружного воздуха.
Полностью использовать теплоту замерзания воды невозможно, поскольку водяные капли имеют различный дисперсный состав, а следовательно, разное время нахождения в потоке воздуха. Часть воды в виде крупных капель быстро пройдет зону контакта с воздухом, часть окажется на стенках камеры орошения. По этим причинам коэффициент орошения в гидрокалорифере достаточно высок – до 0,3 кг/кг. Кроме нагрева воздуха необходима также вода, поступающая из форсунок 4, для смачивания пластин каплеуловителя 3, смыва льда со стенок воздухопроводящего канала и удаления мокрого снега из поддона установки в открытый водоем.
Для предупреждения уноса капель воздушным потоком выше водораспределяющих форсунок 2 устанавливают пластинчатый каплеуловитель 3. Его оптимальные параметры: угол наклона пластин – 90°, расстояние между пластинами – 20 мм, радиус изгиба пластин – 5 мм, скорость прохода воздуха – 4…6 м/с, отношение расстояния между пластинами к расстоянию между их изгибами – 1:5.
Гидрокалорифер обеспечивает нагрев холодного наружного воздуха до температуры 0,2…1°С, при этом можно достичь экономии топливной энергии на 25…40% при следующих параметрах: объем нагреваемого воздуха 936000 м3/ч; скорость движения воздуха 3 м/с; вода подается из открытого водоема с расходами: для работы форсунок орошения – 59 м3/ч, для орошения каплеуловителей 25 м3/ч, для смыва шуги и мокрого снега из поддона камеры – 51 м3/ч.
Таким образом, найдены оптимальные параметры гидрокалорифера для промышленных приточных вентсистем: скорость движения воздуха в камере орошения до 3 м/с; крупность капель воды – до 300 мкм; коэффициент орошения – 0,03…0,2 кг/кг; конечная температура нагрева – ±1,0°С; тип форсунки – ШФ 9/5; давление воды перед форсункой – не меньше 2 атм. Область применения распространяется на регионы со среднемесячными температурами 1Н<-10°С.
Конструкция гидрокалорифера обладает рядом технико-экономических достоинств.
Сравнительно несложными системами автоматики производительность насоса 11 легко увязать с температурой наружного воздуха и тем самым обеспечить подачу только необходимых для обработки воздуха объемов орошающей воды.
Гидрокалорифер полностью покрывает отрицательные температуры, оставляя на долю теплового калорифера 5 стабильный диапазон температур 0…+tп. Это позволяет применять калориферы небольшой тепловой производительности, работающие в постоянном тепловом режиме с высоким КПД.
Нагрев воды до 0°С позволяет повысить ее влагосодержание и относительную влажность внутренней атмосферы. В орошающую воду легко ввести дезинфицирующие добавки, одоранты. Дробление воды на мелкие капли сопровождается образованием и насыщением воздуха отрицательными ионами, благотворно влияющими на человека.
Отходы гидрокалорифера безвредны по отношению к окружающей среде, а весной естественным путем превращаются в воду.
Чем ниже и продолжительнее зимние температуры наружного воздуха, тем экономичнее становится использование гидрокалорифера.
Формула изобретения
1. Энергосберегающий гидрокалорифер, содержащий шахту с патрубками для входа наружного воздуха и выхода приточного воздуха и водоразбрызгивающую систему, причем патрубок для входа наружного воздуха расположен в нижней части шахты, в которой расположен поддон с перфорированной решеткой и теплообменником, расположенным под решеткой и подсоединенным к входной и выходной магистралям системы сбросных технологических вод предприятия, а вода подается из поддона насосом в напорный водопровод, подающий ее в коллекторы водоразбрызгивающей системы с форсунками камеры орошения, расположенными соответственно до и после каплеуловителя, расположенного в верхней части шахты, а в патрубке для выхода приточного воздуха расположен калорифер дополнительного нагрева воздуха до температуры приточного воздуха, который вентилятором подается в приточную вентиляционную систему, при этом гидрокалорифер обеспечивает нагрев холодного наружного воздуха до температуры 0,2…1°С, при следующих параметрах: скорость движения воздуха в камере орошения до 3 м/с; крупность капель воды до 300 мкм; коэффициент орошения 0,03…0,2 кг/кг; давление воды перед форсункой не менее 2 атм, отличающийся тем, что каждая из форсунок состоит из корпуса со впускным отверстием, крышки, герметизирующей прокладки между корпусом и крышкой, пружины, расположенной между крышкой и завихрителем, выполненным в виде перевернутого днищем вверх цилиндрического стакана, установленного относительно корпуса с кольцевым зазором, причем в завихрителе выполнено, по меньшей мере, два ряда дроссельных отверстий, а в каждом ряду выполнено, по меньшей мере, два равномерно расположенных по кольцевой стенке завихрителя тангенциальных дроссельных отверстия, а в нижней части корпуса установлен в виде конической шайбы сопловый вкладыш с калиброванным коническим отверстием, соосным с цилиндрической поверхностью завихрителя, имеющим конусность обратную конусности конической шайбы вкладыша.
2. Энергосберегающий гидрокалорифер по п.1, отличающийся тем, что сопловый вкладыш форсунки выполнен из твердых материалов: карбида вольфрама, рубина, сапфира.
РИСУНКИ
|
|