|
|
(21), (22) Заявка: 2006111855/11, 12.04.2006
(24) Дата начала отсчета срока действия патента:
12.04.2006
(46) Опубликовано: 27.02.2008
(56) Список документов, цитированных в отчете о поиске:
SU 359458 А, 21.10.1972. SU 1795206 A1, 15.02.1993. GB 965272 А, 29.07.1964. JP 2004251296 А, 09.09.2004. JP 2005297034 А, 27.10.2005.
Адрес для переписки:
121087, Москва, ул. Новозаводская, 18, РКЗ, ОНТ, начальнику отдела
|
(72) Автор(ы):
Вибке Эдуард Александрович (RU), Савинов Юрий Иванович (RU)
(73) Патентообладатель(и):
Федеральное Государственное унитарное предприятие “Государственный космический научно-производственный центр им. М.В. Хруничева” (RU)
|
(54) РОЛИКОВАЯ ВИНТОВАЯ ПЕРЕДАЧА
(57) Реферат:
Изобретение относится к области общего машиностроения, а именно к механизмам для преобразования вращательного движения в поступательное и наоборот. Винтовая передача содержит ходовой винт, гайку со встроенным в нее вкладышем, имеющим канал возврата цилиндрических однонаправленных роликов, контактирующих с наружной и внутренней резьбой ходового винта и гайки. Канал возврата роликов выполнен в виде одного витка, ось которого параллельна оси ходового винта и оснащена цилиндрическим пальцем, установленным во вкладыше. Достигается повышение надежности передачи, улучшение условий эксплуатации, упрощение технологии изготовления передачи. 5 ил.
Предлагаемое изобретение относится к области общего машиностроения, а именно к механизмам для преобразования вращательного движения в поступательное и наоборот.
Из патентной литературы известна «Роликовая передача винт – гайка», содержащая винт, имеющий наружную треугольную резьбу, и гайку с такой же внутренней резьбой, взаимодействующие между собой через крестообразно уложенные цилиндрические ролики, канал возврата роликов, выполненный в виде подковообразной трубки с прямоугольным сечением, концы которой заходят в отверстия гайки [а.с. №247742, F16Н 25/22].
Эта передача имеет большие габариты, сложную технологию изготовления и недостаточную надежность.
Наиболее близким аналогом к предлагаемой полезной модели можно считать «Роликовую винтовую передачу», содержащую винт и гайку с треугольной резьбой, имеющую канал возврата роликов в виде встречно направленных канавок прямоугольного сечения с плоским дном, выполненных во вкладыше, разрезанном по диаметральной плоскости гайки, причем вкладыш вставлен в тело гайки, а также цилиндрические однонаправленные ролики [а.с. №359458, F16Н 25/22].
Недостаток предложенной конструкции заключается в сложности ее изготовления, благодаря наличию разрезных вкладышей, что также влияет на надежность работы роликовой винтовой передачи.
Задача, на решение которой направлено предлагаемое техническое решение, – повышение надежности передачи, улучшение условий эксплуатации, упрощение технологии изготовления.
Поставленная задача решается тем, что в роликовой винтовой передаче, содержащей ходовой винт, гайку со встроенным в нее вкладышем, имеющим канал возврата цилиндрических однонаправленных роликов, контактирующих с наружной и внутренней резьбой ходового винта и гайки, канал возврата роликов выполнен в виде одного витка, ось которого параллельна оси ходового винта и оснащена цилиндрическим пальцем, закрепленным во вкладыше.
В результате проведенного поиска по источникам научно-технической и патентной информации не было обнаружено роликовых винтовых передач с заявленной совокупностью существенных признаков, обеспечивающих такой же технический результат.
Таким образом, можно сделать вывод о том, что предлагаемое изобретение обладает новизной, промышленно применимо и имеет изобретательский уровень, т.к. именно заявляемая совокупность существенных признаков позволяет обеспечить достижение поставленной перед изобретателями задачи.
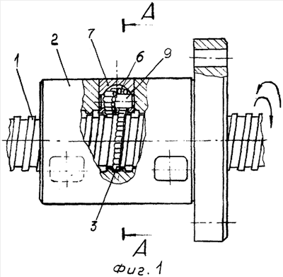
На фиг.1 представлен общий вид предлагаемого изобретения, на фиг.2 – положение цилиндрических однонаправленных роликов в канале возврата, на фиг.3 – вид на вкладыш в аксонометрии (корпус гайки условно не показан), на фиг.4 – разрез А-А фиг.1, на фиг.5 – направление перемещения роликов в ходовом винте, гайке и в канале возврата («витке») вкладыша.
Роликовая винтовая передача состоит из ходового винта 1 и гайки 2, имеющих соответственно наружную и внутреннюю резьбу равного шага и трапецеидального профиля.
Между ходовым винтом 1 и гайкой 2 расположены цилиндрические однонаправленные ролики 3, одновременно перекатывающиеся по резьбе винта и гайки.
Перепуск роликов 3 из выходного конца резьбы 4 в заходный ее конец 5 осуществляется каналом возврата 6, замыкающим один виток резьбы гайки.
Канал возврата 6 роликов 3 расположен во вкладыше 7, вставленном в тело гайки 2, и выполнен в виде одного витка, ось 8 которого параллельна оси ходового винта 1 и имеет в сечении прямоугольный профиль (фиг.2), основанием которого служит цилиндрический палец 9, закрепленный в теле вкладыша 7 по оси 8 витка канала возврата 6.
Торцевые поверхности роликов 3 имеют сферическую форму 10, что обеспечивает их точечный контакт с боковыми поверхностями канала возврата 6.
Вкладыш 7, для облегчения входа и выхода роликов 3, имеет направляющие 11 на входе и на выходе из канала возврата 6.
Роликовая винтовая передача работает следующим образом.
При вращении ходового винта 1 однонаправленные цилиндрические ролики 3, перекатываясь по рабочим поверхностям трапеции – дальнего профиля резьбы винта 1 и гайки 2, перемещают последнюю в горизонтальном направлении.
При перекатывании ролики 3 выталкиваются направляющими 11 из одной канавки резьбовой части передачи в канал возврата 6 вкладыша 7 и, поднимая друг друга, оборачиваются вокруг цилиндрического пальца 9, а затем спускаются в соседнюю канавку.
Направляющие 11 исключают неравномерность перехода роликов 3 в канал возврата 6 и выход из него, чем обеспечивается плавность работы передачи.
Предлагаемая конструкция роликовой винтовой передачи технологична в изготовлении и более надежна при эксплуатации, что дает возможность ее использования в роликовых направляющих с минимальным коэффициентом трения.
Формула изобретения
Роликовая винтовая передача, содержащая ходовой винт, гайку со встроенным в нее вкладышем, имеющим канал возврата цилиндрических однонаправленных роликов, контактирующих с наружной и внутренней резьбой ходового винта и гайки, отличающаяся тем, что канал возврата роликов выполнен в виде одного витка, ось которого параллельна оси ходового винта и оснащена цилиндрическим пальцем, закрепленным во вкладыше.
РИСУНКИ
|
|