|
|
(21), (22) Заявка: 2006124658/11, 10.07.2006
(24) Дата начала отсчета срока действия патента:
10.07.2006
(46) Опубликовано: 27.02.2008
(56) Список документов, цитированных в отчете о поиске:
SU 1411537 A1, 23.07.1988. WO 2004005756 A1, 15.01.2004. GB 1531495 A, 08.11.1978.
Адрес для переписки:
424003, Республика Марий Эл, г.Йошкар-Ола, ул. Суворова, 28В, кв.4, И.А.Кудрявцеву
|
(72) Автор(ы):
Кудрявцев Игорь Аркадьевич (RU), Кудрявцев Александр Игоревич (RU), Исаев Алексей Геннадьевич (RU)
(73) Патентообладатель(и):
Кудрявцев Игорь Аркадьевич (RU)
|
(54) ПЛАНЕТАРНАЯ КОРОБКА ПЕРЕДАЧ
(57) Реферат:
Изобретение относится к машиностроению и может быть использовано в трансмиссиях транспортных средств. Отличительной особенностью планетарной коробки передач является то, что в ней в качестве планетарных рядов (4-8) использованы планетарно-цевочные передачи, характеризующиеся многопарностью зацепления, с общим входным эксцентриковым валом (2) и общим водилом. Центральные колеса (9) каждой планетарно-цевочной передачи взаимодействуют с тормозами (17-21). Общее водило связано с выходным валом (3). Такое выполнение коробки передач обеспечивает большую нагрузочную способность в сочетании с высокой ее компактностью. 3 з.п. ф-лы, 2 ил.
Изобретение относится к машиностроению и может быть использовано в трансмиссиях транспортных средств.
Известен планетарно-цевочный редуктор (Пат. RU 23477), содержащий корпус с опорными подшипниками, в которых установлено выходное поворотное звено, центральный входной вал, установленные в выемках корпуса зубья-ролики и находящиеся в постоянном взаимодействии с эпициклоидальными зубьями сателлитов, установленных с возможностью вращения на эксцентриках входного вала, при этом выходное поворотное звено содержит пальцы, взаимодействующие с цилиндрическими поверхностями отверстий в сателлитах.
Недостатком известной конструкции редуктора является невозможность обеспечения разных режимов работы, отличающихся передаточным отношением.
Известна планетарная коробка передач (Пат. RU 2093736), содержащая корпус, входной и выходной валы, несколько планетарных рядов, имеющих каждый солнечную шестерню, водило с сателлитами и эпицикл, управляемые тормоза и две сцепные муфты.
Недостатком известной конструкции является значительные габаритные размеры и относительно низкая надежность, обусловленные сложностью кинематики.
Техническим результатом изобретения является создание новой кинематической схемы, обеспечивающей упрощение конструкции, компактность и повышенную надежность планетарной коробки передач.
Указанный технический результат достигается тем, что планетарная коробка передач содержит корпус, входной и выходной валы, планетарные ряды и управляемые тормоза, при этом планетарные ряды выполнены в виде планетарно-цевочных передач, содержащих кинематически связанные с управляемыми тормозами центральные колеса, в выемках которых размещены зубья-ролики, находящиеся в постоянном взаимодействии с эпициклоидальными зубьями сателлитов, установленных с возможностью вращения на эксцентриках входного вала и взаимодействующих своими радиально расположенными отверстиями с пальцами общего водила, связанного с выходным валом. Входной вал может быть выполнен плавающим. Общее водило может быть связано с центральным колесом дополнительной планетарно-цевочной передачи, сателлит которой также установлен с возможностью вращения на эксцентрике входного вала, а водило выполнено кинематически связанным с управляемым тормозом, а также общее водило может быть выполнено кинематически связанным с управляемым тормозом.
Отличительными признаками изобретения в сравнении с прототипом является то, что планетарные ряды выполнены в виде планетарно-цевочных передач, содержащих кинематически связанные с управляемыми тормозами центральные колеса, в выемках которых размещены зубья-ролики, находящиеся в постоянном взаимодействии с эпициклоидальными зубьями сателлитов, установленных с возможностью вращения на эксцентриках входного вала и взаимодействующих своими радиально расположенными отверстиями с пальцами общего водила, связанного с выходным валом, при этом входной вал может быть выполнен плавающим, общее водило может быть связано с центральным колесом дополнительной планетарно-цевочной передачи, сателлит которой также установлен с возможность вращения на эксцентрике входного вала, а водило выполнено кинематически связанным с управляемым тормозом, а также общее водило может быть выполнено кинематически связанным с управляемым тормозом.
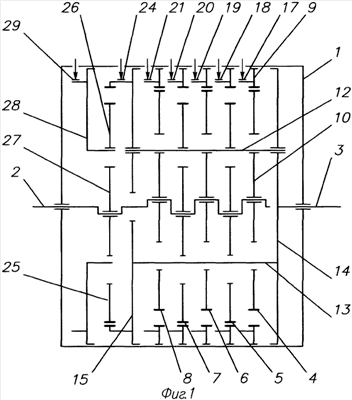
На фиг.1 изображена кинематическая схема планетарной коробки передач,
на фиг.2 – принципиальная схема планетарно-цевочной передачи.
Планетарная коробка передач содержит корпус 1, входной эксцентриковый вал 2, выходной вал 3, пять планетарных рядов 4-8, выполненных в виде планетарно-цевочных передач с разным передаточным отношением, каждая из которых содержит центральное колесо 9 и сателлит 10. Сателлиты 10 установлены с возможностью вращения на входном эксцентриковом валу 2 и взаимодействуют своими радиально расположенными отверстиями 11 с пальцами 12 общего водила, связанного с выходным валом 3 и состоящего из связанных перемычками 13 щек 14 и 15. Перемычки 13 проходят свободно через отверстия 16 в сателлитах 10. Центральные колеса 9 каждой планетарно-цевочной передачи взаимодействуют с управляемыми тормозами 17-21. Сателлиты 10 своими эпициклоидальными зубьями 22 взаимодействуют с зубьями-роликами 23, установленными в выемках центральных колес 9. Общее водило взаимодействует с управляемым тормозом 24. Дополнительный планетарный ряд 25 также выполнен в виде планетарно-цевочной передачи, содержащей центральное колесо 26 и сателлит 27, установленный с возможностью вращения на входном эксцентриковом валу 2, а водило 28 взаимодействует с управляемым тормозом 29. Сателлиты планетарно-цевочных передач выполнены с числом зубьев на единицу меньше числа зубьев-роликов. Передаточное отношение планетарно-цевочной передачи равно числу зубьев сателлита. При оппозитном расположении эксцентриситетов входной эксцентриковый вал 2 может быть выполнен плавающим, без опорных подшипников.
Данная схема планетарной коробки передач, содержащая пять основных планетарных рядов и один дополнительный, позволяет получить шесть передач, отличающихся разным передаточным отношением, включающих одну обратного хода.
Планетарная коробка передач работает следующим образом.
Вращение входного эксцентрикового вала 2 преобразуется в плоскопараллельное движение сателлита 10, который, обкатываясь по зубьям-роликам 23 заторможенного центрального колеса 9, сообщает вращательное движение через пальцы 12 общему водилу, связанному с выходным валом 3.
Любой режим работы коробки передач, то есть включение одной из передач, предусматривает включение одного соответствующего управляемого тормоза при выключенных остальных. Режим реверса осуществляется включением управляемого тормоза 29. Торможение выходного вала осуществляется включением тормоза 24.
Использование в коробке передач планетарно-цевочных передач, характеризующихся многопарностью зацепления, с общим входным эксцентриковым вылом и общим водилом обеспечивает коробке передач большую нагрузочную способность в сочетании с высокой ее компактностью.
Формула изобретения
1. Планетарная коробка передач, содержащая корпус, входной и выходной валы, планетарные ряды и управляемые тормоза, отличающаяся тем, что планетарные ряды выполнены в виде планетарно-цевочных передач, содержащих кинематически связанные с управляемыми тормозами центральные колеса, в выемках которых размещены зубья-ролики, находящиеся в постоянном взаимодействии с эпициклоидальными зубьями сателлитов, установленных с возможностью вращения на эксцентриках входного вала и взаимодействующих своими радиально расположенными отверстиями с пальцами общего водила, связанного с выходным валом.
2. Планетарная коробка передач по п.1, отличающаяся тем, что входной вал выполнен плавающим.
3. Планетарная коробка передач по п.1, отличающаяся тем, что общее водило связано с центральным колесом дополнительной планетарно-цевочной передачи, сателлит которой также установлен с возможностью вращения на эксцентрике входного вала, а водило выполнено кинематически связанным с управляемым тормозом.
4. Планетарная коробка передач по п.1, отличающаяся тем, что общее водило выполнено кинематически связанным с управляемым тормозом.
РИСУНКИ
MM4A – Досрочное прекращение действия патента СССР или патента Российской Федерации на изобретение из-за неуплаты в установленный срок пошлины за поддержание патента в силе
Дата прекращения действия патента: 11.07.2008
Извещение опубликовано: 20.06.2010 БИ: 17/2010
|
|