|
|
(21), (22) Заявка: 2006115453/06, 04.05.2006
(24) Дата начала отсчета срока действия патента:
04.05.2006
(46) Опубликовано: 27.02.2008
(56) Список документов, цитированных в отчете о поиске:
US 5171138 А, 15.12.1992. RU 2245981 А, 10.02.2005. US 6293358 B1, 25.09.2001. US 6881045 B2, 19.04.2005. DE 19531318 A1, 27.02.1997.
Адрес для переписки:
614022, г.Пермь, ГСП, ул. Окулова, 75а, ООО “Фирма “Радиус-Сервис”, директору В.Н. Андоскину
|
(72) Автор(ы):
Андоскин Владимир Николаевич (RU), Астафьев Сергей Петрович (RU), Пушкарев Максим Анатольевич (RU), Нестеров Анатолий Владимирович (RU), Кириевский Юрий Евгеньевич (RU), Глинкин Алексей Сергеевич (RU)
(73) Патентообладатель(и):
Общество с ограниченной ответственностью “Фирма “Радиус-Сервис” (RU)
|
(54) СТАТОР ВИНТОВОЙ ГЕРОТОРНОЙ ГИДРАВЛИЧЕСКОЙ МАШИНЫ
(57) Реферат:
Изобретение относится к винтовым героторным гидравлическим машинам, размещаемым в скважинах, и может быть использовано в двигателях для вращения роторов от насосной подачи текучей среды или в насосах для подачи текучей среды. Статор винтовой героторной гидравлической машины содержит полый корпус, трубчатую оболочку с внутренними и наружными винтовыми зубьями, которая расположена внутри полого корпуса, обкладку из эластомера, которая расположена внутри трубчатой оболочки и скреплена с ее внутренними винтовыми зубьями, а также винтовые демпферы из эластомера, которые расположены в винтовых каналах между наружными винтовыми зубьями трубчатой оболочки. Трубчатая оболочка с внутренними и наружными винтовыми зубьями, а также с обкладкой и винтовыми демпферами из эластомера, установлена внутри полого корпуса с образованием кольцевой камеры между ее наружными винтовыми зубьями, наружной поверхностью винтовых демпферов и внутренней поверхностью полого корпуса, а в кольцевой камере размещена демпферная обкладка из эластомера, скрепленная с внутренней поверхностью полого корпуса, винтовыми демпферами и наружными винтовыми зубьями трубчатой оболочки. Улучшаются энергетические характеристики машины. 4 з.п. ф-лы, 2 ил.
Изобретение относится к винтовым героторным гидравлическим машинам, размещаемым в скважинах, и может быть использовано в двигателях для вращения роторов от насосной подачи текучей среды или в насосах для подачи текучей среды за счет вращения роторов, предназначенных, например, для бурения наклонно направленных и горизонтальных скважин, добычи нефти и перекачивания жидкостей.
Известен статор винтового героторного гидравлического насоса или двигателя, содержащий корпус с внутренней поверхностью, выполненной с внутренними винтовыми зубьями, закрепленные в корпусе охватываемую и охватывающую обкладки из эластомера, при этом охватываемая обкладка выполнена с внутренними винтовыми зубьями, предназначенными для размещения ротора, имеющего наружную поверхность с винтовыми зубьями, охватывающая обкладка скреплена с охватываемой обкладкой и с внутренней поверхностью корпуса, а число зубьев ротора на единицу меньше числа зубьев корпуса (US 6881045 В2, 19.04.2005, F03С 2/08).
Известный гидравлический механизм содержит гибкий слой, выполненный из эластомера, имеющий однородную, по существу, одинаковую толщину на внутренней поверхности корпуса, что приводит к образованию на выступах и впадинах зубьев зон, отличающихся друг от друга величинами контактного давления, сдвиговой прочности, твердости (упругости) и теплопроводности, которые подвергаются деформации и изгибу при планетарно-роторном вращении ротора внутри статора.
Недостатки известной конструкции объясняются неполной возможностью оптимизации толщины обкладки из эластомера вдоль впадин ее внутренней винтовой поверхности, расположенных на максимальном радиальном удалении, а также вдоль выступов и впадин винтовых зубьев.
Это приводит к ухудшению отвода внутреннего тепла от обкладки из эластомера сквозь стенки корпуса к буровому раствору затрубного пространства, к образованию в центрах профиля эластомерной обкладки зон деструкции материала от воздействия градиента температур, к увеличению натяга в рабочей паре.
В результате центр профиля становится менее гибким (хрупким и ломким), механические свойства резины или эластомера на этих участках значительно ухудшаются, при этом давление, действующее в камерах между ротором и статором, может превысить предел сдвиговой прочности эластомера, а вершины зубьев в обкладке деформируются или отрываются от корпуса.
Недостатком известной конструкции является также низкая прочность корпуса статора, а также потеря его устойчивости, преимущественно, при осевой нагрузке на долото и ударных воздействиях от ясов в составе изогнутой колонны бурильных труб в наклонно направленных скважинах, например, при прохождении через радиусные участки ствола скважины при горизонтальном бурении, что объясняется тем, что он выполнен составным: из корпуса – гладкой трубы 10, охватываемой 84 и охватывающей 81 обкладок из эластомера, выполненных в форме геликоида.
Эластомерную охватываемую обкладку 84 (постоянной толщины) выполняют из материала, например, Ultra-Flex 114, а дополнительную охватывающую обкладку 81 с внутренней поверхностью в форме геликоида, по существу, с внутренними винтовыми многозаходными зубьями, выполняют из более твердого и прочного материала.
При этом известный статор, при использовании его в винтовом гидравлическом двигателе, не обеспечивает существенных преимуществ, например максимального темпа набора кривизны (при бурении наклонно направленной скважины), вследствие разрушения корпуса 10, например, при прохождении через радиусные участки ствола скважины при горизонтальном бурении, с использованием в колонне бурильных труб гидравлического и (или) гидромеханического яса, с вращением (от ротора буровой) изогнутой колонны бурильных труб (20…40 об/мин), с ударными нагрузками и ударными импульсами от гидравлического яса, а также вследствие релаксации растягивающих напряжений в изогнутой колонне бурильных труб, в которой установлен статор для двигателя.
Недостатки известного статора для двигателя объясняются также циклическим нагружением винтовых зубьев, выполненных, например, из эластомеров 81, 84 разной сдвиговой прочности, твердости и теплопроводности, которые подвергаются деформации и изгибу при планетарно-роторном вращении ротора внутри статора, что приводит к выделению тепла внутри материала зубьев, нарушению натяга в рабочей паре, отслоению эластомерной обкладки 81 от корпуса 10, а также к расслоению между эластомерными обкладками 81, 84 вследствие ухудшения отвода внутреннего тепла из эластомерной обкладки 84 сквозь слой материала 81, через стенки корпуса 10 к буровому раствору затрубного пространства.
При этом температура в эластомерной обкладке 84 может повышаться, например, до 85°С, а увеличение натяга в рабочей паре может составлять, например, до 0,08 мм на диаметр на каждые 10°С повышения температуры, что приводит к нерасчетным режимам работы, не обеспечивает максимальной мощности, момента силы на выходном валу в режиме максимальной мощности и допустимой осевой нагрузки при повышении максимального перепада давления (межвиткового, на зубьях статора) в режиме максимальной мощности.
Известен механизм Муано, имеющий наружный трубчатый элемент (1), внутренний трубчатый элемент (2), который расположен внутри наружного трубчатого элемента (1), перемещается по оси наружного трубчатого элемента (1) и фиксируется по оси в нужном положении относительно наружного трубчатого элемента (1), а также внутренний трубчатый элемент (2), который имеет внутреннюю поверхность, внутреннюю обкладку (3) из эластомера, жестко соединенную с внутренней поверхностью; обкладку (3), которая имеет внутреннюю винтовую поверхность, а также винтовой ротор (5), который свободно вращается внутри внутреннего трубчатого элемента (2), при этом внутренний трубчатый элемент (2), толщина стенки которого меньше толщины стенки наружного трубчатого элемента (1), а также внутренний трубчатый элемент (2), который имеет два противоположных торца, и как минимум один из противоположных торцов, герметично закрыт относительно внутренней стенки наружного трубчатого элемента (1), а также наружный трубчатый элемент (1), который имеет стопорные приспособления на внутренней стенке для фиксации внутреннего трубчатого элемента (2) в нужном положении, стопорные приспособления, выбранные из группы, состоящей из ограничителей, запирающих элементов и направленных внутрь радиальных защелок, а также внутренний трубчатый элемент (2), который имеет направленные наружу радиальные выступы (2′), где направленные внутрь радиальные защелки (9) соприкасаются с двумя прилегающими выступами (2′) (US 6293358 B1, 21.09.2001, E21В 4/00).
Недостатки известного механизма Муано объясняются неполным использованием возможности улучшения энергетических характеристик героторной винтовой гидравлической машины, по существу, развиваемой мощности и крутящего момента в двигателе или развиваемого давления и расхода в насосе, путем снижения гидромеханических потерь за счет равномерного натяга во всех фазах контакта зубьев обкладки и ротора, улучшения уплотнения по контактным линиям в зоне полюсов зацепления и снижения контактных нагрузок в зоне максимальных скоростей скольжения.
Недостатки известной конструкции объясняются жестким креплением наружного трубчатого элемента (1), который имеет стопорные приспособления на внутренней стенке для фиксации внутреннего трубчатого элемента (2) в нужном положении, стопорные приспособления, выбранные из группы, состоящей из ограничителей, запирающих элементов и направленных внутрь радиальных защелок, и внутреннего трубчатого элемента (2), который имеет направленные наружу радиальные выступы (2′), где направленные внутрь радиальные защелки (9) соприкасаются с двумя прилегающими выступами (2′).
Недостатки известной конструкции объясняются также неполным использованием возможности снижения вероятности возникновения резонансных поперечных колебаний двигателя в скважине при осевых нагрузках, изменяемых при воздействии двигателя на забой, за счет неполной возможности улучшения демпфирования поперечных колебаний двигателя трубчатой оболочкой с обкладкой из эластомера в трубчатом корпусе, что также объясняется их жестким креплением.
Наиболее близким к заявляемому изобретению является забойный двигатель буровой установки, включающий корпус, который имеет входной и выходной концы, через которые прокачивается буровой раствор для активации этого двигателя, жесткий остов статора с многозаходной винтовой конфигурацией, имеет многозаходную винтовую внутреннюю поверхность, стенка остова равномерной толщины, и этот остов закреплен внутри упомянутого выше корпуса, так что буровой раствор идет через этот остов, а также ротор, имеющий внешнюю винтовую поверхность, расположен внутри этого статора для осуществления вращения (US 5171138, F01С 1/10, 15.12.1992).
В известной конструкции эластомер нанесен на винтовую внутреннюю поверхность остова статора или на винтовую внешнюю поверхность ротора таким образом, что между поверхностью, имеющей эластомер, и другой поверхностью (статора или ротора) формируется уплотнение, что в свою очередь создает единое пространство для бурового раствора, вызывающего вращение ротора внутри корпуса, и что приводит в движение этот буровой инструмент, при этом эластомер имеет одинаковую толщину и формирует винтовую уплотняющую поверхность, а также эластомер поддерживается зубьями, зубья таким образом характеризуются повышенной уплотняющей твердостью, при этом статор формирует множественные камеры между корпусом и остовом статора и эти камеры заполнены эластомером, который служит дополнительной опорой остову статора.
Недостатки известной конструкции объясняются неполным использованием возможности улучшения энергетических характеристик героторной винтовой гидравлической машины, по существу, развиваемой мощности и крутящего момента в двигателе или развиваемого давления и расхода в насосе, путем снижения гидромеханических потерь за счет равномерного натяга во всех фазах контакта зубьев обкладки и ротора, улучшения уплотнения по контактным линиям в зоне полюсов зацепления и снижения контактных нагрузок в зоне максимальных скоростей скольжения.
Недостатки известной конструкции объясняются также неполным использованием возможности снижения вероятности возникновения резонансных поперечных колебаний двигателя в скважине при осевых нагрузках, изменяемых при воздействии двигателя на забой, за счет неполной возможности улучшения демпфирования поперечных колебаний двигателя, что также объясняется тем, что остов статора является жесткой опорой для уплотнительной поверхности составного статора, а множественные винтовые камеры, которые формируются между остовом статора и корпусом, заполненные эластомером, не обеспечивают улучшения демпфирования поперечных колебаний двигателя трубчатой оболочкой с обкладкой из эластомера в трубчатом корпусе.
Техническая задача, на решение которой направлено изобретение, заключается в улучшении энергетических характеристик героторной винтовой гидравлической машины, по существу, развиваемой мощности и крутящего момента в двигателе или развиваемого давления и расхода в насосе, путем снижения гидромеханических потерь за счет равномерного натяга во всех фазах контакта зубьев обкладки и ротора, улучшения уплотнения по контактным линиям в зоне полюсов зацепления и снижения контактных нагрузок в зоне максимальных скоростей скольжения.
Другая техническая задача заключается в снижении вероятности возникновения резонансных поперечных колебаний двигателя в скважине при осевых нагрузках, изменяемых при воздействии двигателя на забой, за счет демпфирования поперечных колебаний полого корпуса двигателя трубчатой оболочкой с обкладкой из эластомера в трубчатом корпусе демпферной обкладкой и синхронизации работы многозаходных многошаговых винтовых камер между зубьями ротора и обкладки.
Сущность технического решения заключается в том, что в статоре винтовой героторной гидравлической машины, содержащем полый корпус, трубчатую оболочку с внутренними и наружными винтовыми зубьями, которая расположена внутри полого корпуса, обкладку из эластомера, которая расположена внутри трубчатой оболочки и скреплена с ее внутренними винтовыми зубьями, а также винтовые демпферы из эластомера, которые расположены в винтовых каналах между наружными винтовыми зубьями трубчатой оболочки, согласно изобретению трубчатая оболочка с внутренними и наружными винтовыми зубьями, а также с обкладкой и винтовыми демпферами из эластомера, установлена внутри полого корпуса с образованием кольцевой камеры между ее наружными винтовыми зубьями, наружной поверхностью винтовых демпферов и внутренней поверхностью полого корпуса, а в кольцевой камере размещена демпферная обкладка из эластомера, скрепленная с внутренней поверхностью полого корпуса, винтовыми демпферами и наружными винтовыми зубьями трубчатой оболочки.
Кроме того, минимальная толщина демпферной обкладки из эластомера, расположенной в кольцевой камере между наружными винтовыми зубьями трубчатой оболочки, наружной поверхностью винтовых демпферов и внутренней поверхностью полого корпуса, равна минимальной толщине обкладки из эластомера, которая расположена внутри трубчатой оболочки и скреплена с ее внутренними винтовыми зубьями.
Максимальная толщина обкладки из эластомера, которая расположена внутри трубчатой оболочки и скреплена с ее внутренними винтовыми зубьями, вдоль впадин винтовых зубьев, расположенных на максимальном радиальном удалении, равна половине высоты внутренних винтовых зубьев обкладки из эластомера.
Толщина трубчатой оболочки равна минимальной толщине демпферной обкладки из эластомера, скрепленной с внутренней поверхностью полого корпуса, винтовыми демпферами и наружными винтовыми зубьями трубчатой оболочки.
Твердость обкладки из эластомера, например из резины, которая расположена внутри трубчатой оболочки и скреплена с ее внутренними винтовыми зубьями, составляет 0,618…1,618 от твердости демпферной обкладки из эластомера, скрепленной с внутренней поверхностью полого корпуса, винтовыми демпферами и наружными винтовыми зубьями трубчатой оболочки.
В заявляемой конструкции, при ее использовании в забойном двигателе, за счет того, что трубчатая оболочка с внутренними и наружными винтовыми зубьями, а также с обкладкой и винтовыми демпферами из эластомера установлена внутри полого корпуса с образованием кольцевой камеры между ее наружными винтовыми зубьями, наружной поверхностью винтовых демпферов и внутренней поверхностью полого корпуса, а в кольцевой камере размещена демпферная обкладка из эластомера, скрепленная с внутренней поверхностью полого корпуса, винтовыми демпферами и наружными винтовыми зубьями трубчатой оболочки, обеспечиваются зоны идентичной сдвиговой прочности, твердости и теплопроводности, обеспечивается снижение градиента температур при выделении тепла внутри материала зубьев, улучшается отвод внутреннего тепла из эластомерной обкладки, расположенной внутри трубчатой оболочки, через металлическую трубчатую оболочку к потоку текучей среды (буровому раствору) внутри полого корпуса, а также улучшается отвод внутреннего тепла из эластомерной демпферной обкладки сквозь стенки полого корпуса к потоку текучей среды с внешней стороны полого корпуса, который направлен от забоя (от долота) к устью скважины.
При этом повышается надежность и ресурс, а также обеспечивается максимальная мощность, момент силы на выходном валу в режиме максимальной мощности и допустимая осевая нагрузка за счет повышения усталостной выносливости эластомерной обкладки и обеспечения максимального перепада давления (межвиткового, на зубьях статора) в режиме максимальной мощности.
Надежность заявляемого статора для винтового героторного гидравлического двигателя обеспечивается за счет демпфирования и менее напряженных условий работы эластомерной обкладки: при наличии в рабочей паре между ротором и эластомерной обкладкой наружной трубы необходимого натяга, контактное давление составляет 2,5…3 МПа, скорость скольжения составляет 0,5…2,5 м/с, при этом гидростатическое давление может достигать 30 МПа, а момент силы на выходном валу в режиме максимальной мощности может достигать 12 кН·м.
За счет того, что минимальная толщина демпферной обкладки из эластомера, расположенной в кольцевой камере между наружными винтовыми зубьями трубчатой оболочки, наружной поверхностью винтовых демпферов и внутренней поверхностью полого корпуса, равна минимальной толщине обкладки из эластомера, которая расположена внутри трубчатой оболочки и скреплена с ее внутренними винтовыми зубьями, сохраняется натяг в рабочей паре, улучшается отвод внутреннего тепла из эластомерной обкладки, расположенной внутри трубчатой оболочки, через металлическую трубчатую оболочку к потоку текучей среды внутри полого корпуса, а также улучшается отвод внутреннего тепла из эластомерной демпферной обкладки сквозь стенки полого корпуса к потоку текучей среды с внешней стороны полого корпуса, который направлен от забоя (от долота) к устью скважины.
Это обеспечивает возможность повышения энергетических характеристик, надежности и ресурса с использованием заявляемого статора, по существу, повышения максимальной мощности, момента силы на выходном валу в режиме максимальной мощности и допустимой осевой нагрузки за счет повышения максимального перепада давления (межвиткового, на зубьях статора) в режиме максимальной мощности, а также повышения усталостной выносливости эластомерной обкладки.
За счет того, что толщина трубчатой оболочки равна минимальной толщине демпферной обкладки из эластомера, скрепленной с внутренней поверхностью полого корпуса, винтовыми демпферами и наружными винтовыми зубьями трубчатой оболочки, обеспечиваются существенные преимущества:
– прочность полого корпуса в режиме максимального набора кривизны при прохождении через радиусные участки ствола скважины при горизонтальном бурении;
– при использовании в колонне бурильных труб гидравлического и (или) гидромеханического яса с вращением (от ротора буровой) изогнутой колонны бурильных труб (20…40 об/мин);
– при ударных нагрузках и ударных импульсах от гидравлического и (или) гидромеханического яса и релаксации растягивающих напряжений в изогнутой колонне бурильных труб, в которой установлен статор для двигателя.
За счет того, что твердость обкладки из эластомера, например из резины, которая расположена внутри трубчатой оболочки и скреплена с ее внутренними винтовыми зубьями, составляет 0,618…1,618 от твердости демпферной обкладки, скрепленной с внутренней поверхностью полого корпуса, винтовыми демпферами и наружными винтовыми зубьями трубчатой оболочки, обеспечивается повышенная усталостная выносливость, повышенная стойкость: абразивная и в среде нефтепродуктов, а также высокая упругость, эластичность и надежность уплотнения рабочей пары ротор-обкладка статора в режиме максимальной мощности.
При использовании заявляемой конструкции повышается ресурс рабочей пары ротор – статор на 30…45%, а механическая скорость проходки скважины на 35…50% больше. За счет увеличения ресурса и механической скорости проходка на рабочую пару ротор-статор увеличивается в 1,3 раза.
Ниже представлен лучший вариант конструкции статора винтового забойного двигателя для бурения наклонно направленных и горизонтальных нефтяных скважин.
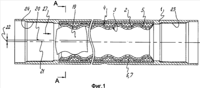
На фиг.1 показан продольный разрез статора винтового забойного двигателя.
На фиг.2 показан разрез А-А на фиг.1 поперек статора и ротора винтового забойного двигателя, отношение чисел зубьев ротор-обкладка равно 5/6.
Статор винтового забойного двигателя для вращения ротора от насосной подачи текучей среды содержит полый корпус 1, трубчатую оболочку 2 с внутренними винтовыми зубьями 3 и наружными винтовыми зубьями 4, которая расположена внутри полого корпуса 1, обкладку 5 из эластомера, которая расположена внутри трубчатой оболочки 2 и скреплена с ее внутренними винтовыми зубьями 3, а также винтовые демпферы 6 из эластомера, которые расположены в винтовых каналах 7 между наружными винтовыми зубьями 4 трубчатой оболочки 2 (показано на фиг.1, 2.)
Трубчатая оболочка 2 с внутренними и наружными винтовыми зубьями соответственно 3 и 4, а также с обкладкой 5 и винтовыми демпферами 6 из эластомера установлена внутри полого корпуса 1 с образованием кольцевой камеры 8 между ее наружными винтовыми зубьями 4, наружной поверхностью 9 винтовых демпферов 6 и внутренней поверхностью 10 полого корпуса 1, а в кольцевой камере 8 размещена демпферная обкладка 11 из эластомера, скрепленная с внутренней поверхностью 10 полого корпуса 1, винтовыми демпферами 6 и наружными винтовыми зубьями 4 трубчатой оболочки 2 (показано на фиг.2).
Минимальная толщина 12 демпферной обкладки 11 из эластомера, расположенной в кольцевой камере 8 между наружными винтовыми зубьями 4 трубчатой оболочки 2, наружной поверхностью 9 винтовых демпферов 6 и внутренней поверхностью 10 полого корпуса 1, равна минимальной толщине 13 обкладки 5 из эластомера, которая расположена внутри трубчатой оболочки 2 и скреплена с ее внутренними винтовыми зубьями 3 (показано на фиг.2).
Максимальная толщина 14 обкладки 5 из эластомера, которая расположена внутри трубчатой оболочки 2 и скреплена с ее внутренними винтовыми зубьями 3, вдоль впадин 15 винтовых зубьев, расположенных на максимальном радиальном удалении, равна половине высоты 16 внутренних винтовых зубьев 17 обкладки 5 из эластомера (показано на фиг.2).
Толщина 18 трубчатой оболочки 2 равна минимальной толщине 12 демпферной обкладки 11 из эластомера, скрепленной с внутренней поверхностью 10 полого корпуса 1, винтовыми демпферами 6 и наружными винтовыми зубьями 4 трубчатой оболочки 2 (показано на фиг.2).
Твердость обкладки 5 из эластомера, например из резины, которая расположена внутри трубчатой оболочки 2 и скреплена с ее внутренними винтовыми зубьями 3, составляет 0,618…1,618 от твердости демпферной обкладки 11 из эластомера, скрепленной с внутренней поверхностью 10 полого корпуса 1, винтовыми демпферами 6 и наружными винтовыми зубьями 4 трубчатой оболочки 2 (показано на фиг.1, 2).
Статор предназначен для винтового забойного двигателя, где поз.19 – ротор, поз.20 – центральная продольная ось ротора 19, поз.21 – центральная продольная ось полого корпуса 1, поз.22 – величина эксцентриситета ротора 19, установленного в обкладке 5, например, из резины, которая расположена внутри трубчатой оболочки 2 и скреплена с ее внутренними винтовыми зубьями 3, а каждая из концевых частей полого корпуса 1 выполнена с внутренней конической резьбой 23, 24 (показано на фиг.1, 2.).
Кроме того, на фиг.2 поз.25 – многозаходные винтовые камеры между зубьями 26 ротора 19 и винтовыми зубьями 17 обкладки 5 из эластомера; на фиг.1 поз.27 – направление потока бурового раствора.
Конструкция статора при ее использовании в винтовом забойном двигателе работает следующим образом: поток бурового раствора 27 под давлением, например, 25…30 МПа по колонне бурильных труб подается в многозаходные винтовые камеры 25 между зубьями 26 ротора 19 и зубьями 17 обкладки 5 из эластомера и образует область высокого давления и момент от гидравлических сил, который приводит в планетарно-роторное вращение ротор 19 внутри зубьев 17 обкладки 5 из эластомера, которая расположена внутри трубчатой оболочки 2 и скреплена с ее внутренними винтовыми зубьями 3 (показано на фиг.2.).
Трубчатая оболочка 2 с внутренними и наружными винтовыми зубьями соответственно 3 и 4, а также с обкладкой 5 и винтовыми демпферами 6 из эластомера установлена внутри полого корпуса 1 с образованием кольцевой камеры 8 между ее наружными винтовыми зубьями 4, наружной поверхностью 9 винтовых демпферов 6 и внутренней поверхностью 10 полого корпуса 1, а в кольцевой камере 8 размещена демпферная обкладка 11 из эластомера, скрепленная с внутренней поверхностью 10 полого корпуса 1, винтовыми демпферами 6 и наружными винтовыми зубьями 4 трубчатой оболочки 2, подвергается сложной деформации и изгибу при планетарно-роторном вращении ротора 19 внутри зубьев 17 обкладки 5 из эластомера, которая расположена внутри трубчатой оболочки 2 и скреплена с ее внутренними винтовыми зубьями 3.
Многозаходные винтовые камеры 25 между зубьями 26 ротора 19 и винтовыми зубьями 17 обкладки 5 из эластомера имеют переменный объем и периодически перемещаются по потоку 27 бурового раствора, который имеет плотность до 1500 кг/м3, содержит до 2% песка и до 5% нефтепродуктов.
За счет того, что трубчатая оболочка 2 с внутренними и наружными винтовыми зубьями соответственно 3 и 4, а также с обкладкой 5 и винтовыми демпферами 6 из эластомера установлена внутри полого корпуса 1 с образованием кольцевой камеры 8 между ее наружными винтовыми зубьями 4, наружной поверхностью 9 винтовых демпферов 6 и внутренней поверхностью 10 полого корпуса 1, а в кольцевой камере 8 размещена демпферная обкладка 11 из эластомера, скрепленная с внутренней поверхностью 10 полого корпуса 1, винтовыми демпферами 6 и наружными винтовыми зубьями 4 трубчатой оболочки 2, обеспечиваются зоны идентичной сдвиговой прочности, твердости и теплопроводности, обеспечивается уменьшение градиента температур при выделении тепла внутри материала зубьев 17 обкладки 5 из эластомера, которая расположена внутри трубчатой оболочки 2 и скреплена с ее внутренними винтовыми зубьями 3, улучшается отвод внутреннего тепла из обкладки 5 из эластомера, расположенной внутри трубчатой оболочки 2, через металлическую трубчатую оболочку 2 к потоку текучей среды 27 внутри полого корпуса 1, а также улучшается отвод внутреннего тепла из демпферной обкладки 11 сквозь стенки полого корпуса 1 к потоку текучей среды 27 с внешней стороны полого корпуса 1, который направлен от забоя (от долота) к устью скважины.
Твердость обкладки 5 из эластомера, например из резины, которая расположена внутри трубчатой оболочки 2 и скреплена с ее внутренними винтовыми зубьями 3, составляет 0,618…1,618 от твердости демпферной обкладки 11 из эластомера, скрепленной с внутренней поверхностью 10 полого корпуса 1, винтовыми демпферами 6 и наружными винтовыми зубьями 4 трубчатой оболочки 2, соответственно, для насосов и двигателей.
При этом обкладка 5, выполненная, например, из резины ИРП-1226-5, работает в менее напряженных условиях: при наличии в рабочей паре (зубья 26 ротора 19 – зубья 17 обкладки 5) определенного натяга, контактное давление составляет 2,5…3 МПа, скорость скольжения 0,5…2,5 м/с, при этом гидростатическое давление может достигать 30 МПа, а момент силы на выходном валу в режиме максимальной мощности может достигать 12 кН·м.
Изобретение улучшает энергетические характеристики винтовой героторной гидравлической машины, по существу, развиваемую мощность и крутящий момент в двигателе или развиваемое давление и расход в насосе путем снижения гидромеханических потерь за счет равномерного натяга во всех фазах контакта зубьев обкладки и ротора, улучшения уплотнения по контактным линиям в зоне полюсов зацепления и снижения контактных нагрузок в зоне максимальных скоростей скольжения, уменьшения градиента температур при выделении тепла внутри материала зубьев и повышения усталостной выносливости обкладки из эластомера.
Изобретение снижает также вероятность возникновения резонансных поперечных колебаний двигателя в скважине при осевых нагрузках, изменяемых при воздействии двигателя на забой, за счет демпфирования поперечных колебаний полого корпуса двигателя трубчатой оболочкой с обкладкой из эластомера в трубчатом корпусе демпферной обкладкой и синхронизации работы многозаходных многошаговых винтовых камер между зубьями ротора и обкладки.
Формула изобретения
1. Статор винтовой героторной гидравлической машины, содержащий полый корпус, трубчатую оболочку с внутренними и наружными винтовыми зубьями, которая расположена внутри полого корпуса, обкладку из эластомера, которая расположена внутри трубчатой оболочки и скреплена с ее внутренними винтовыми зубьями, а также винтовые демпферы из эластомера, которые расположены в винтовых каналах между наружными винтовыми зубьями трубчатой оболочки, отличающийся тем, что трубчатая оболочка с внутренними и наружными винтовыми зубьями, а также с обкладкой и винтовыми демпферами из эластомера, установлена внутри полого корпуса с образованием кольцевой камеры между ее наружными винтовыми зубьями, наружной поверхностью винтовых демпферов и внутренней поверхностью полого корпуса, а в кольцевой камере размещена демпферная обкладка из эластомера, скрепленная с внутренней поверхностью полого корпуса, винтовыми демпферами и наружными винтовыми зубьями трубчатой оболочки.
2. Статор винтовой героторной гидравлической машины по п.1, отличающийся тем, что минимальная толщина демпферной обкладки из эластомера, расположенной в кольцевой камере между наружными винтовыми зубьями трубчатой оболочки, наружной поверхностью винтовых демпферов и внутренней поверхностью полого корпуса, равна минимальной толщине обкладки из эластомера, которая расположена внутри трубчатой оболочки и скреплена с ее внутренними винтовыми зубьями.
3. Статор винтовой героторной гидравлической машины по п.1, отличающийся тем, что максимальная толщина обкладки из эластомера, которая расположена внутри трубчатой оболочки и скреплена с ее внутренними винтовыми зубьями, вдоль впадин винтовых зубьев, расположенных на максимальном радиальном удалении, равна половине высоты внутренних винтовых зубьев обкладки из эластомера.
4. Статор винтовой героторной гидравлической машины по п.1, отличающийся тем, что толщина трубчатой оболочки равна минимальной толщине демпферной обкладки из эластомера, скрепленной с внутренней поверхностью полого корпуса, винтовыми демпферами и наружными винтовыми зубьями трубчатой оболочки.
5. Статор винтовой героторной гидравлической машины по п.1, отличающийся тем, что твердость обкладки из эластомера, например, из резины, которая расположена внутри трубчатой оболочки и скреплена с ее внутренними винтовыми зубьями, составляет 0,618…1,618 от твердости демпферной обкладки из эластомера, скрепленной с внутренней поверхностью полого корпуса, винтовыми демпферами и наружными винтовыми зубьями трубчатой оболочки.
РИСУНКИ
|
|