|
|
(21), (22) Заявка: 2005112737/06, 17.09.2003
(24) Дата начала отсчета срока действия патента:
17.09.2003
(30) Конвенционный приоритет:
27.09.2002 DE 10245497.3
(43) Дата публикации заявки: 20.09.2005
(46) Опубликовано: 27.02.2008
(56) Список документов, цитированных в отчете о поиске:
DE 19950257 А, 26.04.2001. DE 19534774 А1, 20.03.1997. DE 29911031 U1, 28.12.2000. US 4764094 А, 16.08.1988. SU 1671974 А1, 23.08.1991.
(85) Дата перевода заявки PCT на национальную фазу:
27.04.2005
(86) Заявка PCT:
EP 03/10341 (17.09.2003)
(87) Публикация PCT:
WO 2004/031584 (15.04.2004)
Адрес для переписки:
129010, Москва, ул. Б.Спасская, 25, стр.3, ООО “Юридическая фирма Городисский и Партнеры”, пат.пов. Г.Б. Егоровой, рег.№ 513
|
(72) Автор(ы):
КЕХЕЛЕ Бруно (DE)
(73) Патентообладатель(и):
ВИЛЬХЕЛЬМ КЕХЕЛЕ ГМБХ ЭЛАСТОМЕРТЕХНИК (DE)
|
(54) ЭКСЦЕНТРИКОВЫЙ ШНЕКОВЫЙ НАСОС С РАСШИРЕННЫМ ТЕМПЕРАТУРНЫМ ДИАПАЗОНОМ
(57) Реферат:
Изобретение относится к эксцентриковым шнековым насосам или двигателям. У эксцентрикового шнекового насоса или эксцентрикового шнекового двигателя направленные внутрь в статор зубья и находящиеся между ними впадины снабжены дополнительной структурой ребро-паз. За счет этого снижается трение между статором и ротором, поскольку прижимное усилие при постоянном герметизирующем действии может быть уменьшено или при повышенном прижимном усилии уменьшается площадь контакта. 4 н. и 60 з.п. ф-лы, 10 ил.
Эксцентриковые шнековые насосы или двигатели состоят из статора, имеющего винтообразное отверстие или проход, в котором вращается винтообразный ротор. Число витков винтообразного ротора на 1 меньше числа витков отверстий статора. При вращении ротора он с геометрическим замыканием обкатывается по резьбе отверстия. С точки зрения передаточного механизма речь идет о косозубой шестерне, обкатывающейся по косозубому полому колесу, причем шестерня и полое колесо отличаются по числу зубьев на 1.
При вращении ротора его продольная ось движется идеальным образом по круговой траектории. Диаметр круговой траектории соответствует двойному значению эксцентриситета.
Поскольку внешняя поверхность ротора и отверстие в статоре выполнены винтообразными с одинаковым направлением вращения, вдоль ротора возникают приблизительно бананообразные полости, которые при движении ротора поступательно передвигаются от одного конца статора в направлении другого конца. Каждая из этих бананообразных камер герметично отделена от остальных камер, которые окружают другие зоны статора с другими зонами ротора.
Для обеспечения хорошей герметизации между отдельными камерами статор снабжен эластомерной облицовкой, т.е. внутренняя стенка статора состоит из эластомерного материала, прижимаемого к ротору в зоне мест касания с ним.
Относительное движение между статором и ротором не является чисто движением качения. Вследствие герметизации между статором и ротором оно является на больших отрезках движением скольжения.
Когда эксцентриковый шнековый насос нагружается находящейся под давлением средой он может использоваться в качестве эксцентрикового шнекового двигателя. Этот принцип находит применением в подземных буровых двигателях (погружной гидравлический двигатель), поскольку эксцентриковые шнековые двигатели состоят из очень малого числа деталей, очень узкие в диаметре и могут вырабатывать, тем не менее, большие крутящие моменты.
Среда, перекачиваемая или используемая для привода, может содержать частицы без опасения повреждения насоса или двигателя, что является дополнительным преимуществом эксцентриковых шнековых насосов или эксцентриковых шнековых двигателей. Эксцентриковые шнековые насосы используются, например, для транспортировки раствора, т.е. материала, содержащего большую долю твердых веществ.
Температура эксцентрикового шнекового насоса или эксцентрикового шнекового двигателя получается из расхода, температуры, а также удельной теплоты пропускаемой среды и трения между статором и ротором. Трение вырабатывает теплоту, отводимую средой. В зависимости от температуры окружающей среды и мощности эксцентриковый шнековый насос достигает рабочих температур до 300°С.Он должен, тем самым, выдержать скачок температуры примерно до 280°С, если он имеет в исходном состоянии комнатную температуру и эксплуатируется в нормальных окружающих условиях.
Эластомерная облицовка состоит из синтетического эластомера или их смесей с натуральным каучуком. Оба материала обладают сильной температурной характеристикой, т.е. коэффициент расширения относительно велик. Размер в свету в статоре значительно изменяется, тем самым, в зависимости от температуры. При низкой температуре ротор вращается в статоре легко, тогда как при высоких температурах материал внутренней облицовки расширяется настолько, что статор практически заклинивается. Если его, тем не менее, вращать снаружи с помощью привода, то в отверстии оторвутся зубья эластомерной облицовки.
Потери на трение, возникающие внутри эксцентрикового шнекового насоса или эксцентрикового шнекового двигателя, сильно зависят от температуры и зависят от среды.
У использовавшихся прежде геометрических форм развертка отверстия статора имеет относительно гладкую волнообразную форму. Эта волнообразная форма может быть вычислена специалистом на основе известных геометрических отношений и желаемого усилия натяжения в уплотненных местах. В самом широком смысле зубья имеют форму циклоидных зубьев, причем зубья и впадины между ними скруглены.
Причину упомянутого заклинивания статора в роторе относительно легко понять на шайбообразном фрагменте. Предположим, что отверстие в статоре пятивитковое, тогда число зубьев ротора составляет 4. В одном положении один зуб ротора входит во впадину между зубьями отверстия, тогда как противоположный зуб ротора при движении обката скользит по противоположному зубу отверстия. Чем сильнее вследствие температурного расширения эластомерная облицовка разрослась радиально внутрь, тем меньше становится расстояние между вершиной зуба и основанием противолежащей впадины между зубьями, в результате чего соответственно возрастает заклинивающее усилие ротора.
Рабочий диапазон известных эксцентриковых шнековых насосов или эксцентриковых шнековых двигателей также нельзя расширить из-за того, что эластомерная облицовка по своим внутренним размерам рассчитана на соответствующую высокую рабочую температуру. В холодном состоянии ротор герметизировался бы уже недостаточно относительно внутренней стенки отверстия, поскольку эластомерная облицовка в зависимости от температуры испытывает слишком сильную усадку.
Эксцентриковые шнековые насосы все больше используются для транспортировки чистой воды. При этом вода сама по себе является относительно хорошим смазочным средством для пары материалов резина-металл. Вследствие фрикционного движения между ротором и внутренней стенкой статора водяная пленка, однако, удаляется, и на относительно широкой полосе происходит сухое соприкосновение между облицовкой и ротором, что вызывает повышенные скрипы.
Исходя из этого, задачей изобретения является создание эксцентрикового шнекового насоса или эксцентрикового шнекового двигателя, который был бы функционально способным в широком температурном диапазоне.
Кроме того, задачей изобретения является создание эксцентрикового шнекового насоса или эксцентрикового шнекового двигателя, который при одной и той же температуре с равными прочими параметрами имел бы меньшее внутреннее трение, чем известное из уровня техники устройство.
Наконец задачей изобретения является создание менее склонного к шумообразованию эксцентрикового шнекового насоса или эксцентрикового шнекового двигателя для применения в сочетании с чистой водой.
Эти задачи решаются согласно изобретению посредством эксцентрикового шнекового насоса или эксцентрикового шнекового двигателя с отличительными признаками пунктов 1-4 формулы изобретения.
У вытеснительных машин согласно изобретению следует прежде всего мысленно исходить из профиля внутреннего отверстия, обычно используемого для эксцентриковых шнековых насосов или эксцентриковых шнековых двигателей в соответствии с уровнем техники. В этом полученном таким образом профиле выполняют плоские пазы, которые скругленными боковыми поверхностями переходят в остальной профиль. За счет этого профиль внутреннего отверстия складывается как бы из лежащих рядом друг с другом ребер, отделенных друг от друга пазами. Подобные пазы могут быть использованы на поверхностях вершин зубьев или во впадинах резьбы внутреннего отверстия статора или как на поверхностях вершин зубьев, так и во впадинах между зубьями. Благодаря этим пазам участок, на котором ротор, если смотреть в окружном направлении, находится соответственно в контакте с фрикционным замыканием с облицовкой, заметно уменьшается при одинаковом герметизирующем действии. В то же время прижимное усилие может быть уменьшено.
Как только зуб ротора перекроет паз, возникнут две уплотнительные кромки, герметизирующие зуб. Каждая из них сама по себе может быть прижата с заметно меньшим усилием, не вызывая неплотностей. Кроме того, материал облицовки при прохождении зуба ротора из возвышенной зоны в зону паза массируется, чем достигается большая податливость.
Даже если из-за температурных расширений эластомерного материала ширина внутреннего отверстия становится меньше, возникают еще приемлемые прижимные усилия. Уменьшение прижимного усилия даже при уменьшении ширины в свету вытекает из возможности вытеснения материала, как сказано выше, в зону паза, где он лучше может отклоняться.
Дополнительно к пазам рядом с каждым пазом с обеих сторон могут быть предусмотрены также ребра, возвышающиеся относительно гладкого профиля.
Выполнение статора согласно изобретению предпочтительно в эксцентриковых шнековых устройствах, работающих как в качестве насоса, так и в качестве двигателя.
Корпус, окружающий эластомерную облицовку, может на выбор ограничивать цилиндрическое или винтообразное внутреннее пространство. В случае винтообразного внутреннего пространства толщина эластомерной облицовки во всех местах приблизительно одинакова, тогда как у цилиндрического внутреннего пространства она в зоне зубьев отверстия заметно больше, и, вследствие этого, податливее облицовка.
Дополнительные ребра или пазы могут быть предусмотрены не только на вершинах зубьев или во впадинах между зубьями, но и на боковых сторонах, которые соединяют вершины зубьев со впадинами между зубьями.
Размеры ребер или пазов, соответственно если смотреть в окружном направлении, могут быть на вершинах зубьев больше, чем во впадинах между зубьями. Особенно благоприятные соотношения возникают тогда, когда ребра на зубьях симметричны относительно линии вершины, повторяющей контур зуба и отстоящей на наименьшее радиальное расстояние от оси отверстия. Непосредственно на линии вершины ребро, тем самым, отсутствует. Та же структура может быть использована и во впадине между зубьями.
Особенно благоприятное расположение в отношении впадины между зубьями возникает тогда, когда непосредственно по линии впадины, отстоящей на наибольшее радиальное расстояние от оси отверстия, проходит ребро. Таким образом, во впадине между зубьями, где зуб ротора прижат сильнее всего, можно особенно мягко поддержать его.
По меньшей мере, у некоторых ребер или пазов профиль поперечного сечения ребра, если смотреть в окружном направлении отверстия, в значительной степени симметричен.
В зависимости от назначения величина хода ребер или пазов может быть равна величине хода статора или ротора или принимать промежуточное значение.
Отличающаяся величина хода имеет преимущества особенно тогда, когда должна перекачиваться вода или вода используется в качестве приводной среды. Пазы образуют как бы смазочные камеры, из которых вода может выдаваться для смазки.
В остальном усовершенствования изобретения являются предметом зависимых пунктов. При этом в качестве заявленных следует рассматривать и такие комбинации признаков, на которые не направлен определенный пример осуществления.
Примеры осуществления предмета изобретения изображены на чертежах, на которых представлено:
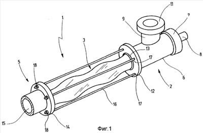
фиг.1 – эксцентриковый шнековый насос согласно изобретению в общем перспективном виде;
фиг.2 – продольный разрез статора эксцентрикового шнекового насоса, включая участок ротора;
фиг.3 – эксцентриковый шнековый насос по фиг.1 в поперечном сечении; перпендикулярном продольной оси;
фиг.4 – поперечное сечение из фиг.3 с отделенной частью;
фиг.5 – отделенная часть по фиг.4 в увеличенном виде;
фиг.6 – участок по фиг.5 с изображением ребер и пазов по отношению к плоскому профилю;
фиг.7-9 – различные соотношения зацепления между ротором и статором в зоне вершины зуба статора и в зоне впадины между зубьями;
фиг.10 – в поперечном сечении статор с цилиндрическим корпусом.
Фиг.1 показывает на схематичном виде в перспективе эксцентриковый шнековый насос 1 в качестве примера соответствующей вытеснительной машины с соответствующей изобретению конструкцией. В качестве альтернативы речь может идти также об эксцентриковом шнековом двигателе, используемом, например, в нефтяных скважинах.
В состав эксцентрикового шнекового насоса 1 входят головка 2, статор 3, в котором вращается фрагментарно изображенный ротор 4, и присоединительная головка 5.
Головка 2 насоса имеет, по существу, цилиндрический корпус 6, снабженный на одном торцевом конце запорной крышкой 7, через которую наружу герметично выведен приводной вал 8. В корпус 6 радиально входит присоединительный патрубок 9, заканчивающийся крепежным фланцем 11. Внутри корпуса 6 находится, как это принято у эксцентриковых шнековых насосов, соединительная деталь для соединения без возможности поворота приводного вала 8, присоединенного к приводному двигателю (не показан), с ротором 4. Удаленный от крышки 7 торцевой конец корпуса 6 снабжен зажимным фланцем 12, диаметр которого больше, чем диаметр, по существу, цилиндрического корпуса 6. Зажимной фланец 12 имеет ступенчатое отверстие 13, соосное с внутренним пространством корпуса 6. В ступенчатом отверстии 13 выполнен упорный заплечик (не показан), к которому статор 3 прижимается одним концом, по существу, герметично.
Присоединительная головка 5 содержит взаимодействующий с зажимным фланцем 12 зажимной фланец 14, также имеющий ступенчатое отверстие, в которое входит другой конец статора 3. Со ступенчатым отверстием соосен отводящий трубопровод 15.
Между обоими зажимными фланцами 12, 14 с помощью четырех стяжных болтов 16 герметично неподвижно зажат статор 3. Для размещения, в общей сложности, четырех стяжных болтов 16 оба зажимных фланца 12, 14 снабжены соответственно четырьмя соосными между собой отверстиями 17, расположенными на части окружности, которая больше внешнего диаметра корпуса 6 или трубы 15. Через эти отверстия 17 проходят стержнеобразные стяжные болты 16. На обращенной от противоположных зажимных фланцев 12, 14 стороне на стяжные болты 16 навинчены гайки 18, с помощью которых оба зажимных фланца 12, 14 стягиваются между собой.
В случае погружных гидравлических двигателей вместо зажимных фланцев используют резьбовые патрубки.
Как показывает фиг.2, статор 3 состоит из трубчатого корпуса 16 с постоянной толщиной стенки, охватывающего внутреннее пространство 20. Корпус 19 выполнен из пластика, стали, стального сплава, легкого металла или сплава на основе легкого металла. Он отформован так, что внутренняя стенка 21 приобретает форму многовиткового винта. Его внешняя сторона 22 имеет соответствующую аналогичную форму с диаметром, который в соответствии с толщиной стенки корпуса 19 больше диаметра внутреннего пространства 20 корпуса 19.
Корпус 19 заканчивается на своих торцевых концах торцевыми поверхностями 23, 24, проходящими под прямым углом к его продольной оси 25. Продольная ось 25 является осью внутреннего пространства 20.
В простейшем случае внутреннее пространство 20 имеет форму двухвиткового винта. Таким образом, поперечное сечение, окруженное внешней поверхностью 22, если смотреть соответственно под прямым углом к продольной оси 25, имеет форму овала, аналогичного форме ипподрома. Чтобы приспособить эту овальную геометрическую форму к ступенчатому отверстию 13 на каждый торцевой конец корпуса 19 насажено запорное или переходное кольцо 26. В качестве альтернативы концы могут быть отформованы также в виде цилиндрических труб. Запорное кольцо 26 имеет сквозное отверстие 27, которое совпадает с формой внешней поверхности 22 по длине запорного кольца 26. Другими словами, запорное кольцо 26 действует в самом широком смысле, как гайка, навинченная на резьбу, определяемую корпусом 19. Длина резьбы соответствует толщине запорного кольца 26.
Радиально наружу запорное кольцо 26 ограничено цилиндрической поверхностью 28, которая в осевом направлении переходит в плоскую поверхность 29, отходящую от корпуса 19.
На внутренней стороне 21 корпус 19 по всей своей длине снабжен сплошной облицовкой 32. Облицовка 32 состоит из упруго податливого, преимущественно эластомерного материала, например натурального каучука или синтетического материала, и в любом месте имеет примерно одинаковую толщину стенки.
На фиг.3 изображено поперечное сечение статора 3 с содержащимся в нем ротором 4, причем в отличие от предыдущего примера осуществления использованы статор с пятивитковым внутренним отверстием и ротор с четырехвитковой резьбовой формой.
Фиг.3 представляет собой аллегорию зубчатой передачи, у которой четырехзубая шестерня обкатывается в пятизубовом полом колесе. Полое колесо и шестерня имеют косые зубья и находятся в зацеплении между собой по всей длине. В соответствии с этим отстоящие от ротора 4 наружу участки называются зубьями 35, а промежуточные участки – впадинами 36 между зубьями. Профиль поперечного сечения схож со скругленным циклоидным профилем.
При дальнейшем переносе этой схожести выступающие внутрь участки статора 3 также называются зубьями 37, а промежутки между ними – впадинами 38 между зубьями.
На принципе работы эксцентрикового шнекового насоса или эксцентрикового шнекового двигателя здесь подробно останавливаться не стоит, поскольку это достаточно хорошо известно из уровня техники. Достаточно констатировать, что статор 3 вместе с ротором 4 во время вращения создает несколько отделенных друг от друга в окружном и продольном направлениях насосных камер, которые имеют приблизительно бананообразную форму и в случае насоса движутся в направлении конца с более высоким давлением, а в случае двигателя – к концу с более низким давлением.
В то время как металлические детали эксцентрикового шнекового насоса 1 имеют лишь сравнительно небольшое тепловое расширение, толщина стенки эластомерной облицовки 32 значительно изменяется с температурой. В соответствии с этим уменьшается размер в свету пространства, ограниченного эластомерной облицовкой 32. Уменьшается расстояние между зубом 37 и противоположной впадиной 38 между зубьями, так что предварительное напряжение, при прилегании эластомерной облицовки 32 к зубьям 35 ротора 4, возрастает. При соответствующем повышении температуры изменение размера в свету может возрасти настолько, что ротор 4 при своем движении повредит зубом 35 вершину находящегося в соприкосновении с ним зуба 37 эластомерной облицовки 32.
Для предотвращения этого эффекта согласно изобретению каждый зуб 37 снабжен пазами 39 и/или ребрами 41. Для наглядного пояснения формы пазов 39 и ребер 41 из статора 3 на фиг.4 выделен фрагмент 42.
Участок 42 изображен на фиг.5 в увеличенном виде. Здесь хорошо видны ребра 41 и расположенные между ними пазы 39. Для того чтобы профиль пазов 39 и ребер 41 сделать еще более наглядным, участок 42 изображен на фиг.6 растянутым, т.е. основная волнистость, которую создает контур зубьев 37 и впадин 38 между зубьями, удалена, в результате чего идеальная линия 43 профиля, определяющая зубья 37 и впадины 38 между зубьями, показана в виде прямой. При этом, чтобы лучше ориентироваться на фигурах, то место, которое во впадине 38 между зубьями отстоит на максимальное радиальное расстояние от оси 25, обозначено буквой А, а линия вершины зуба 37 – буквой N. Места В-М между ними совпадают с вершинами ребер, линиями вершины пазов или точками пересечения, в которых фактическая линия контура пересекает сглаженный контур, соответствующий прямой 43.
Более подробно на вершине зуба 37, т.е. в месте N, находится паз 39а, самая глубокая точка которого совпадает с воображаемой вершиной зуба 37. С обеих сторон паза 39а возвышаются ребра 41а, 41b. Эти ребра возвышаются за пределы линии 43 профиля, т.е. они направлены во внутреннее пространство дальше, чем это соответствует идеальной линии 44 контура. Рядом с ребром 41а находится паз 39b, в котором фактическая линия 43 контура радиально отклонена назад относительно сглаженной линии 44 контура. Паз 39b заканчивается в месте I. Здесь фактическая линия 44 контура пересекает сглаженную линию 43, образуя сразу после этого ребро 41с.
Ребро 41с заканчивается в месте G на сглаженной линии 43 контура. Вслед за этим возникает ребро 41d, которое в месте Е переходит в паз 39 с. Паз 39с лежит снова глубже, чем это соответствует сглаженной линии 43 контура. В самой глубокой точке впадины 38 между зубьями в месте А фактическая линия 44 контура совпадает со сглаженной линией 43 контура, причем между этим местом и пазом 39с возвышается еще одно маленькое ребро 41е.
Описанный узор из пазов 39 и ребер 41 периодически повторяется, причем оси симметрии являются линиями вершин зубьев 37 или линиями вершин впадин 38 между зубьями. Как видно, пазы 39 и ребра 41 находятся не только на поверхностях вершин зубьев 37 или на самых глубоких участках впадин 38 между зубьями, но и на боковых поверхностях, которые соединяют поверхности вершин с углублениями впадин 38 между зубьями.
Как нетрудно заметить на чертежах, «длина волны», устанавливающаяся за счет пазов 39 и ребер 41, существенно меньше «основной волны», образованной зубьями 37 и впадинами 38 между ними. Она составляет приблизительно 8-кратную величину, т.е. между двумя впадинами 38 между зубьями находятся, по меньшей мере, восемь углублений и/или возвышений.
Высота, т.е. амплитуда, измеренная между самым глубоким местом между двумя ребрами или соответственно пазом и самым высоким местом соседнего ребра составляет, напротив, лишь долю толщины стенки эластомерной облицовки 32 в соответствующем месте.
Амплитуда лежит в диапазоне 0,1-5 мм, преимущественно 0,1-2 мм, наиболее предпочтительно 0,2-0,8 мм или двойной величины; в процентах по отношению к толщине эластомерной облицовки 32 – в диапазоне 1-50%, преимущественно 1,5-30%, и самое наиболее предпочтительно 2-20%.
На фиг.7-9 изображено несколько фаз взаимодействия между ротором 4 и внутренней стенкой эластомерной облицовки 32. Здесь линия 45 представляет внешний контур ротора 4.
Для дальнейшего пояснения зацепления между ротором 4 и эластомерной облицовкой 32 последняя показана недеформированной даже в местах контакта с ротором 4. Соответственно линия 45 контура пересекает линию 44 контура. Само собой, при фактической эксплуатации линия 44 контура деформируется в месте касания с ротором 4 так, что она немного дальше повторяет линию 45 контура.
На фиг.7 вершина зуба 35 непосредственно противоположна вершине зуба 37. Вследствие этого линия 44 контура пересекает оба ребра 41а, 41b, тогда как она не достигает дна паза 39а. Благодаря этому возникает место, когда при фактической эксплуатации зуб 35 немного гонит перед собой волну из эластомерного материала. Этот материал может быть кратковременно вытеснен в паз 39а. За счет этого при сохранении герметизирующего действия, достигаемого в этом положении двух ребер, а именно обоих ребер 41а, 41b, создается меньшее прижимное усилие.
Прижимное усилие приблизительно пропорционально степени перекрытия обеих линий 44, 45 контура, т.е. чем дальше линия 44 контура проникает внутрь зоны, ограниченной линией 45 контура, тем сильнее эластомерная облицовка 32 должна быть деформирована в соответствующем месте, когда зуб 35 проходит мимо. В предельном положении, как показано на фиг.7, видно, что требуется лишь очень малая деформация. Одновременно достигается хорошее герметизирующее действие, поскольку в распоряжении имеются лишь два места контакта для герметизации между соседними камерами, так что на каждом ребре возникает только половина разности давлений.
На фиг.7 видно также, что тепловое расширение эластомерной облицовки 32 не имеет такого сильного воздействия на усилие напряжения по сравнению с ситуацией, в которой паз 39а отсутствует и вместо него в этой зоне возникает обычный сглаженный контур в соответствии с линией 43. За счет паза 39а толщина эластомерной облицовки 32 может возрасти, но, тем не менее, пространство поддерживается свободным, с тем чтобы бегущая перед зубом 35 волна, расходящаяся от зуба, могла быть вытеснена в паз, не повредив эластомерную облицовку 32 в этом месте.
На фиг.8 изображена ситуация, в которой зуб 35 продвинулся немного дальше, а именно в положение, в котором возникнет максимальное перекрытие между линией 44 контура зуба 35 и линией 43 контура недеформированной эластомерной облицовки 32.
Из этой фигуры видно, что имеющийся рядом с ребром 41b паз, соответствующий пазу 39b на фиг.6, создает место, с тем чтобы возникающая при эксплуатации волна, расходящаяся от зуба, из эластомерного материала, которую гонит перед собой зуб 35, могла быть вытеснена. Одновременно может проявляться большее перекрытие, отчего устанавливается большее прижимное усилие, так что в этом состоянии может быть достигнута герметизация только одним ребром.
Хотя в фазе по фиг.8 возникает высокое напряжение, тем не менее трение уменьшено. У эластомерного материала коэффициент трения скольжения зависит от площади. В этом характер трения пары эластомер-металл отличается от характера трения пары металл-металл. Устройство как в фазе по фиг.7, так и в фазе по фиг.8 проявляет меньшее трение по сравнению с устройством из уровня техники, у которого внутренний контур эластомерной облицовки 32 проходил бы не в соответствии с линией 43, а в соответствии с линией 42 согласно фиг.5 и 6. Контактный участок в окружном направлении короче.
На фиг.9 поясняется наконец ситуация, в которой зуб 35 максимально входит во впадину 38 между зубьями статора 3. Перекрытие между вершиной линии 44 контура и углублением впадины 38 между зубьями крайне мало, т.е. там имеется лишь незначительное усилие напряжения. Также ребра 41d, 41с создают лишь небольшие нажимы.
За счет соответствующего изобретению контура отверстия статора, если смотреть в окружном направлении, становится возможным расширить диапазон рабочих температур эксцентрикового шнекового насоса или эксцентрикового шнекового двигателя. Это значит, что в холодном состоянии возникает приемлемая герметизация, тогда как в верхнем температурном диапазоне не возникает чрезмерных усилий натяжения.
Соответствующий изобретению контур отверстия в статоре 3, приводит, кроме того, к тому, что при обкатывающем движении ротора 4 внутри эластомерной облицовки 32 ось ротора лучше остается на эксцентриситетной окружности, которую ось идеальным образом описывает при обкатывающем движении. Каждое нарушение траектории приводит к возрастанию нагрузок и повышению мощности привода, поскольку при этом пришлось бы соответственно изменить объем камер.
Соответствующий изобретению контур может быть использован не только в таких устройствах, у которых эластомерная облицовка 32 в любом месте окружности имеет приблизительно одинаковую толщину стенки. Он может быть использован также в устройствах, изображенных на фиг.10. При этом корпус 19 имеет форму цилиндрической трубы с цилиндрическим внутренним пространством. Внешний контур эластомерной облицовки 32 соответственно цилиндрический. В зоне одного зуба, тем самым, толщина стенки заметно больше, чем в зоне впадины 38 между зубьями.
Хотя здесь в зоне зубьев 37 податливость лучше, вследствие большей толщины стенки, тем не менее предпочтителен соответствующий изобретению контур, состоящий из ребер и пазов. При повышении температуры толщина стенки в зоне зуба сильнее возросла бы по величине, чем толщина стенки в зоне впадины между зубьями. Вследствие большей податливости на вершине зуба при использовании структуры ребро-паз уменьшается исходящее от сильнее выступающего зуба вытесняющее действие. Нарушение траектории, которое испытывает ось ротора 4 при обкатывающем движении, остается меньшим.
Хотя изобретение подробно пояснялось выше на эксцентриковом шнековом насосе, понятно, что оно применимо также в эксцентриковом шнековом двигателе таким же образом и с теми же преимуществами. Наконец эксцентриковые шнековые насосы и эксцентриковые шнековые двигатели отличаются только направлением течения среды и, при случае, шагом резьбы, определяющей зубья, причем возникают также случаи, когда величина хода насоса равна величине хода двигателей. Принципиального отличия в механике не существует.
У эксцентрикового шнекового насоса или эксцентрикового шнекового двигателя направленные внутрь в статоре зубья и находящиеся между ними впадины снабжены дополнительной структурой ребро-паз. За счет этого трение между статором и ротором уменьшается, поскольку прижимное усилие при равном герметизирующем действии может быть уменьшено или при повышенном прижимном усилии уменьшается площадь контакта.
Формула изобретения
1. Эксцентриковый шнековый насос (1) или двигатель, содержащий статор (3) с трубчатым корпусом (22) из твердого материала, снабженный, по меньшей мере, на одном из обоих своих концов присоединительным средством (26), которым статор (3) может быть присоединен к другой части (2, 5), находящуюся в корпусе (22) упруго податливую облицовку (32), образующую на участке своей длины винтообразное отверстие, которое ограничено внутренней стенкой, и поперечное сечение которого ограничено краем (44) с волнообразным контуром таким образом, что отверстие подобно косозубому полому колесу образует винтообразно проходящие зубья (37), отделенные друг от друга впадинами (38) между ними, причем на внутренней стенке выполнено, по меньшей мере, одно дополнительное ребро или паз (39, 41), который проходит, по меньшей мере, приблизительно винтообразно, а размеры которого как в окружном направлении, так и в радиальном направлении меньше размеров зубьев (37) или впадин (38) между зубьями отверстия, ротор (4), который имеет форму одно- или многозубой косозубой шестерни с зубьями (35) и впадинами (36) между ними и который согласован с отверстием в облицовке (32) таким образом, что он может обкатываться в отверстии, причем зубья (35) ротора (4) входят во впадины (38) между зубьями облицовки (32).
2. Насос или двигатель по п.1, отличающийся тем, что число зубьев ротора (4), по меньшей мере, на единицу меньше числа зубьев отверстия в облицовке (32).
3. Насос или двигатель по п.1, отличающийся тем, что число зубьев статора (3) составляет, по меньшей мере, два.
4. Насос или двигатель по п.1, отличающийся тем, что корпус (22) имеет цилиндрическое внутреннее пространство (21), при этом упруго податливая облицовка (32) в зоне впадин (38) между зубьями имеет существенно меньшую радиальную толщину, чем в зоне зубьев (37).
5. Насос или двигатель по п.1, отличающийся тем, что корпус (22) имеет винтообразное внутреннее пространство (21) таким образом, что толщина упруго податливой облицовки (32) в зоне впадин (38) между зубьями, по меньшей мере, приблизительно равна толщине упруго податливой облицовки (32) в зоне зубьев (37).
6. Насос или двигатель по п.1, отличающийся тем, что зубья (37) соединены со впадинами (38) между ними боковыми поверхностями, при этом дополнительно также на боковых поверхностях предусмотрены ребра (41) или пазы (39), которые, по меньшей мере, немного дальше повторяют винтообразный контур боковых поверхностей.
7. Насос или двигатель по п.1, отличающийся тем, что радиальная протяженность ребер (41) или пазов (39) на зубьях (37) больше радиальной протяженности ребер (41) или пазов (39) во впадинах (38) между зубьями.
8. Насос или двигатель по п.1, отличающийся тем, что ребра (41) на зубьях (37) проходят симметрично линии вершины, которая повторяет контур зуба (37) и отстоит от оси (25) отверстия на наименьшее радиальное расстояние.
9. Насос или двигатель по п.1, отличающийся тем, что ребра (41) расположены симметрично линии впадины между зубьями, которая повторяет винтообразный контур впадины (38) между зубьями и отстоит от отверстия соответственно на наибольшее радиальное расстояние.
10. Насос или двигатель по п.1, отличающийся тем, что между каждыми двумя ребрами (41) предусмотрен паз (39) таким образом, что зона между двумя ребрами (41) отстоит от оси (25) отверстия на большее радиальное расстояние, чем это соответствует воображаемой идеальной линии (43) контура отверстия статора (3) без ребер (41).
11. Насос или двигатель по п.1, отличающийся тем, что высота ребер (41) или глубина пазов (39) на зубьях (37) имеет значение 0,1-5 мм, предпочтительно 0,1-2 мм, наиболее предпочтительно 0,2-0,8 мм, соответственно по отношению к контуру без ребер (41).
12. Насос или двигатель по п.1, отличающийся тем, что высота ребер (41) или глубина пазов (39) во впадинах (38) между зубьями имеет значение 0,1-5 мм, предпочтительно 0,1-2 мм, наиболее предпочтительно 0,2-0,8 мм, соответственно по отношению к контуру без пазов (39).
13. Насос или двигатель по п.1, отличающийся тем, что высота ребер (41) или глубина пазов (39) на зубьях (37) имеет значение 1-50%, предпочтительно 1,5-30% и наиболее предпочтительно 2-20% толщины стенки упруго податливой облицовки (32) в соответствующем месте, соответственно по отношению к контуру без ребер (41).
14. Насос или двигатель по п.1, отличающийся тем, что высота ребер (41) или глубина пазов (39) во впадинах (38) между зубьями имеет значение 1-50%, предпочтительно 1,5-30% и наиболее предпочтительно 2-20% толщины стенки упруго податливой облицовки (32) в соответствующем месте, соответственно по отношению к контуру без пазов (39).
15. Насос или двигатель по п.1, отличающийся тем, что профиль поперечного сечения ребер (41) в окружном направлении отверстия имеет симметричную форму по отношению к линии вершины.
16. Насос или двигатель по п.1, отличающийся тем, что величина хода ребер (41) или пазов (39) равна величине хода зубьев (37) статора (3), лежит между величиной хода статора (3) и величиной хода ротора (4) или равна величине хода ротора (4).
17. Эксцентриковый шнековый насос (1) или двигатель, содержащий статор (3) с трубчатым корпусом (22) из твердого материала, снабженный, по меньшей мере, на одном из обоих своих концов присоединительным средством (26), которым статор (3) может быть присоединен к другой части (2, 5), находящуюся в корпусе (22) упруго податливую облицовку (32), образующую на участке своей длины винтообразное отверстие, и поперечное сечение которого ограничено краем (43) с волнообразным контуром таким образом, что отверстие подобно косозубому полому колесу образует винтообразно проходящие зубья (37), отделенные друг от друга впадинами (38) между ними, причем, по меньшей мере, на зубьях (37) выполнены, по меньшей мере, два проходящих рядом друг с другом ребра (39) или, по меньшей мере, один паз (41), которые в осевом направлении, по меньшей мере, немного дальше приблизительно повторяют контур соответствующего зуба (37) и размеры которых как в окружном направлении, так и в радиальном направлении меньше размеров зубьев (37) или впадин (38) между зубьями отверстия, и ротор (4), который имеет форму одно- или многозубой косозубой шестерни с зубьями (35) и впадинами (36) между ними и который согласован с отверстием в облицовке (32) таким образом, что он может обкатываться в отверстии, причем зубья (35) ротора (4) входят во впадины (38) между ними облицовки (32).
18. Насос или двигатель по п.17, отличающийся тем, что число зубьев ротора (4), по меньшей мере, на единицу меньше числа зубьев отверстия в облицовке (32).
19. Насос или двигатель по п.17, отличающийся тем, что число зубьев статора (3) составляет, по меньшей мере, два.
20. Насос или двигатель по п.17, отличающийся тем, что корпус (22) имеет цилиндрическое внутреннее пространство (21), при этом упруго податливая облицовка (32) в зоне впадин (38) между зубьями имеет существенно меньшую радиальную толщину, чем в зоне зубьев (37).
21. Насос или двигатель по п.17, отличающийся тем, что корпус (22) имеет винтообразное внутреннее пространство (21) таким образом, что толщина упруго податливой облицовки (32) в зоне впадин (38) между зубьями, по меньшей мере, приблизительно равна толщине упруго податливой облицовки (32) в зоне зубьев (37).
22. Насос или двигатель по п.17, отличающийся тем, что зубья (37) соединены со впадинами (38) между ними боковыми поверхностями, при этом дополнительно также на боковых поверхностях предусмотрены ребра (41) или пазы (39), которые, по меньшей мере, немного дальше повторяют винтообразный контур боковых поверхностей.
23. Насос или двигатель по п.17, отличающийся тем, что радиальная протяженность ребер (41) или пазов (39) на зубьях (37) больше радиальной протяженности ребер (41) или пазов (39) во впадинах (38) между зубьями.
24. Насос или двигатель по п.17, отличающийся тем, что ребра (41) на зубьях (37) проходят симметрично линии вершины, которая повторяет контур зуба (37) и отстоит от оси (25) отверстия на наименьшее радиальное расстояние.
25. Насос или двигатель по п.17, отличающийся тем, что ребра (41) расположены симметрично линии впадины между зубьями, которая повторяет винтообразный контур впадины (38) между зубьями и отстоит от отверстия соответственно на наибольшее радиальное расстояние.
26. Насос или двигатель по п.17, отличающийся тем, что между каждыми двумя ребрами (41) предусмотрен паз (39) таким образом, что зона между двумя ребрами (41) отстоит от оси (25) отверстия на большее радиальное расстояние, чем это соответствует воображаемой идеальной линии (43) контура отверстия статора (3) без ребер (41).
27. Насос или двигатель по п.17, отличающийся тем, что высота ребер (41) или глубина пазов (39) на зубьях (37) имеет значение 0,1-5 мм, предпочтительно 0,1-2 мм, наиболее предпочтительно 0,2-0,8 мм, соответственно по отношению к контуру без ребер (41).
28. Насос или двигатель по п.17, отличающийся тем, что высота ребер (41) или глубина пазов (39) во впадинах (38) между зубьями имеет значение 0,1-5 мм, предпочтительно 0,1-2 мм, наиболее предпочтительно 0,2-0,8 мм, соответственно по отношению к контуру без пазов (39).
29. Насос или двигатель по п.17, отличающийся тем, что высота ребер (41) или глубина пазов (39) на зубьях (37) имеет значение 1-50%, предпочтительно 1,5-30% и наиболее предпочтительно 2-20% толщины стенки упруго податливой облицовки (32) в соответствующем месте, соответственно по отношению к контуру без ребер (41).
30. Насос или двигатель по п.17, отличающийся тем, что высота ребер (41) или глубина пазов (39) во впадинах (38) между зубьями имеет значение 1-50%, предпочтительно 1,5-30% и наиболее предпочтительно 2-20% толщины стенки упруго податливой облицовки (32) в соответствующем месте, соответственно по отношению к контуру без пазов (39).
31. Насос или двигатель по п.17, отличающийся тем, что профиль поперечного сечения ребер (41) в окружном направлении отверстия имеет симметричную форму по отношению к линии вершины.
32. Насос или двигатель по п.17, отличающийся тем, что величина хода ребер (41) или пазов (39) равна величине хода зубьев (37) статора (3), лежит между величиной хода статора (3) и величиной хода ротора (4) или равна величине хода ротора (4).
33. Эксцентриковый шнековый насос (1) или двигатель, содержащий статор (3) с трубчатым корпусом (22) из твердого материала, снабженный, по меньшей мере, на одном из обоих своих концов присоединительным средством (26), которым статор (3) может быть присоединен к другой части (2, 5), находящуюся в корпусе (22) упруго податливую облицовку (32), образующую на участке своей длины винтообразное отверстие, поперечное сечение которого ограничено краем (43) с волнообразным контуром таким образом, что отверстие подобно косозубому полому колесу образует винтообразно проходящие зубья (37), отделенные друг от друга впадинами (38) между ними, причем, по меньшей мере, во впадинах (38) между зубьями выполнены, по меньшей мере, два проходящих рядом друг с другом паза (39) или, по меньшей мере, одно ребро (41), которые в осевом направлении, по меньшей мере, немного дальше приблизительно повторяют контур соответствующего зуба (37) и размеры которых как в окружном направлении, так и в радиальном направлении меньше размеров зубьев (37) или впадин (38) между зубьями отверстия, ротор (4), который имеет форму одно- или многозубой косозубой шестерни с зубьями (35) и впадинами (36) между ними и который согласован с отверстием в облицовке (32) таким образом, что он может обкатываться в отверстии, причем зубья (35) ротора (4) входят во впадины (38) между ними облицовки (32).
34. Насос или двигатель по п.33, отличающийся тем, что число зубьев ротора (4), по меньшей мере, на единицу меньше числа зубьев отверстия в облицовке (32).
35. Насос или двигатель по п.33, отличающийся тем, что число зубьев статора (3) составляет, по меньшей мере, два.
36. Насос или двигатель по п.33, отличающийся тем, что корпус (22) имеет цилиндрическое внутреннее пространство (21), при этом упруго податливая облицовка (32) в зоне впадин (38) между зубьями имеет существенно меньшую радиальную толщину, чем в зоне зубьев (37).
37. Насос или двигатель по п.33, отличающийся тем, что корпус (22) имеет винтообразное внутреннее пространство (21) таким образом, что толщина упруго податливой облицовки (32) в зоне впадин (38) между зубьями, по меньшей мере, приблизительно равна толщине упруго податливой облицовки (32) в зоне зубьев (37).
38. Насос или двигатель по п.33, отличающийся тем, что зубья (37) соединены со впадинами (38) между ними боковыми поверхностями, при этом дополнительно также на боковых поверхностях предусмотрены ребра (41) или пазы (39), которые, по меньшей мере, немного дальше повторяют винтообразный контур боковых поверхностей.
39. Насос или двигатель по п.33, отличающийся тем, что радиальная протяженность ребер (41) или пазов (39) на зубьях (37) больше радиальной протяженности ребер (41) или пазов (39) во впадинах (38) между зубьями.
40. Насос или двигатель по п.33, отличающийся тем, что ребра (41) на зубьях (37) проходят симметрично линии вершины, которая повторяет контур зуба (37) и отстоит от оси (25) отверстия на наименьшее радиальное расстояние.
41. Насос или двигатель по п.33, отличающийся тем, что ребра (41) расположены симметрично линии впадины между зубьями, которая повторяет винтообразный контур впадины (38) между зубьями и отстоит от отверстия соответственно на наибольшее радиальное расстояние.
42. Насос или двигатель по п.33, отличающийся тем, что между каждыми двумя ребрами (41) предусмотрен паз (39) таким образом, что зона между двумя ребрами (41) отстоит от оси (25) отверстия на большее радиальное расстояние, чем это соответствует воображаемой идеальной линии (43) контура отверстия статора (3) без ребер (41).
43. Насос или двигатель по п.33, отличающийся тем, что высота ребер (41) или глубина пазов (39) на зубьях (37) имеет значение 0,1-5 мм, предпочтительно 0,1-2 мм, наиболее предпочтительно 0,2-0,8 мм, соответственно по отношению к контуру без ребер (41).
44. Насос или двигатель по п.33, отличающийся тем, что высота ребер (41) или глубина пазов (39) во впадинах (38) между зубьями имеет значение 0,1-5 мм, предпочтительно 0,1-2 мм, наиболее предпочтительно 0,2-0,8 мм, соответственно по отношению к контуру без пазов (39).
45. Насос или двигатель по п.33, отличающийся тем, что высота ребер (41) или глубина пазов (39) на зубьях (37) имеет значение 1-50%, предпочтительно 1,5-30% и наиболее предпочтительно 2-20% толщины стенки упруго податливой облицовки (32) в соответствующем месте, соответственно по отношению к контуру без ребер (41).
46. Насос или двигатель по п.33, отличающийся тем, что высота ребер (41) или глубина пазов (39) во впадинах (38) между зубьями имеет значение 1-50%, предпочтительно 1,5-30% и наиболее предпочтительно 2-20% толщины стенки упруго податливой облицовки (32) в соответствующем месте, соответственно по отношению к контуру без пазов (39).
47. Насос или двигатель по п.33, отличающийся тем, что профиль поперечного сечения ребер (41) в окружном направлении отверстия имеет симметричную форму по отношению к линии вершины.
48. Насос или двигатель по п.33, отличающийся тем, что величина хода ребер (41) или пазов (39) равна величине хода зубьев (37) статора (3), лежит между величиной хода статора (3) и величиной хода ротора (4) или равна величине хода ротора (4).
49. Эксцентриковый шнековый насос (1) или двигатель, содержащий статор (3) с трубчатым корпусом (22) из твердого материала, снабженный, по меньшей мере, на одном из обоих своих концов присоединительным средством (26), которым статор (3) может быть присоединен к другой части (2, 5), находящуюся в корпусе (22) упруго податливую облицовку (32), образующую на участке своей длины винтообразное отверстие, поперечное сечение которого ограничено краем (43) с волнообразным контуром таким образом, что отверстие подобно косозубому полому колесу образует винтообразно проходящие зубья (37), отделенные друг от друга впадинами (38) между ними, причем, по меньшей мере, на каждом зубе (37) выполнены, по меньшей мере, два проходящих рядом друг с другом ребра (41) или, по меньшей мере, один паз (39), а в каждой впадине (38) между зубьями, по меньшей мере, два проходящих рядом друг с другом паза (39) или, по меньшей мере, одно ребро (41), которые в осевом направлении, по меньшей мере, немного дальше приблизительно повторяют контур соответствующего зуба (37) или контур впадины (38) между зубьями, и размеры которых как в окружном направлении, так и в радиальном направлении меньше размеров зубьев (37) или впадин (38) между зубьями отверстия, ротор (4), который имеет форму одно- или многозубой косозубой шестерни с зубьями (35) и впадинами (38) между ними и который согласован с отверстием в облицовке (32) таким образом, что он может обкатываться в отверстии, причем зубья (35) ротора (4) входят во впадины (38) между зубьями облицовки (32).
50. Насос или двигатель по п.49, отличающийся тем, что число зубьев ротора (4), по меньшей мере, на единицу меньше числа зубьев отверстия в облицовке (32).
51. Насос или двигатель по п.49, отличающийся тем, что число зубьев статора (3) составляет, по меньшей мере, два.
52. Насос или двигатель по п.49, отличающийся тем, что корпус (22) имеет цилиндрическое внутреннее пространство (21), при этом упруго податливая облицовка (32) в зоне впадин (38) между зубьями имеет существенно меньшую радиальную толщину, чем в зоне зубьев (37).
53. Насос или двигатель по п.49, отличающийся тем, что корпус (22) имеет винтообразное внутреннее пространство (21) таким образом, что толщина упруго податливой облицовки (32) в зоне впадин (38) между зубьями, по меньшей мере, приблизительно равна толщине упруго податливой облицовки (32) в зоне зубьев (37).
54. Насос или двигатель по п.49, отличающийся тем, что зубья (37) соединены со впадинами (38) между ними боковыми поверхностями, при этом дополнительно также на боковых поверхностях предусмотрены ребра (41) или пазы (39), которые, по меньшей мере, немного дальше повторяют винтообразный контур боковых поверхностей.
55. Насос или двигатель по п.49, отличающийся тем, что радиальная протяженность ребер (41) или пазов (39) на зубьях (37) больше радиальной протяженности ребер (41) или пазов (39) во впадинах (38) между зубьями.
56. Насос или двигатель по п.49, отличающийся тем, что ребра (41) на зубьях (37) проходят симметрично линии вершины, которая повторяет контур зуба (37) и отстоит от оси (25) отверстия на наименьшее радиальное расстояние.
57. Насос или двигатель по п.49, отличающийся тем, что ребра (41) расположены симметрично линии впадины между зубьями, которая повторяет винтообразный контур впадины (38) между зубьями и отстоит от отверстия соответственно на наибольшее радиальное расстояние.
58. Насос или двигатель по п.49, отличающийся тем, что между каждыми двумя ребрами (41) предусмотрен паз (39) таким образом, что зона между двумя ребрами (41) отстоит от оси (25) отверстия на большее радиальное расстояние, чем это соответствует воображаемой идеальной линии (43) контура отверстия статора (3) без ребер (41).
59. Насос или двигатель по п.49, отличающийся тем, что высота ребер (41) или глубина пазов (39) на зубьях (37) имеет значение 0,1-5 мм, предпочтительно 0,1-2 мм, наиболее предпочтительно 0,2-0,8 мм, соответственно по отношению к контуру без ребер (41).
60. Насос или двигатель по п.49, отличающийся тем, что высота ребер (41) или глубина пазов (39) во впадинах (38) между зубьями имеет значение 0,1-5 мм, предпочтительно 0,1-2 мм, наиболее предпочтительно 0,2-0,8 мм, соответственно по отношению к контуру без пазов (39).
61. Насос или двигатель по п.49, отличающийся тем, что высота ребер (41) или глубина пазов (39) на зубьях (37) имеет значение 1-50%, предпочтительно 1,5-30% и наиболее предпочтительно 2-20% толщины стенки упруго податливой облицовки (32) в соответствующем месте соответственно по отношению к контуру без ребер (41).
62. Насос или двигатель по п.49, отличающийся тем, что высота ребер (41) или глубина пазов (39) во впадинах (38) между зубьями имеет значение 1-50%, предпочтительно 1,5-30% и наиболее предпочтительно 2-20% толщины стенки упруго податливой облицовки (32) в соответствующем месте соответственно по отношению к контуру без пазов (39).
63. Насос или двигатель по п.49, отличающийся тем, что профиль поперечного сечения ребер (41) в окружном направлении отверстия имеет симметричную форму по отношению к линии вершины.
64. Насос или двигатель по п.49, отличающийся тем, что величина хода ребер (41) или пазов (39) равна величине хода зубьев (37) статора (3), лежит между величиной хода статора (3) и величиной хода ротора (4) или равна величине хода ротора (4).
РИСУНКИ
|
|