|
|
(21), (22) Заявка: 2006115078/06, 04.05.2006
(24) Дата начала отсчета срока действия патента:
04.05.2006
(46) Опубликовано: 27.02.2008
(56) Список документов, цитированных в отчете о поиске:
RU 2218478 C2, 10.12.2003. RU 2107838 C1, 27.03.1998. RU 2129265 С1, 20.04.1999. US 3612729 А, 12.10.1971. US 3847507 А, 12.11.1974.
Адрес для переписки:
115408, Москва, ул. Братеевская, 16/6, кв.225, В.М.Троицкому
|
(72) Автор(ы):
Троицкий Владимир Михайлович (RU), Троицкий Леонид Владимирович (RU)
(73) Патентообладатель(и):
Троицкий Владимир Михайлович (RU), Троицкий Леонид Владимирович (RU)
|
(54) НАСОСНАЯ СИСТЕМА
(57) Реферат:
Устройство предназначено для использования в системах высокого давления. Система содержит установочную плиту с расположенными на ней стойками. На ее верхних концах закреплены корпус и привод. На наружной поверхности сверху привода расположено основание, на котором установлена втулка. Наружная поверхность верхней части втулки выполнена с возможностью соприкосновения с внутренней поверхностью корпуса. На наружной поверхности корпуса сверху неподвижно закреплен цилиндр. Внутри втулки с возможностью соприкосновения с ее внутренней поверхностью соосно размещена гильза. Внутри гильзы размещен обращенный дном к внутренней поверхности верхней части корпуса стакан с отверстием в дне для посадки цилиндра на корпус. На выходном валу привода установлен шпиндель с резьбой. Выходной вал привода соединен с помощью муфты со шпинделем, расположенным в двухрядном шариковом сферическом подшипнике, установленном на основании. Шпиндель и подпружиненная шпиндельная гайка расположены с возможностью вращения друг относительно друга. Нижние концы стоек закреплены на установочной плите, а их верхние концы расположены в подшипниках скольжения, размещенных в направляющих отверстиях, выполненных в корпусе. Привод жестко прикреплен к установочной плите. Подпружиненная шпиндельная гайка выполнена с полым хвостовиком, имеющим боковую поверхность в виде цилиндрической поверхности, концентрической по отношению к боковой поверхности стакана, образующей вместе с боковой поверхностью полого хвостовика полость для размещения в ней пружины подпружиненной шпиндельной гайки. На торцевой поверхности полого хвостовика выполнено посадочное место с теплоизолирующей прокладкой, соответствующей накидной гайке цилиндра, заправочное отверстие которого выполнено с возможностью закрывания его пробкой. Его приемное отверстие выполнено с имеющим теплоизолирующую поверхность фланцем, устанавливаемым на наружную торцевую поверхность корпуса, и с внутренним уплотнительным гнездом, в котором размещена опора скольжения, прижимаемая к нижнему торцу цилиндра накидной гайкой. Теплоизолирующая поверхность фланца цилиндра, торец накидной гайки и подпружиненная шпиндельная гайка с полым хвостовиком выполнены с возможностью создания начального растяжения пружины подпружиненной шпиндельной гайки за счет установки фланца цилиндра на корпус и расположения накидной гайки на посадочное место полого хвостовика. Расширяются функциональные возможности за счет увеличения точности измерения объема, давления и температуры сжимаемой жидкости в интервале давлений до сотен мегапаскалей. 8 з.п. ф-лы, 4 ил.
Настоящее изобретение относится к системам высокого давления, в частности к системам высокого давления, имеющим плунжерный насос, предназначенный для создания высокого и точно регулируемого по величине давления жидкости и точного одновременного измерения объема сжатой жидкости и ее температуры.
Известен насос для подачи жидкости при постоянном давлении, используемый в жидкостном хроматографе [US 3847507, кл. F04В 49/06, 1974]. Насос имеет корпус, на котором установлен электродвигатель, приводящий во вращение винт через понижающую зубчатую передачу. Винт связан с ведущей гайкой, на которой жестко закреплен полый цилиндр-плунжер. Ведущая гайка вместе с установленным на ней плунжером совершает перемещения вдоль расположенного на корпусе направляющего стержня. Насос винтового типа не предназначен для измерения объема прокачиваемой жидкости и не позволяет создавать высокие давления в диапазоне сотен мегапаскалей, а также регулировать и стабилизировать температуру жидкости.
Известны способ и устройство для измерения изменений объема [ЕР 0275825, кл. G01N 33/44, 1988]. Аппарат имеет измерительный цилиндр с камерой для пробы, плунжер, помещенный в эту камеру и снабженный датчиком перемещений, датчик температуры, расположенный внутри камеры датчик давления и средство регулирования давления. В средстве регулирования давления использованы элементы, позволяющие создавать с помощью плунжера два альтернативных уровня давления, что удобно при решении конкретной задачи измерения изменений объема пластичных материалов в процессе их отвердения, для которой и было создано данное устройство. Однако для решения других задач, в частности для непрерывного и плавного сжатия жидкостей путем плавного регулирования объема и давления, нужны другие элементы конструкции.
Известно также устройство для исследования процессов фильтрации и определения характеристик текучих сред и пористых тел [RU 2129265, G01N 15/08, 1999], содержащее два гидроцилиндра с приводами плунжеров, при этом каждый привод выполнен с возможностью обеспечения поступательно-вращательного движения плунжера и поступательного движения привода посредством пары «винт-гайка». Гайка каждого привода связана с торцом соответствующего корпуса гидроцилиндра пружиной. Устройство снабжено датчиком давления, который выполнен в виде индикатора, фиксирующего взаимное осевое смещение корпуса каждого гидроцилиндра, и соответствующей гайки и датчиком перемещений, который выполнен в виде индикатора, фиксирующего взаимное смещение поршня и корпуса для каждого из гидроцилиндров.
Основным недостатком этого устройства является крепление гайки к торцу корпуса гидроцилиндра через гибкую пружину. Это приводит к торцовому биению гайки относительно корпуса гидроцилиндра из-за воздействия резьбы шпинделя на шпиндельную гайку, что влечет за собой неточность измерений взаимного смещения шпиндельной гайки и корпуса гидроцилиндра датчиком перемещений.
Известна также насосная система [RU 2107838, кл. F04В 9/02, 1998], в которой цилиндр с отверстием для плунжера установлен неподвижно. Насосная система содержит установочную плиту и соединенный с ней корпус, в нижней части которого установлен привод, создающий вращение и осевое перемещения шпинделя и содержащий электродвигатели и понижающую зубчатую передачу, связанную со шпинделем с помощью шлицевого соединения в его хвостовой части. Шпиндель, соединенный с плунжером, имеет вал и резьбу, на которую установлена шпиндельная гайка, соединенная пружиной с цилиндром, при этом шпиндельная гайка снабжена устройством, препятствующим ее вращению и допускающим ее осевое движение относительно неподвижного цилиндра.
Устройство снабжено датчиком давления, который выполнен в виде индикатора, фиксирующего взаимное смещение цилиндра и гайки, и датчиком объема, который выполнен в виде индикатора, фиксирующего взаимное смещение шпинделя и корпуса.
Насосная система содержит также устройство регулирования температуры. В качестве устройства регулирования температуры в системе использованы термостат, датчики температуры и блок управления.
Основным недостатком этой насосной системы является неточность измерений величины давления и объема при высоких давлениях порядка сотен мегапаскалей. Ошибка в определении давления и объема возникает в результате нарушения параллельности торцов цилиндра и гайки относительно друг друга из-за силы реакции резьбы шпинделя на резьбу шпиндельной гайки, возникающей при нагружении пробы усилием сжатия при высоких давлениях. Причина такого нарушения кроется в системе крепления пружины: пружина крепится одним концом к торцу гайки, а другим концом к торцу цилиндра без дополнительной связи между ними, а положение шпинделя относительно цилиндра фиксируется поверхностями резьбового соединения пары «винт-гайка» и поверхностями шлицевого соединения, которые не обеспечивают соосности шпинделя относительно цилиндра.
Кроме того, устройство регулирования температуры насосной системы не позволяет стабилизировать температуру пробы в цилиндре по той причине, что цилиндр не теплоизолирован от корпуса, установочной плиты и привода насосной системы, а металлический плунжер, контактируя с жидкостью, также является теплоотводом, затрудняющим термостабилизацию пробы при температурах, отличающихся от комнатной.
Наиболее близкой по технической сущности и достигаемому результату является насосная система [RU 2218478, кл. F04В 9/02, 2003], позволяющая измерять термодинамические параметры жидкостей при различных давлениях и объемах. Насосная система содержит установочную плиту с расположенными на ней стойками, на верхних концах которых закреплен корпус, и приводом, на наружной поверхности сверху привода расположено основание, на котором фланцем установлена втулка, наружная поверхность верхней части которой выполнена с возможностью соприкосновения с внутренней поверхностью корпуса, на наружной поверхности которого сверху неподвижно закреплен цилиндр, имеющий приемное отверстие со стороны его нижнего торца, расположенного на корпусе, и заправочное отверстие, сообщающееся внутренней полостью с приемным отверстием, со стороны его верхнего торца для заполнения его испытуемой пробой, внутри втулки с возможностью соприкосновения с ее внутренней поверхностью соосно размещена гильза, внутри гильзы размещен обращенный дном к внутренней поверхности верхней части корпуса стакан с отверстием в дне для посадки цилиндра на корпус, на выходном валу привода установлен шпиндель с резьбой, на которую навинчена подпружиненная шпиндельная гайка, жестко установленная внутри гильзы и прикрепленная ко дну стакана, на верхнем торце шпинделя размещен плунжер, вертикально перемещающийся с возможностью проникновения в отверстие опоры скольжения и во внутреннюю полость цилиндра, выходной вал привода соединен с помощью муфты со шпинделем, расположенным в двухрядном шариковом сферическом подшипнике, установленном на основании, шпиндель и подпружиненная шпиндельная гайка расположены с возможностью вращения друг относительно друга.
Насосная система также снабжена устройством, дополнительно стабилизирующим положение оси вращения шпинделя относительно цилиндра за счет чашки и опоры скольжения, а также устройством для регулирования температуры жидкости.
Недостатком указанной насосной системы является недостаточная точность определения давления и объема на низких и высоких давлениях. Ошибка в определении величины давления при его низких значениях обусловлена особенностями конструкции насосной системы, в которой цилиндр закреплен на корпусе и установочной плите неподвижно, а привод, шпиндель, плунжер, основание и втулка подвешены на корпусе через подпружиненную шпиндельную гайку и пружину, создавая своим весом ее начальное растяжение. При таком исполнении связей насосной системы любые вибрации установочной плиты или пуск-останов привода приводят к нестабильности начального растяжения пружины и, как следствие, к неопределенности измеряемых начальных давлений.
Кроме того, цилиндрические поверхности частично вложенных друг в друга стакана, гильзы и втулки не позволяют до конца устранить торцевые биения подпружиненной шпиндельной гайки. Реактивный момент привода, приложенный к основанию и обусловленный силами трения между резьбой шпинделя и подпружиненной шпиндельной гайкой, воздействует также на втулку и воспринимается через пружину и корпус установочной плитой, создавая перекосы подпружиненной шпиндельной гайки относительно корпуса и вызывая ошибки в измерениях относительного изменения объема и давления.
Вторым недостатком данной насосной системы является наличие в ней источника ошибок измерения, обусловленных неоднородностью температурного поля в объеме цилиндра и, как следствие, недостаточная температурная стабилизация испытуемой пробы. Указанный недостаток обусловлен тем, что цилиндр не теплоизолирован от корпуса, установочной плиты и привода насосной системы, а металлический плунжер, контактируя с испытуемой пробой, является теплоотводом, затрудняющим термостабилизацию цилиндра и испытуемой пробы при температурах, отличающихся от комнатной.
Третьим недостатком насосной системы является наличие дополнительного растяжения пружины, обусловленного трением плунжера об опору скольжения и уплотнения при его поступательно-вращательном движении в цилиндре. Указанный недостаток обусловлен тем, что сила этого трения зависит от типа испытуемой пробы, типа уплотнений, температуры, давления в цилиндре и плохо поддается контролю и учету, приводя к систематической неконтролируемой ошибке измерения давления.
Техническим результатом, на достижение которого направлена предлагаемая система, является устранение указанных недостатков и расширение функциональных возможностей за счет увеличения точности измерения объема, давления и температуры сжимаемой жидкости в интервале давлений до сотен мегапаскалей.
Данный технический результат достигается за счет того, что в насосной системе, содержащей установочную плиту с расположенными на ней стойками, на верхних концах которых закреплен корпус, и приводом, на наружной поверхности сверху привода расположено основание, на котором фланцем установлена втулка, наружная поверхность верхней части которой выполнена с возможностью соприкосновения с внутренней поверхностью корпуса, на наружной поверхности которого сверху неподвижно закреплен цилиндр, имеющий приемное отверстие со стороны его нижнего торца, расположенного на корпусе, и заправочное отверстие, сообщающееся внутренней полостью с приемным отверстием, со стороны его верхнего торца для заполнения его испытуемой пробой, внутри втулки с возможностью соприкосновения с ее внутренней поверхностью соосно размещена гильза, внутри гильзы размещен обращенный дном к внутренней поверхности верхней части корпуса стакан с отверстием в дне для посадки цилиндра на корпус, на выходном валу привода установлен шпиндель с резьбой, на которую навинчена подпружиненная шпиндельная гайка, жестко установленная внутри гильзы и прикрепленная ко дну стакана, на верхнем торце шпинделя размещен плунжер, вертикально перемещающийся с возможностью проникновения в отверстие опоры скольжения и во внутреннюю полость цилиндра, выходной вал привода соединен с помощью муфты со шпинделем, расположенным в двухрядном шариковом сферическом подшипнике, установленном на основании, шпиндель и подпружиненная шпиндельная гайка расположены с возможностью вращения друг относительно друга, согласно изобретению нижние концы стоек закреплены на установочной плите, а их верхние концы расположены в подшипниках скольжения, размещенных в направляющих отверстиях, выполненных в корпусе, привод жестко прикреплен к установочной плите, подпружиненная шпиндельная гайка выполнена с полым хвостовиком, имеющим боковую поверхность в виде цилиндрической поверхности, концентрической по отношению к боковой поверхности стакана, образующей вместе с боковой поверхностью полого хвостовика полость для размещения в ней пружины подпружиненной шпиндельной гайки, на торцевой поверхности полого хвостовика выполнено посадочное место с теплоизолирующей прокладкой, соответствующей накидной гайке цилиндра, заправочное отверстие которого выполнено с возможностью закрывания его пробкой, а его приемное отверстие выполнено с имеющим теплоизолирующую поверхность фланцем, устанавливаемым на наружную торцевую поверхность корпуса, и с внутренним уплотнительным гнездом, в котором размещена опора скольжения, прижимаемая к нижнему торцу цилиндра накидной гайкой, при этом теплоизолирующая поверхность фланца цилиндра, торец накидной гайки и подпружиненная шпиндельная гайка с полым хвостовиком выполнены с возможностью создания начального растяжения пружины подпружиненной шпиндельной гайки за счет установки фланца цилиндра на корпус и расположения накидной гайки на посадочное место полого хвостовика, а также за счет того, что полость, образованная между наружной поверхностью полого хвостовика и внутренней поверхностью стакана, может быть заполнена демпфирующей жидкостью, а также за счет того, что плунжер может быть выполнен из теплоизолирующего материала, например керамики.
Технический результат достигается за счет того, что она имеет пьезоэлектрический датчик давления, установленный на цилиндре, а также за счет того, что она имеет датчик температуры и пьезоэлектрический датчик давления, установленные в пробке, герметично закрывающей заправочное отверстие цилиндра.
Технический результат достигается также за счет того, что подшипники скольжения насосной системы выполнены из теплоизолирующего материала, например фторопласта или тефлона, а также за счет того, что насосная система имеет укрепленный на корпусе датчик давления, выполненный с возможностью регистрации и индикации значения величины давления испытуемой пробы, соответствующего величине взаимного смещения цилиндра относительно подпружиненной шпиндельной гайки, а также за счет того, что она имеет укрепленный на корпусе датчик объема испытуемой пробы, выполненный с возможностью регистрации и индикации значения величины объема, соответствующего величине взаимного смещения цилиндра относительно плунжера.
Технический результат достигается за счет того, что насосная система имеет термостат, внутри которого установлен цилиндр и вход которого электрически соединен с выходом блока регулирования температуры, подключенного входом к выходу датчика температуры.
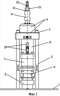
Особенности и преимущества настоящего изобретения поясняют чертежи, где на фиг.1 – изображен общий вид насосной системы, на фиг.2 – вид сбоку на насосную систему без установочной плиты, стоек и привода, но с частичным разрезом системы высокого давления, на фиг.3 – осевой разрез сборки цилиндра со стороны приемного отверстия, на фиг.4 – разрез одного из подшипников скольжения корпуса с входящим в него концом стойки.
Одни и те же элементы насосной системы, показанной на чертежах, имеют одинаковые позиции.
Насосная система (фиг.1), содержит установочную плиту 1, стойки 2, верхние концы которых проходят через подшипники скольжения 3, вмонтированные в подвижном корпусе 4, при этом привод, состоящий из электродвигателя 5 и редуктора 6, неподвижно закреплен на установочной плите 1 системы. На приводе размещены последовательно основание 7 и втулка 8.
На корпусе 4 с его внешней стороны установлен цилиндр 9, закрытый со стороны заправочного отверстия 31 пробкой 10 (фиг.1, 2, 4), а с внутренней стороны корпуса – стакан 11, внутри которого установлена пружина 12, прикрепленная одним концом к дну стакана 11, а другим концом к фланцу подпружиненной шпиндельной гайки 13, направляющие которой включают гильзу 14 и среднюю часть шпинделя 15, снабженную резьбой 16. Гильза 14 соосно установлена во втулку 8, фланец 17 которой соединен с основанием 7. Привод, состоящий из электродвигателя 5 и редуктора 6, имеет выходной вал 18. Выходной вал 18 муфтой 19 соединен с нижней частью шпинделя 15, который закреплен в двухрядном шариковом сферическом подшипнике 20, установленном на основании 7.
Верхняя часть шпинделя 15 выполнена в виде плунжера 21 (фиг.3), который расположен в отверстии 22 опоры скольжения 23. Опора скольжения 23 в свою очередь размещается в уплотнительном гнезде 24 цилиндра 9 со стороны приемного отверстия 25, а цилиндр 9 устанавливается неподвижно на корпусе 4 посредством фланца с теплоизолирующей поверхностью 26. Таким образом, обеспечивается соосность перемещения плунжера 21 относительно приемного отверстия 25 цилиндра 9.
Для предотвращения вращения подпружиненной шпиндельной гайки 13 (фиг.2) при вращении шпинделя 15 используется направляющее устройство, которое состоит из шарикоподшипника 27, установленного на валике 28, который в свою очередь крепится к нижней части гильзы 14. Шарикоподшипник 27 опирается на прямолинейные направляющие 29 (фиг.1) втулки 8.
Внутренняя полость цилиндра 30 заполняется пробой через заправочное отверстие 31 и герметично закрывается пробкой 10 сдатчиком 32 температуры.
Датчик 33 давления, выполненный в виде индикатора, фиксирующего взаимное смещение подпружиненной шпиндельной гайки 13 относительно цилиндра 9, установлен на кронштейне 34, который крепится к корпусу 4, и имеет чувствительный стержень 35, который упирается в зеркало 36 валика 28. Пробка 10 может быть оборудована дополнительным пьезоэлектрическим датчиком давления для контроля и калибровки датчика давления 33.
Датчик объема 37, выполненный в виде индикатора, фиксирующего взаимное смещение неподвижного основания 7 (а значит, и плунжера 21) относительно подвижного цилиндра 9, установлен на корпусе 4 и имеет чувствительный стержень 38, который упирается в зеркало 39, установленное на угловом кронштейне 40, закрепленном на основании 7.
Для регулирования температуры пробы насосная система содержит термостат 41, датчик 32 температуры и блок 42 управления температуры.
Уплотнительное гнездо 24 (Фиг.3) содержит также круглое кольцо 43 и предохранительное кольцо 44, уплотняющие плунжер 21. Накидная гайка 45 навинчивается по резьбе на торец цилиндра 9 со стороны приемного отверстия 25 и поджимает опору скольжения 23 к предохранительному кольцу 44.
Насосная система работает следующим образом. Внутренняя полость цилиндра 30 полностью заполняется исследуемой жидкой пробой со стороны заправочного отверстия 31 цилиндра 9, которое затем закрывается пробкой 10 с датчиком 32 температуры. При включении электродвигателя 5 шпиндель 15 через понижающий волновой редуктор 6, выходной вал 18 и муфту 19 приводится во вращение. При этом электродвигатель 5, волновой редуктор 6, основание 7 и втулка 8 не перемещаются в осевом направлении, как одно целое, так как привод жестко закреплен на установочной плите 1. Подпружиненная шпиндельная гайка 13 движется поступательно по резьбовой части 16 шпинделя, не вращаясь относительно втулки 8 из-за наличия на ней системы прямолинейных направляющих 29, валика 28 и шарикоподшипника 27. При этом за счет пружины 12, посредством которой осуществляется упругая связь между цилиндром 9 и подпружиненной шпиндельной гайкой 13, обеспечивается поступательное перемещение корпуса 4 (с закрепленным на нем цилиндром 9) по стойкам 2. Соосность поступательного движения цилиндра 9 относительно вращающегося плунжера 21 обеспечивается направляющими отверстиями 46 в корпусе 4 с подшипниками скольжения 3 и проходящими через них стойками 2, а также опорой скольжения 23, размещенной в уплотнительном гнезде 24. Линейное перемещение цилиндра 9 относительно плунжера 21 является функцией сжимаемости жидкой пробы или относительного изменения объема пробы. Это линейное перемещение измеряется датчиком объема 37.
Осевая сила, возникающая при сжатии жидкой пробы и пропорциональная удлинению пружины 12, измеряется датчиком давления 33 либо дополнительным пьезоэлектрическим датчиком давления, встроенным в пробку 10.
Реактивный момент электродвигателя 5, возникающий при вращении шпинделя 15 и обусловленный силами трения между его резьбой 16 и резьбой подпружиненной шпиндельной гайки 13, а также между плунжером 21 и уплотнительными кольцами 43-44, воспринимается через шарикоподшипник 27 валика 28 прямолинейными направляющими 29 втулки 8 и полностью компенсируется противодействующим моментом со стороны втулки 8 за счет ее жесткого закрепления через основание 7, редуктор 6 и электродвигатель 5 к установочной плите 1.
При установке цилиндра 9 его теплоизолирующая поверхность фланца 26 устанавливается на торцевую внешнюю поверхность корпуса 4. При этом плунжер 21 входит через опору скольжения 23 и уплотнительные кольца 43-44 в приемное отверстие 25 цилиндра, а нижний торец накидной гайки 45 через теплоизолирующую прокладку садится на посадочное место хвостовика 47 подпружиненной шпиндельной гайки 13. Геометрические размеры пружины 12, посадочного места хвостовика 47 шпиндельной гайки 13, цилиндра 9 со стороны его теплоизолирующей фланцевой поверхности 26 и накидной гайки 45 подобраны таким образом, чтобы при полной посадке цилиндра 9 на торцевую внешнюю поверхность корпуса 4 накидная гайка 45 опиралась на посадочное место 47 хвостовика, обеспечивая начальное растяжение пружины 12. Это начальное растяжение происходит за счет перемещения вверх стакана 11 относительно гильзы 14. При этом корпус 4 также перемещается вверх по стойкам 2 через направляющие отверстия 46 и подшипники скольжения 3. Таким образом, осуществляется начальное растяжение пружины 12, устраняющее неопределенность определения удлинения пружины в процессе измерения давления и обусловленное вибрациями, нестабильностью работы электродвигателя, пуском и остановом привода, непреднамеренными сотрясениями и т.д. Кроме того, созданием начального растяжения пружины обеспечивается перенос измеряемых значений ее деформаций (растяжений) в линейную область зависимости создаваемых давлений от деформации пружины. При этом точность калибровки удлинения пружины 12, а значит и точность измерения давления, существенно возрастает, так как апроксимация удлинения пружины осуществляется в этом случае линейной функцией.
Подпружиненная шпиндельная гайка 13 с хвостовиком обеспечивает в данном изобретении не только начальное растяжение за счет посадочного места 47, но образует своей внешней цилиндрической поверхностью концентрическую поверхность стакану 11, при этом между внешней поверхностью подпружиненной шпиндельной гайки 13 и внутренней поверхностью стакана 11 создается герметичное пространство, в которое помещается пружина 12. Таким образом, за счет вложения подпружиненной шпиндельной гайки 13 с хвостовиком в полость стакана 11 образуется дополнительная связь, препятствующая торцевым биениям и изгибным колебаниям плунжера 21 относительно оси цилиндра 9, а значит, повышается точность определения давления и объема.
Кроме того, герметичное пространство между стаканом 11 и подпружиненной шпиндельной гайкой 13, в которое помещается пружина 12, может быть заполнено демпфирующей жидкостью, например машинным маслом. В результате, во-первых, улучшается режим работы пружины, увеличивается ресурс ее надежности и стабильность упругих параметров, а во-вторых, демпфирование пружины жидкостью позволяет исключить нежелательные колебания пружины при проведении измерений в режиме осциллирующих давлений и тем самым повысить точность измерения давления и объема.
Жесткое закрепление электродвигателя 5 к установочной плите 1 позволяет практически полностью исключить изгибные и сдвиговые деформации пружины 12 и обеспечить только ее линейное удлинение. Действительно, втулка 8 через основание 7, редуктор 6 и электродвигатель 5 также неподвижна относительно установочной плиты 1 и имеет прямолинейные направляющие 29, по которым катится шарикоподшипник 27 валика 28. Валик 28 крепится к нижней части гильзы 14 и подпружиненной шпиндельной гайке 13. В результате, при вращении шпинделя 15 подпружиненная шпиндельная гайка 13 совершает только поступательное движение и не происходит изгибных колебаний пружины 12 за счет силы трения резьбы 16 шпинделя и резьбы подпружиненной шпиндельной гайки 13. Нежелательные осевые биения и перекосы плунжера 21 относительно цилиндра 9, вызывающие ошибки в измерениях относительного изменения объема и осевой силы при сжатии пробы, сведены к минимуму за счет опоры скольжения 23, подшипников скольжения 3 и двухрядного шарикового сферического подшипника 20, обладающего самоустанавливаемостью.
Термостат 41 надевается на цилиндр 9 и обеспечивает заданную температуру измеряемой пробы. Температура термостата задается и регулируется по заданной программе блоком 42 управления температуры. Температура пробы определяется с помощью датчика 32 температуры, вмонтированного в пробку 10. За счет многочисленных теплоотводов от цилиндра 9 к другим элементам насосной системы не возможно обеспечить однородность температурного поля измеряемой пробы в полости 30 цилиндра 9 даже при очень хороших характеристиках и мощности термостата 41 и блока 42 управления температуры. Для устранения погрешности измерения температуры пробы цилиндр 9 устройства тщательно теплоизолируется от металлических элементов насосной системы. За счет теплоизолирующей поверхности фланца 26 цилиндр 9 термоизолируется от корпуса 4 системы, а теплоизолирующая прокладка на посадочном месте 47 хвостовика подпружиненной шпиндельной гайки 13 термоизолирует накидную гайку 45 цилиндра 9 от гильзы 14 и втулки 8. За счет плунжера 21, контактирующего непосредственно с пробой, также может осуществляться нежелательный теплоотвод. Однако выбором плунжера из материала с низким коэффициентом теплопроводности может быть решена и эта задача. В качестве такого материала, имеющего низкий коэффициент теплопроводности и одновременно высокие прочностные свойства, может быть выбрана керамика.
Изготовление подшипников 3 скольжения из материала с плохой теплопроводностью обеспечит еще лучшую температурную изоляцию цилиндра от стоек 2 и установочной плиты 1. В качестве такого материала может быть выбран, например, фторопласт или тефлон, обладающие хорошими антифрикционными и противоизносными свойствами.
В пробку 10 насосной системы могут быть одновременно вмонтированы как датчик 32 температуры, так и дополнительный пьезоэлектрический датчик давления. Этот дополнительный датчик давления может быть использован для контроля измерений и стабильности работы датчика 33 давления, а также для регулярной калибровки пружины 12 в процессе ее использования в качестве измерительного элемента, а также учета растяжения пружины 12, обусловленного силой трения в подвижных сочленениях насосной системы.
Таким образом, согласно изобретению жесткое закрепление привода (с установленным на нем основанием, втулкой, муфтой, шпинделем, плунжером) на установочной плите и подвижное соединение корпуса с установочной плитой посредством стоек позволяет полностью исключить торцевые биения подпружиненной шпиндельной гайки. Оснащение подпружиненной шпиндельной гайки полым хвостовиком позволяет образовать дополнительную цилиндрическую поверхность, концентрическую к поверхности стакана. Этим обеспечивается фиксирование шпиндельной гайки и создается герметичное пространство для размещения в нем пружины и демпфирующей жидкости, что стабилизирует работу пружины и увеличивает ее надежность. Выполненное на торцевой поверхности хвостовика посадочное место позволяет создать начальное растяжение пружины при установке цилиндра на корпусе и тем самым повысить точность определения давления. Такое сочетание конструктивных элементов является новым и полезным. Оно позволяет обеспечить относительное движение подпружиненной шпиндельной гайки и цилиндра, а также шпинделя относительно цилиндра без торцовых и радиальных биений.
Кроме того, введение теплоизолирующей поверхности фланца цилиндра, теплоизолирующей прокладки на посадочном месте хвостовика подпружиненной шпиндельной гайки и керамического плунжера позволяет улучшить однородность температурного поля внутри цилиндра и тем самым повысить точность поддержания и регулирования температуры испытуемой пробы. Таким образом, исключение радиальных и торцовых биений, а также обеспечение начального растяжения пружины делает возможным повысить точность измерений давления и объема, а улучшение термоизоляции цилиндра позволяет повысить точность измерения температуры пробы. Реализация предлагаемого изобретения значительно повышает надежность функционирования насосной системы.
Здесь также следует указать на то, что данная насосная система при герметично закрытой пробке может быть использована в качестве устройства для PVT-измерений, то есть для изучения изотермической и адиабатической сжимаемостей в широком диапазоне изменения давлений и температур. Конструкция основных элементов насосной системы, привода, цилиндра и уплотнений позволяет поднимать давление в изучаемом жидкостях до 1000 МПа, а использование эффекта теплоизоляции позволяет измерять деформационные характеристики жидкостей в интервале температур от 203 до 433K.
Скорость подъема давления в исследуемой жидкости задается с помощью скорости вращения шпинделя и закрепленного на нем плунжера.
Преимуществом насосной системы является ее миниатюрность, а также малое количество образца, необходимое для исследования (0,7 см3). Это позволяет быстро достигать термодинамического равновесия при небольших приращениях давления. Относительная погрешность измерения объема составляет 0,1%, давления – 0,2%. Абсолютная погрешность температуры в интервале от 203 до 433K составляет ±0,02K. Насосная система легко поддается автоматизации и может использовать в своем составе разработанное программное обеспечение.
Другим преимуществом насосной системы является широкий спектр решаемых научных и прикладных задач, высокая точность и простота, что полностью обеспечивает проведение оперативного анализа экспериментальных данных. Данная система компактна, легка в обращении, безопасна в работе и позволяет проводить эксперименты в реальном масштабе времени и с помощью дистанционного управления.
Насосная система может найти широкое применение в промышленности, науке и технике. Особый интерес данная система представляет для нефтегазовой промышленности, так как позволяет проводить экспресс-анализ нефтей и нефтепродуктов, газового конденсата и буровых растворов, определять эффективность жидкостей гидроразрыва и растворов поверхностно-активных веществ, эмульсий, геле- и осадкообразующих композиций. Сферу применения данной насосной системы существенно расширяют и возможности ее использования в способах безртутного, экологически безвредного экспресс-определения фильтрационно-емкостных свойств кернов и капиллярно-пористых сред, а также при определении демпфирующих свойств кремнийорганических жидкостей, заполняющих демпферы всевозможных амортизационных систем.
Описанная техническая система позволяет расширить функциональные возможности насосной системы за счет увеличения точности измерения объема, давления и температуры испытуемого образца.
Формула изобретения
1. Насосная система, содержащая установочную плиту с расположенными на ней стойками, на верхних концах которых закреплен корпус, и приводом, на наружной поверхности сверху привода расположено основание, на котором фланцем установлена втулка, наружная поверхность верхней части которой выполнена с возможностью соприкосновения с внутренней поверхностью корпуса, на наружной поверхности которого сверху неподвижно закреплен цилиндр, имеющий приемное отверстие со стороны его нижнего торца, расположенного на корпусе, и заправочное отверстие, сообщающееся внутренней полостью с приемным отверстием, со стороны его верхнего торца для заполнения его испытуемой пробой, внутри втулки с возможностью соприкосновения с ее внутренней поверхностью соосно размещена гильза, внутри гильзы размещен обращенный дном к внутренней поверхности верхней части корпуса стакан с отверстием в дне для посадки цилиндра на корпус, на выходном валу привода установлен шпиндель с резьбой, на которую навинчена подпружиненная шпиндельная гайка, жестко установленная внутри гильзы и прикрепленная ко дну стакана, на верхнем торце шпинделя размещен плунжер, вертикально перемещающийся с возможностью проникновения в отверстие опоры скольжения и во внутреннюю полость цилиндра, выходной вал привода соединен с помощью муфты со шпинделем, расположенным в двухрядном шариковом сферическом подшипнике, установленном на основании, шпиндель и подпружиненная шпиндельная гайка расположены с возможностью вращения друг относительно друга, отличающаяся тем, что нижние концы стоек закреплены на установочной плите, а их верхние концы расположены в подшипниках скольжения, размещенных в направляющих отверстиях, выполненных в корпусе, привод жестко прикреплен к установочной плите, подпружиненная шпиндельная гайка выполнена с полым хвостовиком, имеющим боковую поверхность в виде цилиндрической поверхности, концентрической по отношению к боковой поверхности стакана, образующей вместе с боковой поверхностью полого хвостовика полость для размещения в ней пружины подпружиненной шпиндельной гайки, на торцевой поверхности полого хвостовика выполнено посадочное место с теплоизолирующей прокладкой, соответствующей накидной гайке цилиндра, заправочное отверстие которого выполнено с возможностью закрывания его пробкой, а его приемное отверстие выполнено с имеющим теплоизолирующую поверхность фланцем, устанавливаемым на наружную торцевую поверхность корпуса, и с внутренним уплотнительным гнездом, в котором размещена опора скольжения, прижимаемая к нижнему торцу цилиндра накидной гайкой, при этом теплоизолирующая поверхность фланца цилиндра, торец накидной гайки и подпружиненная шпиндельная гайка с полым хвостовиком выполнены с возможностью создания начального растяжения пружины подпружиненной шпиндельной гайки за счет установки фланца цилиндра на корпус и расположения накидной гайки на посадочное место полого хвостовика.
2. Насосная система по п.1, отличающаяся тем, что полость, образованная между наружной поверхностью полого хвостовика и внутренней поверхностью стакана, заполнена демпфирующей жидкостью.
3. Насосная система по п.1, отличающаяся тем, что плунжер выполнен из теплоизолирующего материала, например керамики.
4. Насосная система по п.1, отличающаяся тем, что она имеет пьезоэлектрический датчик давления, установленный на цилиндре.
5. Насосная система по п.1 или 4, отличающаяся тем, что она имеет датчик температуры и пьезоэлектрический датчик давления, установленные в пробке, герметично закрывающей заправочное отверстие цилиндра.
6. Насосная система по п.1, отличающаяся тем, что подшипники скольжения выполнены из теплоизолирующего материала, например фторопласта или тефлона.
7. Насосная система по п.1, отличающаяся тем, что она имеет укрепленный на корпусе датчик давления, выполненный с возможностью регистрации и индикации значения величины давления испытуемой пробы, соответствующего величине взаимного смещения цилиндра относительно подпружиненной шпиндельной гайки.
8. Насосная система по п.1, отличающаяся тем, что она имеет укрепленный на корпусе датчик объема испытуемой пробы, выполненный с возможностью регистрации и индикации значения величины объема, соответствующего величине взаимного смещения цилиндра относительно плунжера.
9. Насосная система по п.1, отличающаяся тем, что она имеет термостат, внутри которого установлен цилиндр, и вход которого электрически соединен с выходом блока регулирования температуры, подключенного входом к выходу датчика температуры.
РИСУНКИ
|
|