| На основании пункта 3 статьи 13 Патентного закона Российской Федерации от 23 сентября 1992 г. № 3517-I патентообладатель обязуется передать исключительное право на изобретение (уступить патент) на условиях, соответствующих установившейся практике, лицу, первому изъявившему такое желание и уведомившему об этом патентообладателя и федеральный орган исполнительной власти по интеллектуальной собственности, – гражданину РФ или российскому юридическому лицу. |
|
(21), (22) Заявка: 2006132965/06, 13.09.2006
(24) Дата начала отсчета срока действия патента:
13.09.2006
(46) Опубликовано: 27.02.2008
(56) Список документов, цитированных в отчете о поиске:
RU 2232915 C1, 20.07.2004. RU 2128783 C1, 10.04.1999. RU 2204046 C2, 10.05.2003. US 5918460 A, 06.07.1999. US 4912925 A, 03.04.1990.
Адрес для переписки:
443112, г.Самара, ул. Крайняя, 18-17, Н.Б. Болотину
|
(72) Автор(ы):
Болотин Николай Борисович (RU)
(73) Патентообладатель(и):
Болотин Николай Борисович (RU)
|
(54) ТУРБОНАСОСНЫЙ АГРЕГАТ ЖИДКОСТНОГО РАКЕТНОГО ДВИГАТЕЛЯ
(57) Реферат:
Изобретение относится к ракетной технике, конкретно к жидкостным ракетным двигателям, работающим на криогенном окислителе и на углеводородном горючем. Задача изобретения – повышение надежности ТНА. Решение указанной задачи достигнуто за счет того, что турбонасосный агрегат жидкостного ракетного двигателя, содержащий установленные на валу, который в свою очередь установлен не менее чем на двух опорах, детали ротора турбонасосного агрегата: крыльчатку насоса окислителя, крыльчатку насоса горючего и рабочее колесо турбины, размещенные в корпусе турбонасосного агрегата крыльчатку дополнительного насоса горючего с валом и крыльчаткой дополнительного насоса горючего, при этом все опоры выполнены магнитными, между рабочим колесом турбины и крыльчаткой насоса окислителя установлены магнитная муфта и мультипликатор. Между насосом окислителя и насосом горючего установлены магнитная муфта и мультипликатор. Между насосом горючего и дополнительным насосом горючего установлены магнитная муфта и мультипликатор. Изобретение обеспечивает пожаробезопасность и взрывобезопасность турбонасосного агрегата. 2 з.п. ф-лы, 3 ил.
Изобретение относится к ракетной технике, конкретно к жидкостным ракетным двигателям ЖРД, работающим на криогенном окислителе и на углеводородном горючем.
Известный жидкостный ракетный двигатель по патенту РФ на изобретение №2095607, предназначенный для использования в составе космических разгонных блоков, ступеней ракетоносителей и как маршевый двигатель космических аппаратов, включает в себя камеру сгорания с регенеративным трактом охлаждения турбонасосный агрегат – ТНА. ТНА содержит насосы подачи компонентов – горючего и окислителя с турбиной на одном валу, в который введен конденсатор. Выход конденсатора по линии хладагента соединен с входом в камеру сгорания и с входом в тракт регенеративного охлаждения камеры сгорания. Выход из конденсатора по линии теплоносителя соединен с входом в насос одного из компонентов. Выход из насоса того же компонента сообщен с входом конденсатора по линии хладагента. Второй вход конденсатора сообщен с выходом турбины. Выход насоса другого компонента сообщен с входом в камеру сгорания.
Недостатком ТНА двигателя является ухудшение кавитационных свойств насоса при перепуске конденсата. Такое свойство насоса неминуемо приводит к уменьшению расхода одного из компонентов топлива через ТНА, падению тяги ракеты в несколько раз и срыву программы полета ракеты или к катастрофе.
Известны способ работы ЖРД и жидкостный ракетный двигатель по патенту РФ на изобретение №2187684. Способ работы жидкостного ракетного двигателя заключается в подаче компонентов топлива в камеру сгорания двигателя, газификации одного из компонентов в тракте охлаждения камеры сгорания, подводе его на турбину турбонасосного агрегата с последующим сбросом в форсуночную головку камеры сгорания. Часть расхода одного из компонентов топлива направляют в камеру сгорания, а оставшуюся часть газифицируют и направляют на турбины турбонасосных агрегатов. Отработанный на турбинах газообразный компонент смешивают с жидким компонентом, поступающим в двигатель при давлении, превышающем давление насыщенных паров получаемой смеси. Жидкостный ракетный двигатель содержит камеру сгорания с трактом регенеративного охлаждения, насосы подачи компонентов топлива и турбину. Насосы и турбины скомпонованы в два ТНА: основной и бустерный. Двигатель содержит установленные последовательно перед насосом подачи одного из компонентов топлива основного турбонасосного агрегата насос бустерного турбонасосного агрегата и смеситель. Выход насоса основного турбонасосного агрегата соединен как с форсуночной головкой камеры сгорания, так и с трактом регенеративного охлаждения камеры сгорания. Тракт регенеративного охлаждения, в свою очередь, связан с турбинами основного и бустерного турбонасосных агрегатов, выходы которых соединены со смесителем.
Недостатком этой схемы является то, что тепловой энергии, снимаемой при охлаждении камеры сгорания, может оказаться недостаточно для привода турбонасосного агрегата двигателя очень большой мощности.
Известен ЖРД по патенту РФ на изобретение №2190114, МПК 7 F02K 9/48, опубл. 27.09.2002 г. Этот ЖРД включает в себя камеру сгорания с трактом регенеративного охлаждения, турбонасосный агрегат ТНА с насосами окислителя и горючего, выходные магистрали которых соединены с головкой камеры сгорания, основную турбину и контур привода основной турбины. В контур привода основной турбины входят последовательно соединенные между собой насос горючего и тракт регенеративного охлаждения камеры сгорания, соединенный с входом в основную турбину. Выход из турбины ТНА соединен с входом второй ступени насоса горючего.
Этот двигатель имеет существенный недостаток. Перепуск подогретого в тракте регенеративного охлаждения камеры сгорания горючего на вход во вторую ступень насоса горючего приведет к его кавитации и к последствиям, указанным выше. Большинство ЖРД используют такие компоненты топлива, что расход окислителя почти всегда больше расхода горючего. Следовательно, для мощных ЖРД, имеющих большую тягу и большое давление в камере сгорания, эта схема не приемлема, т.к. расхода горючего будет недостаточно для охлаждения камеры сгорания и привода основной турбины.
Кроме того, не проработана система запуска ЖРД, система воспламенения компонентов топлива и система выключения ЖРД и его очистки от остатков горючего в тракте регенеративного охлаждения камеры сгорания.
Известен жидкостный ракетный двигатель и способ его запуска по патенту РФ на изобретение №2232915, опубл. 10.09.2003 г. (прототип), который содержит камеру сгорания, турбонасосный агрегат, газогенератор, систему запуска, средства для зажигания компонентов топлива и топливные магистрали. Выход насоса окислителя соединен с входом в газогенератор. Выход первой ступени насоса горючего соединен с каналами регенеративного охлаждения камеры и со смесительной головкой. Выход второй ступени насоса горючего (дополнительного насоса горючего) соединен с регулятором расхода с электроприводом. Другой вход регулятора соединен с пусковьм бачком со штатным горючим. Выход из регулятора соединен с газогенератором. Выход из газогенератора соединен с входом в турбину турбонасосного агрегата, выход из которой соединен со смесительной головкой. Регулятор расхода снабжен гидроприводом предварительной ступени, который через кавитирующий жиклер и гидрореле соединен с пусковым бачком со штатным горючим. Гидрореле соединено со второй ступенью насоса горючего. Дроссель, установленный на выходе первой ступени насоса горючего, выполнен совместно с управляемьм клапаном предварительной ступени.
Недостатком такой схемы является пожар или взрыв ТНА и ракеты на старте или в полете вследствие низкой надежности уплотнения между турбиной и насосом окислителя, между насосом окислителя и горючего, а также между насосом горючего и дополнительным насосом горючего из-за действия на них большого перепада давления: 300…400 кгс/см2 для современных ЖРД. Например, при использовании в качестве компонентов ракетного топлива водорода и кислорода самые незначительные утечки этих компонентов приводят к образованию «гремучей смеси» и практически всегда – к взрыву ракеты.
Практически всегда для охлаждения опор ТНА используют компоненты ракетного топлива. Это очень опасно и может привести к пожару или взрыву, вследствие перегрева компонента ракетного топлива, прокачиваемого через опоры. Особенно опасно применение для смазки опор жидкого кислорода.
Задача изобретения – предотвращение взрыва ТНА или ракеты на старте или в полете.
Решение указанной задачи достигнуто в турбонасосном агрегате жидкостного ракетного двигателя, содержащем детали ротора турбонасосного агрегата: крыльчатку насоса окислителя, крыльчатку дополнительного насоса горючего с валом и крыльчаткой дополнительного насоса горючего, тем, что все опоры выполнены магнитными, между рабочим колесом турбины и крыльчаткой насоса окислителя установлены магнитная муфта и мультипликатор. Между насосом окислителя и насосом горючего могут быть установлены магнитная муфта и мультипликатор. Между насосом горючего и дополнительным насосом горючего могут быть установлены магнитная муфта и мультипликатор.
Проведенные патентные исследования показали, что предложенное техническое решение обладает новизной, изобретательским уровнем и промышленной применимостью. Новизна подтверждается проведенными патентными исследованиями, изобретательский уровень – достижение нового эффекта – абсолютной герметичности соединений между турбиной и насосами, а также между насосами и предотвращение взрыва ТНА и ракеты на старте или в полете.
Промышленная применимость обусловлена тем, что все элементы, входящие в компоновку ТНА, известны из уровня техники и широко применяются в двигателестроении.
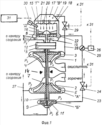
Сущность изобретения поясняется на фиг.1…3,
где на фиг.1 приведена схема первого варианта ТНА,
на фиг.2 приведена схема второго варианта ТНА,
на фиг.3 приведена схема третьего варианта ТНА,
Турбонасосный агрегат жидкостного ракетного двигателя ТНА (Фиг.1) содержит корпус 1, вал ТНА 2 (или части вала ТНА) 2 и 3, на котором (которых) установлены детали ротора ТНА: крыльчатка насоса окислителя 4, крыльчатка насоса горючего 5 и рабочее колесо турбины 6. Все детали ротора ТНА размещены внутри корпуса ТНА 7. Дополнительный насос горючего 8, имеющий крыльчатку дополнительного насоса горючего 9 и вал дополнительного насоса горючего 10, выполнен соосно с продольной осью корпуса ТНА 1 и установлен на стороне, противоположной рабочему колесу турбины 6. Крыльчатка дополнительного насоса горючего 9 установлена в корпусе дополнительного насоса горючего 11, полость «Б» которого герметизирована относительно полости ТНА «А». Между крыльчаткой насоса горючего 5 и дополнительным насосом горючего 8 в корпусе ТНА 1 установлены магнитная муфта 12 и мультипликатор 13. Магнитная муфта 12 и все другие магнитные муфты состоят из ведущего диска магнитной муфты и ведомого диска магнитной муфты. Между дисками магнитной муфты выполнена перегородка из немагнитного материала, например из немагнитной стали.
Вал ТНА 2 установлен не менее чем на двух магнитных опорах 14.
Газогенератор 15 установлен соосно с корпусом ТНА 1 над сопловьм аппаратом турбины 16. Газогенератор 15 содержит головку газогенератора 17, внутри которой выполнены наружная плита 18 и внутренняя плита 19 с полостью «В» над ними и полостью «Г» между ними. Внутри головки газогенератора 17 установлены форсунки окислителя 20 и форсунки горючего 21. Форсунки окислителя 20 сообщают полость «В» с внутренней полостью газогенератора «Д», а форсунки горючего 21 сообщают полость «Г» с внутренней полостью газогенератора «Д». На наружной поверхности газогенератора 15 установлен коллектор горючего 22, к которому подходит топливопровод высокого давления 23 от дополнительного насоса горючего 8. В линии трубопровода высокого давления 23 установлен клапан высокого давления 24 и регулятор расхода 25 с приводом регулятора расхода 26. Выход из крыльчатки насоса горючего 5 соединен трубопроводом 27 с входом в дополнительный насос горючего 8 и с камерой сгорания (камера сгорания на фиг.1 не показана).
Выход из крыльчатки насоса окислителя 4 трубопроводом окислителя 28 через клапан окислителя 29 соединен с полостью «В» газогенератора 15. На газогенераторе 15 установлены одно или несколько запальных устройств 30. Блок управления 31 соединен электрическими связями с запальными устройствами 30, клапаном высокого давления 24, клапаном окислителя 29 и приводом регулятора расхода 26.
При запуске ЖРД с блока управления 31 подаются электрические сигналы на клапаны 24 и 29 и запальное (запальные) устройства 30. Окислитель и горючее из крыльчаток насосов 4, 5 и 9 самотеком поступает в газогенератор 15, где воспламеняется, продукты сгорания раскручивают рабочее колесо турбины 6, давление на выходе из крыльчаток насосов 4 и 5 возрастает. Часть топлива (около 10%) поступает в дополнительный насос горючего 8, где его давление значительно увеличивается. Дополнительный насос горючего 8 приводится во вращение через магнитную муфту 12 и мультипликатор 13. Вследствие этого, из-за отсутствия уплотнения по валу дополнительного насоса горючего 10 его надежность возрастает. При давлении на входе в крыльчатку насоса горючего 5 порядка Р1=2…4 кгс/см2, на выходе из крыльчатки насосов горючего 5 Р2=400 кгс/см2 и при давлении на выходе из дополнительного насоса горючего 8 примерно Р3=900 кгс/см2 возникший между ними перепад давления примерно в 600 кгс/см2 воспринимается перегородкой из немагнитного материала. Давление на входе в насос окислителя Р4=4…5 кгс/см2, на выходе из насоса окислителя Р5=500 кгс/см2, на входе в камеру сгорания Р6=400 кгс/см2. Наличие магнитных муфт между насосами и насосом окислителя и турбиной обеспечивает полную герметичность всех модулей относительно друг друга, наличие мультипликаторов – согласование оборотов вращения турбины и насосов и одновременно модульность конструкции.
В результате появилась реальная возможность спроектировать все основные узлы ТНА: турбину и насос на оптимальные параметры, в том числе по частотам вращения и согласовать частоты вращения за счет применения одного мультипликатора между турбиной и насосами или нескольких мультипликаторов, а это позволило минимизировать вес ТНА, что имеет решающее значение в ракетной технике.
Применение изобретения позволяет
1) предотвратить взрыв ТНА и ракеты при старте или в полете вследствие контакта окислителя и горючего в полости между насосами или проникновения продуктов сгорания из турбины в один из компонентов топлива, если в качестве компонентов ракетного топлива используется кислород и водород или другие агрессивные компоненты; также исключить применение для смазки опор компонентов ракетного топлива в связи с тем, что магнитные опоры вообще не требуют смазки;
2) обеспечить модульность конструкции ТНА и их раздельную доводку при испытаниях;
3) спроектировать все узлы ТНА: турбину и насос на оптимальные параметры, в том числе частоты вращения и согласовать частоты вращения за счет применения одного мультипликатора между турбиной и насосами или нескольких мультипликаторов;
4) повысить надежность ТНА за счет отсутствия уплотнения по валу дополнительного насоса горючего и его полной герметичности за счет применения магнитной муфты;
5) упростить кинематическую схему ТНА за счет отказа от редуктора;
6) уменьшить общий вес ТНА за счет исключения редуктора и его корпуса;
7) полностью предотвратить утечку горючего в дренаж из редуктора и из полости между насосами окислителя и горючего;
8) улучшить пожаробезопасность ТНА за счет:
– использования магнитных опор, не требующих смазки,
– уменьшения вероятности контакта окислителя и горючего в полости между насосами окислителя и горючего,
– исключения из конструкции системы редуктора, охлаждаемого пожароопасным компонентом ракетного топлива – горючим.
Формула изобретения
1. Турбонасосный агрегат жидкостного ракетного двигателя, содержащий, установленные на валу, который в свою очередь установлен не менее чем на двух опорах, детали ротора турбонасосного агрегата: крыльчатку насоса окислителя, крыльчатку насоса горючего и рабочее колесо турбины, размещенные в корпусе турбонасосного агрегата крыльчатку дополнительного насоса горючего с валом и крыльчаткой дополнительного насоса горючего, отличающийся тем, что все опоры выполнены магнитными, между рабочим колесом турбины и крыльчаткой насоса окислителя установлены магнитная муфта и мультипликатор.
2. Турбонасосный агрегат жидкостного ракетного двигателя по п.1, отличающийся тем, что между насосом окислителя и насосом горючего установлены магнитная муфта и мультипликатор.
3. Турбонасосный агрегат жидкостного ракетного двигателя по п.1 или 2, отличающийся тем, что между насосом горючего и дополнительным насосом горючего установлены магнитная муфта и мультипликатор.
РИСУНКИ
|