|
|
(21), (22) Заявка: 2003101666/06, 22.01.2003
(24) Дата начала отсчета срока действия патента:
22.01.2003
(30) Конвенционный приоритет:
22.01.2002 FR 0200764
(43) Дата публикации заявки: 10.08.2004
(46) Опубликовано: 27.02.2008
(56) Список документов, цитированных в отчете о поиске:
DE 834474 В, 15.04.1952. SU 1677347 А1, 15.09.1991. SU 514107 А, 15.05.1976. SU 141488 А, 17.11.1961. US 2656096 А, 20.10.1953. US 5467591 А, 21.11.1995. DE 1054791 B1, 09.04.1959.
Адрес для переписки:
191186, Санкт-Петербург, а/я 230, “АРС-ПАТЕНТ”, пат.пов. В.М.Рыбакову
|
(72) Автор(ы):
НОТТЕН Клод (FR)
(73) Патентообладатель(и):
СНЕКМА МОТОРС (FR)
|
(54) ДИФФУЗОР НАЗЕМНОГО ИЛИ АВИАЦИОННОГО ГАЗОТУРБИННОГО ДВИГАТЕЛЯ
(57) Реферат:
Диффузор выходного устройства газотурбинного двигателя расположен между последней ступенью турбины и выпускной секцией выходного устройства и содержит наружную кольцевую стенку и внутреннюю кольцевую стенку, образующие кольцевой проход для текучей среды, расширяющийся в направлении истечения этой текучей среды. По меньшей мере одна из кольцевых стенок содержит несколько отверстий, открытых в указанный кольцевой проход и выходящих, по меньшей мере, в одну коллекторную камеру, которая сопряжена для снижения скорости движения указанной текучей среды в указанном кольцевом проходе со средствами вывода части указанной текучей среды на наружную сторону диффузора. Диффузор дополнительно содержит всасывающие средства для отбора подлежащей выводу части текучей среды. Изобретение позволяет уменьшить потери давления в диффузоре. 2 н. и 8 з.п. ф-лы, 3 ил.
Область техники, к которой относится изобретение
Настоящее изобретение относится к области диффузоров для наземных или авиационных газотурбинных двигателей. Более конкретно, оно относится к диффузору, встроенному между турбиной и выпускной секцией газотурбинного двигателя, и к двигателю, снабженному подобным диффузором.
Уровень техники
Наземные и авиационные газовые турбины предназначены для того, чтобы развивать достаточно высокую мощность для привода либо генератора переменного тока (наземные турбины), либо компрессора (авиационные турбины). С этой целью газовая турбина отбирает и преобразует в механическую энергию часть энергии сжатых горячих газов, выходящих из камеры сгорания двигателя, оснащенного этой турбиной. Турбина обычно состоит из нескольких ступеней, причем каждая ступень содержит сопловой (направляющий) аппарат и рабочее колесо турбины, расположенное за сопловым аппаратом и предназначенное для ускорения истечения газов. Газы, выходящие из последней ступени турбины, поступают затем в выходное устройство двигателя.
Выходное устройство, размещенное непосредственно на выходе турбины, образовано диффузором и выпускной секцией, основной функцией которой является выпрямление потока газов в том случае, когда вывод газов из турбины производится не по ее оси, а также обеспечение прохода охлаждающего воздуха, использованного для охлаждения внутренних компонентов двигателя. Диффузор позволяет снизить скорость и повысить давление газов, выходящих из последней ступени турбины. Для этой цели диффузор обычно выполняется со стенкой, образующей проход для газов, который расширяется в направлении истечения газов, как это описано в патенте США №2594042 применительно к диффузору авиационного двигателя.
Известно, что в выходном устройстве происходят потери давления, которые в общем случае пропорциональны квадрату скорости газов на уровне передней кромки выпускной секции выходного устройства. В качестве примера для турбины наземного применения скорость истечения газов на выходе рабочего колеса последней ступени турбины достигает 0,6М (М – число Маха). Диффузор позволяет снизить эту скорость примерно до 0,45М на уровне передней кромки выпускной секции выходного устройства, что ведет к потерям давления порядка 5%. Однако скорость газов порядка 0,45М является все еще очень высокой. Это вызвано тем, что наклон стенок, образующих диффузор, не может превышать определенного значения из-за риска увеличения толщины пограничных слоев на этих стенках. Подобные пограничные слои повышенной толщины соответствуют зонам отслоения или отрыва потока, что влияет на эффективность диффузора. При этом в случае отслоения потока от стенок диффузора аэродинамическое сечение на его выходе становится значительно меньше геометрического сечения, что создает препятствия для выполнения диффузором его функции. Кроме того, оптимизация турбины в отношении затрат, массы и эффективности, как правило, ведет к повышенным нагрузкам на каждую ее ступень, а это трансформируется во все более высокие скорости газов на выходе последней ступени турбины.
Ближайшим аналогом диффузора по изобретению является диффузор, описанный в документе DE 834474, МПК F01D 25/30, 1952. Известный диффузор расположен между последней ступенью турбины и выпускной секцией выходного устройства и содержит наружную кольцевую стенку и внутреннюю кольцевую стенку, образующие кольцевой проход (8) для текучей среды, расширяющийся в направлении истечения этой текучей среды. При этом внутренняя и внешняя кольцевые стенки кольцевого прохода содержат отверстия (13-16), открытые в указанный кольцевой проход. Часть текучей среды, движущейся по диффузору, выводится через эти отверстия из кольцевого прохода в каналы 11, 12, возвращающие выведенную текучую среду ко входу (18) диффузора. Такое выполнение известного диффузора существенно усложняет его конструкцию и затрудняет решение проблемы снижения потерь давления в диффузоре.
Раскрытие изобретения
Задача, на решение которой направлено настоящее изобретение, заключается в создании газотурбинного двигателя с диффузором, обеспечивающим значительное снижение потерь давления.
В соответствии с изобретением для решения поставленной задачи создан диффузор выходного устройства газотурбинного двигателя, расположенный между последней ступенью турбины и выпускной секцией выходного устройства и содержащий наружную кольцевую стенку и внутреннюю кольцевую стенку, образующие кольцевой проход для текучей среды, расширяющийся в направлении истечения текучей среды. При этом, по меньшей мере, одна из кольцевых стенок содержит несколько отверстий, открытых в кольцевой проход. Указанные отверстия выполнены выходящими, по меньшей мере, в одну коллекторную камеру, сопряженную, для снижения скорости движения текучей среды в кольцевом проходе, со средствами вывода части указанной текучей среды на наружную сторону диффузора.
Таким образом, согласно изобретению отверстия, выполненные, по меньшей мере, в одной из кольцевых стенок диффузора, осуществляют, с помощью коллекторной камеры, вывод из двигателя части текучей среды, проходящей через кольцевой проход. Это позволяет снизить скорость движения текучей среды в кольцевом проходе и за счет этого снизить потери давления. При этом полностью устраняется риск увеличения толщины пограничных слоев на стенках диффузора и отрыв потока. Коллекторная камера или коллекторные камеры связана (связаны), по меньшей мере, с одним каналом вывода текучей среды. В некоторых предпочтительных вариантах выполнения диффузора по изобретению (например, при его использовании в двухконтурном газотурбинном двигателе) данный канал проходит в обход секций выходного устройства, сообщающихся с кольцевым проходом, формирующим так называемый “горячий поток” газотурбинного двигателя, и со вторым кольцевым проходом, формирующим так называемый “холодный поток” и коаксиальным указанному кольцевому проходу.
В оптимальном варианте диффузор дополнительно содержит всасывающие средства для отбора, т.е. для регулирования и контроля расхода подлежащей выводу текучей среды.
Отверстия, выполненные, по меньшей мере, в одной из кольцевых стенок, могут иметь вид каналов или круговых (дуговых) щелей, по существу перпендикулярных стенке, или же вид каналов или круговых (дуговых) щелей, по существу наклонных по направлению истечения текучей среды относительно этой стенки. В предпочтительном варианте указанные отверстия выполнены в виде щелей со скошенной кромкой для более эффективной подачи подлежащей выводу части текучей среды к указанным средствам вывода.
Решение поставленной задачи обеспечивается также созданием газотурбинного двигателя, снабженного выходным устройством с описанным диффузором, обеспечивающим отвод части текущей через него текучей среды, по меньшей мере, в одну коллекторную камеру, сопряженную со средствами вывода текучей среды.
Краткое описание чертежей
Не являющиеся ограничивающими примеры осуществления настоящего изобретения, его дополнительные особенности и преимущества будут подробнее описаны ниже со ссылками на прилагаемые чертежи, на которых:
фиг.1 изображает на виде в продольном разрезе выходное устройство газотурбинного двигателя в соответствии с изобретением,
фиг.1а изображает на частичном виде диффузор в соответствии с изобретением во втором примере выполнения,
фиг.2 изображает на виде в продольном разрезе выходное устройство в примере его использования в двухконтурном газотурбинном авиационном двигателе в соответствии с изобретением.
Осуществление изобретения
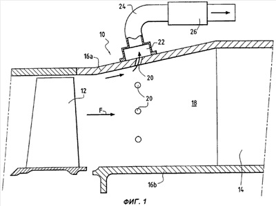
Как показано на фиг.1, диффузор 10 расположен непосредственно на выходе рабочего колеса 12 последней ступени газовой турбины по направлению истечения из турбины газообразной текучей среды (газов), обозначенному стрелкой F. Выпускная секция 14 выходного устройства, предназначенная для выпрямления потока газов, смонтирована на выходе диффузора 10.
Диффузор 10 содержит наружную кольцевую стенку 16а и внутреннюю кольцевую стенку 16b, образующие кольцевой проход 18 для исходящего из турбины газового потока. Стенки 16а, 16b расположены таким образом, что кольцевой проход 18 расширяется в направлении F истечения газового потока для того, чтобы снизить скорость истечения и повысить давление проходящих газов. Более конкретно, наружная стенка 16а выполнена расходящейся или отклоняющейся, в то время как внутренняя стенка 16b по существу параллельна оси двигателя (не показана), оснащенного диффузором. Возможен и вариант, когда внутренняя стенка 16b выполнена отклоняющейся, а наружная стенка 16а параллельна оси двигателя.
В соответствии с изобретением в наружной кольцевой стенке 16а диффузора и/или в его внутренней кольцевой стенке 16b выполнены несколько отверстий 20, выходящих, по меньшей мере, в одну коллекторную камеру 22, сопряженную со средствами вывода части газов, проходящих через кольцевой проход 18.
В примере выполнения по фиг.1 отверстиями 20 снабжена только наружная стенка 16а. Показанные на чертеже отверстия 20 представляют собой каналы, по существу наклонные по направлению F истечения газов относительно наружной стенки 16а. Возможна также модификация, в которой отверстия 20 представляют собой каналы, по существу перпендикулярные наружной стенке 16а и/или внутренней стенке 16b (фиг.2).
Согласно второму варианту выполнения, показанному на фиг.1а, отверстия 20 могут быть образованы несколькими круговыми, т.е. дуговыми, щелями, которые соответствуют угловому сектору наружной стенки 16а. Эти щели также могут быть по существу перпендикулярными или по существу наклонными по направлению F истечения газов относительно наружной стенки 16а.
Согласно еще одному не показанному варианту выполнения отверстия 20 могут быть образованы одной или несколькими щелями со скошенными кромками, верхние и нижние по потоку стенки которых взаимно смещены в радиальном направлении. Этот тип щелей позволяет более эффективно направлять газы к средствам вывода.
Может быть предусмотрена единственная кольцевая коллекторная камера 22 для сбора подлежащих выводу газов от всех отверстий 20 или же одна камера, например, цилиндрической формы для каждого отверстия 20 (или для нескольких отверстий) для обеспечения лучшей равномерности расхода выводимых газов.
Коллекторная камера или коллекторные камеры 22 сбора газов предпочтительно связана (связаны), по меньшей мере, с одним каналом 24 вывода газов. Для случая единственной камеры 22 могут быть предусмотрены один или несколько каналов 24 вывода. В том случае, когда отверстиями 20 снабжена внутренняя стенка 16b диффузора, канал или каналы 24 для вывода газов на наружную сторону диффузора могут, например, идти в обход (огибать) секцию 14 выходного устройства.
Согласно другой выгодной особенности изобретения диффузор дополнительно содержит всасывающие средства 26 для отбора подлежащей выводу части газов. Эти всасывающие средства 26 могут быть выполнены в виде управляемого клапана, насоса, компрессора или любой другой системы, позволяющей всасывать газ с желаемым расходом. За счет этого обеспечивается возможность осуществлять управление и контроль расхода выводимых газов.
В тех случаях, когда нет необходимости в регулировании и контроле расхода выводимых газов, газы, проходящие через отверстия 20 в наружной стенке 16а и/или внутренней стенке 16b, могут выходить непосредственно в пространство снаружи диффузора без прохождения через коллекторные камеры и каналы вывода. Практически в этом случае только разница давления газов между кольцевым проходом 18 и пространством вокруг диффузора обеспечивает всасывание газов через отверстия 20.
На фиг.2 показан диффузор по изобретению применительно к двухконтурному газотурбинному авиационному двигателю. Диффузор 10 расположен непосредственно на выходе рабочего колеса 12 последней ступени газовой турбины. Наружная и внутренняя стенки 16а, 16b диффузора образуют первый расширяющийся кольцевой проход 18 для газов, выходящих из турбины. Этот первый проход 18 формирует так называемый «горячий поток». Дополнительная стенка 16с, расположенная коаксиально стенкам 16а, 16b диффузора, позволяет образовать второй кольцевой проход 28 для воздуха, всасываемого вентилятором двигателя (не изображен). Этот второй проход 28 формирует так называемый «холодный поток».
В соответствии с изобретением во внутренней стенке 16b имеются несколько отверстий 20, открытых в первый кольцевой проход 18 и выходящих, по меньшей мере, в одну коллекторную камеру 22, связанную, по меньшей мере, с одним каналом 24 вывода газов. Канал или каналы 24 вывода огибают секцию 14 выходного устройства, сообщающуюся с первым кольцевым проходом 18, и вторую секцию 30 выходного устройства, сообщающуюся со вторым кольцевым проходом 28. Диффузор может дополнительно содержать всасывающие средства 26 для отбора части подлежащих выводу газов.
Формула изобретения
1. Диффузор (10) выходного устройства газотурбинного двигателя, расположенный между последней ступенью турбины и выпускной секцией выходного устройства и содержащий наружную кольцевую стенку (16а) и внутреннюю кольцевую стенку (16b), образующие кольцевой проход (18) для текучей среды, расширяющийся в направлении (F) истечения этой текучей среды, причем, по меньшей мере, одна из кольцевых стенок (16а, 16b) содержит несколько отверстий (20), открытых в указанный кольцевой проход и выходящих, по меньшей мере, в одну коллекторную камеру (22), которая сопряжена, для снижения скорости движения указанной текучей среды в указанном кольцевом проходе со средствами вывода части указанной текучей среды на наружную сторону диффузора, при этом диффузор дополнительно содержит всасывающие средства (26) для отбора подлежащей выводу части текучей среды.
2. Диффузор по п.1, отличающийся тем, что указанные несколько отверстий (20) выходят в единственную кольцевую коллекторную камеру (22) для сбора подлежащей выводу части текучей среды.
3. Диффузор по п.1, отличающийся тем, что, по меньшей мере, одна коллекторная камера (22) связана, по меньшей мере, с одним каналом (24) вывода текучей среды.
4. Диффузор по п.3, отличающийся тем, что указанный, по меньшей мере, один канал (24) вывода текучей среды проходит в обход секций (14, 30) выходного устройства, сообщающихся с указанным кольцевым проходом (18), формирующим горячий поток газотурбинного двигателя, и со вторым кольцевым проходом (28), формирующим холодный поток и коаксиальным указанному кольцевому проходу (18).
5. Диффузор по любому из пп.1-4, отличающийся тем, что указанные отверстия (20) выполнены в виде каналов, по существу перпендикулярных указанной кольцевой стенке.
6. Диффузор по любому из пп.1-4, отличающийся тем, что указанные отверстия (20) выполнены в виде каналов, по существу наклонных относительно указанной кольцевой стенки по направлению (F) истечения текучей среды.
7. Диффузор по любому из пп.1-4, отличающийся тем, что указанные отверстия (20) выполнены в виде круговых или дуговых щелей, по существу перпендикулярных указанной кольцевой стенке.
8. Диффузор по любому из пп.1-4, отличающийся тем, что указанные отверстия (20) выполнены в виде круговых или дуговых щелей, по существу наклонных относительно указанной кольцевой стенки по направлению (F) истечения текучей среды.
9. Диффузор по любому из пп.1-4, отличающийся тем, что указанные отверстия (20) выполнены в виде щелей со скошенной кромкой для более эффективной подачи подлежащей выводу части текучей среды к указанным средствам вывода.
10. Газотурбинный двигатель, содержащий диффузор, выполненный в соответствии с любым из пп.1-9.
РИСУНКИ
PD4A – Изменение наименования обладателя патента СССР или патента Российской Федерации на изобретение
(73) Новое наименование патентообладателя:
СНЕКМА (FR)
Адрес для переписки:
191186, Санкт-Петербург, а/я 230, АРС-ПАТЕНТ
Извещение опубликовано: 20.02.2009 БИ: 05/2009
|
|