|
(21), (22) Заявка: 2004134729/12, 25.04.2003
(24) Дата начала отсчета срока действия патента:
25.04.2003
(30) Конвенционный приоритет:
30.04.2002 DE 10219232.4
(43) Дата публикации заявки: 10.05.2005
(46) Опубликовано: 27.02.2008
(56) Список документов, цитированных в отчете о поиске:
RU 2162507 C1, 27.01.2001. US 5718547 A1, 17.02.1998. DE 10033840 A1, 31.01.2002. US 5219254 А, 15.06.1993. US 2463859 А, 08.03.1949. RU 2023131 C1, 15.11.1994. RU 2081284 С1, 10.06.1997. US 5205072 A, 27.04.1993.
(85) Дата перевода заявки PCT на национальную фазу:
30.11.2004
(86) Заявка PCT:
EP 03/04317 (25.04.2003)
(87) Публикация PCT:
WO 03/093617 (13.11.2003)
Адрес для переписки:
129010, Москва, ул. Б.Спасская, 25, стр.3, ООО “Юридическая фирма Городисский и Партнеры”, пат.пов. С.А.Дорофееву
|
(72) Автор(ы):
КИФЕР Зольтан Антон (DE)
(73) Патентообладатель(и):
НАОМИ Рехте Гмбх (DE)
|
(54) УСТРОЙСТВО С ДВЕРНЫМИ ПОЛОТНОМ И ШАРНИРАМИ, А ТАКЖЕ ДУШЕВАЯ КАБИНА С ТАКИМ УСТРОЙСТВОМ
(57) Реферат:
Изобретение относится к области изготовления устройств для навешивания створок. Устройство содержит два расширяющихся в конце глухих отверстия и, по меньшей мере, два шарнира. Каждый из шарниров состоит из одной со стороны двери и одной со стороны стены шарнирных деталей. Для закрепления шарнирной детали со стороны двери и/или стены предусматриваются два распорных дюбеля. Распорные дюбели имеют концевой распорный элемент и ближний опорно-стопорный элемент. Кроме того, предусматривается распорно-крепежное средство, которое, с одной стороны, служит для разжимания распорных элементов, а с другой стороны, для закрепления шарнира на шарнирном дюбеле. Распорно-крепежное средство может включать в себя болт с резьбой и гайку или базовую деталь с отверстием для установки винта. С помощью винта базовая деталь соединяется с распорным дюбелем. Изобретение обеспечивает простоту и надежность монтажа петли без выступающих деталей. 2 н. и 12 з.п. ф-лы, 4 ил.
Изобретение касается устройства с дверным полотном и, по меньшей мере, двумя шарнирами. Кроме этого изобретение касается душевой кабины с одним или несколькими стеновыми элементами и одним или несколькими указанными устройствами.
Известные душевые кабины, в общем, собираются на месте из предварительно изготовленных деталей. Известны комплекты деталей для душевых кабин, которые содержат один или несколько стеновых элементов, а также одно или несколько дверных полотен, причем дверное полотно закрепляется на стеновом элементе с помощью двух шарниров.
Для сборки деталей душевой кабины известны приборы самых различных вариантов выполнения. Эти приборы должны, с одной стороны, давать возможность создавать устойчивую конструкцию, а с другой стороны, обеспечивать простую сборку. Кроме того плоская поверхность деталей, связанных приборами, по возможности должна оставаться нетронутой. Это имеет значение не только с эстетической точки зрения, но и облегчает очистку деталей. Выступающие детали на стеклянной стене воспринимаются как обычно мешающие.
Из полезной модели DE 29923347 U1 известно устройство с дверным полотном и шарнирами, в котором шарнир закрепляется на дверном полотне посредством удерживающих элементов и ниш. С этой целью дверное полотно имеет сквозные отверстия, через которые проходят удерживающие элементы и винты. Поверхность дверного полотна прерывается сквозными отверстиями, что приводит к вышеописанным недостаткам.
Из US 5718547 известно крепежное средство, которое, по существу, состоит из распорного элемента, который может вставляться в глухое отверстие. После разжимания распорного элемента крепежное средство оказывается надежно закрепленным в глухом отверстии. Для разжимания распорного элемента предлагается болт, ввинчиваемый в крепежное средство.
В основе изобретения лежит задача – создать легко собираемое устройство с дверным полотном и шарнирами, которое позволяет собирать стабильную конструкцию без выступающих деталей. Дальнейшей задачей изобретения является создание душевой кабины с одним или несколькими элементами стены и с одним или несколькими подобными устройствами.
Решение этой задачи достигается с помощью признаков, которые приведены в пунктах 1 и 14 формулы изобретения.
Устройство согласно изобретению содержит дверное полотно, по меньшей мере, с двумя шарнирами, а также крепежные элементы для закрепления шарниров на дверном полотне. Каждый шарнир имеет одну шарнирную деталь со стороны двери и одну шарнирную деталь со стороны стены и шарнирную ось, на которую насаживаются обе шарнирные детали.
Крепежные элементы для шарниров содержат распорные дюбели, которые имеют концевой распорный элемент и ближний опорно-стопорный элемент. Техника соединения основана на том, что распорные дюбели вставляются в глухие отверстия дверного полотна, расширяющиеся в конце. Сквозные отверстия здесь не требуются, поэтому плоская поверхность дверного полотна на внутренней стороне остается нетронутой.
Далее, крепежные элементы содержат распорно-крепежное средство, с помощью которого, с одной стороны, разжимается распорный элемент распорного дюбеля и, с другой стороны, шарнир закрепляется на дверном полотне.
С помощью известных способов сверления выполненные расширяющимися в конце глухие отверстия могут быть выполнены в дверном полотне из самых различных материалов. Предпочтительно, чтобы дверное полотно состояло из минерального или синтетического материала. Особое преимущество такой техники соединения проявляется при дверных полотнах из стекла.
Ближний опорно-стопорный элемент распорного дюбеля служит не только для надежного закрепления распорно-крепежного средства, но и также для установки распорного дюбеля. Предпочтительно, чтобы опорно-стопорный элемент выполнялся в виде многогранной головки болта. В принципе, однако, возможна также любая другая форма.
Распорный элемент распорного дюбеля выполняется предпочтительно в виде втулки с распорными лепестками, снабженной внутренней резьбой. Для надежной фиксации распорного дюбеля должны быть предусмотрены, по меньшей мере, два, предпочтительно три или даже больше разжимных лепестков. При разжимании распорных элементов растягивающая сила равномерно распределяется по опорной поверхности в глухом отверстии.
В предпочтительном варианте выполнения распорно-крепежное средство имеет палец с резьбой и гайку, причем целесообразно, чтобы палец с резьбой имел внутренний многогранник. Таким образом, палец с резьбой с помощью известных многогранных ключей можно легко завинтить во втулку распорного дюбеля, снабженную внутренней резьбой, за счет чего разжимные лепестки разжимаются друг от друга. В этом варианте выполнения шарнир имеет сквозное отверстие для пальца с резьбой. Сквозное отверстие предпочтительно является продольным отверстием, так что можно ориентировать детали точно друг против друга.
Альтернативный вариант выполнения отличается тем, что сквозное отверстие в шарнире не требуется. За счет этого также исключается поперечное отверстие для болта с резьбой в дверном полотне, которое было бы видно с внешней стороны. Распорно-крепежное средство имеет в этом варианте выполнения фиксируемую в дверном полотне базовую деталь с отверстием для установки винта, с помощью которого базовая деталь соединяется с распорным дюбелем. Базовая деталь вставляется в глухое отверстие дверного полотна. Фиксация базовой детали в этом глухом отверстии дверного полотна осуществляется предпочтительно с помощью зажимного винта, который завинчивается в продольное отверстие дверного полотна.
Точное позиционирование шарнирной детали на дверном полотне делает возможным особенно предпочтительный вариант выполнения, при котором отверстие базовой детали для установки винта имеет эксцентриситет. Точное ориентирование шарнирной детали на дверном полотне осуществляется просто путем поворота базовой детали.
Точное ориентирование деталей достигается тогда, когда головка винта и отверстие базовой детали являются коническими.
С помощью устройства согласно изобретению могут быть построены душевые кабины с одним или несколькими дверными полотнами и стеновыми элементами. При этом дверное полотно, например, может закрепляться только на одном стеновом элементе с помощью, по меньшей мере, двух шарниров, причем стены помещения образуют боковые ограничения с других сторон. Например, душевая кабина, однако, также может быть составлена из двух стеновых элементов и одного дверного полотна. Кроме того, душевая кабина может содержать также два дверных полотна.
Далее несколько вариантов выполнения изобретения подробно объяснены со ссылками на чертежи.
На чертежах изображено:
Фиг.1 – деталь стенового элемента и дверного полотна вместе с шарниром и необходимыми крепежными элементами.
Фиг.2 – увеличенный вид по стрелке II фиг.1 шарнира в разобранном состоянии вместе с крепежными элементами крепления.
Фиг.3 – увеличенное изображение сечения дверного полотна и шарнирной детали со стороны дверного полотна и
фиг.4 – увеличенное изображение сечения стенового элемента и шарнирной детали со стороны стенового элемента.
На фиг.1 изображен участок сечения дверного полотна 1 и стенового элемента 2 вместе с шарниром 3, а также крепежные элементы для шарнира. Стеновой элемент и дверное полотно являются прямоугольными стеклянными пластинами. Дверное полотно присоединяется к стеновому элементу с помощью двух шарниров, из которых на фиг.1 показан только верхний. Нижний и верхний шарниры и их крепежные элементы идентичны.
Вариант выполнения по фиг.1 служит иллюстрацией двух различных техник соединения. На практике, однако, применяется, в общем, в каждом случае только одна из двух техник соединения.
Шарнир имеет шарнирную деталь 4 со стороны двери и шарнирную деталь 5 со стороны стены. Обе шарнирные детали 4, 5 имеют плоскую внутреннюю сторону 4а соответственно 5а, которая прилегает к дверному полотну 1 или стеновому элементу 2, и выпуклую внешнюю сторону 4b и соответственно 5b, а также плоскую верхнюю нижнюю стороны 4с и соответственно 5с и 4d и соответственно 5d.
На внутренних продольных сторонах шарнирные детали 4, 5 имеют верхнюю и соответственно нижнюю приемную деталь 6 или 7 с цилиндрическим продольным отверстием 8 и соответственно 9 для шарнирной оси 10. Шарнирная ось 10 является цилиндрическим металлическим стержнем 11 с круговым буртиком 12 между его концами. Круговой буртик 12 шарнирной оси 10 вставляется в выполненное соответствующим образом цилиндрическое углубление 12, 13 приемных деталей 6, 7, которое образовано круговой кромкой в продольных отверстиях 8, 9 приемных деталей 6, 7, причем металлический стержень проходит в каждом случае через отверстие в приемную детали. Продольные отверстия 8, 9 приемных деталей 6, 7 закрываются соответственно пробками 14, 15, которые имеют цилиндрические отверстия 16, 17, в которые входит металлический стержень 11 шарнирной оси 10.
Обе шарнирные детали 4, 5 принципиально идентичны. В предпочтительном варианте выполнения, однако, шарнирная деталь 4 со стороны двери имеет для предохранения от проворота продольный стопорный элемент 18, посредством которого шарнирная деталь 4 со стороны двери прилегает к продольному краю дверного полотна.
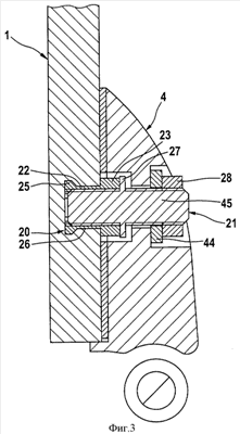
Далее описывается техника соединения шарнирной детали 4 со стороны двери подробно, причем шарнирная деталь 5 со стороны стены может присоединяться посредством такой же техники соединения. Эта техника соединения предусматривает, что в шарнирной детали 4 выполнено поперечное отверстие 19. Соединительные элементы для закрепления шарнирной детали 4 со стороны двери на дверном полотне 1 включают распорный дюбель 20 и распорно-крепежное средство 21. Распорный дюбель 20 имеет концевой распорный элемент 22 и ближний опорно-стопорный элемент 23.
Концевой распорный элемент 22 является втулкой, снабженной внутренней резьбой 24, которая прорезается шлицами в продольном направлении с образованием 3 выступающих разжимных лепестков 25. Ближний опорно-стопорный элемент 23 выполняется в виде многогранной головки болта.
Распорный дюбель прочно анкерно закрепляется в расширяющемся в конце глухом отверстии 26 в дверном полотне. Известны способы выполнения глухого отверстия 26, при которых за одну технологическую операцию одним инструментом высверливается цилиндрическая поверхность и затем в конце – расходящаяся коническая поверхность.
Распорно-крепежное средство 21 содержит палец 45 с резьбой, который имеет между своими концами круговой буртик 27, и гайку 28, при необходимости с подкладной шайбой 44. Обращенный наружу конец пальца 45 с резьбой снабжен внутренним многогранником 29, предпочтительно для приема шестигранного ключа.
Шарнирная деталь 4 устанавливается на дверном полотне 1 следующим образом. Сначала распорный дюбель 20 распорным элементом 22 вставляется в расширяющееся в конце глухое отверстие 26. Затем палец 45 с резьбой с помощью шестигранного ключа ввинчивается в распорный элемент 22, за счет чего разжимные лепестки 25 распорного элемента раздвигаются. Палец с резьбой теперь прочно анкерно закреплен на дверном полотне. После этого шарнирная деталь 4 прочно привинчивается пальцем 45 с резьбой.
Далее описывается альтернативная техника соединения шарнирной детали 5 со стороны стены. Посредством этой техники соединения может также присоединяться шарнирная деталь 4 со стороны двери, так что обе шарнирные детали, а также их крепежные элементы идентичны. Соответствующие друг другу детали обозначены одинаковыми номерами позиций.
Альтернативная техника соединения применяется и с таким же распорным дюбелем 20, который прочно анкерно закрепляется в расширяющемся в конце глухом отверстии 26 стенового элемента 2. Поперечное отверстие в шарнирной детали 5 со стороны стены не требуется. Следовательно, и соединительные элементы на внешней стороне 5d шарнирной детали не видны.
Распорно-крепежное средство 21 при альтернативном варианте выполнения содержит базовую деталь 30 и винт 31, с помощью которого базовая деталь свинчивается с распорным дюбелем 20.
Базовая деталь 30 имеет отверстие 32 с эксцентриситетом для установки стержня 33 винта 31. Головка 34 винта 31 и отверстие 32 базовой детали 30 являются коническими. Базовая деталь 30 имеет по периметру круговую канавку 35, а на торце, который обращен к стеновому элементу 2, выемку 36 для предохранения от проворота при установке многогранной головки 23 болта распорного дюбеля 20.
На внутренней стороне 5а шарнирной детали 5 со стороны стены предусматривается цилиндрическое глухое отверстие 37, в которое плотно вставляется базовая деталь 30. Для фиксации базовой детали 30 в глухом отверстии 37 служит зажимной винт 38, который ввинчивается в продольное отверстие 39 на верхней стороне 5с шарнирной детали 5 со стороны стены. Продольное отверстие 39 расположено так, что зажимный винт 38 входит в круговую канавку 35 базовой детали 30.
Для предохранения от проворота шарнирной детали со стороны стены предусматривается дополнительная ось 40, которая вставляется с одной стороны в соответствующее глухое отверстие 41 под глухим отверстием 37 для базовой детали 30, а с другой стороны – в соответствующую втулку 42, которая, в свою очередь, вставляется в соответствующее глухое отверстие 43 элемента 2 пола под глухим отверстием 26 для распорного дюбеля 20. Вместо дополнительной оси может, однако, также предусматриваться для предохранения от проворота продольный стопорный элемент 18 шарнирной детали 4 со стороны двери на шарнирной детали 5 со стороны стены.
Шарнирная деталь 5 со стороны стены устанавливается на стеновом элементе 2 следующим образом. После анкерного закрепления распорного дюбеля 20 в расширяющемся в конце глухом отверстии 26 базовая деталь 30 насаживается на многогранную головку болта 23 распорного дюбеля 20, и винт 31 ввинчивается в распорный дюбель 20. Затем базовая деталь 30 вставляется в глухое отверстие 37 шарнирной детали 5 со стороны стены, и зажимной винт 38 ввинчивается в шарнирную деталь. Таким образом, базовая деталь прочно анкерно соединяется с шарнирной деталью.
Второй шарнир, с помощью которого дверное полотно присоединяется к элементу стены, идентичен первому шарниру, поэтому дальнейшее описание и графическое изображение того же самого является излишним. Также и здесь возможны все вариации, которые следуют из различных техник соединения. При более тяжелых дверных полотнах могут, однако, предусматриваться более двух шарниров.
Формула изобретения
1. Устройство, содержащее дверное полотно (1), по меньшей мере, два шарнира (3), каждый из которых состоит из шарнирных деталей (4, 5) – одной со стороны двери и одной со стороны стены, каждая из которых снабжена одним продольным отверстием (8,9), по меньшей мере, две шарнирные оси (12), на которые насаживаются шарнирные детали, отличающееся тем, что дверное полотно имеет, по меньшей мере, два расширяющихся в конце глухих отверстия (26) и предусмотрены, по меньшей мере, два распорных дюбеля (20), каждый из которых имеет концевой распорный элемент (22) и ближний опорно-стопорный элемент (23), и распорно-крепежное средство (21) для разжимания распорного дюбеля, и для закрепления шарнира на дверном полотне.
2. Устройство по п.1, отличающееся тем, что концевой распорный элемент (22) распорного дюбеля (20) выполнен в виде тела, снабженного внутренней резьбой, с разжимными лепестками (25).
3. Устройство по п.2, отличающееся тем, что ближний опорно-стопорный элемент (23) распорного дюбеля (20) выполнен в виде многогранной головки болта.
4. Устройство по п.2, отличающееся тем, что распорно-крепежное средство (21) имеет палец (45) с резьбой и гайку (28).
5. Устройство по п.4, отличающееся тем, что палец (45) с резьбой имеет внутренний многогранник.
6. Устройство по п.1, отличающееся тем, что шарнирная деталь (4) имеет сквозное отверстие (19), предпочтительно продольное отверстие.
7. Устройство по п.1, отличающееся тем, что распорно-крепежное средство (21) имеет фиксируемую на дверном полотне базовую деталь (30) с отверстием (32) для приема винта (31) со стержнем (33) винта и головкой (34), с помощью которого базовая деталь (30) соединяется с распорным дюбелем (20).
8. Устройство по п.7, отличающееся тем, что отверстие (32) базовой детали (30) имеет эксцентриситет.
9. Устройство по п.7, отличающееся тем, что головка (34) винта (31) и отверстие (32) базовой детали (30) являются коническими.
10. Устройство по п.7, отличающееся тем, что в шарнирной детали (5) выполнено глухое отверстие (37) для установки базовой детали (30).
11. Устройство по п.10, отличающееся тем, что базовая деталь (30) фиксируется в шарнирной детали (5) посредством зажимного винта (38), который ввинчивается в отверстие (37) шарнирной детали.
12. Устройство по п.1, отличающееся тем, что шарнирная ось (10) имеет круговой буртик (12).
13. Устройство по п.1, отличающееся тем, что дверное полотно (1) состоит из минерального или синтетического материала.
14. Душевая кабина с одной или несколькими боковыми стенками и одним или несколькими устройствами по одному из пп.1-13.
РИСУНКИ
|