| На основании пункта 3 статьи 13 Патентного закона Российской Федерации от 23 сентября 1992 г. № 3517-I патентообладатель обязуется передать исключительное право на изобретение (уступить патент) на условиях, соответствующих установившейся практике, лицу, первому изъявившему такое желание и уведомившему об этом патентообладателя и федеральный орган исполнительной власти по интеллектуальной собственности, – гражданину РФ или российскому юридическому лицу. |
|
(21), (22) Заявка: 2006133569/03, 19.09.2006
(24) Дата начала отсчета срока действия патента:
19.09.2006
(46) Опубликовано: 27.02.2008
(56) Список документов, цитированных в отчете о поиске:
SU 50272 A1, 31.01.1937. SU 953133 A1, 23.08.1982. SU 129808 A1, 01.01.1960. SU 992684 A1, 30.01.1983. SU 985216 A1, 30.12.1982. GB 791883 A, 12.03.1958.
Адрес для переписки:
141091, Московская обл., г. Юбилейный, ул. Героев курсантов, 3, кв.25, В.П. Лобко
|
(72) Автор(ы):
Лобко Владимир Павлович (RU), Лобко Святослав Владимирович (RU)
(73) Патентообладатель(и):
Лобко Владимир Павлович (RU)
|
(54) СТЕНА
(57) Реферат:
Изобретение относится к области строительства и может быть использовано при возведении стен зданий и других сооружений. Технический результат изобретения заключается в снижении теплопроводности стены и в повышении звукоизоляции стены. Стена содержит кирпичи, которые соединены тычковыми поверхностями посредством растворного шва. Растворный шов содержит пустоту, осевая линия которой расположена под углом от 75° до 90° к постельной поверхности кирпича, и при этом пустота выполнена во время возведения стены. 1 ил.
Область техники, к которой относится изобретение
Изобретение относится к области строительства и может быть использовано при возведении стен зданий и других сооружений.
Уровень техники
Известна стена (описание к патенту СССР №50272, опубликованному 31.01.1937 г.), содержащая кирпичи, соединенные между собой растворным швом.
Недостатком стены является то, что растворный шов между кирпичами выполнен сплошным без пустоты. Сплошной шов хорошо проводит тепло и звук.
Прототипом изобретения является стена, описанная в описании к авторскому свидетельству СССР №953133, опубликованному 23.08.1982 г. Стена содержит кирпичи, соединенные тычковыми поверхностями посредством растворного шва. Растворный шов выполнен сплошным без пустоты, что является недостатком стены. Сплошной шов хорошо проводит тепло и звук.
Раскрытие изобретения
Стена является элементом здания или другого сооружения (например, тоннеля, печи). Стена предназначена для восприятия нагрузок и придания формы сооружению. Стена защищает сооружение от холода и звуковых волн.
Заявленное изобретение направлено на решение следующей задачи: снижение теплопроводности стены.
Указанная задача решается за счет того, что стена содержит кирпичи, соединенные тычковыми поверхностями посредством растворного шва, и растворный шов содержит пустоту, осевая линия которой расположена под углом от 75° до 90° к постельной поверхности кирпича, и при этом пустота выполнена во время возведения стены.
От наиболее близкого аналога изобретение отличается следующими признаками: «растворный шов содержит пустоту, осевая линия которой расположена под углом от 75° до 90° к постельной поверхности кирпича, и при этом пустота выполнена во время возведения стены».
При осуществлении изобретения могут быть получены следующие технические результаты.
Первым техническим результатом является уменьшение теплового потока через стену. Растворные швы, соединяющие кирпичи являются хорошим проводником тепла, поэтому пустота, располагающаяся в растворном шве является препятствием тепловому потоку через растворный шов. Растворный шов прототипа без пустоты обладает низким термическим сопротивлением.
Растворный шов, содержащий пустоту, обладает высоким термическим сопротивлением.
Вторым техническим результатом является повышение сопротивления движению звуковых волн через стену. Пустота в растворном шве является хорошим звукоизолятором. А это, в свою очередь, позволит выполнить стену меньшей толщины, сэкономить кирпичи и раствор.
Устройство для выполнения пустоты в растворном шве выполнено в виде стержня с толщиной поперечного сечения, равной расстоянию между тычковыми поверхностями соединяемых кирпичей. Стержень выполнен в виде цилиндра с поперечным сечением в виде окружности или эллипса.
Целесообразно пустоту или пустоты в растворном шве между кирпичами выполнять с переменной по длине пустоты площадью проходного сечения, например в виде конуса, сориентированного так, что основание находится над вершиной (вершиной вниз).
Также целесообразно пустоту или пустоты в растворном шве между кирпичами выполнять в виде усеченного конуса, сориентированного так, что большое основание находится над меньшим основанием.
В двух вышеописанных случаях устройство для выполнения пустоты выполнено соответственно в виде конуса или усеченного конуса. В этом случае на устройствах для выполнения пустоты при их извлечении из растворного шва не удерживается раствор.
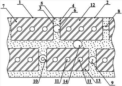
На чертеже изображен вид сверху на стену. Стена выполнена из двух рядов кирпичей.
Осуществление изобретения
Стена содержит кирпичи 1 и 2, соединенные тычковыми поверхностями 3 и 4 посредством растворного шва 5. Растворный шов 5 содержит пустоту 6, осевая линия которой расположена под углом 90° к постельной поверхности 7. В поперечном сечении пустота выполнена в виде окружности.
Пустота в поперечном сечении может выполняться и другой формы, например овальной 8, в виде конуса 9 или в виде усеченного конуса 10. Кирпичи выполнены также с пустотами 11.
Пример выполнения стены опишем на примере кладки стены способом вприсык.
Способом вприсык ведут кладку на пластичных растворах с неполным заполнением швов раствором по лицу стены, т.е. впустошовку. Процесс кладки тычкового ряда при этом способе выполняют в следующем порядке. Взяв кирпич и держа его наклонно, загребают ложковой гранью кирпича часть раствора, предварительно разостланного на постели. Загребать раствор начинают примерно на расстоянии 8-12 см от ранее уложенного кирпича. Придвигая кирпич к ранее уложенному, постепенно выправляют его положение и прижимают к постели. При этом часть раствора, снятая с постели, заполняет вертикальный поперечный шов между тычковыми поверхностями кирпичей. Уложив кирпич, осаживают его рукой на растворной постели. С помощью стержня (устройством для выполнения пустоты в растворном шве) выполняют пустоту в растворном шве между тычковыми поверхностями кирпичей. Стержень вдавливают вертикально (в общем случае под углом от 75° до 90° к постельной поверхности кирпича) в раствор, после чего стержень извлекают из шва.
Выполнение заявленного изобретения может быть осуществлено и другими способами кладки.
Пустота в растворном шве обеспечивает уменьшение теплового потока через растворный шов и стену в целом. Кроме того, пустота в растворном шве оказывает сопротивление движению звуковых волн через растворный шов и стену в целом.
Кирпичная стена, изображенная на чертеже содержит кирпичи 12 и 13, соединенные ложковыми поверхностями посредством растворного шва, и растворный шов между ложковыми поверхностями кирпичей 12 и 13 содержит пустоту 14, осевая линия которой расположена под углом от 75° до 90° к постельной поверхности кирпича, и при этом пустота выполнена во время возведения стены.
Таким образом, стена, изображенная на чертеже, может быть описана следующим образом: стена содержит кирпичи, соединенные тычковыми поверхностями посредством растворного шва, и содержит кирпичи, соединенные ложковыми поверхностями посредством растворного шва, и растворные швы содержат пустоты, причем осевые линии пустот расположены под углом от 75° до 90° к постельным поверхностям кирпичей и при этом пустоты выполнены во время возведения стены.
Все пустоты в растворных швах обеспечат уменьшение теплового потока через растворные швы и стену в целом. Кроме того, все пустоты в растворных швах оказывают сопротивление движению звуковых волн через растворные швы и стену в целом.
Формула изобретения
Стена, содержащая кирпичи, соединенные тычковыми поверхностями посредством растворного шва, отличающаяся тем, что растворный шов содержит пустоту, осевая линия которой расположена под углом от 75 до 90° к постельной поверхности кирпича и при этом пустота выполнена во время возведения стены.
РИСУНКИ
|