|
(21), (22) Заявка: 2006103458/15, 06.02.2006
(24) Дата начала отсчета срока действия патента:
06.02.2006
(43) Дата публикации заявки: 20.08.2007
(46) Опубликовано: 27.02.2008
(56) Список документов, цитированных в отчете о поиске:
SU 1708829 A1, 30.01.1992. SU 703125 A1, 15.12.1979. SU 1722544 A1, 30.03.1992. RU 2259865 C1, 10.09.2005. WO 02102496 A1, 27.12.2002.
Адрес для переписки:
630075, г.Новосибирск-75, а/я 89
|
(72) Автор(ы):
Островский Юрий Владимирович (RU), Заборцев Григорий Михайлович (RU), Эпоян Жирайр Хачикович (RU), Трипольская Анна Александровна (RU)
(73) Патентообладатель(и):
ООО Научно-производственный центр “ЭЙДОС” (RU)
|
(54) БАРБОТАЖНО-ПЕННЫЙ АППАРАТ
(57) Реферат:
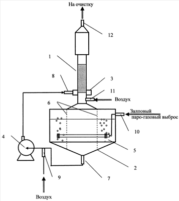
Изобретение может быть использовано для очистки технологических и вентиляционных газов от газообразных примесей при залповых парогазовых выбросах. Барботажно-пенный аппарат содержит корпус (1), установленный на баке (2) с раствором, который вместе со струеобразователем (3) и насосом (4) образуют пенный скруббер, аэратор (5), цилиндрическую перфорированную юбку (6), патрубки отбора (7) и подачи (8) раствора, патрубки подсоса воздуха (9), подачи газовой смеси (10) и воздуха (11) и выхода отработанных газов (12). 3 з.п. ф-лы, 1 ил.
Предлагаемое изобретение относится к технике очистки технологических и вентиляционных газов от газообразных примесей и может быть использовано в любой отрасли промышленности, где имеется необходимость сглаживания (демпфирования) колебаний концентрация залповых парогазовых выбросов, например паров оксида этилена при каталитической очистке газового выброса процесса стерилизация изделий медицинской промышленности.
Известен барботажный реактор, содержащий вертикальный корпус с раствором, патрубки ввода и вывода газов, патрубки отбора и подачи раствора, аэратор, размещенный в нижней части корпуса [Соколов В.Н., Доманский И.В. Газожидкостные реакторы. – Л.: Машиностроение. – 1976, с.8].
Недостатком данного барботажного реактора являются высокие концентрации при отдувке уловленных паров водорастворимых органических веществ вследствие обработки всего объема раствора.
Наиболее близким по конструкции является газлифтный барботажный аппарат, содержащий цилиндрический бак с раствором, патрубки ввода и вывода газов, патрубки отбора и подачи раствора, циркуляционную трубу, аэратор, установленный в нижней части бака [А.с. №1708829, СССР, МКИ5 С12М 1/04, заявлено 01.12.1988, опубл. 30.01.1992, Бюл. №4].
Недостатком данного газлифтного барботажного аппарата является неэффективное сглаживание (демпфирование) колебаний концентрация залповых парогазовых выбросов вследствие проскока водорастворимых органических веществ в конце залпового выброса и отсутствия дополнительной ступени обработки парогазового выброса.
Технической задачей, решаемой изобретением, является повышение эффективности сглаживания (демпфирования) колебаний концентрация залповых парогазовых выбросов.
Сущность изобретения
Решение технической задачи обеспечивается тем, что барботажно-пенный аппарат, содержащий цилиндрический бак с раствором, патрубки ввода и вывода газов, патрубки отбора и подачи раствора, аэратор, установленный в нижней части бака, содержит водяной насос и корпус, установленный на баке и снабженный переходом, выполненным в виде цилиндрической перфорированной юбки и погруженным в бак, a бак снабжен установленным на нем дополнительным патрубком подачи газов, при этом патрубок отбора раствора установлен на дне бака; цилиндрическая перфорированной юбка достигает дна бака и разделяет бак на центральную и периферийную части; аэратор выполнен в виде полого тора с отверстиями, направленными вниз, и установлен в периферийной части бака; на входе водяного насоса установлен патрубок подсоса воздуха.
Корпус, установленный на баке вместе с водяным насосом и системой подачи раствора, образуют пенный скруббер – дополнительную ступень обработки газов.
Для поддержания пенного слоя в скруббере барботажно-пенного аппарата необходимо обеспечивать стабильный расход газов (скорость газов в пенном скруббере может изменяться в небольших пределах). Поскольку залповый выброс может колебаться как по концентрации веществ, так и по расходу газов, его подают через аэратор, установленный в нижней части бака аппарата, подачу основной части газов (воздуха) для поддержания пенного слоя в скруббере осуществляют непрерывно через дополнительный патрубок, установленным на корпусе аппарата.
Барботажно-пенный аппарат в процессе сглаживания колебаний концентрация залповых парогазовых выбросов работает в двух режимах:
1. Режим улавливания залпового выброса паров органических веществ (периодически).
2. Режим отдувки уловленных веществ (непрерывно).
В режиме улавливания залпового выброса барботажно-пенный аппарат работает в качестве двухступенчатого абсорбера, в котором поглощение загрязняющих веществ происходит вначале при барботаже газов через слой раствора (абсорбента) в баке аппарата, а затем в пенном слое скруббера.
При барботаже газов в баке барботажно-пенного аппарата происходит вовлечение в процесс абсорбции значительной части раствора, что особенно важно при улавливании веществ, имеющих высокое давление паров над абсорбентом.
Увеличение расхода газов при залповом выбросе парогазовой смеси приводит к росту скорости газов в корпусе аппарата и, соответственно, к росту высоты пенного слоя скруббера, что улучшает условия абсорбции в период залпового выброса.
Барботаж газов через слой раствора большой высоты при соответствующем соотношении газ: раствор, а затем обработка в высокотурбулизированном пенном слое позволяет эффективно улавливать высококонцентрированные залповые парогазовые выбросы.
Во втором режиме барботажно-пенный аппарат работает в качестве десорбера, в котором происходит отдувка уловленных веществ. Поскольку в пенном слое скруббера барботажно-пенного аппарата обрабатывается незначительная часть раствора, десорбция (отдувка) уловленных веществ растягивается во времени.
Если в режиме улавливания залпового парогазового выброса подача газов происходит через аэратор, установленный в нижней части бака, а воздуха для поддержания пенного слоя в скруббере – через патрубок, установленный на корпусе скруббера, то в режиме отдувки подача газов (воздуха) происходит только через патрубок установленный на корпусе скруббера.
Реализация обоих режимов работы барботажно-пенного аппарата позволяет обеспечивать эффективное сглаживание залповых высококонцентрированных парогазовых выбросов.
Использование аэратора, выполненного в виде полого тора с отверстиями, направленными вниз, и установленного в нижней периферийной части бака позволяет обеспечивать эффективное диспергирование газов (большую поверхность контакта) при подаче залпового выброса.
Разделение бака на две части – центральную и периферийную при помощи цилиндрической перфорированной юбки необходимо для улучшения условий абсорбции при обработке залпового выброса. Использование периферийной части раствора преимущественно для барботажа, а центральной части – на образование пенного слоя в скруббере в совокупности с расположением патрубка отбора раствора на дне бака, позволяет эффективно улавливать газы при обработке залпового парогазового выброса.
Перфорирование разделительного перехода необходимо как для прохода газов при обработке залпового выброса, так и для обеспечения перемешивания раствора между центральной и периферийной частями бака в режиме отдувки уловленных веществ.
Установка на входе водяного насоса патрубка подсоса воздуха необходима для генерации в водяном насосе газоводяной смеси за счет диспергирования воздуха в растворе при повышенном давлении. При сбросе давления в пенном слое скруббера происходит процесс дегазации раствора и ускоренная отдувка растворенного вещества.
Перечень фигур
На чертеже изображена схема барботажно-пенного аппарата.
Сведения, подтверждающие возможность осуществления изобретения
Барботажно-пенный аппарат, представленный на фиг.1, состоит из корпуса 1, который установлен на баке 2 с раствором, который вместе со струеобразователем 3 и насосом 4 образуют пенный скруббер, аэратора 5, цилиндрической перфорированной юбки (перехода) 6, патрубков отбора 7 и подачи 8 раствора, патрубков подсоса воздуха 9, подачи газовой смеси 10 и воздуха 11 и выхода обработанных газов 12.
Барботажно-пенный аппарат работает следующим образом.
При залповом парогазовом выбросе, например, газовой смеси из стерилизатора (не показан) барботажно-пенный аппарат работает в режиме улавливания. При этом залповый парогазовый выброс через патрубок 10 и далее аэратор 5 подают на барботаж в бак аппарата 2 с раствором (вода). Растворимые газы поглощаются в растворе периферийной части бака, а оставшиеся газы проходят цилиндрическую перфорированную юбку и поступают на смешение с воздухом, подаваемым непрерывно в аппарат через патрубок 11.
Полученные газы поступают в корпус 1, где в пенном слое, создаваемым струеобра-зователем 3, куда непрерывно подают раствор из центральной части бака 2, происходит доулавливание растворимых газов. Газы, содержащие остатки неуловленных веществ, идут на очистку в каталитический реактор (не показан) через патрубок 12.
При отсутствии залповых парогазовых выбросов барботажно-пенный аппарат работает в режиме десорбера. Раствор, содержащий уловленные вещества, из бака аппарата 2 поступает в пенный слой скруббера, где происходит отдувка паров. За счет работы пенного скруббера и перфорированной юбки 6 в баке 2 происходит перемешивание раствора между центральной и периферийной частями.
Работа барботажно-пенного аппарата иллюстрируется следующим примером.
Залповый парогазовый выброс (расход газов в течение 15 мин снижают с 1,2 до 0,01 м /час), содержащий 170,0 г/м оксида этилена, остальное – диоксид углерода, подают на барботаж в бак барботажно-пенного аппарата с высотой барботажной зоны 1,1 м. В качестве поглотительного раствора используют воду при температуре 10°С. При барботаже улавливается 90-95% поданного в аппарат оксида этилена.
Далее частично очищенные газы проходят цилиндрическую перфорированную юбку, смешиваются с воздухом и поступают в пенно-струйный скруббер производительностью 1,8 м3/час. В пенном слое высотой 0,7 м улавливается 80-85% оставшегося оксида этилена. На выходе барботажно-пенного аппарата максимальная концентрация оксида этилена не превышает 1,5-2 г/м3.
По окончанию залпового парогазового выброса осуществляют отдувку уловленного оксида этилена в пенном слое пенного скруббера. Для ускорения отдувки оксида этилена на вход водяного насоса подсасывают 1-1,5 л/час воздуха. За 4 часа отдувки концентрация паров оксида этилена в газах на выходе барботажно-пенного аппарата снижается до 0,01-0,02 г/м3. После этого барботажно-пенный аппарат готов к сглаживанию (демпфированию) очередного залпового парогазового выброса.
Таким образом, в барботажно-пенном аппарате осуществляют сглаживанием колебаний концентраций паров оксида этилена со 170,0 до 1,5-2 г/м3.
При обработке залпового выброса стерилизующего газа по прототипу максимальная концентрация паров оксида этилена достигает 15-20 г/м3, что потребует разбавления газов перед последующей каталитической очисткой.
Формула изобретения
1. Барботажно-пенный аппарат, содержащий цилиндрический бак с раствором, патрубки ввода и вывода газов, патрубки отбора и подачи раствора, аэратор, установленный в нижней части бака, отличающийся тем, что он содержит водяной насос и корпус, установленный на баке и снабженный переходом, выполненным в виде цилиндрической перфорированной юбки и погруженным в бак, а бак снабжен установленным на нем дополнительным патрубком подачи газов, при этом патрубок отбора раствора установлен на дне бака.
2. Аппарат по п.1, отличающийся тем, что цилиндрическая перфорированная юбка достигает дна бака и разделяет бак на центральную и периферийную части.
3. Аппарат по п.1, отличающийся тем, что аэратор выполнен в виде полого тора с отверстиями, направленными вниз, и установлен в периферийной части бака.
4. Аппарат по п.1, отличающийся тем, что на входе водяного насоса установлен патрубок подсоса воздуха.
РИСУНКИ
|