|
|
(21), (22) Заявка: 2006128118/12, 02.08.2006
(24) Дата начала отсчета срока действия патента:
02.08.2006
(46) Опубликовано: 20.02.2008
(56) Список документов, цитированных в отчете о поиске:
МЕЛЬНИКОВ С.В. Механизация и автоматизация животноводческих ферм. – Л.: Колос, 1978, с.364-365. SU 1662454 A1, 15.07.1991. SU 1155218 A, 15.05.1985. SU 957806 A, 15.09.1982. DE 2618942 A1, 17.11.1977.
Адрес для переписки:
142134, Московская обл., Подольский р-н, п/о Знамя Октября, 31, ВНИИМЖ, патентный отдел
|
(72) Автор(ы):
Повалихин Николай Васильевич (RU), Скоркин Владимир Кузьмич (RU), Иванов Юрий Анатольевич (RU), Резник Евгений Иванович (RU)
(73) Патентообладатель(и):
Государственное научное учреждение Всероссийский научно-исследовательский и проектно-технологический институт механизации животноводства (RU)
|
(54) СПОСОБ РЕГУЛИРОВАНИЯ НОРМЫ ВЫДАЧИ СТЕБЕЛЬЧАТЫХ КОРМОВ В МОБИЛЬНОМ КОРМОРАЗДАТЧИКЕ И УСТРОЙСТВО ДЛЯ ЕГО ОСУЩЕСТВЛЕНИЯ
(57) Реферат:
Изобретение относится к области механизации животноводства. Способ включает изменение скорости движения монолита корма в зону выгрузки посредством подающих транспортеров. Норму выдачи регулируют увеличением или ослаблением степени взаимодействия монолита корма с подающими транспортерами. Монолит корма поднимают над транспортерами или сближают с ними. Устройство содержит установленный на ходовой части бункер, размещенные на дне бункера подающие транспортеры, отделители корма, выгрузной транспортер. В днище бункера выполнены продольные щелевые пазы, а под днищем установлены продольные пластины. Пластины закреплены с возможностью перемещения в вертикальной плоскости. Подающие транспортеры размещены между щелевыми пазами. Обеспечивается снижение динамических нагрузок, повышается равномерность выдачи корма и надежность работы устройства. 2 н. и 1 з.п. ф-лы, 3 ил.
Изобретение относится к области сельского хозяйства, в частности к способам и устройствам для регулирования нормы выдачи стебельчатых кормов в мобильных кормораздатчиках.
Известен способ регулирования нормы выдачи кормов изменением скорости подающего транспортера кормораздатчика путем переключения ряда шестеренчатых передач с одной ступени на другую (см. а.с. СССР №1591897, кл. А01К 5/00, 1988 г.).
Предложенный способ, изложенный в описании устройства и его работы, не решает задачи бесступенчатого регулирования нормы выдачи корма.
Конструкция приведенного устройства усложнена наличием ряда ступеней шестеренчатых зацеплений и наличием сложного механизма их переключения.
Наиболее близким к предлагаемому по конструктивному оформлению и технической сущности является кормораздатчик, содержащий установленный на ходовой части бункер, размещенные на дне бункера подающие транспортеры, отделители корма, выгрузной транспортер (см. С.В.Мельников. Механизация и автоматизация животноводческих ферм. – С.364, 365 Л.: Колос, 1978 г.).
В приведенном устройстве (КТУ-10) предусмотрен цикличный характер движения подающих транспортеров, при этом скорость транспортеров и норма выдачи корма задается храповым механизмом до начала раздачи.
В приведенном кормораздатчике цикличный характер движения подающих транспортеров приводит к повышенным динамическим нагрузкам на механизмы и к интенсивному их износу. Кроме того, при обвале монолита корма в конце раздачи резко изменяется норма выдачи, что приводит к снижению показателя равномерности раздачи кормов в кормушку, а технических средств для выравнивания нормы выдачи корма по ходу движения кормораздатчика не предусмотрено.
Задачей изобретения является обеспечение бесступенчатого регулирования на ходу нормы выдачи корма, снижение динамических нагрузок на механизмы, повышения показателя равномерности выдачи корма на протяжении всего цикла раздачи.
Поставленная задача решается тем, что в способе регулирования нормы выдачи стебельчатых кормов в мобильном кормораздатчике, включающем изменение скорости движения монолита корма в зону выгрузки посредством подающих транспортеров, норму выдачи регулируют увеличением или ослаблением степени взаимодействия связи монолита корма с подающими транспортерами, при этом монолит корма поднимают над транспортерами или сближают с ними.
В устройстве для осуществления способа регулирования нормы выдачи стебельчатых кормов, в мобильном кормораздатчике, содержащем установленный на ходовой части бункер, размещенные на дне бункера подающие транспортеры, отделители корма, выгрузной транспортер, в днище бункера выполнены продольные щелевые пазы, а под днищем установлены продольные пластины, сориентированные со щелевыми пазами, при этом пластины закреплены с возможностью перемещения в вертикальной плоскости, а подающие транспортеры размещены между щелевыми пазами, продольные пластины связаны между собой перемычками.
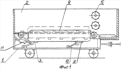
На фиг.1 изображен кормораздатчик – продольный разрез, на фиг.2 – то же вид, сверху, на фиг.3 – разрез по А-А на фиг.2.
Кормораздатчик содержит смонтированный на раме ходовой части 1 бункер 2, на днище 3 которого размещены подающие транспортеры 4, отделители корма 5 (битеры), выгрузной транспортер 6.
В днище 3 бункера проделаны продольные щелевые пазы 7, в которых размещены пластины 8, соединенные поперечными перемычками 9. К перемычкам 9 шарнирно присоединены шатуны 10, противоположные концы которых шарнирно соединены с рамой ходовой части 1 кормораздатчика. Таким образом, совокупность вышеперечисленных звеньев образует четырехшарнирный механизм.
К поперечной перемычке 9 и к раме ходовой части присоединен гидроцилиндр 11.
Управление гидроцилиндром выведено в кабину тракториста. Подающие транспортеры 4 размещены между щелевыми пазами 7 и кинематически связаны с ВОМ трактора. Транспортеры содержат ведущие 12, ведомые 13 звездочки, планки 14, закрепленные на тяговом элементе. Звездочки объединены общими валами. Линейная скорость транспортеров 4 конструкцией кормораздатчика предусматривается такой, чтобы обеспечить максимальную или близкую к ней норму выдачи корма в случае полного взаимодействия транспортеров с кормовым монолитом.
Кормораздатчик работает следующим образом.
Подлежащий раздаче стебельчатый корм загружается в бункер 2 известными средствами. При движении кормораздатчика вдоль кормушек корм подающими транспортерами 4 перемещается в зону выгрузки, где битеры отделяют корм от монолита и направляют на выгрузной транспортер 6.
Норма выдачи корма зависит от скорости перемещения монолита вдоль бункера, т.е. от количества корма, поступающего к битерам в единицу времени. В предлагаемом кормораздатчике скорость перемещения корма регулируется путем изменения положения продольных пластин 8 относительно поверхности днища бункера 3 и поперечных планок 14. Для снижения нормы выдачи корма гидроцилиндр 11 по команде из кабины тракториста перемещает шатуны 10 в положение, близкое к вертикальному, при этом продольные пластины 8 поднимаются в щелевых пазах над днищем бункера, упрутся в монолит и ослабят степень его взаимодействия с транспортерами 4, в результате скорость перемещения монолита корма снижается.
Увеличение нормы выдачи корма достигается путем перемещения гидроцилиндром 11 шатунов 10 в положение, близкое к горизонтальному, при этом продольные пластины 8 утапливаются в пазах 7, а степень взаимодействия монолита корма с транспортерами 4 повышается, в результате скорость движения корма возрастает, следовательно, возрастает и норма выдачи корма.
Таким образом, выполнение в днище бункера кормораздатчика ряда продольных щелевых пазов, размещение между пазами подающих транспортеров и размещение под днищем бункера ряда сориентированных с пазами пластин, закрепленных с возможностью их вертикального перемещения гидроцилиндром, позволяет бесступенчато в широком диапазоне регулировать норму выдачи корма по ходу движения кормораздатчика вдоль кормушек при равномерном движении подающих транспортеров. Кроме того, укороченные поперечные планки транспортеров резко снижают количество отказов в работе кормораздатчика по причине поломки планок при огибании звездочек.
Формула изобретения
1. Способ регулирования нормы выдачи стебельчатых кормов в мобильном кормораздатчике, включающий изменение скорости движения монолита корма в зону выгрузки посредством подающих транспортеров, отличающийся тем, что норму выдачи регулируют увеличением или ослаблением степени взаимодействия монолита корма с подающими транспортерами, при этом монолит корма поднимают над транспортерами или сближают с ними.
2. Устройство для регулирования нормы выдачи стебельчатых кормов в мобильном кормораздатчике, содержащее установленный на ходовой части бункер, размещенные на дне бункера подающие транспортеры, отделители корма, выгрузной транспортер, отличающееся тем, что в днище бункера выполнены продольные щелевые пазы, а под днищем установлены продольные пластины, сориентированные с щелевыми пазами, при этом пластины закреплены с возможностью перемещения в вертикальной плоскости, а подающие транспортеры размещены между щелевыми пазами.
3. Устройство для регулирования нормы выдачи стебельчатых кормов в мобильном кормораздатчике по п.2, отличающееся тем, что продольные пластины соединены поперечными перемычками.
РИСУНКИ
|
|