|
|
(21), (22) Заявка: 2006122192/09, 21.06.2006
(24) Дата начала отсчета срока действия патента:
21.06.2006
(46) Опубликовано: 10.02.2008
(56) Список документов, цитированных в отчете о поиске:
СУЧКОВ O.K. Технология конструкционных материалов. – М.: Колос, 1978, С.231. Технология конструкционных материалов. Под ред. ПРЕЙСА Г.А. – Киев: Вища школа, 1984, с.141-142. SU 1688291 А1, 30.10.1991. SU 1737526 A1, 30.05.1992. SU 980172 A, 10.12.1982. SU 792295 A, 30.12.1980. SU 1820418 A1, 07.06.1993. JP 57071108 А, 01.05.1982. JP 59215703 А, 05.12.1984.
Адрес для переписки:
350044, г.Краснодар, ул. Калинина, 13, КГАУ, ПИО
|
(72) Автор(ы):
Тарасенко Борис Федорович (RU), Ачмиз Аскер Исмаилович (RU), Богатырев Николай Иванович (RU), Великий Александр Игоревич (RU)
(73) Патентообладатель(и):
Федеральное государственное образовательное учреждение высшего профессионального образования Кубанский государственный аграрный университет (RU)
|
(54) УСТРОЙСТВО ДЛЯ ПИТАНИЯ СВАРОЧНОЙ ДУГИ
(57) Реферат:
Изобретение относится к электротехнике, в частности к устройствам для питания сварочной дуги. Технический результат состоит в снижении шума, металлоемкости, повышении эксплуатационной надежности, увеличении диапазона регулирования сварочного тока и уменьшении массогабаритиных показателей. Магнитопровод выполнен в виде двух полых П-образных изготовленных из жаростойкой пластмассы трубчатых половин, вставленных друг в друга. Они заполнены смесью масла и ферромагнитного порошка с высокой коэрцетивной силой с консистенцией, обеспечивающей подвижность жидкого магнитопровода. Одна из половин снабжена патрубком с краном. На другой половине расположены обмотки. В месте стыка П-образных половин установлены сальники. 2 ил.
Изобретение относится к области электромашиностроения, в частности к устройствам для питания сварочной дуги.
Известен сварочный трансформатор (см. учебник Технология конструкционных материалов под редакцией Г.А.Прейса. К., головное издательство издательского объединения «Вища школа», 1984, с.141-142), включающий два О-образных железных магнитопровода, при этом каждый магнитопровод выполнен в виде пакета пластин, изготовленных из магнитомягкого материала (электротехнической стали). Первый магнитопровод оснащен первичной и вторичной обмотками, а второй магнитопровод – дроссельной обмоткой, включенной последовательно в цепь вторичной обмотки. Ток в трансформаторе этого типа регулируется изменением величины самоиндукции дросселя за счет увеличения или уменьшения воздушного зазора между подвижной и неподвижной частями, которыми оборудован второй магнитопровод.
Недостатками данного устройства являются: высокая металлоемкость, а также то, что его конструкция представлена двумя раздельными механизмами, что ухудшает портативность, высокий шум при работе, низкий диапазон регулирования, низкая эксплуатационная надежность, заключающаяся в ухудшении рабочих свойств трансформатора при внешних воздействиях на сердечники, которые неизбежны при транспортировке.
Наиболее близким по технической сущности и достигаемому экономическому эффекту является сварочный трансформатор типа ТС-300 (500), ТД-300 (500) (см. О.К.Сучков. Технология конструкционных материалов. М., «Колос», 1978, с.231), включающий О-образный магнитопровод, представленный пакетом магнитомягких стальных пластин, оснащенный первичной и вторичной обмотками, при этом вторичная выполнена подвижной при помощи механизма передвижения. Регулировка сварочного тока достигается за счет сближения или удаления обмоток друг от друга.
К недостаткам данного устройства относятся: высокий шум, металлоемкость, то, что сердечник не должен подвергаться ударам, невысокий диапазон регулирования, большие габариты.
Техническим решением задачи является снижение шума, металлоемкости, повышение эксплуатационной надежности, увеличение диапазона регулирования сварочного тока и уменьшение массогабаритиных показателей.
Техническое решение задачи осуществляется тем, что в известном устройстве, включающем замкнутый магнитопровод, с первичной и вторичной обмотками, и механизм перемещения, согласно изобретению магнитопровод выполнен в виде двух полых П-образных изготовленных из жаростойкой пластмассы трубчатых половин, вставленных друг в друга и заполненных смесью масла и ферромагнитного порошка с высокой коэрцетивной силой, с консистенцией, обеспечивающей подвижность жидкого магнитопровода, при этом одна из половин снабжена патрубком с краном, а на второй расположены обмотки, а в месте стыка половин установлены сальники.
Новым в данном устройстве является то, что магнитопровод выполнен в виде жидкого магнитомягкого материала, представленного смесью масла и ферромагнитного порошка, О-образную форму магнитопровода обеспечивает выполненная в виде двух пустотелых трубных П-образных, изготовленных из маслостойких и жаростойких пластмасс, половинок, оснащенных сальниками и соединенных по принципу труба в трубе, одна из П-образных половинок оснащена патрубком с краном. Консистенция смеси масла и ферромагнитного порошка должна обеспечивать подвижность жидкого магнитопровода.
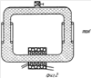
Сущность изобретения поясняется чертежами, где на фиг.1 – устройство для питания сварочной дуги, на фиг.2 – то же, с измененным сечением магнитопровода.
Устройство для питания сварочной дуги состоит из оболочки, выполненной в виде двух пустотелых трубных П-образных, изготовленных из маслостойких и жаростойких пластмасс, половинок 1 и 2. Половинки 1 и 2 вставлены друг в друга по принципу труба в трубе. Половинки 1 и 2 оснащены сальниками 3, 4. На половинке 2 намотана первичная 5 и вторичная 6 обмотки. Половинка 1 в верхней части имеет патрубок 7 с краном 8. Через патрубок 7 и кран 8 оболочка заполнена смесью масла (растительного или минерального) с ферромагнитным порошком с высокой коэрцетивной силой, выполняющей роль магнитопровода 9. Консистенция смеси масла и ферромагнитного порошка обеспечивает подвижность жидкого магнитопровода 9.
Устройство работает следующим образом. При подаче переменного напряжения на первичную обмотку 5 во вторичной обмотке 6 напряжение снижается до напряжения холостого хода 60-80 В. Сварочный ток регулируется за счет уменьшения поперечного сечения магнитопровода 9 в верхней половинке 1 П-образной оболочки, в процессе ее выдвижения из нижней половинки 2. При регулировке сварочного тока необходимо открывать кран 8 на патрубке 7.
Формула изобретения
Устройство для питания сварочной дуги, включающее замкнутый магнитопровод с первичной и вторичной обмотками и механизм перемещения, отличающееся тем, что магнитопровод выполнен в виде двух полых П-образных, изготовленных из жаростойкой пластмассы трубчатых половин, вставленных друг в друга и заполненных смесью масла и ферромагнитного порошка с высокой коэрцитивной силой, с консистенцией, обеспечивающей подвижность жидкого магнитопровода, при этом одна из половин снабжена патрубком с краном, на второй расположены обмотки, а в месте стыка половин установлены сальники.
РИСУНКИ
MM4A – Досрочное прекращение действия патента СССР или патента Российской Федерации на изобретение из-за неуплаты в установленный срок пошлины за поддержание патента в силе
Дата прекращения действия патента: 22.06.2008
Извещение опубликовано: 20.03.2010 БИ: 08/2010
|
|