|
|
(21), (22) Заявка: 2006136766/28, 16.10.2006
(24) Дата начала отсчета срока действия патента:
16.10.2006
(46) Опубликовано: 10.02.2008
(56) Список документов, цитированных в отчете о поиске:
RU 2265816 С2, 10.12.2005. RU 2207512 C1, 27.06.2003. US 5532587 A, 02.07.1996. GB 2188156 A, 23.09.1987.
Адрес для переписки:
410086, г.Саратов, а/я 1271, ЗАО “Газприборавтоматикасервис”
|
(72) Автор(ы):
Синев Андрей Иванович (RU), Плотников Петр Колестратович (RU), Никишин Владимир Борисович (RU), Чеботаревский Юрий Викторович (RU), Чигирев Петр Григорьевич (RU)
(73) Патентообладатель(и):
Закрытое акционерное общество “Газприборавтоматикасервис” (RU), Государственное образовательное учреждение высшего образования “Саратовский государственный технический университет” (RU)
|
(54) УСТРОЙСТВО ДЛЯ ОПРЕДЕЛЕНИЯ РАССТОЯНИЯ, ПРОЙДЕННОГО ВНУТРИТРУБНЫМ СНАРЯДОМ-ДЕФЕКТОСКОПОМ С ОДОМЕТРАМИ
(57) Реферат:
Изобретение относится к области неразрушающего контроля нефтегазопроводов и может быть использовано для целей определения расстояния, пройденного внутритрубным снарядом-дефектоскопом. Сущность изобретения состоит в том, что устройство для определения расстояния, пройденного внутритрубным снарядом-дефектоскопом, содержит являющийся магнитопроводом цилиндрический герметичный контейнер, расположенные на нем в передней и задней частях полюсы постоянного магнита, между этими полюсами – щетки-магнитопроводы, проводники которых ориентированы по радиальным направлениям цилиндрического контейнера, и опорные элементы в виде эластичных манжет с колесами, установленные за пределами полюсов магнита, расположенный по окружности цилиндрического контейнера концентрический ряд ластов с пластинками-накладками, размещенных между полюсами постоянного магнита, в каждом из ластов вмонтирован герметично дефектоскопический датчик, предназначенный для измерения индукции магнитного поля трубопровода, с токоведущими проводниками, внутри контейнера размещен блок электроники, содержащий регистрирующую аппаратуру, а также блок источников электрического питания, в задней части контейнера размещены колесные одометры, при этом введены дополнительно матрицы магниточувствительных датчиков, микросборки их электроники, в состав блока электроники дополнительно введены мультиплексор, аналого-цифровой преобразователь, компьютер и флэш-память, при этом каждая матрица совмещена с соответствующим дефектоскопическим датчиком, вмонтирована в ласт, причем отдельная матрица расположена так, что ее плоскость перпендикулярна радиусу цилиндрического контейнера, а три оси магнитной чувствительности каждого магниточувствительного датчика расположены таким образом, что одна направлена вдоль радиуса контейнера, вторая – вдоль продольной оси контейнера, а третья – по касательной к окружности, в которой расположены ласты, при этом каждый ласт выполнен из полиуретана, герметизирующего матрицу магниточувствительных датчиков совместно с микросборкой электроники и токоведущими проводниками, кроме того, выходы каждого магниточувствительного датчика соединены через микросборку электроники с соответствующими входами мультиплексора, выходы которого через аналого-цифровой преобразователь соединены со входами компьютера, выходы компьютера, предназначенного для выработки информации по алгоритмам определения пройденного внутритрубным снарядом дефектоскопом расстояния, со входами флэш-памяти, предназначенной для записи информации в течение времени работы внутритрубного снаряда-дефектоскопа, а ее выходы являются выходами блока электроники и устройства в целом. Технический результат изобретения состоит в повышении точности определения пройденного внутритрубным снарядом-дефектоскопом расстояния. 9 ил.
Изобретение относится к области неразрушающего контроля нефтегазопроводов и может быть использовано для целей бесконтактного, с помощью матриц магниточувствительных датчиков, определения расстояния, пройденного внутритрубным снарядом-дефектоскопом (ВСД). Оно может быть использовано и для целей дублирования измерения расстояния, производимых посредством колесного одометра.
Известен бесконтактный измеритель расстояний [1], содержащий двухканальную проекционную систему с базовым расстоянием между объективами каналов, устройство содержит осветительный канал для формирования зондирующей световой линии на поверхности объекта, двухкоординатные приборы с зарядовой связью, или, сокращенно – ПЗС-матрицы, расположенные на фиксированных расстояниях от объективов, по одному направлению каждой из которых измеряются координаты точек объекта вдоль зондирующей световой линии, а по перпендикулярному направлению – параллаксы, и встроенный контроллер для выработки координат энергетических центров изображений на ПЗС-матрицах точек объекта, освещаемых световой линией, и для вычисления по значениям этих координат значений дальности до освещенных точек объекта.
Недостатком данного изобретения является то, что с его помощью могут быть определены только малые по величине расстояния.
Известно устройство для путевого обследования внутренней поверхности трубопроводов [2]. Это устройство содержит электронные блоки, размещенные в герметичном контейнере, устройство перемещения контейнера по трубопроводу, датчики регистрации местонахождения, формирователь магнитного потока в исследуемом участке трубопровода, дополнительный измерительный контейнер, прозрачный со стороны, обращенной к стенке трубопровода, расположенный на держателе, шарнирно соединенном через подвижный рычаг с герметичным контейнером. В герметичном контейнере содержится источник света, оптически связанный через оптическое волокно с дополнительным герметичным контейнером, в котором последовательно по ходу светового пучка расположены поляризатор, полусферическая линза, оптическая система формирования изображения. Полусферическая линза расположена на прозрачной грани дополнительного герметичного контейнера с внутренней стороны. С наружной стороны прозрачной грани дополнительного контейнера расположена пленка магнитооптического материала с многослойным диэлектрическим покрытием. Пленка магнитооптического материала расположена на поверхности стенки трубопровода в области сформированного магнитного потока. Торец оптического волокна расположен в фокальной плоскости полусферической линзы, торец световодного жгута расположен в области изображения магнитооптического материала. Многослойное диэлектрическое покрытие на магнитооптическом материале выполнено из чередующихся четвертьволновых слоев диэлектрика с различным показателем преломления, свет освещает границы раздела слоев диэлектрика под углом Брюстера, поляризация излучения ориентирована в плоскости падения света. Устройство для путевого обследования внутренней поверхности трубопроводов позволяет обеспечить заданную надежность определения дефектных участков, могущих привести к аварии трубопровода. Устройство не только определяет дефектный участок стенки трубопровода, но также позволяет получить изображение дефекта и пройденное расстояние.
Недостатком этого устройства является то, что получаемые изображения дефектов имеют существенные размеры, они встречаются на поверхности внутренней стенки трубопровода редко и случайно, поэтому погрешность определения перемещения велика, и данное устройство напрямую для измерения пройденного ВСД расстояния использовать невозможно.
Известен одометр для внутритрубного снаряда-дефектоскопа [3], закрепленный на его герметичном контейнере, содержащий блок электроники, источник света, оптически связанный через оптическое волокно с системой формирования изображения, при этом блок электроники, источник света в виде светодиода инфракрасного диапазона излучения и система формирования изображения в виде волоконно-оптического жгута, двух его ответвителей и ПЗС-матрицы встроены герметично внутрь упругого полиуретанового основания, прикрепленного снаружи к герметичному контейнеру, на упругом основании закреплена пластинка-накладка из полиуретана, в соосное отверстие, выполненное в упругом основании и пластинке-накладке, герметично вставлен волоконно-оптический жгут, чувствительная площадка которого обращена к внутренней поверхности трубопровода и выполнена заподлицо с пластинкой-накладкой с возможностью плотного прилегания к стенке трубопровода, одна половина волокон жгута, выполненная в виде ответвителя, своим торцом через устройство оптического ввода света прижата к светодиоду инфракрасного диапазона излучения, а другая половина волокон, представляющая собой второй ответвитель волоконно-оптического жгута, своим торцом через другое устройство ввода света прижата к чувствительной площадке ПЗС-матрицы, в состав блока электроники введен контроллер ПЗС-матрицы для обработки информации по алгоритмам расчета расстояния, при этом светодиод инфракрасного диапазона излучения через транзистор-ключ соединен с управляющим выходом контроллера, к которому с помощью последовательного порта подключены управляющий вход и видеовыход ПЗС-матрицы.
Недостатком изобретения является повышение погрешности одометра при наличии жидкости, включения пыли, песка и других оптических помех.
Известен внутритрубный снаряд – дефектоскоп [4], т.е. устройство для определения не только дефектов в стальных стенках подземных трубопроводов, но и пройденного расстояния, содержащий являющийся магнитопроводом цилиндрический герметичный контейнер, расположенные на нем в передней и задней частях полюсы постоянного магнита, между его полюсами щетки-магнитопроводы, проводники которых ориентированы в радиальных направлениях контейнера, опорные элементы в виде эластичных манжет с колесами, установленные за пределами полюсов магнита, концентрический, расположенный по окружности контейнера ряд ластов с пластинками – накладками, размещенных между полюсами постоянного магнита, в каждой из ласт вмонтирован герметично дефектоскопический датчик, предназначенный для измерения индукции магнитного поля трубопровода, с токоведущими проводниками, внутри контейнера размещен блок электроники, содержащий регистрирующую аппаратуру, а также блок источников электрического питания, в задней части контейнера размещены колесные одометры. Конструктивно одометр представляет собой колесо, установленное в рычаге, который в свою очередь установлен на кронштейне контейнера внутритрубного снаряда-дефектоскопа. В колесе снаряда установлен датчик с встроенным датчиком Холла и магнитный диск, который конструктивно выполнен из двух металлических дисков и шести магнитов, размещенных между дисками и залитых эпоксидным компаундом. Металлические диски совмещены таким образом, что внутренние зубцы одного диска входят в пазы другого с определенным зазором, создавая 25 магнитных пар. Датчик Холла неподвижно связан с осью колеса одометра, а диск – с вращающимся колесом. При вращении колеса одометра с магнитным диском в датчике вырабатываются импульсы, поступающие в электронный блок по проводам, размещенным в соединителе, и далее в герметичный разъем. Пружина в кронштейне имеет фиксатор, который предназначен для удерживания одометра только в транспортном положении.
Это устройство принято в качестве прототипа [4].
Недостатком прототипа является то, что при наличии на участках трубопровода пыли, песка, жидкости, твердых включений, волнистости трубопровода возникают вибрации ВСД, изменяется коэффициент трения между колесом и трубой, появляется проскальзывание, в силу чего понижается точность определения расстояния ВСД.
Задачей настоящего изобретения является повышение точности определения расстояния ВСД.
Поставленная задача решается за счет того, что в устройство для определения расстояния, пройденного внутритрубным снарядом-дефектоскопом, содержащее являющийся магнитопроводом цилиндрический герметичный контейнер, расположенные на нем в передней и задней частях полюсы постоянного магнита, между этими полюсами щетки – магнитопроводы, проводники которых ориентированы по радиальным направлениям цилиндрического контейнера, и опорные элементы в виде эластичных манжет с колесами, установленные за пределами полюсов магнита, расположенный по окружности цилиндрического контейнера концентрический ряд ластов с пластинками – накладками, размещенных между полюсами постоянного магнита, в каждом из ластов вмонтирован герметично дефектоскопический датчик, предназначенный для измерения индукции магнитного поля трубопровода, с токоведущими проводниками, внутри контейнера размещен блок электроники, содержащий регистрирующую аппаратуру, а также блок источников электрического питания, в задней части контейнера размещены колесные одометры, введены дополнительно матрицы магниточувствительных датчиков, микросборки их электроники, в состав блока электроники введены дополнительно мультиплексор, аналого-цифровой преобразователь, компьютер и флэш-память, при этом каждая матрица совмещена с соответствующим дефектоскопическим датчиком, вмонтирована в ласт, причем отдельная матрица расположена так, что ее плоскость перпендикулярна радиусу цилиндрического контейнера, а три оси магнитной чувствительности каждого магниточувствительного датчика расположены таким образом, что одна направлена вдоль радиуса контейнера, вторая – вдоль продольной оси контейнера, а третья – по касательной к окружности, в которой расположены ласты, при этом каждый ласт выполнен из полиуретана, герметизирующего матрицу магниточувствительных датчиков совместно с микросборками электроники и токоведущими проводниками, кроме того, выходы каждого магниточувствительного датчика соединены через микросборку электроники с соответствующими входами мультиплексора, выходы которого через аналогово-цифровой преобразователь соединены со входами компьютера, выходы компьютера, предназначенного для выработки информации по алгоритмам определения пройденного внутритрубным снарядом-дефектоскопом расстояния, соединены со входами флэш-памяти, предназначенной для записи информации в течение времени работы внутритрубного снаряда-дефектоскопа, а ее выходы являются выходами блока электроники и устройства в целом.
Технический результат изобретения состоит во включении в состав устройства компьютера, матриц магниточувствительных датчиков с их микроскобками электроники, в повышении точности определения пройденного внутритрубным снарядом-дефектоскопом расстояния за счет применения матриц магниточувствительных датчиков и компьютера, функционирование которых не нарушается при наличии жидкости, пыли и других включений в трубопроводе.
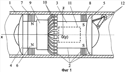
На фиг.1 изображен общий вид внутритрубного снаряда-дефектоскопа (ВСД) с размещенными на нем магнитными одометрами; на фиг.2 изображена конструктивная схема магнитного одометра; на фиг.3 изображена матрица магниточувствителных датчиков; на фиг.4 представлена функциональная электрическая схема магниточувствительного датчика; на фиг.5 – его эквивалентная схема; на фиг.6 представлена функциональная электрическая схема магнитных одометров; на фиг.7 изображена экспериментальная матрица; на фиг.8, 9 изображены эпюры напряжений, записанные при экспериментах.
На фиг.1 позицией 1 обозначена часть ферромагнитного трубопровода. Позицией 2 изображен внутритрубный снаряд-дефектоскоп. В его состав входит герметичный контейнер 3 с эластичными манжетами 4 и 5 из полиуретана в передней и задней частях контейнера 3, выполненными для центрирования снаряда ВСД 2 в трубопроводе 1. На контейнере 3 закреплен постоянный магнит 6 с полюсами N и S, к которым прикреплены щетки-магнитопроводы 7 и 8 по радиальным направлениям. Утолщенная часть 9 контейнера 3 предназначена для крепления к ним дефектоскопических датчиков 10. Между полюсами N и S магнита 6 закреплен ряд дефектоскопических датчиков 10, предназначенных для измерения напряженностей магнитного поля, каждый из которых представляет собой полиуретановую пружинящую пластину, в которую залита также матрица магниточувствительных датчиков для измерения индукции (напряженности) магнитного поля. Наличие постоянного магнита 6 и ряда датчиков 10 магнитного поля свидетельствует о том, что ВСД 2 является как коррозионным снарядом, определяющим нарушение материала в стенках трубы, так и устройством определения его расстояния. Внутри контейнера 3 установлен блок электроники 11 и блок источников электрического питания (не показан). В задней части ВСД 2 закреплен колесный одометр 12 [1]. С контейнером 3 жестко связана система координат OXYZ, где ОХ – продольная ось, оси ОУ и OZ – нормальная и поперечная.
Конструктивная схема отдельного узла устройства определения расстояния, совмещенного с дефектоскопическим датчиком, входящего в ряд 10, представлена на фиг.2. Он состоит из матрицы 13 магниточувствительных датчиков (МД), ряды которых распложены вдоль и поперек оси ОХ (фиг.1) ВСД, оси магнитной чувствительности ориентированы по осями OX, OY, OZ. Каждый элемент матрицы 13 МД представляет собой, например, датчик Холла или магниторезистивный датчик. Позицией 14 обозначена микросборка электроники матрицы 13 МД [5]. Матрица 13 МД и микросборка ее электроники 14 залиты изоляционным материалом, например полиуретаном, заключены в упругую пластинку 15 (ласт [1]). Ласт 15 матрицы 13 МД с микросборкой электроники 14 закрыт со стороны трубы 1 пластинкой-накладкой 16, выполненной, например, из полиуретана. Благодаря этому матрица 13 МД и микросборка электроники 14 герметизированы от внешней среды. Токоведущие проводники 17 с помощью оплетки 18 обеспечивают подвод питающих напряжений и съем сигналов с матрицы 13 МД и микросборки электроники 14 без нарушения их герметичности.
Ласт 15 через посредство накладки 19 и винтов 20 крепится к уголку 21, в свою очередь установленному на герметичном контейнере 3 ВСД 2. Стяжка 22 является ограничителем раскрытия ласт 15 при извлечении ВСД 2 из трубы. На фиг.3 изображен вид АА на ласт 15, на котором представлено размещенние матрицы 13 магниточувствительных датчиков 23, на котором номером i (i=1,…,m) обозначена линейка магниточувствительных датчиков 24 вдоль оси OZ, связанной с ВСД 2, а номером j (j=1,…,n) – линейка магниточувствительных датчиков 23 вдоль оси ОХ, связанной с ВСД 2. В качестве матрицы 13 магниточувствительных датчиков 23 могут выступать либо готовые магниторезистивные матрицы, либо наборы одно-, двух- или трехкомпонентных чипов – магниторезистивных датчиков 23 (МД) [7] или датчиков Холла. Большую точность обеспечивают трехкомпонентные МД, например, НМС 1053 Honeywell [7] размеров 0,29·0,29·0,11 см, диапазон измерения ±6 Гс, питание =5 В, разрешение 120 мГс.
На фиг.4 изображена функциональная электрическая схема МД НМС 1053 [7], а на фиг.5 – эквивалентная его схема. Каждый МД представляет собой 4-элементный мост сопротивления из резисторов R для преобразования магнитных полей в дифференциальные выходные напряжения вдоль осей OX, OY, OZ: Ux ij, Uy ij, Uz ij, где нижние индексы i и j обозначают номер ряда МД вдоль осей OZ и ОХ соответственно. Rc и Rн – магниторезистивные перемычки смещения и набора повторной установки – металлизированные спирали управления, они служат для всех трех мостов.
На фиг.6 представлена функциональная электрическая схема включения набора МД 24 для одного ласта. Выходы Uх ij, Uy ij, Uz ij соединены с соответствующими входами мультиплексора 25, выходы его соединены со входами быстродействующего аналого-цифрового преобразователя (АЦП) 26, с выходов которого информация поступает на входы компьютера 27, а с его выходов – на входы постоянного запоминающего устройства 28, представляющего собой, например, флэш-память, выходы которого являются выходами блока электроники 11 и всего устройства в целом.
Аналогичные схемы имеют место для остальных узлов, размещаемых на ластах. Это нужно для повышения разрешающей способности и дублирования получаемой информации о неровностях внутренней поверхности трубопровода, проявляющихся в изменении компонентов (Вx, By, Вz) локальной магнитной индукции трубы. Компьютер 27 является бортовым и предназначен для выработки информации по алгоритмам определения пройденного ВСД расстояния. Эта информация записывается во флэш-память 28. Кроме того, блок электроники 11 предназначен для предварительной обработки по обычным алгоритмам и записи в другой размещенный в нем блок флэш-памяти информации о дефектах на поверхности трубопровода 1 [9]. В качестве дефектоскопических датчиков может быть использована вертикальная линейка магниточувствительных датчиков МДij, где, например, i=1, a j=1,2…m.
Работает устройство для определения расстояния, пройденного внутритрубным снарядом – дефектоскопом, следующим образом. После запасовки ВСД 2 в трубопровод 1 и подключения питающих напряжений от блока источников электрического питания ко всем дефектоскопическим датчикам ряда 10, к колесному одометру 12, к блоку электроники 11, ко всем матрицам 13 магниточувствительных датчиков 23, а также к другим электроэлементам, в т.ч. к мультиплексору 25, АЦП 26, компьютеру 27, запоминающему устройству 28. При подаче в трубопровод газа или нефтепродукта за счет разности давлений на манжетах 4 и 5 возникает движущая сила, которая толкает ВСД 2 и заставляет его перемещаться по трубопроводу. При этом за счет упругости пластин 15 дефектоскопические датчики с матрицами магниточувствительных матриц 13 МД прижимаются к поверхности трубопровода 1. Непосредственного контакта не происходит из-за наличия пластинок – накладок 16. Пластинки-накладки 16 обеспечивают сохранность матриц магниточувствительных датчиков 13 и микросборок электроники 14, а также токоведущих проводников 17 в оплетке 18, обеспечивая работоспособность в различных средах. С помощью накладки 19 и винтов 20 ласт 15 надежно удерживается на уголке 21 во всех эксплуатационных условиях. При неподвижном, а затем движущемся ВСД 2 за счет полюсов N – S магнита 6 через щетки-магнитопроводы 7 и 8 создаются замкнутые линии магнитной напряженности и производится намагничивание трубопровода 1. За счет наличия неровностей в виде отверстий, выступов, швов, коррозии и т.д. различные участки трубы имеют разную напряженность, так что каждый магниточувствительный датчик (МД) 23 преобразует изменяющиеся магнитные индукции в пропорциональные электрические напряжения вдоль продольной (ОХ), нормальной (OY) и поперечной осям (OZ), для каждой из ласт, равные:
  
где Kx ij; Ky ij; Кz ij – коэффициенты передачи МД, номер ij в магниточувствительном одометре 13 соответствует МД вдоль осей OX, OY, OZ соответственно; Вx ij; Вy ij; Вz ij – мгновенные значения локальных индукций вдоль соответствующих осей; Ux ij; Uy ij; Uz ij – мгновенные значения напряжений. Если на поверхности трубопровода 1 имеется пятно 29 (фиг.3), соответствующее сниженной по сравнению с остальной поверхностью матрицы 13 магниточувствительных датчиков 23 индукцией, то его границы определены соответствующими МД (заштрихованными), и изменение координат этих МД вдоль осей ОХ и OZ свидетельствует о перемещении ВСД 2. Изменения сигналов МД 23 в матрицах 13 всех ластов записываются во флэш-память 28 во все время движения ВСД. Именно, т.к. размеры МД 23 известны по всем направлениям (OX, OY, OZ), ( х, y, z), то по числу МД nx, nz, (nx= lx/ х; nz= lz/ z), пройденных пятном 29, определяется приращение расстояния ( lx, **lz), пройденного ВСД 2. Суммируя их вдоль осей ОХ и OZ, определяют расстояния ВСД 2 в целом. Для этого в компьютере 27 используются алгоритмы определения расстояний в продольном и поперечном направлениях (повороты) ВСД 2. Кроме того, в блоке электроники 11 по другим алгоритмам и программам во флэш-памяти записывается информация дефектоскопических датчиков о дефектах трубопровода 1.
Сопоставление приращений напряжении вдоль нормальной оси OY и осей ОХ (OZ) позволяет четче идентифицировать наличие границ поперечных, продольных или косых швов в трубопроводе.
В подтверждение работоспособности предложенного устройства были проведены экспериментальные исследования матрицы с размерами i=2; j=5. В качестве МД использованы датчики Холла SS495 (Honeywell), диапазон от -67 мТ до +67 мТ, размеры 4,06·3·1,6 мм, длина выводов 15 мм, напряжение питания 5 В, чувствительность 3,125 mV±0.125 mV/G [9].
Схема размещения ДХ на ласте а11…а15; а21…а25 изображена на фиг.6. Шаг датчиков вдоль оси ОХ=10 мм, расстояние между линейками 20 мм. Ласт с МД перемещался по внутренней поверхности трубы 1200 мм. Результаты записаны с помощью схемы обработки сигналов во флэш-память и представлены на фиг.8 и на фиг.9. Они подтверждают возможность определения расстояния с помощью матрицы магниточувствительных датчиков. Так, на фиг.8 обозначены пики напряжений для МД а11…а15. Нетрудно видеть, что они смещены друг относительно друга примерно на 1 см.
Аналогичное утверждение справедливо для пиков А, В, С, D и Е. Расстояние между группами этих пиков около 50 см, однако, между ними имеются еще малые всплески , , , , , находящиеся на расстоянии около 25 см. Кроме того, имеются еще другие ласты с матрицей 13 МД 23 (фиг.9), которые позволяют дробить 25 см на несколько участков и довести порог чувствительности примерно до 1 см.
Отметим, что эксперимент проводился на ненамагниченной трубе с датчиками Холла марки SS495. При намагниченной трубе при применении, например, МД НМС 1053 разрешение по расстоянию будет в несколько раз выше, что свидетельствует о возможности изготовления устройства для определения расстояния, пройденного ВСД, с необходимой дискретностью шага.
Источники информации
1. Патент РФ № 2124700, МПК G01B 11/00, 11/02. Авторы Ю.Е, Дукаревич и Е.Ю. Дукаревич. Бесконтактный измеритель расстояний, 1999 г.
2. Патент РФ № 2156917, МПК F17D 5/02. Устройство для путевого обследования внутренней поверхности трубопроводов, 2000 г.
3. Патент РФ № 2275598, БИ № 12, 2006. Одометр для внутритрубного снаряда-дефектоскопа. Авторы А.И. Синев, Ю.В. Чеботаревский, П.К. Плотников, В.Б. Никишин, Ю.А. Захаров.
4. А.С. СССР № 246667 от 1969 “Устройство для нахождения дефектов в стенке подземного трубопровода”. Авторы Бондаренко П.М. и др.
5. Бараночников М.Л. Микромагнитоэлектроника. – М.: Издательство ДМК. 2001 – 542 с.
7. Solid State Electronics Center www.magneticsensors.com (800) 323-8295.
9. Снаряд-дефектоскоп “Крот СК 1000”. Техническое описание и инструкция по эксплуатации. РНКШ 1010.00.00.00.00. ТО.000 “Газприборавтоматикасервис”, г.Саратов, 2003, 64 с.
Формула изобретения
Устройство для определения расстояния, пройденного внутритрубным снарядом-дефектоскопом, содержащее являющийся магнитопроводом цилиндрический герметичный контейнер, расположенные на нем в передней и задней частях полюсы постоянного магнита, между этими полюсами – щетки-магнитопроводы, проводники которых ориентированы по радиальным направлениям цилиндрического контейнера, и опорные элементы в виде эластичных манжет с колесами, установленные за пределами полюсов магнита, расположенный по окружности цилиндрического контейнера концентрический ряд ластов с пластинками-накладками, размещенных между полюсами постоянного магнита, в каждом из ластов вмонтирован герметично дефектоскопический датчик, предназначенный для измерения индукции магнитного поля трубопровода, с токоведущими проводниками, внутри контейнера размещен блок электроники, содержащий регистрирующую аппаратуру, а также блок источников электрического питания, в задней части контейнера размещены колесные одометры, отличающееся тем, что введены дополнительно матрицы магниточувствительных датчиков, микросборки их электроники, в состав блока электроники дополнительно введены мультиплексор, аналого-цифровой преобразователь, компьютер и флэш-память, при этом каждая матрица совмещена с соответствующим дефектоскопическим датчиком, вмонтирована в ласт, причем отдельная матрица расположена так, что ее плоскость перпендикулярна радиусу цилиндрического контейнера, а три оси магнитной чувствительности каждого магниточувствительного датчика расположены таким образом, что одна направлена вдоль радиуса контейнера, вторая – вдоль продольной оси контейнера, а третья – по касательной к окружности, в которой расположены ласты, при этом каждый ласт выполнен из полиуретана, герметизирующего матрицу магниточувствительных датчиков совместно с микросборкой электроники и токоведущими проводниками, кроме того, выходы каждого магниточувствительного датчика соединены через микросборку электроники с соответствующими входами мультиплексора, выходы которого через аналогово-цифровой преобразователь соединены со входами компьютера, выходы компьютера, предназначенного для выработки информации по алгоритмам определения пройденного внутритрубным снарядом-дефектоскопом расстояния, – со входами флэш-памяти, предназначенной для записи информации в течение времени работы внутритрубного снаряда-дефектоскопа, а ее выходы являются выходами блока электроники и устройства в целом.
РИСУНКИ
|
|