|
|
(21), (22) Заявка: 2004132029/28, 02.11.2004
(24) Дата начала отсчета срока действия патента:
02.11.2004
(43) Дата публикации заявки: 10.04.2006
(46) Опубликовано: 10.02.2008
(56) Список документов, цитированных в отчете о поиске:
Перепелицын О.П., Благодетелев С.В. Конструкция и технические характеристики тензопреобразователей на основе структур кремний на сапфире. Датчики и системы, 2002, спецвыпуск к №10. RU 2101688 C1, 10.01.1998. RU 2005295 C1, 30.12.1993. SU 1451566 A1, 15.01.1989. SU 1793283 A1, 07.02.1993.
Адрес для переписки:
454138, г.Челябинск, Комсомольский пр-кт, 29, ЗАО ПГ “Метран”, Т.А. Крымской
|
(72) Автор(ы):
Лучко Виктор Егорович (RU), Юровский Альберт Яковлевич (RU), Сычугов Евгений Михайлович (RU), Клитеник Олег Вадимович (RU)
(73) Патентообладатель(и):
Закрытое акционерное общество Промышленная группа “Метран” (RU), Закрытое акционерное общество Научно-производственный комплекс “ВИП” (RU)
|
(54) УСТРОЙСТВО ДЛЯ ИЗМЕРЕНИЯ ДАВЛЕНИЯ
(57) Реферат:
Использование: в тензорезисторных преобразователях давления, разрежения, разности давлений, расхода и уровня жидких и газообразных сред в электрический сигнал. Сущность: устройство содержит приемную и измерительную мембраны, жестко соединенные друг с другом, и тензочувствительный элемент. Приемная мембрана содержит внешнее толстое кольцо, тонкую кольцевую часть и толстый жесткий центр с отверстием по оси. Измерительная мембрана содержит толстое внешнее кольцо, которое жестко соединяется с внешним кольцом приемной мембраны, тонкую часть и жесткий центр, который имеет шток, жестко соединенный с приемной мембраной и служащий для передачи деформации от приемной мембраны на измерительную мембрану. Часть измерительной мембраны имеет вытянутую форму с отношением сторон не менее 3:1, образованную посредством двух боковых прорезей на глубину, превышающую толщину тонкой части мембраны. На плоской поверхности указанной части измерительной мембраны жестко закреплен тензочувствительный элемент прямоугольной формы, тензочувствительные резисторы которого располагаются на диэлектрической подложке из упругого материала в зонах перехода от тонкой части к толстой части как в зоне внешнего кольца, так и в зоне жесткого центра и имеют одинаковую ориентацию вдоль длинной стороны или перпендикулярно ей. Технический результат изобретения заключается в повышении чувствительности, минимизации габаритных размеров. 4 з.п. ф-лы, 5 ил.
Изобретение относится к области приборостроения, а именно к тензорезисторным устройствам для измерения давления, и может быть использовано преимущественно в преобразователях давления, разрежения, разности давления, расхода и уровня жидких и газообразных сред в электрический сигнал.
Известно устройство для измерения силы, описанное в а.с. СССР № SU 1458728 по кл. G01L 1/22.
Известное устройство выполнено в виде упругой мембраны и соосно прикрепленного к ее центру стержня. По наружному контуру мембрана закреплена неподвижно, а на поверхности диэлектрической подложки, жестко закрепленной на поверхности мембраны, по обе стороны контура сечения стержня размещены тензорезисторы, замкнутые в электрическую мостовую схему. Измеряемая сила прилагается к свободному концу стержня и перпендикулярно ему, при этом участки мембраны по обе стороны от контура сечения стержня изгибаются в противоположных направлениях, вызывая разнонаправленные деформации тензорезисторов.
Недостатком такого тензометрического устройства является сложность его использования в преобразователях давления, так как предварительно необходимо с помощью дополнительной мембраны преобразовать давление в силу, а затем измерить ее величину с помощью этого устройства, что приводит к значительному увеличению габаритов преобразователя, повышению погрешности измерений из-за использования разнородных материалов и двойного преобразования, увеличению температурной погрешности, что снижает точность и воспроизводимость измерений таким устройством.
Известно устройство для измерения давления, описанное в а.с СССР № SU 1719940 по кл. G01L 9/04.
Известное устройство содержит сапфировую подложку (квадратной формы), жестко соединенную с металлической мембраной, выточенной заодно с корпусом, и закрывающую практически полностью всю верхнюю поверхность мембраны. На поверхности подложки у контура мембраны расположены кремниевые тензорезисторы, ориентированные параллельно (два резистора) и перпендикулярно (тоже два резистора) радиусу мембраны и соединенные в мостовую схему.
Недостатком этого устройства является невысокая чувствительность к измеряемому давлению, что позволяет использовать его для измерения давлений более 4 МПа.
Наиболее близким по технической сущности к предлагаемому устройству и принятому в качестве прототипа является тензопреобразователь давления типа Д0,6, описанный в статье – Перепелицын О.П., Благодетелев С.В. Конструкция и технические характеристики тензопреобразователей на основе структур кремния на сапфире. Датчики и системы, 2002, спецвыпуск к № 10.
Известное устройство, чувствительное к давлению, представляет собой конструкцию, состоящую из корпуса, приемной и измерительной мембран, жестко соединенных друг с другом сварным соединением. На верхней поверхности измерительной мембраны жестко закреплена диэлектрическая подложка квадратной формы из монокристаллического материала с кремниевыми тензорезисторами. Верхняя измерительная мембрана имеет тонкую часть и жесткий центр с выступающим центральным штоком. Измерительная и приемная мембраны жестко соединены по внешнему толстому кольцу и через центральный шток, который передает деформацию от приемной мембраны на верхнюю измерительную мембрану.
К недостаткам прототипа следует отнести существенную жесткость верхней измерительной мембраны с закрепленной на ней диэлектрической подложкой с кремниевыми тензорезисторами, которая имеет модуль упругости в 3-4 выше, чем материал мембран, а также имеет технологические ограничения по уменьшению ее толщины, что не позволяет заметно повысить чувствительность без значительного увеличения диаметра приемной мембраны и площади ее тонкой части. Увеличение диаметра приводит к увеличению габаритных размеров датчиков, в которых используется тензопреобразователь, что в ряде случаев неприемлемо. Кроме того, имеются технологические сложности и ограничения в изготовлении приемной мембраны большого диаметра, имеющей унитарную конструкцию с толстым краевым ободком, компенсирующим паразитные деформации при закреплении, тонкой частью большой площади и толстым жестким центром. Кроме того, при увеличении диаметра приемной мембраны выше некоторого предела увеличения чувствительности не происходит, так как главным ограничителем становится жесткость верхней измерительной мембраны. Указанные недостатки прототипа не позволяют его использовать в высокочувствительных малогабаритных промышленных измерительных преобразователях давления, разрежения, разности давлений, расхода и уровня жидких и газообразных сред в электрический сигнал.
Целью заявляемого изобретения является значительное повышение чувствительности устройства для измерения давления на базе тензоэффекта, минимизация габаритных размеров, уменьшение влияния изменений температуры на выходной сигнал. Поставленная цель достигается тем, что в устройстве для измерения давления, содержащем приемную мембрану, имеющую толстое внешнее кольцо, тонкую часть в виде кольца, толстый жесткий центр, содержащий отверстие, измерительную мембрану, имеющую внешнее толстое кольцо, тонкую часть и жесткий центр, содержащий шток, служащий для передачи деформации от приемной мембраны на измерительную мембрану, и, по крайней мере, два тензорезистора, размещенные на диэлектрической подложке, жестко закрепленной на верхней поверхности измерительной мембраны, при этом измерительная и приемная мембраны жестко соединены по внешнему толстому кольцу и через шток, согласно изобретению, прямоугольная диэлектрическая подложка имеет ширину, близкую к ширине части измерительной мембраны, для которой отношение длины к ширине не менее 3:1, при этом указанная часть образована посредством двух симметрично расположенных боковых формирующих прорезей, выполненных в мембране на глубину, превышающую толщину тонкой части мембраны, а на прямоугольной диэлектрической подложке, закрепленной на измерительной мембране, в четырех областях перехода тонкой части в толстую часть, как вблизи внешнего кольца, так и вблизи жесткого центра, размещены четыре тензочувствительных резистора, имеющих одинаковую ориентацию вдоль длинной стороны или перпендикулярно ей. Кроме того, на диэлектрической подложке может быть дополнительно размещен не чувствительный к деформации и чувствительный к температуре резистор из гетероэпитаксиального кремния или другого материала. Кроме того, нижняя сторона приемной мембраны может быть жестко соединена с корпусом различной формы.
Кроме того, на внешнем толстом кольце измерительной мембраны может быть жестко закреплен коллектор из диэлектрического материала с металлическими контактами через переходное металлическое кольцо или непосредственно.
Кроме того, на коллекторе может быть жестко закреплена крышка из диэлектрического материала.
Благодаря тому, что диэлектрическая подложка, закрепленная на измерительной мембране, имеет прямоугольную форму и ширину, близкую к ширине части измерительной мембраны, для которой отношение длины к ширине не менее 3:1, и вследствие размещения на диэлектрической подложке четырех тензорезисторов, размещенных в зонах положительной деформации (вблизи жесткого центра) и отрицательной деформации (вблизи внешнего кольца), при воздействии измеряемого давления, ориентированных одинаково вдоль или перпендикулярно длинной стороне и соединенных в мостовую схему, в несколько раз уменьшается жесткость измерительной мембраны, а сопротивление всех тензорезисторов одновременно либо увеличивается, либо уменьшается при воздействии температурных деформаций растяжения или сжатия, компенсируя ее воздействие, таким образом в 3-6 раз повышается чувствительность устройства к измеряемому давлению, и одновременно достигается низкая чувствительность к температуре.
Дополнительным преимуществом устройства являются его небольшие габаритные размеры, технологичность при изготовлении, позволяющая с помощью простых токарно-фрезерных операций изготовить металлические мембраны, и с помощью простой оснастки обеспечить заданное положение монокристаллической диэлектрической подложки на поверхности измерительной мембраны. Заявляемое устройство для измерения давления обладает новизной в сравнении с прототипом, отличаясь от него такими существенными признаками, как выполнение диэлектрической подложки прямоугольной формы с шириной, близкой к ширине части измерительной мембраны, имеющей отношение сторон не менее 3:1, образованной посредством двух симметрично расположенных боковых формирующих прорезей, выполненных в мембране на глубину, превышающую толщину тонкой части мембраны, использование четырех тензорезисторов, размещенных в четырех областях перехода тонкой части в толстую часть как вблизи внешнего кольца, так и вблизи жесткого центра на прямоугольной диэлектрической подложке и ориентированных одинаково вдоль длинной стороны или перпендикулярно ей, обеспечивающих в совокупности увеличение чувствительности в 2-6 раз при сохранении тех же габаритных размеров, что и у прототипа, и низкого паразитного влияния температуры. Заявителю не известны технические решения, обладающие в совокупности указанными отличительными признаками, обеспечивающими достижение полученного результата, поэтому он считает, что заявляемое техническое решение соответствует критерию «изобретательский уровень».
Заявляемое устройство для измерения давления может найти широкое применение в измерительной технике, а потому соответствует критерию «промышленная применимость».
Заявляемое изобретение иллюстрируется чертежами, где представлены на
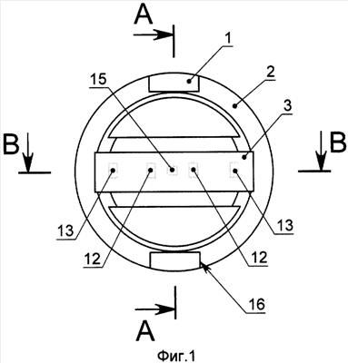
– фиг.1 – устройство для измерения давления – вид сверху;
– фиг.2 – разрез А-А со стороны торца;
– фиг.3 – разрез В-В со стороны торца;
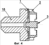
– фиг.4 – вариант 1 выполнения устройства для измерения давления – разрез вдоль оси;
– фиг.5 – вариант 2 выполнения устройства для измерения давления.
Устройство для измерения давления (фиг.1-3) содержит приемную мембрану 1, измерительную мембрану 2 и жестко закрепленную на ее верхней поверхности диэлектрическую подложку 3. При этом приемная мембрана 1 состоит из толстого внешнего кольца 4, тонкой части в виде кольца 5 и толстого жесткого центра 6 с отверстием, а измерительная мембрана 2 – из внешнего толстого кольца 7, тонкой части 8 с жестким центром 9 и штоком 10, образованной с помощью двух симметрично расположенных боковых формирующих прорезей 11, выполненных в мембране на глубину, превышающую толщину тонкой части мембраны. Диэлектрическая подложка 3 содержит тензорезисторы 12 и 13, одинаково сориентированные и расположенные вблизи зон перехода толстой части в тонкую часть, которые являются зонами наибольшей деформации при воздействии давления. Тензорезисторы 12 размещены в зонах, имеющих положительный знак деформации, а тензорезисторы 13 – в зонах с отрицательным знаком деформации при воздействии давления на приемную мембрану 1 в направлении измерительной мембраны 2, что при одинаковой ориентации тензорезисторов 12 и 13 приводит к изменению их сопротивлений с разными знаками, обеспечивая разбаланс мостовой схемы. Измерительная мембрана 2, которая также может иметь дополнительные вырезы 16, жестко соединяется с приемной мембраной 1 по внешнему кольцу, а шток измерительной мембраны 2 жестко и герметично соединяется с жестким центром приемной мембраны 1, например, при помощи лазерной или аргонно-дуговой сварки (соединение 17). Унитарная конструкция приемной и измерительной мембран выполнена из упругого, например титанового, сплава.
Диэлектрическая подложка 3 выполнена, например, из пластины искусственного лейкосапфира с определенной кристаллографической ориентацией, например (1012), на поверхности которой выращен слой кремния, из которого образованы тензорезисторы 12, ориентированные вдоль кристаллографических направлений (011) кремния, и возможно не чувствительный к деформации и чувствительный к температуре резистор 15, ориентированный в направлении минимальной тензочувствительности, например, под углом 45° к кристаллографическому направлению (011) кремния. Крепление сапфировой пластины 3 на поверхности измерительной мембраны из титанового сплава может быть выполнено при помощи высокотемпературной пайки серебросодержащим припоем, например ПСР-72, при этом высокий предел пластической деформации и малая толщина слоя припоя обеспечивают высокие метрологические характеристики устройства.
На фиг.4 показан вариант выполнения устройства для измерения давления, дополнительно содержащего корпус 18, который может иметь резьбу и различные фаски и вырезы для обеспечения возможности установки в различные измерительные устройства.
На фиг.5 показан вариант выполнения устройства для измерения давления, в котором дополнительно к предыдущему варианту имеется металлическая втулка 19, коллектор 20 из диэлектрического материала с металлическими контактами и крышка 21 из диэлектрического материала, закрывающая от внешнего воздействия измерительную мембрану и диэлектрическую подложку с кремниевыми тензорезисторами. Втулка 19, например, из титанового сплава, соединена с измерительной мембраной лазерной или аргонно-дуговой сваркой. Коллектор соединен с втулкой, например, клеем. Кремниевые тензорезисторы, соединенные в мостовую или другую схему, соединяются тонкими проводниками, например золотыми или алюминиевыми, с металлическими контактами коллектора.
Устройство для измерения давления работает следующим образом.
Измеряемое давление прикладывается к приемной мембране 1 в направлении измерительной мембраны 2, вызывая прогиб мембраны 1 в сторону измерительной мембраны 2. Смещение мембраны 1, пропорциональное приложенному давлению, через шток передается на измерительную мембрану 2 и вызывает ее изгиб, при этом тензорезисторы 12 и 13, включенные в мостовую или дифференциальную измерительную схему (не показано), изменят свои начальные сопротивления, причем тензорезисторы 12 (фиг.1) увеличивают, а тензорезисторы 13 (фиг.1) уменьшают свое сопротивление, вследствие чего на выходе измерительной схемы появится сигнал, пропорциональный величине измеряемого давления.
В местах перехода тонкой части мембран к толстой части имеются радиусы скругления, формирующие плавный экстремум изгибных напряжений на поверхности диэлектрической подложки в зонах расположения тензорезисторов, что повышает перегрузочную способность устройства для измерения давления, увеличивает его эксплуатационную надежность, долговременную стабильность и работоспособность.
Чувствительность устройства для измерения давления определяется внешним диаметром тонкой части, толщиной тонкой части, диаметром жесткого центра приемной мембраны 1, внешним диаметром тонкой части, толщиной тонкой части, диаметром жесткого центра, шириной прямоугольной измерительной мембраны 2, толщиной и шириной прямоугольной диэлектрической подложки 3, варьируя которые можно обеспечивать различную чувствительность.
Таким образом, как видно из описания устройства и его принципа действия, получено новое техническое решение, при котором обеспечивается высокая чувствительность выходного сигнала (в 3-6 раз выше, чем у прототипа при аналогичных габаритных размерах и диаметрах мембран), высокая точность измерений (0,05-0,15%), высокая линейность (нелинейность не более 0,25%), невысокий температурный коэффициент изменения начального сигнала при изменении температуры, высокая перегрузочная способность (более 2 раз), долговременная стабильность измерений, надежность работы в широком интервале температур (от минус 50 до плюс 120°С и более), компактность и простота конструкции. Устройство для измерения давления, выполненное согласно изобретению, целесообразно использовать для верхних пределов измерений давления в диапазоне 10-200 кПа в малогабаритных приборах давления, разрежения, разности давлений, расхода, уровня.
Формула изобретения
1. Устройство для измерения давления, содержащее приемную мембрану, имеющую толстое внешнее кольцо, тонкую часть в виде кольца, толстый жесткий центр, содержащий отверстие, измерительную мембрану, имеющую внешнее толстое кольцо, тонкую часть и жесткий центр, содержащий шток, служащий для передачи деформации от приемной мембраны на измерительную мембрану, и по крайней мере, два тензорезистора, размещенные на диэлектрической подложке, жестко закрепленной на верхней поверхности измерительной мембраны, при этом измерительная и приемная мембраны жестко соединены по внешнему толстому кольцу и через шток, отличающееся тем, что прямоугольная диэлектрическая подложка имеет ширину, близкую к ширине части измерительной мембраны, для которой отношение длины к ширине не менее 3:1, при этом указанная часть образована посредством двух симметрично расположенных боковых формирующих прорезей, выполненных в мембране на глубину, превышающую толщину тонкой части мембраны, а на прямоугольной диэлектрической подложке, закрепленной на измерительной мембране, в четырех областях перехода тонкой части в толстую часть, как вблизи внешнего кольца, так и вблизи жесткого центра, размещены четыре тензочувствительных резистора, имеющих одинаковую ориентацию вдоль длинной стороны или перпендикулярно ей.
2. Устройство по п.1, отличающееся тем, что на диэлектрической подложке дополнительно размещен нечувствительный к деформации и чувствительный к температуре резистор из гетероэпитаксиального кремния или другого материала.
3. Устройство по п.1, отличающееся тем, что нижняя сторона приемной мембраны жестко соединена с корпусом различной формы.
4. Устройство по п.1, отличающееся тем, что на внешнем толстом кольце измерительной мембраны жестко закреплен коллектор из диэлектрического материала с металлическими контактами через переходное металлическое кольцо или непосредственно.
5. Устройство по п.4, отличающееся тем, что на коллекторе жестко закреплена крышка из диэлектрического материала.
РИСУНКИ
|
|