|
|
(21), (22) Заявка: 2006136752/28, 16.10.2006
(24) Дата начала отсчета срока действия патента:
16.10.2006
(46) Опубликовано: 10.02.2008
(56) Список документов, цитированных в отчете о поиске:
RU 2219119 C1, 20.10.2003. RU 2169688 C1, 27.06.2001. RU 2190835 C2, 10.10.2002. FR 1146448 A, 12.11.1957. US 3804303 A, 16.04.1974.
Адрес для переписки:
443066, г.Самара, 1-й Безымянный пер., 18, СамГАПС, патентный отдел
|
(72) Автор(ы):
Третьяков Геннадий Михайлович (RU), Горюшинский Владимир Сергеевич (RU), Галанский Сергей Анатольевич (RU), Косяненко Александр Александрович (RU), Фархетдинов Рафаэль Сулейманович (RU)
(73) Патентообладатель(и):
Государственное образовательное учреждение высшего профессионального образования “Самарская государственная академия путей сообщения” (СамГАПС) (RU)
|
(54) УСТРОЙСТВО ДЛЯ ДОЗИРОВАННОГО ВЫПУСКА СВЯЗНЫХ ТРУДНОСЫПУЧИХ МАТЕРИАЛОВ
(57) Реферат:
Изобретение относится к области машиностроения и предназначено для дозированного выпуска связных трудносыпучих материалов. Сущность: устройство для дозированного выпуска связных трудносыпучих материалов включает корпус, выполненный с четырьмя попарно симметричными боковыми стенками и щелевым днищем, под которым установлена решетка, имеющая продольные щели, параллельные продольным щелям днища. Устройство снабжено сводоразрушителем с рабочими органами, проходящими через продольные щели щелевого днища для очистки его поверхности. Сводоразрушитель установлен на каретке с возможностью возвратно-поступательного перемещения вдоль щелей днища. Боковые стенки корпуса выполнены наклонными к его днищу, при этом длина двух размещенных друг напротив друга боковых стенок превышает длину двух других размещенных друг напротив друга боковых стенок. Более короткие боковые стенки корпуса расположены под острым углом к его днищу, а две другие, более длинные, боковые стенки корпуса – под тупым углом к его днищу. В нижней части более коротких боковых стенок корпуса выполнены щели, являющиеся продолжением продольных щелей днища. Сводоразрушитель снабжен дополнительными боковыми рабочими органами, установленными на каретке с возможностью перемещения вдоль более длинных наклонных боковых стенок корпуса с возможностью взаимодействия с ними. Технический результат: обеспечение высокой разрешающей способности выпуска связных трудносыпучих материалов и снижение энергоемкости процесса дозированного выпуска. 2 з.п. ф-лы, 2 ил.
Изобретение относится к области машиностроения, предназначено для дозированного выпуска связных трудносыпучих материалов и может быть использовано для транспортировки и хранения сыпучих материалов с последующей их дозированной выгрузкой.
Известно бункерное устройство для слеживающихся сыпучих материалов, содержащее корпус с щелевым днищем, установленные под щелевым днищем решетку и направляющие, расположенные вдоль днища, сводоразрушитель с проходящими через продольные щели стойками, верхние части которых введены внутрь корпуса и выполнены в виде рабочих органов для очистки верхней поверхности щелевого днища, привод перемещения сводоразрушителя вдоль щелей днища. [Патент РФ № 2169688 С1, «Бункер для сыпучих материалов» авторов Третьякова Г.М., Горюшинского B.C. и др. опубл. 27.06.2001, БИ № 18].
Поперечное сечение корпуса в основном имеет прямоугольную форму. В данном устройстве при разгрузке находящихся в корпусе бункера сыпучих материалов осуществляется подрезание слоя материала, расположенного в зоне днища корпуса. Необходимость подрезания слежавшегося сыпучего материала на большой площади в каждой щели бункера, образованной парой пластин днища, наклоненных вниз и навстречу друг другу, обуславливает большую энергоемкость процесса выгрузки из бункера сыпучего материала, а также сложность его конструкции. В этом известном устройстве невозможно регулирование расхода выпускаемого из бункера материала, т.к. пластины днища устанавливаются под определенным углом друг к другу, соответствующим V-образному профилю рабочих органов сводоразрушителя.
Наиболее близким аналогом заявленного изобретения является бункер для слеживающихся сыпучих материалов, содержащий корпус с щелевым днищем, установленные под щелевым днищем решетку и направляющие, расположенные вдоль днища, сводоразрушитель и привод перемещения сводоразрушителя вдоль щелей днища. [Патент РФ №2219119 С1, «Бункер для слеживающихся сыпучих материалов» авторов Третьякова Г.М., Горюшинского B.C., опубл. 20.12.2003, БИ №35].
В этом известном бункере решетка выполнена с продольными элементами, образующими продольные щели, параллельные продольным щелям днища, расположенные с таким же шагом и имеющие такую же ширину. Решетка установлена с возможностью перемещения в поперечном щелям днища направлении на длину шага расположения ее продольных щелей с последующей фиксацией ее положения. Сводоразрушитель снабжен тележкой, установленной с возможностью перемещения по направляющим. Сводоразрушитель снабжен приводом и стойками, которые пропущены через щели решетки и нижними концами закреплены на тележке.
В этом известном устройстве вертикальное уплотняющее давление столба сыпучего материала, находящегося в корпусе, затрудняет возвратно-поступательное перемещение рабочих органов сводоразрушителя, что наиболее ярко проявляется при необходимости длительного нахождения в корпусе слеживающихся сыпучих материалов. Кроме того, снижена эффективность процесса дозирования, т.к. в процессе перемещения тележки рабочие органы сводоразрушителя, приближаясь к торцевым стенкам корпуса, прижимают движущийся к выпускному отверстию сыпучий материал, уплотняя его, при этом часть сыпучего материала остается у боковых стенок корпуса, что негативно сказывается на самом процессе дозирования и непосредственно на выпуске сыпучего материала.
Техническим результатом изобретения является повышение эффективности и надежности дозирования слеживающихся сыпучих материалов за счет обеспечения их полного выпуска из корпуса.
Технический результат обеспечивается за счет того, что устройство для дозированного выпуска связных трудносыпучих материалов включает корпус, выполненный с четырьмя попарно симметричными боковыми стенками и щелевым днищем, при этом под щелевым днищем корпуса установлена решетка, имеющая продольные щели, параллельные продольным щелям днища, расположенные с таким же шагом и имеющие такую же ширину, что и щели дна корпуса. Решетка установлена с возможностью перемещения в поперечном щелям днища направлении на длину шага расположения ее продольных щелей и с возможностью фиксации ее положения. Кроме того, устройство снабжено сводоразрушителем с рабочими органами, проходящими через продольные щели щелевого днища для очистки его поверхности. Сводоразрушитель установлен на каретке с возможностью возвратно-поступательного перемещения вдоль щелей днища посредством привода. Боковые стенки корпуса выполнены наклонными к его днищу, при этом длина двух размещенных друг напротив друга боковых стенок превышает длину двух других размещенных друг напротив друга боковых стенок. Более короткие боковые стенки корпуса расположены под острым углом к его днищу, а две другие, более длинные, боковые стенки корпуса – под тупым углом к его днищу. Кроме того, в нижней части более коротких боковых стенок корпуса выполнены щели, являющиеся продолжением продольных щелей днища, а сводоразрушитель снабжен дополнительными боковыми рабочими органами, установленными на каретке с возможностью перемещения вдоль более длинных наклонных боковых стенок корпуса, причем дополнительные боковые рабочие органы закреплены на стойках, которые пропущены через щели днища и закреплены нижними концами на каретке с возможностью взаимодействия с более длинными наклонными боковыми стенками корпуса. Каретка установлена с возможностью возвратно-поступательного перемещения по направляющим, расположенным вдоль боковых более длинных наклонных стенок корпуса. Угол наклона более длинных боковых стенок корпуса к его днищу соответствует углу откоса сыпучего материала.
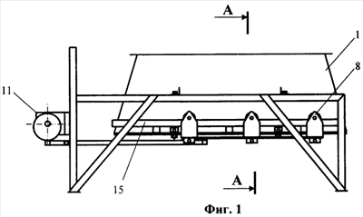
Изобретение поясняется с помощью графических материалов, где на фиг.1 схематично изображен вид сбоку устройства для дозированного выпуска связных трудносыпучих материалов, а на фиг.2 схематично показан его поперечный разрез.
Как показано на графических материалах, устройство для дозированного выпуска связных трудносыпучих материалов включает корпус 1, выполненный с четырьмя попарно симметричными боковыми стенками 2, 3 и щелевым днищем 4. Под щелевым днищем 4 корпуса 1 установлена решетка 5, имеющая продольные щели 6, параллельные продольным щелям 7 днища 4, расположенные с таким же шагом и имеющие такую же ширину, что и щели 7 днища 4 корпуса 1. Решетка 5 установлена с возможностью перемещения в поперечном щелям 7 днища 4 корпуса 1 направлении на длину шага расположения ее продольных щелей 6 и с возможностью фиксации ее положения. Устройство снабжено сводоразрушителем 8 с рабочими органами 9, проходящими через продольные щели 7 щелевого днища 4 для очистки его поверхности. Сводоразрушитель 8 установлен на каретке 10 с возможностью возвратно-поступательного перемещения вдоль щелей 7 щелевого днища 4 посредством привода 11. Боковые стенки 2, 3 корпуса 1 выполнены наклонными к его щелевому днищу 4, при этом длина двух размещенных друг напротив друга боковых стенок 2 превышает длину двух других размещенных друг напротив друга боковых стенок 3. Более короткие боковые стенки 3 корпуса 1 расположены под острым углом к его щелевому днищу 4, а две другие, более длинные, боковые стенки 2 корпуса – под тупым углом к его щелевому днищу 4. В нижней части более коротких боковых стенок 3 корпуса 1 выполнены щели 12, являющиеся продолжением продольных щелей 7 щелевого днища 4. Сводоразрушитель 8 снабжен дополнительными боковыми рабочими органами 13, установленными на каретке 10 с возможностью перемещения вдоль более длинных наклонных боковых стенок 2 корпуса 1. Дополнительные боковые рабочие органы 13 закреплены на стойках 14, которые пропущены через продольные щели 7 щелевого днища 4 и закреплены нижними концами на каретке 10 с возможностью взаимодействия с более длинными наклонными боковыми стенками 2 корпуса 1. Каретка 10 установлена с возможностью возвратно-поступательного перемещения по направляющим 15, расположенным вдоль более длинных боковых наклонных стенок 2 корпуса 1. Угол наклона более длинных боковых стенок 2 корпуса 1 к его щелевому днищу 4 соответствует углу откоса сыпучего материала.
Использование изобретения осуществляется следующим образом. Перед загрузкой устройства продольные щели 7 щелевого днища 4 корпуса 1 перекрывают межщелевыми продольными элементами (не обозначены) решетки 5. Затем производят загрузку корпуса 1 сыпучим материалом. При необходимости выгрузки сыпучего материала из корпуса 1 передвигают решетку 5, открывая продольные щели 7 щелевого днища 4 полностью или на величину, необходимую для данного сыпучего материала. Происходит истечение сыпучего материала через совмещенные продольные щели 6 решетки 5 и продольные щели 7 щелевого днища 4. В процессе выпуска сыпучего материала в результате его слеживания в корпусе образуются своды, затрудняющие выпуск сыпучего материала. Для разрушения сводов периодически включают привод 11 перемещения каретки 10, на которой установлен сводоразрушитель 8. Каретка 10 сводоразрушителя 8, совершая возвратно-поступательные движения по направляющим 15 вдоль более длинных 2 боковых стенок корпуса, стимулирует истечение сыпучего материала рабочими органами 9 и дополнительными боковыми рабочими органами 13. При этом возвратно-поступательное перемещение рабочих органов 9 позволяет управлять процессом сводообразования над продольными щелями 7 щелевого днища 4, а дополнительные боковые рабочие органы 13 закреплены на стойках 14 и препятствуют образованию сводов между смежными боковыми стенками 2 корпуса 1. Причем рыхление сыпучего материала и подрезание опор образовавшихся сводов сыпучего материала производится и в зоне щелевого днища 4, и в зоне боковых стенок 2, 3 корпуса 1. Продольные щели 12, выполненные в нижней части более коротких боковых стенок 3 корпуса 1 и являющиеся продолжением продольных щелей 7 щелевого днища 4, служат для устранения уплотнения сыпучего материала рабочими органами 9 сводоразрушителя 8. Возможен такой вариант выполнения устройства, когда в нем используются только боковые рабочие органы 13.
Таким образом, изобретение в представленной совокупности признаков обеспечивает высокую разрешающую способность выпуска связных трудносыпучих материалов, а его конструкция обеспечивает при этом, по сравнению с известными в уровне техники аналогами, снижение энергоемкости процесса дозированного выпуска.
Формула изобретения
1. Устройство для дозированного выпуска связных трудносыпучих материалов, включающее корпус, выполненный с четырьмя попарно симметричными боковыми стенками и щелевым днищем, при этом под щелевым днищем корпуса установлена решетка, имеющая продольные щели, параллельные продольным щелям щелевого днища, расположенные с таким же шагом и имеющие такую же ширину, что и щели щелевого днища корпуса, решетка установлена с возможностью перемещения в поперечном щелям щелевого днища направлении на длину шага расположения ее продольных щелей и с возможностью фиксации ее положения, кроме того, устройство снабжено сводоразрушителем с рабочими органами, проходящими через продольные щели щелевого днища для очистки его поверхности, при этом сводоразрушитель установлен на каретке с возможностью возвратно-поступательного перемещения вдоль щелей щелевого днища посредством привода, отличающееся тем, что боковые стенки корпуса выполнены наклонными к его щелевому днищу, при этом длина двух размещенных друг напротив друга боковых стенок превышает длину двух других размещенных друг напротив друга боковых стенок, кроме того, более короткие боковые стенки корпуса расположены под острым углом к его щелевому днищу, а две другие, более длинные боковые стенки корпуса, – под тупым углом к его щелевому днищу, кроме того, в нижней части более коротких боковых стенок корпуса выполнены щели, являющиеся продолжением продольных щелей щелевого днища, а сводоразрушитель снабжен дополнительными боковыми рабочими органами, установленными на каретке с возможностью перемещения вдоль более длинных наклонных боковых стенок корпуса, причем боковые рабочие органы закреплены на стойках, которые пропущены через щели щелевого днища и закреплены нижними концами на каретке с возможностью взаимодействия с более длинными наклонными боковыми стенками корпуса.
2. Устройство для дозированного выпуска связных трудносыпучих материалов по п.1, отличающееся тем, что каретка установлена с возможностью возвратно-поступательного перемещения по направляющим, расположенным вдоль боковых, длинных наклонных стенок корпуса.
3. Устройство для дозированного выпуска связных трудносыпучих материалов по п.1, отличающееся тем, что угол наклона длинных боковых стенок корпуса к его днищу соответствует углу откоса сыпучего материала.
РИСУНКИ
|
|