|
|
(21), (22) Заявка: 2005137001/28, 29.11.2005
(24) Дата начала отсчета срока действия патента:
29.11.2005
(43) Дата публикации заявки: 10.06.2007
(46) Опубликовано: 10.02.2008
(56) Список документов, цитированных в отчете о поиске:
RU 2190835 С2, 10.10.2002. RU 2107264 C1, 20.03.1998. SU 580451 A, 15.11.1977. SU 1370036 A1, 30.01.1988. GB 2078209 A, 06.01.1982. US 4944334 A, 31.07.1990.
Адрес для переписки:
125480, Москва, ул. Героев Панфиловцев 20 (РХТУ им. Д.И.Менделеева), корп.2 (ИХТ), комн.117, ЗАО “Институт взрыва”
|
(72) Автор(ы):
Бармотин Дмитрий Николаевич (RU), Додух Владимир Гаврилович (RU), Каменев Анатолий Александрович (RU), Крейнин Яков Михайлович (RU), Липченко Владимир Николаевич (RU), Черниловский Александр Матвеевич (RU), Чернов Виктор Александрович (RU)
(73) Патентообладатель(и):
ЗАО “Институт взрыва” (RU)
|
(54) СПОСОБ МИКРОДОЗИРОВАНИЯ ПЫЛЕВИДНОГО ВЫСОКОЭНЕРГЕТИЧЕСКОГО МАТЕРИАЛА И УСТРОЙСТВО ДЛЯ ЕГО ОСУЩЕСТВЛЕНИЯ
(57) Реферат:
Изобретение относится к области объемного дозирования мелкодисперсных трудносыпучих взрывчатых материалов. Изобретение направлено на обеспечение надежного и безопасного микродозирования с постоянным расходом материала. Этот результат обеспечивается за счет того, что подачу пылевидного высокоэнергетического материала осуществляют через конусообразную вертикальную загрузочную емкость при одновременном вибровоздействии на нее и направляют дозируемый материал через гидравлическое сопротивление, горизонтально установленное внутри загрузочной емкости, в конусообразную разгрузочную емкость, также находящуюся под вибровоздействием. Внутри загрузочной емкости для разрушения возможного сводообразования дозируемого материала установлена вертикальная штанга. Направление виброожиженного материала в разгрузочную емкость осуществляют через калиброванные канавки, выполненные на цилиндрической поверхности вращающегося вокруг горизонтальной оси и находящегося под вибровоздействием барабана, а также через дополнительное гидравлическое сопротивление, расположенное на входе в разгрузочную емкость. Из разгрузочной емкости дозируемый материал направляют в выпускную трубку, сообщающуюся с атмосферой. 2 н. и 6 з.п. ф-лы, 1 ил.
Изобретение относится к области объемного дозирования трудно сыпучих взрывчатых материалов, конкретно – к способам и устройствам для микродозирования непрерывно подаваемых, склонных к свободообразованию, чувствительных к удару и трению мелкодисперсных материалов, и может быть использовано в машиностроении, химической, электрохимической и других отраслях промышленности.
Известны способы и устройства для непрерывного дозирования порошков шнековым методом и методом пневмотранспортирования. Основным недостатком шнековых устройств в данном случае является интенсивное внешнее и внутреннее трение, испытываемое материалом при его транспортировании, что делает невозможным их использование для подачи энергонасыщенных продуктов.
Наиболее близким к предлагаемому изобретению является способ и устройство по патенту РФ № 2190835 С2, 10.10.2002, G01F 13/00, где микродозирование пылевидного материала осуществляют из вертикальной цилиндрической емкости через элементы гидравлического сопротивления, а сама цилиндрическая емкость разделена на две расположенные коаксиально друг другу зоны: зону предварительной подачи и центральную цилиндрическую зону дозирования, при этом дозируемый материал в зоне предварительной подачи может находиться в виброожиженном состоянии, а в зоне дозирования – в виде “виброкипящего” слоя малой высоты, сообщающегося с атмосферой, из которого осуществляется его дозированная подача через вибрирующий элемент гидравлического сопротивления.
Устройство состоит из бункера предварительной подачи, выполненного в виде цилиндрической емкости, с размещенным в нем набором элементов гидравлического сопротивления и выпускной части, при этом днище бункера в выпускной центральной части сочленено с установленной коаксиально выпускной цилиндрической емкостью, соединенной с вибратором, и покрыто элементом или набором элементов гидравлического сопротивления, например сеткой или набором сеток, а над ним с зазором установлена центральная труба, сообщающаяся с атмосферой. Таким образом, достигается образование тонкого постоянной высоты слоя “виброкипящего” материала, который должен обеспечивать постоянство его расхода при выпуске через элементы гидравлического сопротивления, установленные в выпускной цилиндрической емкости, жестко связанной с бункером предварительной подачи.
Технической задачей изобретения является создание способа микродозирования пылевидного высокоэнергетического материала и устройства для его осуществления, обеспечивающих надежное и безопасное микродозирование пылевидного энергонасыщенного материала с постоянным его расходом за счет предотвращения уплотнения и свободообразования материала.
Техническим результатом изобретения является предотвращение уплотнения и сводообразования материала при равномерном микродозировании пылевидного высокоэнергетического вещества.
Указанный технический результат достигается в предложенном способе микродозирования пылевидного высокоэнергетического материала, включающем подачу материала через конусообразную вертикальную загрузочную емкость при одновременном вибровоздействии на нее и направление через гидравлическое сопротивление, горизонтально установленное внутри загрузочной емкости, виброожиженного материала в конусообразную разгрузочную емкость, находящуюся под вибровоздействием. Подачу пылевидного высокоэнергетического материала осуществляют через загрузочную емкость, внутри которой для разрушения возможного сводообразования пылевидного энергонасыщенного материала при вибровоздействии на загрузочную емкость установлена вертикальная штанга, выполнена неподвижной или с возможностью вращения вокруг своей оси, закрепленная независимо от загрузочной емкости и проходящая через отверстие в центре гидравлического сопротивления, вибровоздействие на загрузочную емкость осуществляют с амплитудой колебаний, составляющей не более 0,5 расстояния между краем отверстия в центре гидравлического сопротивления и вертикальной штангой. Направление виброожиженного материала в конусообразную разгрузочную емкость осуществляют чрез калиброванные канавки, выполненные на цилиндрической поверхности вращающегося вокруг горизонтальной оси и находящегося под вибровоздействием барабана, и дополнительное гидравлическое сопротивление, расположенное на входе в разгрузочную емкость. Из разгрузочной емкости пылевидный высокоэнергетический материал направляют в выпускную трубку, сообщающуюся с атмосферой.
В качестве гидравлического сопротивления может быть использована, по крайней мере, одна сетка.
В качестве дополнительного гидравлического сопротивления может быть использована, по крайней мере, одна сетка.
Канавки на цилиндрической поверхности барабана выполняют параллельно оси его вращения.
Технический результат достигается также использованием устройства микродозирования пылевидного высокоэнергетического материала, содержащего конусообразную вертикальную загрузочную емкость, снабженную горизонтально установленным внутри нее гидравлическим сопротивлением, барабан, конусообразную разгрузочную емкость и виброузел с возможностью воздействия на загрузочную емкость, барабан и разгрузочную емкость. В загрузочной емкости установлена вертикальна штанга, выполненная неподвижной или с возможностью вращения вокруг своей оси, закрепленная независимо от загрузочной емкости и проходящая по вертикальной оси емкости через отверстие в центре гидравлического сопротивления. На выходе загрузочной емкости установлен вращающийся вокруг горизонтальной оси барабан, закрепленный в корпусе с возможностью вращения с различной скоростью, зависящей от количества поступающего в емкость материала, на цилиндрической поверхности барабана выполнены калиброванные канавки. Разгрузочная емкость установлен на входе из барабана, причем она снабжена на выходе дополнительным гидравлическим сопротивлением, а на выходе выпускной трубкой, сообщающейся с атмосферой.
Гидравлическое сопротивление может быть выполнено в виде, по крайней мере, одной сетки.
Дополнительное гидравлическое сопротивление может быть выполнено в виде, по крайней мере, одной сетки.
Канавки на цилиндрической поверхности барабана выполнены параллельно оси его вращения.
Недостатки известных способов микродозирования пылевидного материала и устройств для их осуществления устраняются в предложенном изобретении за счет того, что подачу материала осуществляют из конусообразной вертикальной емкости через один или несколько элементов гидравлического сопротивления, а емкость разделят на две части – зону предварительной подачи с одним или набором гидравлических сопротивлений и центральную зону дозирования, связанную с вращающимся барабаном. Пылевидный высокоэнергетический материал, например, используемый для снаряжения внутреннего канала ударно-волновой трубки, относится к трудносыпучим порошкам. При виброожижении такого материала, касающегося конусообразной поверхности загрузочной емкости, происходит его перемещение вниз, но в центральной части емкости материал пересыпается неравномерно, толчками, образуя пустоты-своды. Вертикальная штанга, выполненная неподвижной или с возможностью вращения вокруг своей оси, закрепленная независимо от загрузочной емкости и проходящая через отверстие в центре гидравлического сопротивления, предназначена для устранения местных уплотнений и исключения сводообразования дозируемого материала в зонах предварительной и центральной подачи. На поверхности штанги могут быть выполнены элементы шероховатости, дополнительно побуждающие состав к пересыпанию с разрушением сводов-пустот.
В рабочем состоянии загрузочная емкость в регулируемом режиме вибрирует с амплитудой колебания не более 0,5 расстояния между краем центрального отверстия гидравлического сопротивления и штангой и частотой 50-100 Гц. При увеличении амплитуды колебания более 0,5 расстояния между краем центрального отверстия гидравлического сопротивления и штангой происходит образование свода, нарушается равномерность подачи высокоэнергетического пылевидного материала, т.е. не обеспечивается постоянство расхода материала.
Виброожиженный материал направляют из зоны предварительной подачи в центральную зону, связанную с вращающимся горизонтально барабаном с калиброванными канавками на его цилиндрической поверхности. Под действием вибрации канавки барабана заполняются материалом. Вращение барабана имеет обратную связь со скоростью подачи материала. При увеличении подачи скорость вращения барабана уменьшается, а при уменьшении подачи – соответственно увеличивается. После выхода из вращающегося барабана материал направляется в находящуюся под вибровоздействием конусообразную разгрузочную емкость, покрытую, по крайней мере, одним элементом гидравлического сопротивления, а далее в установленную под ним дозирующую трубку, сообщающуюся с атмосферой.
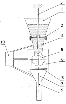
На чертеже изображено устройство микродозирования пылевидного высокоэнергетического материала, где:
1 – вертикальная конусообразная загрузочная емкость;
2 – гидравлическое сопротивление;
3 – вертикальная штанга;
4 – пылевидный высокоэнергетический материал;
5 – вращающийся вокруг горизонтальной оси барабан;
6 – корпус, в котором закреплен барабан;
7 – конусообразная вертикальная разгрузочная емкость;
8 – дополнительное гидравлическое сопротивление;
9 – выпускная трубка, сообщающаяся с атмосферой;
10 – виброузел с возможностью воздействия на загрузочную емкость, барабан и разгрузочную емкость.
Амплитуда колебания загрузочной емкости не превышает 0,5 расстояния от штанги до края отверстия в центре гидравлического сопротивления.
Устройство работает следующим образом. В загрузочной емкости 1, ударяясь о штангу 3, под воздействием вибрации разрушается уплотненный слой виброожиженного материала в центральной зоне. Из загрузочной емкости 1 сквозь гидравлическое сопротивление 2 под воздействием вибрации виброожиженный пылевидный материал равномерно поступает в канавки вращающегося барабана 5, затем под воздействием вибрации разгружается вниз при повороте барабана в конусообразную разгрузочную емкость 7, покрытую дополнительным гидравлическим сопротивлением 8, например сеткой, а через выпускную трубку 9 происходит дозированный равномерный выпуск материала.
Таким образом, в предложенном изобретении обеспечивается надежное и безопасное микродозирование пылевидного энергонасыщенного материала с постоянным расходом, предотвращением уплотнения и сводообразования.
Формула изобретения
1. Способ микродозирования пылевидного высокоэнергетического материала, включающий подачу пылевидного высокоэнергетического материала через конусообразную вертикальную загрузочную емкость при одновременном вибровоздействии на нее и направление через гидравлическое сопротивление, горизонтально установленное внутри конусообразной вертикальной загрузочной емкости, виброожиженного материала в конусообразную разгрузочную емкость, отличающийся тем, что внутри конусообразной вертикальной загрузочной емкости для разрушения возможного сводообразования пылевидного высокоэнергетического материала установлена вертикальная штанга, выполненная неподвижной или с возможностью вращения вокруг своей оси, закрепленная независимо от конусообразной вертикальной загрузочной емкости и проходящая через отверстие в центре гидравлического сопротивления, вибровоздействие на конусообразную вертикальную загрузочную емкость осуществляют с амплитудой колебаний, составляющей не более 0,5 расстояния между краем отверстия в центре гидравлического сопротивления и вертикальной штангой, направление виброожиженного материала в конусообразную разгрузочную емкость, находящуюся под вибровоздействием, осуществляют через калиброванные канавки, выполненные на цилиндрической поверхности вращающегося вокруг горизонтальной оси и находящегося под вибровоздействием барабана, и дополнительное гидравлическое сопротивление, расположенное на входе в конусообразную разгрузочную емкость, из вертикальной разгрузочной емкости пылевидный высокоэнергетический материал направляют в выпускную трубку, сообщающуюся с атмосферой.
2. Способ по п.1, отличающийся тем, что в качестве гидравлического сопротивления используют, по крайней мере, одну сетку.
3. Способ по п.1, отличающийся тем, что в качестве дополнительного гидравлического сопротивления используют, по крайней мере, одну сетку.
4. Способ по п.1, отличающийся тем, что канавки выполняют на цилиндрической поверхности барабана параллельно оси его вращения.
5. Устройство микродозирования пылевидного высокоэнергетического материала, содержащее конусообразную вертикальную загрузочную емкость, снабженную горизонтально установленным внутри нее гидравлическим сопротивлением, виброузел и конусообразную разгрузочную емкость, отличающееся тем, что в загрузочной емкости установлена вертикальная штанга, выполненная или неподвижной, или с возможностью вращения округ своей оси, закрепленная независимо от конусообразной вертикальной загрузочной емкости и проходящая по вертикальной оси конусообразной вертикальной загрузочной емкости через отверстие в центре гидравлического сопротивления, на выходе конусообразной вертикальной загрузочной емкости установлен вращающийся вокруг горизонтальной оси барабан, закрепленный в корпусе с возможностью вращения со скоростью, зависящей от количества поступающего в емкость материала, на цилиндрической поверхности барабана выполнены калиброванные канавки, конусообразная разгрузочная емкость установлена на выходе из вращающегося барабана и снабжена на входе дополнительным гидравлическим сопротивлением, а на выходе выпускной трубкой, сообщающейся с атмосферой.
6. Устройство по п.5, отличающееся тем, что гидравлическое сопротивление выполнено в виде, по крайней мере, одной сетки.
7. Устройство по п.5, отличающееся тем, что дополнительное гидравлическое сопротивление выполнено в виде, по крайней мере, одной сетки.
8. Устройство по п.5, отличающееся тем, что канавки выполнены на цилиндрической поверхности барабана параллельно оси его вращения.
РИСУНКИ
|
|