|
|
(21), (22) Заявка: 2006133735/28, 21.09.2006
(24) Дата начала отсчета срока действия патента:
21.09.2006
(46) Опубликовано: 10.02.2008
(56) Список документов, цитированных в отчете о поиске:
SU 1610272 A1, 30.11.1990. SU 1413424 A1, 30.07.1988. DE 4010117 А, 04.10.1990. JP 62034008, 14.02.1987.
Адрес для переписки:
109316, Москва, Волгоградский пр-кт, 45, ООО “Научно- производственный испытательный центр “АРМИНТ”
|
(72) Автор(ы):
Манин Анатолий Платонович (RU), Васильев Владимир Владимирович (RU), Аношкин Александр Владимирович (RU)
(73) Патентообладатель(и):
Открытое акционерное общество “Научно-производственный испытательный центр “АРМИНТ” (RU)
|
(54) ЭЛЕКТРОННЫЙ ТЕОДОЛИТ
(57) Реферат:
Изобретение относится к технике измерений, может использоваться в геодезическом приборостроении и предназначено для использования при угловых измерениях. Сущность изобретения характеризуется тем, что электронный теодолит содержит пульт управления и объектив канала наблюдения, установленный на опорно-поворотном устройстве, механизмы горизонтального и вертикального наведения которого содержат соответственно горизонтальный и вертикальный диски с кодовыми дорожками, оптически связанные с ними соответственно блок считывания с горизонтального диска и блок считывания с вертикального диска, выходы которых подключены соответственно к первому и второму входам преобразователя угол-код, выход которого соединен с входом цифрового табло, введены блок синхронизации, видеоконтрольное устройство, видеоконтрольный адаптер, закрепленное в опорно-поворотном устройстве и оптически связанное с объективом канала наблюдения фотоприемное устройство канала наблюдения, выполненное в виде матрицы фотодетекторов, выходы которых соединены с входной шиной устройства считывания информации, пульт управления выполнен дистанционным, его первый и второй выходы подключены к управляющим входам соответственно механизмов горизонтального и вертикального наведения, третий и четвертый выходы – к управляющим входам соответственно блока считывания с горизонтального диска и блока считывания с вертикального диска, выход блока синхронизации подключен к синхровходам видеоконтрольного адаптера и устройства считывания информации, электрические выходы которого соединены с входной шиной видеоконтрольного адаптера, выход которого подключен к входу видеоконтрольного устройства. Технический результат изобретения состоит в обеспечении возможности выполнять дистанционные измерения угловых координат геодезических объектов. 4 з.п. ф-лы, 1 ил.
Изобретение относится к технике измерений, может использоваться в геодезическом приборостроении и предназначено для использования при угловых измерениях.
Известен электронный теодолит, содержащий пульт управления и объектив канала наблюдения, установленный на опорно-поворотном устройстве, механизмы горизонтального и вертикального наведения которого содержат соответственно горизонтальный и вертикальный диски с кодовыми дорожками, оптически связанные с ними соответственно блок считывания с горизонтального диска и блок считывания с вертикального диска, выходы которых подключены соответственно к первому и второму входам преобразователя угол-код, выход которого соединен с входом цифрового табло [1].
Известный электронный теодолит обеспечивает высокую точность измерения угловых координат и удобство их считывания оператором при геодезических измерениях. Однако известный электронный теодолит не позволяет выполнять дистанционные измерения угловых координат геодезических объектов, поскольку оператор должен находиться в месте установки электронного теодолита.
Технический результат состоит в обеспечении возможности выполнять дистанционные измерения угловых координат геодезических объектов.
Для достижения указанного технического результата в электронный теодолит, содержащий пульт управления и объектив канала наблюдения, установленный на опорно-поворотном устройстве, механизмы горизонтального и вертикального наведения которого содержат соответственно горизонтальный и вертикальный диски с кодовыми дорожками, оптически связанные с ними соответственно блок считывания с горизонтального диска и блок считывания с вертикального диска, выходы которых подключены соответственно к первому и второму входам преобразователя угол-код, выход которого соединен с входом цифрового табло, введены блок синхронизации, видеоконтрольное устройство, видеоконтрольный адаптер, закрепленное в опорно-поворотном устройстве и оптически связанное с объективом канала наблюдения фотоприемное устройство канала наблюдения, выполненное в виде матрицы фотодетекторов, выходы которых соединены с входной шиной устройства считывания информации, пульт управления выполнен дистанционным, его первый и второй выходы подключены к управляющим входам соответственно механизмов горизонтального и вертикального наведения, третий и четвертый выходы – к управляющим входам соответственно блока считывания с горизонтального диска и блока считывания с вертикального диска, выход блока синхронизации подключен к синхровходам видеоконтрольного адаптера и устройства считывания информации, электрические выходы которого соединены с входной шиной видеоконтрольного адаптера, выход которого подключен к входу видеоконтрольного устройства.
Видеоконтрольное устройство включает либо телевизионный монитор, либо жидкокристаллический монитор. Соответственно видеоконтрольный адаптер выполнен с возможностью формирования либо аналогового видеосигнала, либо цифрового видеосигнала.
Предлагаемый электронный теодолит обеспечивает высокую точность измерения угловых координат, удобство их считывания и позволяет выполнять дистанционные измерения, поскольку оператор может находиться в месте, удаленном от места установки электронного теодолита.
При этом достигается положительный технический результат – обеспечивается возможность выполнять дистанционные измерения угловых координат геодезических объектов.
Проведенный заявителем анализ уровня техники, включая поиск по патентным и научно-техническим источникам информации и выявление источников, содержащих сведения об аналогах заявленного технического решения, позволил установить, что заявитель не обнаружил источник, характеризующийся признаками, тождественными (идентичными) всем существенным признакам заявленного технического решения. Определение из перечня выявленных аналогов прототипа, как наиболее близкого по совокупности признаков аналога, позволило установить совокупность существенных по отношению к усматриваемому заявителем техническому результату отличительных признаков заявленного электронного теодолита, изложенных в формуле изобретения. Следовательно, заявленное техническое решение соответствует критерию “новизна”.
Проведенный заявителем дополнительный поиск не выявил известные решения, содержащие признаки, совпадающие с отличительными от прототипа признаками заявленного электронного теодолита. Следовательно, заявленное техническое решение не вытекает для специалиста явным образом из известного уровня техники, поскольку из уровня техники, определенного заявителем, не выявлено влияние предусматриваемых существенными признаками заявленного технического решения преобразований для достижения технического результата. Заявленное техническое решение не основано на изменении количественного признака (признаков), представлении таких признаков во взаимосвязи либо изменении ее вида. Следовательно, заявленное техническое решение соответствует критерию “изобретательский уровень”.
Предлагаемый электронный теодолит может быть реализован с помощью известных функциональных элементов.
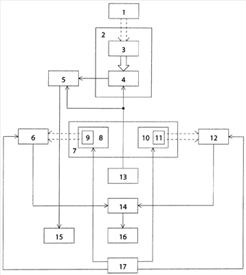
На чертеже приведена функциональная схема заявленного электронного теодолита.
Электронный теодолит содержит объектив 1 канала наблюдения, фотоприемное устройство 2 канала наблюдения, выполненное в виде матрицы 3 фотодетекторов и устройства 4 считывания информации, входная шина которого соединена с электрическими выходами матрицы 3 фотодетекторов, видеоконтрольный адаптер 5, блок 6 считывания с вертикального диска, опорно-поворотное устройство 7, механизм 8 вертикального наведения которого содержит вертикальный диск 9 с кодовой дорожкой, а механизм 10 горизонтального наведения – горизонтальный диск 11 с кодовой дорожкой, блок 12 считывания с горизонтального диска, блок 13 синхронизации, преобразователь 14 угол-код, видеоконтрольное устройство 15, цифровое табло 16 и пульт 17 дистанционного управления. Объектив 1 канала наблюдения установлен на опорно-поворотном устройстве 7, горизонтальный и вертикальный диски 11 и 9 с кодовыми дорожками механизмов 10 и 8 горизонтального и вертикального наведения которого оптически связаны с блоками 12 и 6 считывания соответственно с горизонтального и вертикального дисков, выходы которых подключены соответственно к первому и второму входам преобразователя 14 угол-код, выход которого соединен с входом цифрового табло 17. Фотоприемное устройство 2 канала наблюдения закреплено в опорно-поворотном устройстве 7 и оптически связано с объективом 1 канала наблюдения. Первый и второй выходы пульта 17 дистанционного управления подключены к управляющим входам соответственно механизмов 10 и 8 горизонтального и вертикального наведения, третий и четвертый выходы – к управляющим входам соответственно блоков 12 и 6 считывания с горизонтального и вертикального дисков. Выход блока 13 синхронизации подключен к синхровходам видеоконтрольного адаптера 5 и устройства 4 считывания информации, электрические выходы которого соединены с входной шиной видеоконтрольного адаптера 5, выход которого подключен к входу видеоконтрольного устройства 15. Видеоконтрольное устройство 15 включает либо телевизионный монитор, либо жидкокристаллический монитор. Соответственно видеоконтрольный адаптер 5 выполнен с возможностью формирования либо аналогового видеосигнала, либо цифрового видеосигнала.
Устройство работает следующим образом.
Электронный теодолит устанавливают и горизонтируют в точке стояния, видеоконтрольное устройство 15 и пульт 17 дистанционного управления размещают на необходимом для решения задач измерений расстоянии в месте нахождения оператора.
Изображение визирной марки или отвеса, расположенных в точке наблюдения, проецируется через объектив 1 канала наблюдения на матрицу 3 фотодетекторов фотоприемного устройства 2 канала наблюдения. Считывание электрического сигнала изображения с матрицы 3 фотодетекторов осуществляют с помощью входящего в состав фотоприемного устройства 2 канала наблюдения устройства 4 считывания информации, входная шина которого соединена с электрическими выходами матрицы 3 фотодетекторов. Для передачи изображений, формируемых фотоприемным устройством 2 канала наблюдения и отображения их на стандартном видеоконтрольном устройстве 15, предназначен видеоконтрольный адаптер 5. Блок 13 синхронизации синхронизирует работу устройства 4 считывания информации фотоприемного устройства 2 канала наблюдения и видеоконтрольного адаптера 5 и обеспечивает установку заданного стандарта (частоту кадров, число строк и число элементов на строке) при формировании видеосигнала для видеоконтрольного устройства 15.
Оператор наблюдает на экране видеоконтрольного устройства 15 расположенные в точке наблюдения визирную марку или отвес и наводит на них электронный теодолит с помощью пульта 17 дистанционного управления, воздействуя на механизмы 8 и 10 вертикального и горизонтального наведения опорно-поворотного устройства 7.
Для взятия вертикального или горизонтального отсчета оператор с помощью пульта 17 дистанционного управления подает команду соответственно на блок 6 считывания с вертикального диска или блок 12 считывания с горизонтального диска, после чего через короткий промежуток времени на цифровом табло 17 высвечивается соответствующий отсчет. При этом блоки 6 и 12 считывания соответственно с вертикального и горизонтального дисков, преобразователь 14 угол-код и цифровое табло 17 работают известным из прототипа образом.
Изложенные выше сведения свидетельствуют о выполнении при использовании заявленного технического решения следующей совокупности условий:
– средства, воплощающие заявленный электронный теодолит при их осуществлении, предназначены для использования в промышленности, а именно в геодезическом приборостроении;
– для заявленного электронного теодолита в том виде, как он охарактеризован в независимом пункте изложенной формулы изобретения, подтверждена возможность его осуществления с помощью описанных в заявке или известных до даты приоритета средств и методов.
Следовательно, заявленное техническое решение соответствует критерию “промышленная применимость”.
При использовании предлагаемого электронного теодолита достигается высокая точность измерения и удобство считывания результатов при дистанционных измерениях угловых координат геодезических объектов.
Источники информации
1. SU 1610272 А1, (ШУЛЬЦ В.Г. и др.), 30.11.1990.
Формула изобретения
1. Электронный теодолит, содержащий пульт управления и объектив канала наблюдения, установленный на опорно-поворотном устройстве, механизмы горизонтального и вертикального наведения которого содержат соответственно горизонтальный и вертикальный диски с кодовыми дорожками, оптически связанные с ними соответственно блок считывания с горизонтального диска и блок считывания с вертикального диска, выходы которых подключены соответственно к первому и второму входам преобразователя угол-код, выход которого соединен с входом цифрового табло, отличающийся тем, что введены блок синхронизации, видеоконтрольное устройство, видеоконтрольный адаптер, закрепленное в опорно-поворотном устройстве и оптически связанное с объективом канала наблюдения фотоприемное устройство канала наблюдения, выполненное в виде матрицы фотодетекторов, выходы которых соединены с входной шиной устройства считывания информации, пульт управления выполнен дистанционным, его первый и второй выходы подключены к управляющим входам соответственно механизмов горизонтального и вертикального наведения, третий и четвертый выходы – к управляющим входам соответственно блока считывания с горизонтального диска и блока считывания с вертикального диска, выход блока синхронизации подключен к синхровходам видеоконтрольного адаптера и устройства считывания информации, электрические выходы которого соединены с входной шиной видеоконтрольного адаптера, выход которого подключен к входу видеоконтрольного устройства.
2. Электронный теодолит по п.1, отличающийся тем, что видеоконтрольное устройство включает телевизионный монитор.
3. Электронный теодолит по п.1, отличающийся тем, что видеоконтрольное устройство включает жидкокристаллический монитор.
4. Электронный теодолит по п.2, отличающийся тем, что видеоконтрольный адаптер выполнен с возможностью формирования аналогового видеосигнала.
5. Электронный теодолит по п.3, отличающийся тем, что видеоконтрольный адаптер выполнен с возможностью формирования цифрового видеосигнала.
РИСУНКИ
MM4A – Досрочное прекращение действия патента СССР или патента Российской Федерации на изобретение из-за неуплаты в установленный срок пошлины за поддержание патента в силе
Дата прекращения действия патента: 22.09.2008
Извещение опубликовано: 27.07.2010 БИ: 21/2010
|
|