|
(21), (22) Заявка: 2006129050/28, 10.08.2006
(24) Дата начала отсчета срока действия патента:
10.08.2006
(46) Опубликовано: 10.02.2008
(56) Список документов, цитированных в отчете о поиске:
SU 374495 A1, 01.01.1973. SU 298817 A1, 01.01.1971. SU 1216642 A1, 07.03.1986. SU 1796894 A1, 23.02.1993. RU 2162591 C1, 27.01.2001. FR 2153798, 04.05.1973. EP 0843157, 20.05.1998. DE 4129168, 29.04.1993.
Адрес для переписки:
443066, г.Самара, 1-й Безымянный пер., 18, СамГАПС, патентный отдел
|
(72) Автор(ы):
Жильцов Олег Алексеевич (RU), Бондаренко Алексей Алексеевич (RU)
(73) Патентообладатель(и):
Государственное образовательное учреждение высшего профессионального образования “Самарская государственная академия путей сообщения” (СамГАПС) (RU)
|
(54) СПОСОБ ИЗМЕРЕНИЯ МАЛЫХ ДЕФОРМАЦИЙ МАТЕРИАЛА КОНСТРУКЦИЙ
(57) Реферат:
Изобретение относится к испытаниям конструкций, в частности к бесконтактным способам измерения малых деформаций материала конструкций, и может быть использовано для измерения малых деформаций материала длинномерных конструкций с помощью фотограмметрии. Техническим результатом способа является повышение точности измерения малых деформаций материала длинномерных конструкций и разделение механических и температурных деформаций. Способ для измерения малых деформаций материала конструкций заключается в измерении смещений по изображению марок в дискретно увеличенном масштабе. Марки устанавливают параллельно оси конструкции с обеих ее сторон на расстоянии не менее 2 м в зависимости от требуемой точности, дискретно фиксируют каждую марку до деформации конструкции. После обрабатывают изображения, получая отдельно суммарную и механическую деформации, а по их разности определяют температурную деформацию. 2 ил.
Изобретение относится к испытаниям конструкций, в частности к бесконтактным способам измерения малых деформаций материала конструкций, и может быть использовано для измерения малых деформаций материала длинномерных конструкций с помощью фотограмметрии.
Известен способ, реализованный в устройстве для измерения малых деформаций волокон материала конструкций, заключающийся в измерении смещений по изображению марок в увеличенном масштабе [А.с. №374495 «Устройство для измерения малых деформаций волокон материала конструкций», автор О.А.Жильцов, МПК: G01В 11/16, опубл. 20.03.1973 г., БИ №15].
Недостатком способа является невысокая точность измерения и невозможность раздельного определения механических и температурных деформаций.
Данный способ принят за прототип.
Техническим результатом способа является повышение точности измерения малых деформаций материала длинномерных конструкций и разделение механических и температурных деформаций.
Технический результат достигается тем, что в способе для измерения малых деформаций материала конструкций, заключающемся в измерении смещений по изображению марок в дискретно увеличенном масштабе, причем марки устанавливают параллельно оси конструкции с обеих ее сторон на расстоянии не менее 2 м в зависимости от требуемой точности, дискретно фиксируют каждую марку до деформации конструкции и после, обрабатывают изображения, получая отдельно суммарную и механическую деформации, а по их разности определяют температурную деформацию.
Раздельное определение деформаций обеспечивается за счет использования двух фотограмметрических систем: инварной и с использованием материала конструкции.
Требуемая точность обеспечивается и составляет

Затем непосредственно «в поле», или камерально, снимки обрабатывают для определения произошедших деформаций за временной интервал мониторинга в соответствии с формулой (1).
Регистрируемое удлинение заранее расчитанной базы L (фиг.1, 2) после деформации составит:
по инварной системе суммарные деформации:

по системе из материала конструкции (стальной) механические деформации, ввиду самокомпенсации температурных деформаций:

Температурные деформации:

На снимке, полученном традиционно в непрерывном масштабе, порог чувствительности, представленный формулой (1), достигнуть невозможно.
Подтвердим это примером. Возьмем наиболее благоприятный случай наземной фотограмметрии: масштаб 1:1. При размере снимка 36×24 мм база равна L=36 мм. Известная цена деления фотограмметрического комплекса на стадии камеральной обработки L=0,01 мм. Примем ее за верхний порог измерения.
Для традиционной фотограмметрической съемки

При использовании прототипа, учитывая эффект лупы ×10, предел точности составит в десять раз выше

В предлагаемом способе L=2 м=2000 мм. Аналогично:

Сравним (5), (6) и (7):

В предлагаемом способе точность выше на один-два порядка. Повышение точности достигается не за счет улучшения разрешающей способности приборов измерительного комплекса, а за счет увеличения абсолютного смещения изображений марок. В данном случае это достигается увеличением базисной основы L по сравнению с традиционной, что позволяет получить изображения марки и базы в разных масштабах. Причем масштаб изображения смещения марки возможен на два порядка крупнее базисной основы L, чем и достигается технический результат. База L известна согласно формуле (1), она неизменна и поэтому в явном виде на снимках она не изображается и не измеряется. Стабильность базы обеспечивают калибровкой.
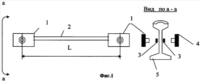
Данный способ измерения малых деформаций материала конструкций реализован двумя фотограмметрическими системами, представленными на фиг.1. На фиг.2 представлены снимки, полученные одной из систем на этапе обработки.
На фиг.1 представлены: 1 – фиксирующие устройства, например фотокамеры первой, например, инварной системы, 2 – основа, соответствующая расстоянию между марками, 3 – марки, установленные с обеих сторон конструкции, например длинномерного элемента – рельса, 4 – фиксирующие элементы, например фотокамеры системы с использованием материала конструкции, например стальной, 5 – конструкция, например длинномерный элемент – рельс.
На фиг.2 представлены: 6 – изображения марок до деформации, 7 – изображения тех же марок после деформации.
Способ реализуется следующим образом.
Две пары фиксирующих устройств, например фотокамер 1 и 4 систем закреплены на базисной основе 2 согласно расчету по формуле: L= l/ , где l – точность фиксирующего элемента; – точность измерения. [Якубовский Б.В. и др. Испытание железобетонных конструкций и сооружений. М.: Высшая школа, 1965. – c.40].
Одна основа выполнена из инвара, а другая – из материала конструкции (для длинномерной конструкции – рельса из стали).
Системы устанавливают в пространстве параллельно конструкции 5, например длинномерному элементу – рельсу, на расстоянии переднего фокуса фиксирующих устройств 1 и 4, например фотокамер. В поле зрения каждого фиксирующего устройства 1 и 4, например фотокамеры, расположена одна марка 3. Марки расположены по две с каждой стороны конструкции 5, например длинномерного элемента – рельса на расстоянии, соответствующем длине базисной основы 2 фотограмметрических систем.
Четырьмя фиксирующими устройствами 1 и 4, например фотокамерами, фиксируют четыре марки 3, причем каждое фиксирующее устройство 1 и 4, например фотокамера, фиксирует отдельно свою марку 3. Эти четыре марки синхронно фиксируют до деформации и после в масштабе 1:1.
Измерение деформаций выполняют по монокулярным изображениям марок 6 и 7 (фиг. 2), полученных при помощи четырех фиксирующих элементов 1 и 4, например фотокамер.
l=L1+L2, – смещения марок после деформирования рельса на базе L.
Предлагаемый способ позволяет производить измерения без остановки основного процесса, например движения поездов, повышает точность измерения деформаций и позволяет получить раздельно деформации механическую и температурную.
Формула изобретения
Способ для измерения малых деформаций материала конструкций, заключающийся в измерении смещений по изображению марок в дискретно увеличенном масштабе, отличающийся тем, что марки устанавливают параллельно оси конструкции с обеих ее сторон на расстоянии не менее 2 м в зависимости от требуемой точности, дискретно фиксируют каждую марку до деформации конструкции и после, обрабатывают изображения, получая отдельно суммарную и механическую деформации, а по их разности определяют температурную деформацию.
РИСУНКИ
MM4A – Досрочное прекращение действия патента СССР или патента Российской Федерации на изобретение из-за неуплаты в установленный срок пошлины за поддержание патента в силе
Дата прекращения действия патента: 11.08.2008
Извещение опубликовано: 10.07.2010 БИ: 19/2010
|