|
(21), (22) Заявка: 2006118735/02, 31.05.2006
(24) Дата начала отсчета срока действия патента:
31.05.2006
(46) Опубликовано: 10.02.2008
(56) Список документов, цитированных в отчете о поиске:
RU 2229681 C1, 27.04.2004. RU 2229680 C1, 27.04.2004. RU 2186333 C1, 27.07.2002. US 4004683 A, 25.01.1977.
Адрес для переписки:
117519, Москва, ул. Кировоградская, 1, ФГУП “ФНПЦ “Прибор”, патентное бюро, А.Л. Качалову
|
(72) Автор(ы):
Буланов Владимир Иванович (RU), Гулин Олег Александрович (RU), Иванов Владимир Михайлович (RU), Лазуткин Николай Ермолаевич (RU), Порохин Геннадий Григорьевич (RU), Чижевский Олег Тимофеевич (RU)
(73) Патентообладатель(и):
Федеральное государственное унитарное предприятие “Федеральный научно-производственный центр “Прибор” (RU)
|
(54) ГЕРМЕТИЧНАЯ МЕТАЛЛИЧЕСКАЯ ТАРА
(57) Реферат:
Изобретение относится к упаковке в металлическую быстроразъемную тару с герметичной крышкой артиллерийских малокалиберных патронов, укрепленных в звеньях спирально уложенной ленты для боекомплекта стрельбы из автоматических пушек. Герметичная металлическая тара для укупорки патронов унитарного заряжания, укрепленных в звеньях спиральной ленты, содержит коробчатой формы корпус и крышку с поворотной скобой для переноски, соединенные посредством амортизаторов и рычажно-кулачковых запоров. Новым является то, что рычаги запоров смонтированы на вертикальных скосах по углам корпуса, а направляющие кулачки выполнены в виде открытых петель на концах пластинчатых коромысел, закрепленных на крышке вдоль коротких торцов, при этом каждое коромысло снабжено двумя симметричными зиг-выступами под поворотные скобы. Изобретение позволило увеличить вместимость металлической тары в габаритах штатной того же назначения, при этом увеличилась функциональная надежность при хранении и транспортировке. 3 ил.
Изобретение относится к упаковке боеприпасов в контейнер для хранения и транспортировки, а более конкретно, к герметичной металлической таре с крышкой для упаковки артиллерийских малокалиберных патронов, укрепленных в звенья ленты для боекомплекта стрельбы из автоматических пушек.
Уровень данной области техники характеризует герметичная металлическая тара для укупорки патронов в ленте, описанная в патентах RU 2186333, 2229680 и 22296681, F42В 39/26, в которую упаковываются 30-мм артиллерийские патроны унитарного заряжания. Упаковка боеприпасов в указанных изобретениях рассчитана под геометрию и объем принятой на вооружение штатной металлической тары марки Я-25/30У.
Патроны, предварительно набитые в звенья ленты, свернутой по спирали, размещены внутри металлической тары вертикально и установлены в гнездах двух поперечных перегородок.
Сформированная сборка перетягивается вдоль и поперек бандажом из ошиновочных металлических лент, что удобно для укладки-выемки в тару.
На верхней перегородке подготовленной сборки, помещенной на дно металлической коробки, базируются амортизаторы крышки, которая посредством двух симметрично по бокам расположенных рычажно-кулачковых запоров плотно прижимается к торцу коробки, осуществляя геометрическое и силовое их замыкание в герметичной таре, укладываемой затем в блок деревянной конструкции для транспортирования, складирования и хранения.
Переноску упакованных патронов в герметичной металлической таре осуществляют за поворотную скобу, смонтированную на крышке.
Упаковки по указанным изобретениям в штатную металлическую тару отличаются вместимостью, количеством помещаемых патронов и конструктивными особенностями структурных внутренних элементов сборки.
Так, в таре по патенту 2186333 размещается 20 патронов, причем один патрон устанавливается в поперечных перегородках автономно, вне ленты, а свободное звено ленты фиксируется стержнем-заместителем, который при подготовки ленты к боевому применению заменяется в свободном звене автономно установленным патроном из укупорки.
Эти дополнительные операции снижают мобильность стрельбы.
Упаковка 25 штук 30-мм патронов в штатную тару по патенту 2229680 отличается от вышеописанной тем, что две ветви спиральной ленты в сборке сформированы вдоль большей стороны перегородок к центру, причем перегородки выполнены по форме поперечного сечения металлической коробки. Патроны в ошинованной сборке установлены ориентированными головной частью на дно коробки. Автономно установленный в перегородках патрон расположен внутри спирали ленты.
В этой упаковке, с увеличенной вместимостью на 25%, исключены дополнительные уплотнительные прокладки, что обеспечило рациональное использование внутреннего объема металлической тары при установке в коробку относительной подвижной сборки с последующей жесткой фиксацией ее структурных элементов посредством амортизаторов крышки и рычажно-кулачковых запоров.
Для боевого применения в свободное звено ленты набивают автономный патрон из сборки, что является лимитирующей операцией боеготовности.
Отмеченный недостаток устранен в изобретении RU 2229681, F42В 39/26, 2004 г. на упаковку 25 патронов, ориентированными головной частью к крышке штатной металлической тары, при формировании в сборке обеих ветвей спиральной ленты, согнутой с параллельным перегибом ветвей из трех сопряженных звеньев каждая.
Характерной особенностью этого изобретения, выбранного в качестве наиболее близкого аналога, является то, что все патроны сборки укреплены в звеньях ленты, готовой для боевого применения без дополнительных операций после извлечения из металлической тары.
Недостатком известной штатной металлической тары является нерациональное заполнение габаритов коробки патронами. Это объясняется тем, что на ее боковых сторонах выполнены глубокие поднутрения (выштамповки) под размещение рычажно-кулачковых запоров в закрытом положении для герметичного прижима крышки так, чтобы запоры не выступали за габариты, как предписано в наставлении по эксплуатации. При этом фактически теряется пятая часть внутреннего объема тары из-за реального профиля боковых стенок коробки и физической невозможности заполнить спиралью ленты прямые углы коробки, которые остаются пустыми, балластным объемом при транспортировании и хранении.
Задачей, на решение которой направлено настоящее изобретение, является увеличение вместимости герметичной металлической тары, имеющей габариты штатной, при укупорке патронов, собранных в ленту, свернутую в форме двойной спирали, и вертикально ориентированных при установке в гнездах поперечных перегородок, сопряженных по периметру со стенками коробки.
Требуемый технический результат достигается тем, что в известной герметичной металлической таре для укупорки патронов унитарного заряжания, укрепленных в звеньях спиральной ленты, содержащей корпус и крышку с поворотной скобой для переноски, соединенные посредством амортизаторов и рычажно-кулачковых запоров, согласно изобретению, рычаги запоров смонтированы на вертикальных скосах по углам корпуса, а сопрягаемые кулачки выполнены в виде открытых петель на концах пластинчатых коромысел, закрепленных на крышке вдоль коротких торцов, при этом каждое коромысло снабжено двумя симметричными зиг-выступами под поворотные скобы.
Отличительные признаки обеспечили компактность металлической тары за счет размещения рычажно-кулачковых запоров в геометрически не заполняемом объеме углов.
При этом высвобождается шестая часть полезного объема тары в штатных габаритах от ликвидации на боковых стенках поднутрений для скрытного размещения в них запоров. Вместимость предложенной металлической тары заметно увеличилась: по известной схеме упаковки 30-мм патронов для автоматического гранатомета, укрепленных в спиральной ленте, их количество составляет 28 шт. (на три патрона больше, чем по прототипу).
При увеличении массы укупорки в штатных габаритах металлической тары возникла потребность во второй ручке для ее переноски вдвоем. Шарнирное крепление обеих скоб-ручек по изобретению совмещено с несущими опорами кулачков герметичных запоров и выполнено в виде двух зиг-выступов на каждом несущем пластинчатом коромысле, закрепленном вдоль коротких торцов тары.
Дополнительные рычажно-кулачковые запоры с каждой стороны тары, расположенные на вертикальных скосах по ее углам, обеспечивают более надежное функционирование, так как при несанкционированном раскрытии любого из них герметичность соединения крышки с корпусом коробки сохраняется оставшимися тремя (в прототипе при этом крышка неизбежно открывается, так как отсутствует дублирование запоров на каждой из сторон тары).
Дополнительный рычажно-кулачковый запор с каждой стороны тары в предложенном изобретении служит повышению функциональной надежности укупорки боеприпасов, потому что гарантированно обеспечивается герметичность металлической тары за счет дублирования механического прижима крышки, усилие которого распределено, что упрощает сборку-разборку и технологическое обслуживание.
Предложенная металлическая тара взамен штатной является универсальной для упаковки различных малокалиберных боеприпасов и комплектующих к ним в большем количестве за счет заполнения высвободившегося объема в тех же габаритах тары.
Следовательно, каждый существенный признак необходим, а их совокупность в устойчивой взаимосвязи является достаточной для достижения новизны качества, неприсущей признакам в разобщенности, то есть техническая задача решена не суммой эффектов, а новым эффектом суммы признаков.
Проведенный сопоставительный анализ предложенного технического решения с выявленными аналогами уровня техники, из которого изобретение явным образом не следует для специалиста по боеприпасам, показал, что оно не известно, а с учетом возможности промышленного серийного изготовления герметичной металлической тары можно сделать вывод о соответствии критериям патентоспособности.
Сущность изобретения поясняется чертежами, которые имеют чисто иллюстративное назначение и не ограничивают объема притязаний совокупности признаков формулы. На чертежах изображено:
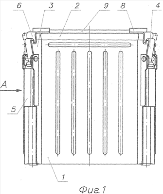
на фиг.1 – металлическая тара в сборе;
на фиг.2 – то же, вид сверху;
на фиг.3 – вид по стрелке А на фиг.1.
Предложенная металлическая тара выполнена в габаритах штатной, марки Я-25/30У, и предназначена для укупорки различных малокалиберных боеприпасов, патронов и гранат унитарного заряжания, установленных в спиральной ленте для автоматической стрельбы, и комплектующих к ним снарядов, взрывателей и т.п.
В примере приведен вариант укупорки 28 шт. гранат унитарного заряжания калибром 30 мм к автоматическому гранатомету, которые установлены в звеньях патронной ленты и зафиксированы в гнездах поперечных перегородок, выполненных по внутреннему профилю тары.
Металлическая тара включает сопрягаемые корпус 1 коробчатой формы и крышку 2, выполненные штамповкой из листа с одновременным формированием ребер жесткости.
За петлевые ручки из тканого материала, уложенные поверх поперечных перегородок, подготовленную сборку патронов в ленте помещают на дно коробки 1 и накрывают приклеенными резиновыми амортизаторами крышки 2 (условно не показаны).
Углы корпуса 1 и крышки 2 срезаны под углом 45° (фиг.2), образуя вертикальные скосы 3 (фиг.1 и 3), на которых смонтированы четыре рычажно-кулачковых запора 4, соответственно рычаги 5 и кулачки 6, взаимодействующие при сборке и жестко связанные в укупорке.
На каждом угловом скосе 3 корпуса 1 установлен рычаг 5, сцепленный с направляющим крючком кулачка 6, представляющего собой открытую петлю в форме зеркального отображения адекватного крючка на рычаге 5.
Кулачки 6 попарно закреплены на концах двух пластинчатых коромысел 7, которые прикреплены к крышке 2 вдоль ее коротких торцов (фиг.2).
На каждом коромысле 7 имеются по два параллельных выступа 8, изготовленных симметрично на зиг-машине, которые предназначены для шарнирного крепления двух прутковых скоб 9, выполняющих функции ручек для переноски упаковки.
За шарнирно смонтированные поворотные скобы 9 возможно переносить упаковку одному человеку при их ориентировании к центру (как показано на фиг.3, поз.9 ), или вдвоем, когда скобы 9 повернуты в поднятом положении к периферии (условно не показано).
Предпочтительна переноска вдвоем по причине большой массы упакованной в металлическую тару сборки из 28 патронов, укрепленных в звеньях спирально сложенной патронной ленты и установленных в гнездах двух параллельных поперечных перегородок.
Для контроля герметичности соединения корпуса 1 с крышкой 2 в последней имеется сквозное отверстие 10, закрытое винтовой пробкой 11, посредством которых можно внутри тары с укупоренными боеприпасами создать разрежение, контролируемую нейтральную атмосферу, что дает дополнительную защиту и сохранность изделиям.
Предложенная конструкция металлической тары проста и надежна в эксплуатации, технологична в изготовлении и характеризуется повышенной емкостью, имея габариты штатной тары.
Ускоренные климатические и транспортные испытания с динамическими нагрузками бросанием на бетонную плиту и грунт с заданной высоты опытных образцов тары по изобретению в полной комплектации укупорки боеприпасами показали полное соответствие техническим условиям и правилам служебного обращения, что дает основание рекомендовать ее для серийного изготовления и постановки на вооружение.
Формула изобретения
Герметичная металлическая тара для укупорки патронов унитарного заряжания, укрепленных в звеньях спиральной ленты, содержащая корпус и крышку с поворотной скобой для переноски, соединенные посредством амортизаторов и рычажно-кулачковых запоров, отличающаяся тем, что рычаги запоров смонтированы на вертикальных скосах, выполненных по углам корпуса, а сопрягаемые кулачки запоров выполнены в виде открытых петель на концах пластинчатых коромысел, закрепленных на крышке вдоль коротких торцов, при этом каждое коромысло выполнено с двумя симметричными зиг-выступами под поворотные скобы.
РИСУНКИ
|