|
| На основании пункта 3 статьи 13 Патентного закона Российской Федерации от 23 сентября 1992 г. № 3517-I патентообладатель обязуется передать исключительное право на изобретение (уступить патент) на условиях, соответствующих установившейся практике, лицу, первому изъявившему такое желание и уведомившему об этом патентообладателя и федеральный орган исполнительной власти по интеллектуальной собственности, – гражданину РФ или российскому юридическому лицу. |
|
(21), (22) Заявка: 2006120105/06, 09.06.2006
(24) Дата начала отсчета срока действия патента:
09.06.2006
(46) Опубликовано: 10.02.2008
(56) Список документов, цитированных в отчете о поиске:
РОМАНКОВ П.Г., РАШКОВСКАЯ Н.Б. Сушка во взвешенном состоянии. – Ленинградское отделение: Химия, 1979, с.154, рис.III.36. SU 943505 А, 15.07.1982. SU 940875 А, 07.07.1982. SU 265709 А, 01.01.1970. RU 2015474 С1, 30.06.1994. GB 2220149 А, 04.01.1990. FR 2784742 А, 21.04.2000.
Адрес для переписки:
123458, Москва, ул. Твардовского, 11, кв.92, О.С. Кочетову
|
(72) Автор(ы):
Кочетов Олег Савельевич (RU), Кочетова Мария Олеговна (RU), Кочетов Сергей Савельевич (RU), Кочетов Сергей Сергеевич (RU)
(73) Патентообладатель(и):
Кочетов Олег Савельевич (RU)
|
(54) СУШИЛЬНАЯ УСТАНОВКА С ВИБРОКИПЯЩИМ СЛОЕМ
(57) Реферат:
Изобретение предназначено для сушки дисперсных материалов и может быть использовано в микробиологической, пищевой, химической и других отраслях промышленности. Сушильная установка содержит сушильную камеру, рабочий орган, калорифер, циклон, вентилятор подачи воздуха, вентилятор отсоса воздуха с заслонкой, лоток, горизонтальный перфорированный лист, расположенный внутри рабочего органа, загрузочный бункер влажного материала со шнековым питателем, вибровозбудитель, фильтр, заслонки на воздуховоде и теплогенератор. Лоток посредством упругой системы базируется на раме. На рабочем органе установлены патрубки загрузки и выгрузки продукта и патрубки подачи нагретого воздуха и его отсоса. Рабочий орган выполнен в виде герметичной оболочки и состоит из двух частей: крышки и жестко соединенного с ней лотка. В плоскости, перпендикулярной оси рабочего органа, крышка имеет профиль, образованный внутренней и внешней полуокружностями, а лоток имеет профиль криволинейной трапеции с большим внешним основанием, равным по величине диаметру внешней полуокружности крышки, вибровозбудитель закреплен на кронштейнах, связанных с нижней частью лотка. На крышке установлены патрубки соответственно для подключения к системам мойки и пожаротушения. Изобретение обеспечивает повышение производительности сушки. 3 ил.
Изобретение относится к технике сушки дисперсных материалов и может быть использовано в микробиологической, пищевой, химической и других отраслях промышленности.
Наиболее близким техническим решением к заявляемому объекту является сушильная установка, описанная в книге Романкова П.Г., Рашковской Н.Б. Сушка во взвешенном состоянии, Ленинградское отделение, «Химия», 1979, с.154, рис.III.36, содержащая сушильную камеру, рабочий орган, калорифер, циклон, вентилятор, лоток, горизонтальный перфорированный лист, причем лоток посредством упругой системы базируется на раме, а на рабочем органе установлены патрубки загрузки и выгрузки продукта и патрубки подачи нагретого воздуха и его отсоса.
Недостаток прототипа – сравнительно невысокая производительность сушки конечного продукта. Кипящий слой обладает рядом недостатков. Так, при сушке высоковлажных и склонных к слипанию материалов в слое возникает неоднородная структура: появляются газовые пузыри, неустойчивые каналы, свищи, что отрицательно сказывается на процессе сушки. Такие явления в кипящем слое вызваны неравномерным распределением газового потока по сечению сушильного пространства, образованием застойных зон и областей взаимодействия материала с сушильным агентом.
Технический результат – повышение производительности сушки за счет устранения неоднородности кипящего слоя путем наложения вибрации на газораспределительную решетку и получения виброкипящего слоя, который позволяет расширить круг обрабатываемых материалов.
Это достигается тем, что сушильная установка содержит сушильную камеру, рабочий орган, калорифер, циклон, вентилятор подачи воздуха, вентилятор отсоса воздуха с заслонкой, лоток, горизонтальный перфорированный лист, расположенный внутри рабочего органа, загрузочный бункер влажного материала со шнековым питателем, вибровозбудитель, фильтр, заслонки на воздуховоде и теплогенератор. Лоток посредством упругой системы базируется на раме. На рабочем органе установлены патрубки загрузки и выгрузки продукта и патрубки подачи нагретого воздуха и его отсоса. Рабочий орган выполнен в виде герметичной оболочки и состоит из двух частей: крышки и жестко соединенного с ней лотка. В плоскости, перпендикулярной оси рабочего органа, крышка имеет профиль, образованный внутренней и внешней полуокружностями, а лоток имеет профиль криволинейной трапеции с большим внешним основанием, равным по величине диаметру внешней полуокружности крышки, вибровозбудитель закреплен на кронштейнах, связанных с нижней частью лотка. На крышке установлены патрубки соответственно для подключения к системам мойки и пожаротушения.
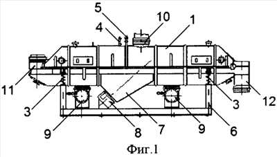
На фиг.1 показан общий вид сушилки вибрационной конвективной с виброкипящим слоем, на фиг.2 – профильная проекция фиг.1, на фиг.3 – схема сушильной установки.
Сушильная установка с виброкипящим слоем включает в себя сушилку вибрационную конвективную типа СВК, которая состоит (см. фиг.1 и 2) из рабочего органа 1 в виде протяженной герметичной оболочки, состоящей из двух частей: крышки, жестко соединенной с лотком, причем в плоскости, перпендикулярной оси рабочего органа 1, крышка имеет профиль, образованный внутренней и внешней полуокружностями, а лоток имеет профиль криволинейной трапеции, с большим внешним основанием, равным по величине с диаметром внешней полуокружности крышки. Внутри рабочего органа 1 расположен горизонтальный перфорированный лист 2. Лоток посредством упругой системы 3 базируется на раме 6. Вибровозбудитель 8 закреплен на кронштейнах 7, связанных с нижней частью лотка. Кроме того, на рабочем органе 1 установлены патрубки загрузки 11 и выгрузки 12 продукта и патрубки подачи 9 нагретого теплоносителя (воздуха) и его отсоса 10, а на крышке установлены патрубки 4 и 5 соответственно для подключения к системам мойки и пожаротушения (на чертеже не показано).
Сушилка типа СВК входит в комплект с спецоборудованием, образуя сушильную установку (см. фиг.3), которая состоит из фильтра 13, заслонки на воздуховоде 14, вентилятора 15 подачи воздуха, теплогенератора 16, собственно сушилки 17, циклона 18, вентилятора 19 отсоса технологического воздуха с заслонкой 20.
Сушильная установка с виброкипящим слоем работает следующим образом.
Воздух подается вентилятором 15 высокого давления, нагревается в теплогенераторе 16 и двумя потоками через патрубки 9 поступает под распределительную решетку в виде горизонтального перфорированного листа 2.
Исходный продукт из бункера 11 питателем загружается на перфорированный лист 2 и, перемещаясь по нему в виброкипящем слое, пересыпается в устройство для его выгрузки через патрубок 12. Отработанный теплоноситель (воздух) очищается от пыли в циклоне 18 и вентилятором 19 выбрасывается в атмосферу.
В результате вибрационного воздействия значительно интенсифицируются многие тепло- и массообменные процессы в сыпучих средах. На предлагаемых вибрационных конвективных сушилках целесообразно сушить следующие пищевые продукты: картофель, свекла, морковь, лук, быстроразваривающиеся крупы, томатные семена, кунжут, зерна, гранулированные комбикорма, сахар, свекловичный жом, пищевая поваренная соль, витамины и др. Из непищевых продуктов целесообразно обрабатывать сыпучие продукты с размером частиц от 0,05 мм до 20…25 мм.
За счет направленной вибрации самой сушилки продукт, поступающий на перфорированный лист 2, виброперемещается по нему от загрузки к выгрузке. Нагретый воздух подается под перфорированный лист и, проходя через него и слой продукта, высушивает продукт. Отработанный теплоноситель (воздух) отсасывается из сушилки через циклон, в котором происходит его очистка от мелких фракций, и вентилятором выбрасывается в атмосферу. Площадь перфорированных листов находится в оптимальном диапазоне величин: от 0,5 м2 до 11 м, а производительность установки по испаренной влаге составляет от 15 кг/ч до 400 кг/ч.
При сушке картофеля кубиками 9×9×9 мм, параллелепипедами 10×10×5 мм и столбиками 6×6 мм при температуре сушильного агента 70…90°С и скорости сушильного агента 1,26 м/с продолжительность сушки составляла 150…210 мин. Полученный продукт соответствует действующим ТУ.
Перспективным является сушка сахара-песка в конвективных сушилках с виброкипящим слоем. По сравнению с барабанными сушилками время сушки сокращается в 33 раза, а съем влаги с единицы объема сушильной камеры увеличивается в 57 раз.
Сравнительные данные сушки зерна в аппарате с виброкипящим слоем и в шахтной сушилке показывают, что при прочих равных условиях время сушки сокращается почти в 2 раза.
Таким образом, предложенные вибрационные сушилки типа СВК являются высокоэффективным оборудованием, которое может успешно применяться в легкой и других отраслях промышленности.
Формула изобретения
Сушильная установка с виброкипящим слоем, содержащая сушильную камеру, рабочий орган, калорифер, циклон, вентилятор подачи воздуха, вентилятор отсоса воздуха с заслонкой, лоток, горизонтальный перфорированный лист, расположенный внутри рабочего органа, причем лоток посредством упругой системы базируется на раме, а на рабочем органе установлены патрубки загрузки и выгрузки продукта и патрубки подачи нагретого воздуха и его отсоса, отличающаяся тем, что она содержит загрузочный бункер влажного материала со шнековым питателем, вибровозбудитель, фильтр, заслонки на воздуховоде, теплогенератор, при этом рабочий орган выполнен в виде герметичной оболочки и состоит из двух частей: крышки и жестко соединенного с ней лотка, причем в плоскости, перпендикулярной оси рабочего органа, крышка имеет профиль, образованный внутренней и внешней полуокружностями, а лоток имеет профиль криволинейной трапеции с большим внешним основанием, равным по величине диаметру внешней полуокружности крышки, вибровозбудитель закреплен на кронштейнах, связанных с нижней частью лотка, на крышке установлены патрубки соответственно для подключения к системам мойки и пожаротушения.
РИСУНКИ
|
|