|
|
(21), (22) Заявка: 2006123042/03, 28.06.2006
(24) Дата начала отсчета срока действия патента:
28.06.2006
(46) Опубликовано: 10.02.2008
(56) Список документов, цитированных в отчете о поиске:
RU 2132997 С1, 10.07.1999. RU 2098718 С1, 10.12.1997. RU 50219 U1, 27.12.2005. RU 23875 U1, 20.07.2002. JP 2000329327 А, 30.11.2000. JP 2002180061 А, 26.06.2002.
Адрес для переписки:
197046, Санкт-Петербург, Каменноостровский пр., 1/3, офис 30, ООО “Юридическая фирма Городисский и Партнеры”, Филиал в г. Санкт-Петербурге, Н.В.Потаниной
|
(72) Автор(ы):
Улько Борис Николаевич (RU), Стребков Дмитрий Семенович (RU), Бурганов Фарит Салихович (RU)
(73) Патентообладатель(и):
Улько Борис Николаевич (RU)
|
(54) УСТАНОВКА ДЛЯ ПЕРЕРАБОТКИ ГОРЮЧИХ ТВЕРДЫХ ОТХОДОВ
(57) Реферат:
Изобретение относится к области переработки горючих отходов. Установка для переработки твердых горючих отходов содержит высокотемпературный реактор, соединенный с реактором пиролиза, имеющим камеру обогрева. При этом реактор пиролиза выполнен вертикально ориентированным и имеет две соосно расположенные камеры пиролиза. Первая камера пиролиза имеет наружный и внутренний коаксиально расположенные корпуса со щелевым кольцевым каналом между ними, являющимся камерой обогрева, которая соединена с высокотемпературным реактором. Выход щелевого кольцевого канала расположен внутри второй камеры пиролиза. Обе камеры пиролиза имеют бункеры для сбора и вывода коксозольного остатка, патрубки для подачи сырья и патрубки для выхода продуктов пиролиза. В приосевой зоне первой камеры пиролиза расположена продольно ориентированная труба, выход которой снабжен мелкодисперсным распылителем. Технический результат заключается в улучшении качества переработки отходов пиролизом. 5 табл., 1 ил.
Изобретение относится к области переработки горючих твердых бытовых и промышленных отходов, в том числе полиэтилена, пластмасс, пищевых отходов, тканей, сухой биомассы, отходов деревообработки, например опилок, коры и т.д., с получением в качестве конечных продуктов дизельного топлива, бензина, синтез-газа.
Известно устройство для переработки твердых отходов [Патент РФ № 2076272], содержащее горизонтально расположенный корпус, средства для подачи сырья и выгрузки коксозольного остатка, расположенную снаружи корпуса обогревательную камеру с топкой (высокотемпературным реактором) и средствами для подачи и сжигания топлива, подачи воздуха и вывода продуктов сгорания. Установка снабжена разновеликими подвижными перемычками, прикрепленными к верхней стенке корпуса, делящими его внутренний объем на зоны сушки, пиролиза и дожигания. Верхняя часть зоны дожигания соединена внешним каналом с нижней частью зоны пиролиза, верхняя часть зоны пиролиза соединена внешним каналом с нижней частью зоны сушки, а верхняя часть зоны сушки соединена внешним каналом с топкой. Недостатком данного устройства является то, что при неоднородности поступающего на переработку исходного сырья имеют место значительные колебания в количестве и калорийности газообразных продуктов, выделяющихся при пиролизе и поступающих затем в топку устройства. А поскольку тепловой потенциал сжигаемых в топке продуктов, передаваемый затем дымовыми газами в зону пиролиза через стенку устройства, является источником основной части тепловой энергии, необходимой для осуществления процесса пиролиза, происходит либо затухание процесса при слишком низкой калорийности сырья, либо, наоборот, его чрезмерная интенсификация при высокой калорийности, приводящая к неуправляемому “разгону” процесса и нерасчетному росту температур, следствием чего может стать разрушение конструкции.
В качестве прототипа выбрано устройство для переработки твердых отходов [Патент РФ №2132997], содержащее горизонтальный корпус, средства для подачи отходов (шнек) и выгрузки коксозольного остатка. Снаружи корпуса имеется обогревательная камера, соединенная с высокотемпературным реактором со средствами для подачи и сжигания топлива и пиролизного газа, подачи воздуха и вывода продуктов сгорания. Стенки корпуса со стороны обогревательной камеры снабжены подвижными перегородками, оси поворота которых перпендикулярны продольной оси корпуса, а их ширина равна или меньше величины зазора между стенками корпуса и обогревательной камеры. Расстояние между осями поворота двух смежных перегородок равно или меньше их ширины. Перегородки снабжены биметаллическими поворотными устройствами. При работе устройства-прототипа дымовые газы, образующиеся в топке при сжигании топлива, проходят через обогревательную камеру и через стенки корпуса нагревают находящиеся в корпусе перерабатываемые отходы. В результате сырье вначале сушится, а затем по мере прогрева подвергается пиролизу. Пиролиз происходит в присутствии воздуха, который подается посредством специального средства. Газообразные продукты разложения поступают в высокотемпературный реактор, замещая часть топлива. Положение перегородок определяется температурой внутри корпуса. При низких температурах перегородки частично перекрывают внутренний объем корпуса, образуя лабиринтные проходы для движения пиросинтез-газа, который направляется противотоком подаваемому сырью. При высоких температурах перегородки занимают положение, не препятствующее прямому прохождению газа по внутреннему объему камер. Основным недостатком прототипа является то, что получаемый пиросинтез-газ используется только на собственные нужды для обеспечения процесса горения в топке. На выходе устройства получают дымовые газы и коксозольный остаток.
В основу изобретения поставлена задача – обеспечение переработки горючих отходов с получением товарной продукции – углеводородов, а именно бензина, дизельного топлива, горючих газов, а также твердых углеродсодержащих фракций (технического углерода, коксозольного остатка)
Поставленная задача решается изменением конструкции установки.
Установка для переработки твердых горючих отходов имеет в своем составе высокотемпературный реактор, соединенный с реактором пиролиза. От прототипа установка отличается тем, что реактор пиролиза выполнен вертикально ориентированным и имеет две соосно расположенные камеры пиролиза. Обе камеры снабжены перемешивающими устройствами. Первая камера пиролиза имеет наружный и внутренний коаксиально расположенные корпуса со щелевым кольцевым каналом между ними, который является камерой обогрева и соединен с высокотемпературным реактором. Выход щелевого кольцевого канала расположен внутри второй камеры пиролиза. Первая камера пиролиза в донной части имеет бункер со шлюзовой камерой для сбора и вывода коксозольного остатка. В верхней части первой камеры пиролиза имеется патрубок для подачи сырья и патрубок для выхода продуктов пиролиза, снабженный запорным клапаном. В осевой зоне первой камеры пиролиза расположена, по меньшей мере, одна продольно ориентированная труба, вход которой расположен в донной части камеры обогрева. Выход трубы снабжен мелкодисперсным распылителем и расположен в донной части второй камеры пиролиза. В верхней части второй камеры пиролиза расположен патрубок для подачи сортированного сырья и патрубок для выхода продуктов пиролиза. В донной части второй камеры пиролиза имеется бункер для вывода коксозольного остатка.
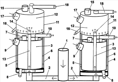
Более подробно сущность изобретения раскрывается в приведенном ниже примере реализации и поясняется чертежом, на котором схематично представлена установка.
Установка для переработки твердых горючих отходов содержит высокотемпературный реактор 1, который трубопроводом 2 соединен с реактором пиролиза. Реактор пиролиза состоит из двух соосно расположенных камер пиролиза, с общим вертикально ориентированным цилиндрическим водоохлаждаемым кожухом (не показан). В одной установке к одному высокотемпратурному реактору может быть подключено два реактора пиролиза.
Первая камера 3 реактора пиролиза имеет наружный корпус 4 и коаксиальный ему внутренний корпус 5 (конструкция «стакан в стакане»). Между корпусами 4, 5 расположен щелевой кольцевой цилиндрический канал 6, который является камерой обогрева первой камеры пиролиза и соединен трубопроводом 2 с высокотемпературным реактором 1. Внутри первой камеры 3 пиролиза расположено перемешивающее устройство (не показано, а показан его привод 7). В донной части корпуса первой камеры пиролиза имеется бункер 8 для сбора и вывода коксозольного остатка, снабженный шлюзовой камерой. В верхней части первой камеры 3 имеется патрубок 9 для подачи перерабатываемого сырья и патрубок 10 для вывода газообразных продуктов пиролиза. Патрубок 10 снабжен регулируемым запорным клапаном (не показан). Продолжением корпуса 4 первой камеры является корпус 11 второй камеры 12 пиролиза, а щелевой кольцевой канал 6 выходит внутрь второй камеры 13 пиролиза, в ее придонную часть. По оси или в приосевой зоне первой камеры 3 пиролиза размещена продольно ориентированная труба 13. Ее вход расположен в донной части камеры обогрева и, таким образом, она соединена с высокотемпературным реактором 1. Выход трубы 13 снабжен мелкодисперсным распылителем 14 и расположен в донной части второй камеры 12 пиролиза. В первой камере 3 пиролиза может быть размещено несколько продольно ориентированных труб подобно тому, как размещена труба 13. Вторая камера 12 пиролиза, как и первая, снабжена перемешивающим устройством (не показано, а показан его привод 15) и бункером 16 для сбора и вывода коксозольного остатка. В верхней части второй камеры 12 имеется патрубок 17 для подачи сортированного перерабатываемого сырья (твердых горючих отходов) и патрубок 18 для вывода продуктов пиролиза.
Установка работает следующим образом.
Горючая смесь, состоящая преимущественно из горючего газа (метана) и воздуха при избытке горючего (коэффициент избытка кислорода составляет =0,5-0,6), подается в высокотемпературный реактор 1, где при температуре 1400-1600°С осуществляется горение с образованием рабочего тела, состоящего из смеси газов: СО, СО2, Н2, N2 и других газов. Разогретые газы через трубопровод 2 поступают в щелевой кольцевой канал 6 между стенками первой камеры пиролиза, являющийся камерой обогрева. Одновременно разогретый газовый поток устремляется в трубу 13. При этом происходит равномерный нагрев внутреннего объема первой камеры пиролиза радиальными встречными потоками: от стенок к продольной оси и от осевой трубы 13 к стенкам.
От твердых отходов предварительно отделяют металлы, камни, стекло, сухую штукатурку, песок, глину и т.д., оставляя горючие бытовые отходы, предназначенные для переработки в первой камере 3 пиролиза. При необходимости очищенное сырье измельчают. Загрузка идет сверху через патрубок 9. Ссыпаясь, сырье попадает на лопасти перемешивающего устройства и дополнительно разрыхляется и размельчается. При выходе на рабочий режим температура внутри первой камеры 3 пиролиза достигает 400°-500°С, а давление составляет 0,1-2,0 МПа и определяется регулировкой запорного клапана. В первой камере 3 пиролиза происходит высокоскоростной нагрев горючего сырья, сопровождающийся деструкцией высокомолекулярных компонентов сырья. Образовавшиеся газообразные продукты пиролиза при достижении в камере заданного давления выводятся через патрубок 10, т.к. срабатывает его запорный клапан. Дальнейшая переработка полученной газовой фазы продуктов пиролиза осуществляется традиционными методами и не является предметом настоящего изобретения. Образовавшиеся твердые коксозольные остатки ссыпаются в бункер 8 и по мере накопления удаляются из него. При этом сырье продолжает поступать на переработку в первую камеру 3 непрерывно.
Создаваемое повышенное давление в камере 3 ускоряет процесс сухого пиролиза, улучшает тепловой обмен между стенками реактора и сырьем, а также внутри объема самого сырья, так как увеличивается плотность массы в единице объема. Таким образом, при увеличении давления в камере 3 ускоряется и улучшается сам процесс пиролиза, происходит процесс интенсификации пиролиза сырья, что способствует улучшению качества жидкой фракции дизельного топлива. При этом процесс пиролиза происходит без контакта с рабочим телом.
Одновременно во второй камере 12 происходит пиролиз сортированного сырья, которое подается из верхнего патрубка 17. Ссыпаясь, сырье попадает на лопасти перемешивающего устройства и дополнительно разрыхляется и размельчается. В качестве сырья во второй камере используют отходы полиэтилена и древесные отходы (например, опилки), при этом количество древесных отходов составляет не менее 30%. Процесс пиролиза происходит в присутствии водорода, который имеется в рабочем теле, поступающем из мелкодисперсного распылителя 14 и щелевого кольцевого зазора 6. При такой организации пиролиза полиэтилена и древесных отходов образуется бензин и дизельное топливо до 80% от массы перерабатываемого сырья и до 11% пиролизного газа, остальное – сажа (технический углерод). Сырье во вторую камеру 12 подается непрерывно и процесс пиролиза идет непрерывно. Температура во второй камере 12 несколько ниже – 390-430°С. Обогрев и подача продуктов высокотемпературного реактора осуществляется за счет кольцевого дутья снизу вдоль стенок камеры (из кольцевого щелевого зазора первой камеры), а также привносится дутьем из распылителя 14 на конце трубы 13. Таким образом, во второй камере 12 пиролиза происходит интенсивное движение сырья как за счет механического перемешивания, так и за счет воздействия турбулизирующих газовых потоков. Пиролиз происходит в псевдоожиженном слое. Газообразные продукты пиролиза из второй камеры 12 выводятся через патрубок 18, а твердый остаток – через бункер 16. Во второй камере 12 можно осуществлять пиролиз только опилок или только полиэтилена. При пиролизе одного полиэтилена выход бензина и дизельного топлива в три раза меньше, чем в присутствии опилок.
Разделение на фракции полученной на выходе парогазовой смеси производится традиционным способом.
В процессе работы реактора осуществляется охлаждение всех частей его корпуса пропусканием хладагента, например воды в зазоре между стенками кожуха.
Работа установки проверена на различном исходном сырье. Ниже приведены примеры испытаний. Во всех примерах промышленные или бытовые отходы предварительно измельчали в вибромельнице до фракции 40 мкм. Результаты испытаний сведены в таблицы.
Пример №1.
Переработка несортированного мусора, т.е. переработка бытовых и промышленных углеродсодержащих горючих отходов, в первой камере реактора пиролиза. Температура в камере пиролиза – 400°С, давление – атмосферное, рабочее тело (водород) в камере отсутствует.
| № п/п |
Сырье |
% в отходах |
Наименование фракции полученного продукта |
% выхода |
| 1 |
Древесные отходы |
25 |
Бензиновая |
15 |
| 2 |
Полиэтилен |
25 |
Дизельная |
25 |
| 3 |
Картон, бумага |
40 |
Газовая |
15 |
| 4 |
Текстиль |
10 |
Коксозольный остаток |
45 |
Пример №2.
Переработка несортированного мусора, т.е. переработка бытовых и промышленных горючих отходов, в первой камере реактора пиролиза.
Температура в камере – 400°С, давление – атмосферное, рабочее тело (водород) в камере отсутствует.
| № п/п |
Сырье |
% в отходах |
Наименование фракции полученного продукта |
% выхода |
| 1 |
Древесные отходы |
30 |
Бензиновая |
20 |
| 2 |
Полиэтилен |
30 |
Дизельная |
35 |
| 3 |
Картон, бумага |
20 |
Газовая |
25 |
| 4 |
Текстиль |
20 |
Коксозольный остаток |
20 |
Пример №3.
Переработка несортированного мусора, т.е. переработка бытовых и промышленных горючих отходов, в первой камере реактора пиролиза. Температура в камере – 450°С, давление – атмосферное, рабочее тело (водород) в камере отсутствует.
| № п/п |
Сырье |
% в отходах |
Наименование фракции полученного продукта |
% выхода |
| 1 |
Древесные отходы |
25 |
Бензиновая |
5 |
| 2 |
Полиэтилен |
20 |
Дизельная |
10 |
| 3 |
Картон, бумага |
35 |
Газовая |
45 |
| 4 |
Текстиль |
20 |
Коксозольный остаток |
40 |
Пример №4.
Переработка сортированного мусора во второй камере реактора пиролиза. В качестве полимеров использовались измельченные бутылки, пленки и другие отходы. Температура во второй камере – 360°С, давление – 0,2 МПа.
Процесс пиролиза походил при контакте с рабочим телом, т.е в присутствии водорода.
| № п/п |
Сырье |
% в отходах |
Наименование фракции полученного продукта |
% выхода |
| 1 |
Древесные отходы |
50 |
Бензиновая |
20 |
| 2 |
Полиэтилен и др. полимеры |
50 |
Дизельная |
20 |
| 3 |
|
|
Газовая |
25 |
| 4 |
|
|
Технический углерод |
35 |
Пример №5.
Переработка сортированного мусора во второй камере реактора пиролиза, в качестве полимеров использовались измельченные бутылки, пленки и другие отходы. Температура пиролиза – 400°С, давление – 0,2 МПа.
Процесс пиролиза походил при контакте с рабочим телом, т.е в присутствии водорода.
| № п/п |
Сырье |
% в отходах |
Наименование фракции полученного продукта |
% выхода |
| 1 |
Древесные отходы |
50 |
Бензиновая |
30 |
| 2 |
Полиэтилен и др. полимеры |
50 |
Дизельная |
35 |
| 3 |
|
|
Газовая |
5 |
| 4 |
|
|
Технический углерод |
30 |
Таким образом, двухкамерная конструкция реактора пиролиза позволяет осуществлять переработку твердых бытовых и промышленных отходов с различными физико-химическими характеристиками. При этом на выходе получается товарная продукция – углеводороды, а именно бензин, дизельное топливо, горючие газы, а также твердые углеродсодержащие фракции (технический углерод, коксозольный остаток) с высоким выходом полезной продукции.
В качестве примера можно привести Калининград, в котором из 1000 тонн суточной нормы отходов 10% составляет древесные отходы и отходы полиэтилена.
Из этого количества твердых горючих отходов можно получить 80 тонн высококачественного бензина и дизельного топлива.
Формула изобретения
Установка для переработки твердых горючих отходов, имеющая в своем составе высокотемпературный реактор, соединенный с реактором пиролиза, имеющим камеру обогрева, отличающаяся тем, что реактор пиролиза выполнен вертикально ориентированным и имеет две соосно расположенные камеры пиролиза, снабженные перемешивающими устройствами, первая камера пиролиза имеет наружный и внутренний коаксиально расположенные корпуса со щелевым кольцевым каналом между ними, являющимся камерой обогрева, которая соединена с высокотемпературным реактором, выход щелевого кольцевого канала расположен внутри второй камеры пиролиза, первая камера пиролиза в донной части имеет бункер со шлюзовой камерой для сбора и вывода коксозольного остатка, в верхней части первой камеры пиролиза имеется патрубок для подачи сырья и патрубок для выхода продуктов пиролиза, снабженный запорным клапаном, в приосевой зоне первой камеры пиролиза расположена, по меньшей мере, одна продольно ориентированная труба, вход которой расположен в донной части камеры обогрева, а выход трубы, снабженный мелкодисперсным распылителем, расположен в донной части второй камеры пиролиза, при этом в верхней части второй камеры пиролиза расположен патрубок для подачи сортированного сырья и патрубок для выхода продуктов пиролиза, а в донной части второй камеры пиролиза имеется бункер для вывода коксозольного остатка.
РИСУНКИ
|
|