|
|
(21), (22) Заявка: 2006127211/06, 26.07.2006
(24) Дата начала отсчета срока действия патента:
26.07.2006
(46) Опубликовано: 10.02.2008
(56) Список документов, цитированных в отчете о поиске:
SU 1672101 A1, 23.08.1991. RU 2225567 C1, 10.03.2004. RU 2177584 C2, 27.12.2001. SU 1139940 A1, 15.02.1975. US 5582012 A, 10.12.1996.
Адрес для переписки:
305040, г.Курск, ул. 50 лет Октября, 94, КурскГТУ, ОИС
|
(72) Автор(ы):
Кобелев Николай Сергеевич (RU), Ежов Владимир Сергеевич (RU), Емельянов Сергей Геннадьевич (RU), Щедрина Ольга Юрьевна (RU), Семичева Наталья Евгеньевна (RU), Ишков Павел Николаевич (RU), Насенков Игорь Витальевич (RU)
(73) Патентообладатель(и):
Государственное образовательное учреждение высшего профессионального образования “Курский государственный технический университет” (RU)
|
(54) ГАЗОРАСПРЕДЕЛИТЕЛЬНАЯ СТАНЦИЯ
(57) Реферат:
Изобретение относится к газовой технике, в частности к газораспределительным станциям для снижения давления газа в газопроводе. Газораспределительная станция содержит блок управления, технологический блок с газопроводами высокого и низкого давления и емкость сбора конденсата, соединенную газопроводом высокого давления и через запорный орган с газопроводом низкого давления. На газопроводе высокого давления последовательно установлены эжектор и вихревая труба, а на газопроводе низкого давления установлен теплообменник. Выход эжектора соединен со входом вихревой трубы, а выход холодного потока вихревой трубы соединен с конденсатоотводчиком, и выход горячего потока ее – с выходом теплообменника, причем выход теплообменника соединен с камерой смешивания эжектора. Технической задачей изобретения является повышение надежности работы газораспределительной станции, особенно при отрицательных температурах окружающей газопровод среды, за счет термодинамического расслоения газа, поступающего из газопровода высокого давления на «горячий» и «холодный» потоки, последующего более полного отделения конденсата и снижение энергетического уровня дросселирования с частичным подогревом газа в газопроводе низкого давления. 1 ил.
Изобретение относится к газовой технике, в частности к газораспределительным станциям для снижения давления газа в газопроводе.
Известна газораспределительная станция ГРС 10М (см. ТУ 51. УзССР 2-86. Схема комбинированная принципиальная 51-01. 1-046. С. Ташкент. СКТБ «Уз-газтехника». 1986), содержащая блок управления, технологический блок с газопроводами высокого и низкого давлений и емкость сбора конденсата, соединенную с газопроводом высокого давления.
Недостатком является невысокая надежность работы и КПД станции.
Известна газораспределительная станция (см. а.с. СССР №1672101. МКл. F17D 1/00. 1991. Бюл. №31), содержащая блок управления, технологический блок с газопроводом высокого и низкого давления и емкость сбора конденсата, соединенную с газопроводом высокого давления и через запорный орган с газопроводом низкого давления.
Недостатком является высокая степень вероятности обмерзания дросселирующих устройств в технологическом блоке из-за явления эффекта Джоуля-Томпсона при дросселировании газа высоконасыщенного паро- и каплеобразующей влагой, а также последующего образования конденсатных пробок в газопроводе низкого давления, особенно при отрицательных температурах окружающей среды, что может привести к аварийным ситуациям.
Технической задачей предлагаемого изобретения является повышение надежности работы газораспределительной станции, особенно при отрицательных температурах окружающей газопровод среды, за счет термодинамического расслоения газа, поступающего из газопровода высокого давления на «горячий» и «холодный» потоки, последующего более полного отделения конденсата и снижение энергетического уровня дросселирования с частичным подогревом газа в газопроводе низкого давления.
Технический результат по повышению надежности работы и устранения образования конденсатных пробок в газопроводе низкого давления достигается тем, что газораспределительная станция, содержащая блок управления, технологический блок с газопроводами высокого и низкого давления и емкость сбора конденсата, соединенную газопроводом высокого давления и через запорный орган с газопроводом низкого давления, на газопроводе высокого давления последовательно установлены эжектор и вихревая труба, а на газопроводе низкого давления установлены теплообменник, при этом выход эжектора соединен со входом вихревой трубы, а выход холодного потока вихревой трубы соединен с конденсатоотводчиком, и выход горячего потока ее – с выходом теплообменника, причем выход теплообменника соединен с камерой смешивания эжектора.
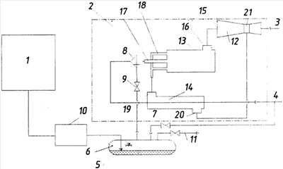
На чертеже представлена принципиальная схема газораспределительной станции.
Газораспределительная станция содержит блок 1 управления, технологический блок 2 с газопроводами высокого 3 и низкого 4 давления и емкость 5 сбора конденсата, соединенную с газопроводом 3 высокого давления. Газовая полость 6 в емкости 5 сбора конденсата дополнительно соединена через запорный орган 7 с газопроводом 4 низкого давления. Кроме того, газопровод 3 высокого давления связан с газовой полостью в емкости 5 сбора конденсата через конденсатоотводчик 8 и кран 9. В линии связи блока 1 управления и емкости 5 установлен датчик 10 уровня, кран 11 соединяет газопроводом полость 6 с атмосферой. На газопроводе высокого давления 3 последовательно установлены эжектор 12 и вихревая труба 13, а на газопроводе низкого 4 давления установлен теплообменник 14, при этом выход 15 эжектора 12 соединен с входом 16 вихревой трубы 13. Выход 17 холодного потока вихревой трубы 13 соединен с конденсатоотводчиком 8, а выход 18 горячего потока вихревой трубы 13 соединен с входом 19 теплообменника 14, причем выход 20 теплообменника 14 соединен с камерой смешивания 21 эжектора 12.
Газораспределительная станция работает следующим образом. Газ по газопроводу 3 высокого давления поступает в технологический блок 2, проходит по эжектору 12 и из его выхода 15 поступает во вход 16 вихревой трубы 13. В результате термодинамического расслоения (см., например, Меркулов А.П. Вихревой эффект и его применение в промышленности. Куйбышев, 1969) в вихревой трубе 13 газ, поступающий из эжектора 12, разделяется на периферийный горячий поток (температура потока превышает температуру газа, поступающего в вихревую трубу 13) и осевой холодный поток (температура потока ниже температуры газа, поступающего в вихревую трубу 13). Холодный поток газа (объемом не менее 80% от общего объема газа, поступающего в вихревую трубу 13) с конденсатом, полученным как в процессе охлаждения парообразующей влаги при термодинамическом расслоении газа, так и сопутствующий движущемуся газу по газопроводу высокого давления, проходит через конденсатоотводчик 8, где происходит отбор конденсата с последующим его самотеком через кран 9 по трубопроводу в емкость 5 сбора конденсата. При заполнении емкости 5 до определенного уровня (например, 0,75 объема) от датчика 10 уровня поступает сигнал в блок 1 управления о необходимости опорожнить емкость 5. Для опорожнения емкости 5 закрывается кран 9 и открывается запорный орган 7. Газ, находящийся в емкости 5, поступает в газопровод 4 низкого давления, и тем самым в емкости 5 для сбора конденсата давление снижается. Это позволяет перекачивать находящийся там конденсат в забирающее устройство, например в автоцистерну, перекрывая запорный орган 7 и открывая кран 11.
Очищенный от конденсата холодный поток газа с давлением, более низким, чем давление газа на входе 16 вихревой трубы 13 (принцип работы вихревой трубы), поступает в теплообменник 14, куда одновременно из выхода 18 горячего потока вихревой трубы 13 во вход 19 теплообменника 14 поступает газ с повышенной температурой по сравнению с температурой газа, поступающей по газопроводу 3 высокого давления в вихревую трубу 13, и рекуперативно передает тепло газу, движущемуся от конденсатоотводчика, повышая его температуру перед редуцированием. В результате в дросселирующее устройство технологического блока 2 поступает газ с уменьшенным давлением (холодный поток после вихревой трубы 13) и частично нагретый в теплообменнике 14, что увеличивает надежность работы дросселирующего устройства, т.к. сопутствующий данному процессу эффект Джоуля-Томпсона (см., например, Нащокин В.В. Техническая термодинамика и теплопередача. М., 1980) не вызовет с большей степенью вероятности (по сравнению с прототипом) появление инея и даже обмерзания конденсирующейся влаги.
Горячий поток газа из выхода 20 теплообменника 14 направляется в камеру смешивания 21 эжектора 12 и, смешиваясь с газом, поступающим в эжектор 12 из газопровода 3 высокого давления, вновь направляется в вихревую трубу. Использование эжектора 12 позволяет предотвратить потери газа, термодинамически расслоенного в вихревой трубе 13 на холодный осевой поток и горячий периферийный поток (около 20%).
Оригинальность предлагаемого изобретения по повышению надежности работы, особенно при отрицательных температурах окружающей среды и повышенном конденсатосодержании в транспортируемом газе, заключается в том, что дополнительное введение в технологический блок эжектора, вихревой трубы и теплообменника позволяет без дополнительных энергозатрат, а лишь за счет использования перепада давлений между газопроводом высокого и низкого давления (данная энергоемкость в настоящее время на газораспределительных станциях не используется) обеспечивать устранение вероятности образования конденсатных пробок, обмерзания элементов и оборудования газораспределительной станции, что предотвращает наличие аварийных ситуаций, т.е. дает значительный экономический эффект в условиях длительной эксплуатации.
Формула изобретения
Газораспределительная станция, содержащая блок управления, технологический блок с газопроводами высокого и низкого давления и емкость сбора конденсата, соединенную с газопроводом высокого давления и через запорный орган с газопроводом низкого давления, отличающаяся тем, что на газопроводе высокого давления последовательно установлены эжектор и вихревая труба, а на газопроводе низкого давления установлен теплообменник, при этом выход эжектора соединен с входом вихревой трубы, а выход холодного потока вихревой трубы соединен с конденсатоотводчиком и выход горячего потока ее с входом теплообменника, причем выход теплообменника соединен с камерой смешивания эжектора.
РИСУНКИ
MM4A – Досрочное прекращение действия патента СССР или патента Российской Федерации на изобретение из-за неуплаты в установленный срок пошлины за поддержание патента в силе
Дата прекращения действия патента: 27.07.2008
Извещение опубликовано: 10.07.2010 БИ: 19/2010
|
|