|
(21), (22) Заявка: 2005106266/06, 04.08.2003
(24) Дата начала отсчета срока действия патента:
04.08.2003
(30) Конвенционный приоритет:
07.08.2002 EP 02425518.4
(43) Дата публикации заявки: 27.10.2005
(46) Опубликовано: 10.02.2008
(56) Список документов, цитированных в отчете о поиске:
ЕР 0581678 А1, 02.02.1994. ЕР 0728979 A1, 28.08.1996. DE 19545361 A1, 12.06.1997. WO 01/73330 A2, 04.10.2001. RU 2047807 C1, 10.11.1995.
(85) Дата перевода заявки PCT на национальную фазу:
09.03.2005
(86) Заявка PCT:
IB 03/03111 (04.08.2003)
(87) Публикация PCT:
WO 2004/015324 (19.02.2004)
Адрес для переписки:
129010, Москва, ул. Б.Спасская, 25, стр.3, ООО “Юридическая фирма Городисский и Партнеры”, пат.пов. Г.Б. Егоровой, рег.№ 513
|
(72) Автор(ы):
ВИЗЕНТИН Эрос (IT)
(73) Патентообладатель(и):
ЭММЕТИ СПА (IT)
|
(54) МОНОБЛОКОВОЕ СОЕДИНЕНИЕ ДЛЯ ТРУБ
(57) Реферат:
Изобретение относится к соединениям трубчатых элементов. Моноблоковое соединение для соединения первого трубчатого элемента со вторым трубчатым элементом содержит наружный корпус, первый внутренний элемент и второй внутренний элемент, соосные друг с другом. Внутренний элемент выполнен с возможностью его упругого деформирования, чтобы зажимать конец первого трубчатого элемента, когда наружный корпус крепится ко второму трубчатому элементу. Второй внутренний элемент на своей поверхности имеет, по меньшей мере, открытую часть, и на поверхности наружного корпуса выполнено отверстие, выполненное с возможностью его совмещения с открытой частью для обеспечения возможности проверки снаружи наличия конца первого трубчатого элемента и проверки правильной его вставки. Изобретение повышает надежность соединения. 9 з.п. ф-лы, 1 ил.
Область техники
Настоящее изобретение относится к моноблоковому соединению для соединения вместе двух трубчатых элементов, обеспечивающему идеальное гидравлическое уплотнение и механическую устойчивость. Изобретение предпочтительно, но не исключительно, применимо для соединения двух концов труб, выполненных из разного материала, например одной металлической трубы и одной неметаллической трубы; такой как резиновая труба или пластмассовая труба, и резьбовой металлический патрубок гидравлического устройства. В частности, моноблоковое соединение согласно настоящему изобретению позволяет пользователю до закрепления соединения навинчиванием или с помощью крепления другого типа выполнить визуальную проверку правильности полной вставки в соединение первого соединяемого трубчатого элемента. При этом устраняется риск недостаточного гидравлического уплотнения и также предотвращается открепление первого трубчатого элемента при прохождении через него жидкости под давлением.
Уровень техники
Известны многие соединения для соединения с уплотнением двух трубчатых элементов, например неподвижной металлической трубы гидравлического устройства и съемной резиновой трубы.
Такие соединения должны гарантировать полное уплотнение даже в случае прохождения жидкостей под большим давлением и обеспечивать стабильную устойчивость в смысле исключения возможности открепления с течением времени.
В частности, известно моноблоковое соединение, описанное в патенте Италии №1,235,095, владельцем которого является данный заявитель.
Описанное моноблоковое соединение содержит первый внутренний элемент и второй внутренний элемент, взаимодействующий с концом первого трубчатого элемента, и наружный корпус, имеющий внутреннюю резьбу, навинчиваемую на резьбовой конец второго трубчатого элемента, причем эти три элемента соединения являются соосными.
Соединяемая труба сначала вставляется в гнездо, выполненное между двумя внутренними элементами.
Второй внутренний элемент является элементом упругодеформируемым и на своей внутренней поверхности предпочтительно имеет средство, улучшающее захват.
Когда наружный корпус навинчивается на второй трубчатый элемент, то второй внутренний элемент затягивается за счет деформации относительно конца первого трубчатого элемента, зажимая его.
Моноблоковое соединение является соединением неподвижного типа и поэтому имеет тот недостаток, что не позволяет проверить до закрепления соединения правильную и полную вставку первого трубчатого элемента относительно опорной поверхности корпуса.
Фактически, если конец первого трубчатого элемента упирается в улучшающее захват средство или если он не вставлен до конца своего хода, то имеется риск того, что захватывающая поверхность второго внутреннего элемента будет недостаточной, чтобы гарантировать стабильную устойчивость соединения с течением времени.
В документе ЕР-А-0.581.678 описано соединение для трубчатых элементов согласно ограничительной части п.1 формулы изобретения, содержащее наружный корпус, первый внутренний элемент и второй внутренний элемент, соосные друг с другом и выполненные с возможностью предварительной сборки в виде единого блока. Наружный корпус выполнен с возможностью прикрепления к соединяемому первому трубчатому элементу, и концевая часть второго трубчатого элемента расположена внутри второго внутреннего элемента и взаимодействует с первым внутренним элементом, при этом второй внутренний элемент выполнен с возможностью его упругой деформации для зажима концевой части второго трубчатого элемента в момент, когда наружный корпус крепится к первому трубчатому элементу. Однако в этом документе не раскрыты какие-либо средства проверки правильной вставки второго трубчатого элемента внутри соединения.
В документах DE-A-19545361 и WO-А-01/73330 описан другой тип соединения или сборки, согласно которому один из его элементов имеет отверстие для осмотра его внутреннего состояния. Но в этих документах не раскрыто использование отверстия в наружном элементе, которое можно совместить с открытой частью внутреннего элемента для обеспечения возможности проверки снаружи присутствия концевой части первого трубчатого элемента, соединяемого со вторым трубчатым элементом.
Заявитель разработал и осуществил настоящее изобретение для устранения этого недостатка известного уровня техники и обеспечения других преимуществ.
Сущность изобретения
Настоящее изобретение излагается и характеризуется по существу в основном пункте формулы изобретения, и зависимые пункты формулы включают другие новые признаки изобретения.
Задача настоящего изобретения заключается в обеспечении моноблокового соединения упоминаемого выше типа, которое обеспечивает пользователю возможность заранее проверить правильную и полную вставку первого элемента внутрь до закрепления соединения вторым трубчатым элементом для гарантирования стабильной надежности и устойчивости соединения с течением времени.
Моноблоковое соединение согласно настоящему изобретению содержит наружный корпус, первый внутренний элемент и по меньшей мере второй внутренний элемент, по существу соосные, причем концевая часть первого трубчатого элемента расположена внутри второго внутреннего элемента и взаимодействует с первым внутренним элементом.
Второй внутренний элемент выполнен с возможностью его затягивания по отношению к первому трубчатому элементу, зажимая его при навинчивании наружного корпуса, либо по меньшей мере с возможностью прикрепления к концу с резьбой или без резьбы второго трубчатого элемента.
Согласно одному из вариантов настоящего изобретения для решения поставленной задачи второй внутренний элемент имеет по меньшей мере открытую часть на своей поверхности и по меньшей мере отверстие на наружном корпусе, местоположение которого можно привести в соответствие с открытой частью второго внутреннего элемента, чтобы сделать положение первого трубчатого элемента видимым по отношению ко второму внутреннему элементу. Это техническое решение обеспечивает возможность проверки правильной вставки трубчатого элемента и проверки достаточности поверхности захвата второго внутреннего элемента для гарантии того, что соединение будет неизменно прочным с течением времени.
Согласно одному из вариантов настоящего изобретения наружная поверхность первого трубчатого элемента вблизи его конца помечена опознавательным обозначением, которое указывает обязательную минимальную степень зацепления части поверхности трубы на втором внутреннем элементе.
Поэтому пользователь, находя это опознавательное обозначение, сможет проверить правильность вставки трубчатого элемента.
Согласно одному из вариантов настоящего изобретения второй внутренний элемент имеет открытое кольцо, пространство между свободными краями которого ограничивает открытую часть. Кольцо может закрываться, чтобы затягивать первый трубчатый элемент, когда наружный корпус навинчен на втором трубчатом элементе.
Однако тип второго внутреннего элемента не ограничивает объем настоящего изобретения и его можно выполнить в виде металлической зажимной полосы, обычной кольцевой гайки или в виде аналогичных элементов, выполненных с возможностью затягивания, как зажим первого трубчатого элемента при условии, что они будут ограничивать сквозное отверстие или в любом случае будут прозрачными.
Согласно еще одному варианту осуществления настоящего изобретения отверстие, выполненное на наружном корпусе, не сквозное, а закрытое, например, закрытое прозрачным листовым материалом для защиты внутреннего пространства соединения от проникновения пыли и других загрязнений.
На наружном корпусе можно выполнить два отверстия или большее число отверстий, предпочтительно расположенных симметрично на поверхности самого наружного корпуса.
Краткое описание чертежей
Эти и другие характеристики настоящего изобретения будут очевидны из приводимого ниже описания предпочтительного варианта осуществления изобретения в качестве неограничивающего примера со ссылкой на прилагаемый чертеж, показывающий осевое сечение моноблокового соединения согласно настоящему изобретению.
Подробное описание предпочтительного варианта осуществления изобретения
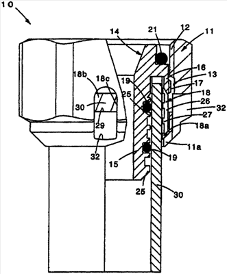
На чертеже показано моноблоковое соединение 10 согласно настоящему изобретению, которое выполнено с возможностью соединения трубы 30, например резиновой, с металлическим патрубком с наружной резьбой, например патрубком для крана (не показан).
Соединение 10 содержит наружный корпус 11, имеющий резьбу 12, взаимодействующую с сопрягаемой наружной резьбой соединяемого металлического патрубка, первый внутренний элемент 14 и второй внутренний элемент 18. Эти три элемента собраны заранее и могут возвратно-поступательно перемещаться с некоторым свободным ходом до соединения трубы 30 и металлического патрубка.
Наружный корпус 11 имеет внутреннюю кольцевую полость 13, внутри которой первый внутренний элемент 14 по меньшей мере частично размещен.
Наружный корпус 11 также содержит коническую нижнюю часть 11а, взаимодействующую в момент соединения с сопрягаемой нижней частью 18а, также конической второго, внутреннего элемента 18.
Согласно одному из вариантов настоящего изобретения наружный корпус 11 также имеет сквозное отверстие 32 или в любом случае прозрачное, чтобы внутренняя зона соединения 10 была видимой снаружи в целях проверки, согласно более подробному нижеследующему описанию, правильности вставки трубы 30 внутри соединения 10.
Сквозное отверстие 32 имеет удлиненную форму в осевом направлении, т.е. в направлении, в котором вставлена труба 30, и предпочтительно выполнено в нижней зоне наружного корпуса 11 точно на стороне, на которой она вставлена.
Согласно варианту настоящего изобретения, который на чертеже не показан, сквозное отверстие 32 узкое и имеет уплощенную форму, проходит в направлении, ортогональном или наклонном к направлению вставки.
Первый внутренний элемент 14 содержит цилиндрический сегмент 15, который проходит почти по всей осевой длине соединения 10, и кольцевой сегмент 16 более широкого сечения, имеющий наружную резьбу 17, и который также действует как имеющее опорную поверхность средство для размещения второго внутреннего элемента 18.
На наружной поверхности цилиндрического сегмента 15 выполнены выступы 25, за счет непосредственного контакта взаимодействующие с внутренней поверхностью трубы 30. В углублениях, ограничиваемых по меньшей мере несколькими выступами 25, установлены уплотнительные кольца 19.
Еще одно уплотнительное кольцо 21 установлено над кольцевым сегментом 16.
Резьба 17 взаимодействует на этапе предварительной сборки соединения 10 с резьбой 12 наружного корпуса 11 для позиционирования первого внутреннего элемента 14 внутри полости 13.
Первый внутренний элемент 14 при этом не может расфиксироваться из полости 13 на последующем этапе соединения металлического патрубка и трубы 30, если пользователь намеренно не отвинтит два элемента 11, 14 в противоположных направлениях.
Второй внутренний элемент в этом варианте расположен между первым внутренним элементом 14 и наружным корпусом 11 и упруго деформируется наружным корпусом 11 при его затягивании относительно трубы 30.
Второй внутренний элемент 18 содержит, например, открытое кольцо 26, края 18b и 18 с которого закрываются в момент соединения, чтобы зажать трубу 30.
Два конца 18b и 18с определяют зону 29 выреза или открытую часть, соответствующую сквозному отверстию 32 и размещенную в таком местоположении, чтобы пользователь смог снаружи увидеть, что труба 30 вставлена правильно.
Открытое кольцо 26 также имеет захватывающие зубцы 27 на своей внутренней поверхности, обеспечивающие захват наружной поверхности трубы 30.
Труба 30 и патрубок соединяются следующим образом.
Конец трубы 30 принудительно вставляется в цилиндрический сегмент 15 первого внутреннего элемента 14, который уже вставлен напротив опорной поверхности наружного корпуса 11.
Конец трубы 30 вставлен внутри кольцевой полости, ограниченной между первым 14 и вторым 18 внутренними элементами.
Затем наружный корпус 11 поворачивают, чтобы одно из отверстий 32 совпадало с открытой частью 29 второго внутреннего элемента 18, при этом пользователь может проверить полную или достаточную вставку трубы 30. То есть пользователь удостоверяется в том, что труба 30 видна в открытой части 29 и прошла на определенную величину далее нижнего края второго внутреннего элемента.
Только при положительном результате этой проверки соединение завершается путем навинчивания наружного корпуса 11 на резьбовой патрубок и путем зажима второго внутреннего элемента 18 на конце трубы 30.
Если, напротив, верхний край трубы 30 не виден, то это означает, что он не зафиксировался в захватывающем зубце 27, либо вставка выполнена неправильно и поэтому ее нужно исправить до завершения соединения.
Очевидно, что в описанном выше моноблоковом соединении можно выполнить модификации и/или дополнения в рамках идеи и объема настоящего изобретения. Также очевидно, что хотя настоящее изобретение изложено со ссылкой на конкретные примеры, специалист в данной области техники сможет осуществить многие другие эквивалентные формы моноблокового соединения, которые все будут входить в объем настоящего изобретения.
Формула изобретения
1. Моноблоковое соединение (10) для соединения первого трубчатого элемента (30) со вторым трубчатым элементом, содержащее, по меньшей мере, наружный корпус (11), имеющий форму гайки, и внутреннюю резьбу, взаимодействующую с сопрягаемой наружной резьбой (12) соединяемого трубчатого элемента, первый внутренний элемент (14) и, по меньшей мере, второй внутренний элемент (18), причем наружный корпус (11), первый (14) и второй (18) элементы, по существу соосные друг с другом, выполнены с возможностью их предварительной сборки в едином блоке и осуществления возвратно-поступательного перемещения с некоторым свободным ходом, и концевую часть первого трубчатого элемента (30), выполненную с возможностью размещения внутри второго внутреннего элемента (18) и взаимодействия с первым внутренним элементом (14), и второй внутренний элемент (18), выполненный с возможностью его упругого деформирования, чтобы зажимать концевую часть первого трубчатого элемента (30) в момент, когда наружный корпус (11) крепится ко второму трубчатому элементу, отличающееся тем, что второй внутренний элемент (18) на своей поверхности имеет, по меньшей мере, открытую часть (29), и на поверхности наружного корпуса (11) и по существу в его нижней зоне выполнено, по меньшей мере, удлиненное отверстие (32), выполненное с возможностью его совмещения с открытой частью (29) для обеспечения возможности проверки снаружи наличия концевой части первого трубчатого элемента (30) и проверки правильной его вставки.
2. Соединение по п.1, отличающееся тем, что второй внутренний элемент (18) содержит открытое кольцо (26), края (18b, 18с) которого ограничивают открытую часть (29).
3. Соединение по п.1, отличающееся тем, что второй внутренний элемент (18) содержит замкнутую кольцевую полосу упругодеформируемого типа, на которой выполнена, по меньшей мере, полость, которая ограничивает открытую часть (29).
4. Соединение по любому из предыдущих пунктов, отличающееся тем, что, по меньшей мере, отверстие (32) выполнено в положении наружного корпуса (11), смещенном к зоне, в которую вставлен первый трубчатый элемент (30).
5. Соединение по п.1, отличающееся тем, что отверстие (32) является сквозным.
6. Соединение по п.1, отличающееся тем, что отверстие (32) закрыто прозрачным элементом, выполняющим защитную функцию внутри соединения (10).
7. Соединение по п.1, отличающееся тем, что отверстие (32) имеет удлиненную форму в осевом направлении наружного корпуса (11).
8. Соединение по п.1, отличающееся тем, что отверстие (32) имеет удлиненную форму в направлении, ортогональном по отношению к оси наружного корпуса (11).
9. Соединение по п.1, отличающееся тем, что содержит два или более отверстий (32), расположенных симметрично на поверхности наружного корпуса (11).
10. Соединение по п.1, отличающееся тем, что первый трубчатый элемент (30) имеет опознавательное обозначение в зоне вблизи его конца, указывающее обеспечение правильной вставки.
РИСУНКИ
|