|
|
(21), (22) Заявка: 2005127054/06, 10.12.2003
(24) Дата начала отсчета срока действия патента:
10.12.2003
(30) Конвенционный приоритет:
29.01.2003 (пп.1-17) US 10/353,641
(43) Дата публикации заявки: 20.01.2006
(46) Опубликовано: 10.02.2008
(56) Список документов, цитированных в отчете о поиске:
US 2527814 А, 31.10.1950. SU 142436 A1, 01.01.1961. SU 412427 A1, 25.01.1974. US 3482596 A, 09.12.1969. DE 1119073 B, 07.12.1961.
(85) Дата перевода заявки PCT на национальную фазу:
29.08.2005
(86) Заявка PCT:
US 03/39331 (10.12.2003)
(87) Публикация PCT:
WO 2004/070247 (19.08.2004)
Адрес для переписки:
129010, Москва, ул. Б.Спасская, 25, стр.3, ООО “Юридическая фирма Городисский и Партнеры”, пат.пов. С.А.Дорофееву
|
(72) Автор(ы):
ЛОВЕЛЛ Мишель К. (US)
(73) Патентообладатель(и):
ФИШЕР КОНТРОЛЗ ИНТЕРНЭШНЛ ЛЛС (US)
|
(54) ИНДИКАТОР ХОДА КЛАПАНА (ВАРИАНТЫ), А ТАКЖЕ СПОСОБ ОБЕСПЕЧЕНИЯ БЕЗОПАСНОСТИ УЗЛА КЛАПАНА
(57) Реферат:
Группа изобретений относится в основном к клапанам, в частности к индикаторам хода клапана и предназначена для определения открытия и закрытия или частичного открытия клапана. Индикатор хода клапана содержит участок (34) индикатора и удерживающий участок. Участок (34) индикатора показывает местоположение на шкале (36) индикатора клапана. Удерживающий участок неподвижно соединен с участком (34) индикатора и подвижно соединен со штоком (26) клапана. Удерживающий участок неподвижно соединяет участок (34) индикатора со штоком (26) клапана при перемещении штока клапана и подвижно соединяет участок (34) индикатора со штоком (26) клапана для перемещения в продольном направлении по штоку (26) клапана в ответ на заданное усилие, приложенное к участку (34) индикатора. Имеются варианты выполнения индикатора хода клапана и способ обеспечения безопасности узла клапана. По предложенному способу узел клапана оснащают индикатором хода клапана. Изобретения направлены на возможность ручного манипулирования индикатором хода клапана на штоке клапана без дополнительных инструментов. 4 н. и 13 з.п. ф-лы, 5 ил.
Настоящее изобретение относится в основном к клапанам и, более конкретно, к индикатору хода клапана.
Клапаны используют во многих отраслях промышленности для управления потоком жидкостей и газов. Многие из клапанов автоматизированы так, что клапаны можно открывать и закрывать из удаленного места, например с помощью компьютерной системы управления. Таким образом, человек может только периодически проверять многие из этих клапанов, например во время ежегодных технических осмотров или при решении проблем функционирования клапана. Индикаторы хода клапана использовали во многих системах клапанов, чтобы показывать, открыт ли клапан, закрыт или частично открыт. Эти индикаторы хода клапана зачастую расположены на открытых участках тройника, используемого для соединения клапана с механизмом управления, таким как силовой привод. Наиболее близким аналогом настоящего изобретения является клапанное устройство согласно патенту США №2527814 А.
Согласно одному варианту осуществления настоящего изобретения создан индикатор хода клапана, содержащий участок индикатора, выполненный с возможностью индикации местоположения на шкале индикатора клапана, и удерживающий участок, неподвижно соединенный с участком индикатора и подвижно соединенный со штоком клапана, причем удерживающий участок выполнен с возможностью неподвижного соединения участка индикатора со штоком клапана при перемещении штока клапана и подвижного соединения участка индикатора со штоком клапана для перемещения в продольном направлении по штоку клапана в ответ на заданное усилие, приложенное к участку индикатора.
Предпочтительно, удерживающий участок содержит уплотнительное кольцо.
Предпочтительно, уплотнительное кольцо выполнено из нитрила с ударопрочностью 70 по шкале Шора А.
Предпочтительно, уплотнительное кольцо выполнено из фторэластомера или этиленпропилена.
Предпочтительно, участок индикатора выполнен из устойчивого к ультрафиолетовому излучению акрилонитрилстиролакрилата, при этом участок индикатора является суженным.
Предпочтительно, участок индикатора дополнительно содержит углубление, при этом удерживающий участок расположен внутри углубления.
Предпочтительно, удерживающий участок содержит установочный винт.
Предпочтительно, участок индикатора дополнительно содержит проходящий через него канал, при этом удерживающий участок содержит первый фланец, соединенный с первой стороной канала, второй фланец, соединенный со второй стороной канала, отличной от первой стороны, и элемент сжатия, соединенный с первым и вторым фланцами, причем элемент сжатия выполнен для обеспечения уменьшения внутреннего диаметра участка индикатора.
Предпочтительно, элемент сжатия содержит винт.
Предпочтительно, элемент сжатия дополнительно выполнен для обеспечения уменьшения расстояния между первым и вторым фланцами.
Предпочтительно, заданное усилие составляет от 4 фунтов давления до 25 фунтов давления.
Предпочтительно, участок индикатора и удерживающий участок содержат этиленпропилен с ударопрочностью 90 по шкале Шора А.
Предпочтительно, участок индикатора и удерживающий участок являются отдельными элементами.
Согласно другому варианту осуществления настоящего изобретения создан индикатор хода клапана, содержащий средство для участка индикатора, выполненного с возможностью индикации местоположения на шкале индикатора клапана, средство для удерживающего участка, неподвижно соединенного с участком индикатора и подвижно соединенного со штоком клапана, причем удерживающий участок выполнен с возможностью неподвижного соединения участка индикатора со штоком клапана при перемещении штока клапана и подвижного соединения участка индикатора со штоком клапана для перемещения в продольном направлении по штоку клапана в ответ на заданное усилие, приложенное к участку индикатора.
Согласно еще одному варианту осуществления настоящего изобретения создан индикатор хода клапана, содержащий участок индикатора, выполненный с возможностью индикации местоположения на шкале индикатора клапана и содержащий углубление, при этом участок индикатора имеет внешний диаметр 1,5 дюйма, внутренний диаметр 0,8 дюйма и выполнен из устойчивого к ультрафиолетовому излучению акрилонитрилстиролакрилата, участок индикатора сужается от 0,21 дюйма по высоте до 0,06 дюйма по высоте, и углубление имеет внешний диаметр 0,673 дюйма, внутренний диаметр 0,5 дюйма и высоту 0,135 дюйма; и уплотнительное кольцо, неподвижно расположенное в углублении и подвижно соединенное со штоком клапана, причем уплотнительное кольцо выполнено с возможностью неподвижного соединения участка индикатора со штоком клапана при перемещении штока клапана и подвижного соединения участка индикатора со штоком клапана в ответ на заданное усилие, приложенное к участку индикатора, при этом уплотнительное кольцо имеет внутренний диаметр 0,5 дюйма, внешний диаметр 0,6875 дюйма, диаметр поперечного сечения 0,09375 дюйма и выполнено из нитрила с ударопрочностью 70 по шкале Шора А, и заданное усилие составляет от 4 фунтов давления до 25 фунтов давления.
Согласно дополнительному варианту осуществления настоящего изобретения создан способ обеспечения безопасности узла клапана, при котором обеспечивают индикатор хода клапана, причем индикатор хода клапана подвижно соединен со штоком заглушки клапана, и перемещают индикатор хода клапана в продольном направлении по штоку заглушки клапана в ответ на препятствие на пути, используемом индикатором хода клапана.
Предпочтительно, препятствием является часть руки человека.
Таким образом, индикатор хода клапана содержит удерживающий участок, который прикреплен к штоку заглушки клапана с заданной силой страгивания. Силу страгивания выбирают такой, чтобы предотвращать перемещение индикатора относительно штока клапана при обычной работе регулирующего клапана, в то же время обеспечивая возможность перемещения индикатора хода клапана относительно штока клапана, когда сила страгивания превышена. Настоящее изобретение обеспечивает различные технические преимущества. Одно такое техническое преимущество заключается в возможности ручного манипулирования индикатором хода клапана на штоке клапана без инструментов, перемещая индикатор по штоку заглушки клапана. Например, силу страгивания можно выбирать так, что человек может выравнивать индикатор хода клапана со шкалой индикатора клапана или полностью извлекать индикатор хода клапана без использования инструментов. Другое такое техническое преимущество заключается в возможности перемещения индикатора хода клапана относительно штока клапана, если образуется засорение поблизости от индикатора хода клапана или шкалы индикатора клапана. Также можно уменьшить производственные затраты, используя отлитую как часть клапана и/или тройника шкалу индикатора клапана, вместо того чтобы использовать отдельную регулируемую шкалу индикатора с индикатором хода клапана, прикрепленным к штоку клапана.
Настоящее изобретение легче всего понять из последующего подробного описания, которое приведено со ссылками на прилагаемые чертежи, на которых:
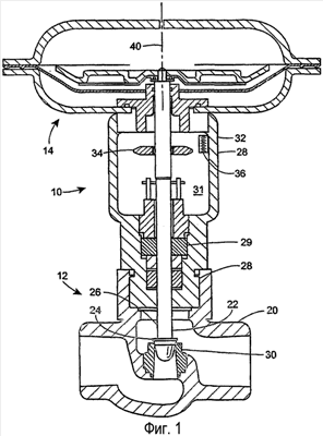
фиг.1 – вид в поперечном разрезе, показывающий клапан согласно одному варианту осуществления настоящего изобретения;
фиг.2 – вид в поперечном разрезе, показывающий дополнительные детали индикатора хода клапана, связанные с клапаном, согласно одному варианту осуществления настоящего изобретения;
фиг.3 – вид в поперечном разрезе индикатора хода клапана согласно одному варианту осуществления настоящего изобретения;
фиг.4 – вид в поперечном разрезе индикатора хода клапана согласно альтернативному варианту осуществления настоящего изобретения; и
фиг.5 – вид сверху индикатора хода клапана согласно другому альтернативному варианту осуществления настоящего изобретения.
Фиг.1 представляет собой вид в поперечном разрезе, показывающий узел 10 регулирующего клапана согласно одному варианту осуществления настоящего изобретения. Узел 10 регулирующего клапана может содержать клапан 12 и силовой привод 14 (показанный частично).
Клапан 12 может содержать корпус 20 клапана и подвижное управляющее устройство 22, включающее в себя заглушку 24 клапана, присоединенную к штоку 26 клапана для управления потоком веществ, таких как жидкостей и газов. Дополнительно корпус 20 клапана включает в себя корпус 28 сальника клапана и сальник 29 клапана, чтобы создавать герметизацию текучей среды и направляющую поверхность для штока 26 клапана. Как известно специалистам в данной области техники, шток клапана обычно полируют с чистотой обработки приблизительно до 4 мкм Ra (среднее арифметическое число), чтобы уменьшить ухудшение характеристик сальника клапана и увеличить долговечность при циклическом нагружении узла регулирующего клапана.
Шток 26 клапана механически соединен (не показано) с силовым приводом 14, который прикладывает осевое усилие к штоку 26 клапана для управления относительным положением заглушки 24 клапана относительно седла 30 клапана. Относительное положение заглушки 24 клапана образует изменяемое отверстие внутри узла 10 регулирующего клапана для модулирования и управления потоком текучей среды через узел 10 регулирующего клапана. Как известно специалистам в данной области техники, осевое усилие, прикладываемое силовым приводом 14, можно обеспечить находящимся под давлением воздухом, подаваемым на обычную пружину и мембранный гидро- или пневмоцилиндр. В одном варианте осуществления шток 26 клапана представляет собой в основном стержень цилиндрической формы, имеющий по существу гладкую поверхность. В одном варианте осуществления шток 26 заглушки клапана имеет внешний диаметр, составляющий 0,375 дюйма, но, как вариант, может иметь внешний диаметр, находящийся в диапазоне от 0,375 дюйма до 2 дюймов.
Отверстие 31 тройника в тройнике 32 силового привода обеспечивает доступ к штоку 26 клапана и индикатору 34 хода клапана (описанному более подробно ниже). В одном варианте осуществления отверстие 31 тройника составляет от 1 дюйма до 2 дюймов по высоте и от 2 дюймов до 3 дюймов по ширине. Как вариант, отверстие 31 тройника может находиться в диапазоне по высоте от 1 дюйма до 26 дюймов и по ширине от 2 дюймов до 7 дюймов.
Шкала 36 индикатора содержит участок узла 10 регулирующего клапана, используемого с индикатором 34 хода клапана, чтобы показывать, открыт ли клапан 12, частично открыт или закрыт. В одном варианте осуществления шкала 36 индикатора может иметь градации или метки на внутренней поверхности 38, чтобы приблизительно измерять относительное положение заглушки 24 клапана по отношению к седлу 30 клапана. Индикатор 34 хода клапана имеет в основном круглый элемент, подвижно соединенный со штоком 26 клапана. Различные варианты осуществления индикатора 34 хода клапана описаны со ссылками на фиг.2, 3, 4 и 5.
Как должно быть понятно специалистам в данной области техники, клапан 12 открывают и закрывают посредством перемещения штока 26 клапана в осевом направлении по продольной оси 40, определенной штоком 26 клапана. При движении штока 26 клапана от корпуса 20 клапана, заглушка 24 клапана вытягивается вверх и открывает клапан 12. При движении штока 26 клапана к корпусу 20 клапана, заглушка 24 клапана вдавливается вниз и закрывает клапан 12. Перемещение штока 26 клапана изменяет положение индикатора 34 хода клапана относительно шкалы 36 индикатора. Положение индикатора 34 хода клапана относительно шкалы 36 индикатора обеспечивает визуальную и/или механическую индикацию, локальную для клапана 12 относительно положения заглушки 24 клапана. Более того, индикатор 34 хода клапана можно использовать для определения состояния клапана 12. Если индикатор 34 хода клапана не соответствует контрольному перемещению, это может указывать на проблему технического обслуживания или эксплуатации в узле 10 регулирующего клапана. Например, клапан 12 может быть установлен в частично открытое положение, которое предоставляет возможность использования только части, например 30%, пропускной способности клапана. По мере использования клапана 12 износ на клапане 12 может изменять положение заглушки 24 клапана, необходимое для получения требуемой интенсивности подачи. Техник может визуально, механически, с помощью электроники или иначе проверять индикатор 34 хода клапана. Например, если техник замечает, что индикатор 34 хода клапана не показывает положение, соответствующее 30%-ой интенсивности подачи, техник может сделать вывод, что шток 24 клапана эродирован, и поэтому его требуется отремонтировать или заменить.
Для автоматизированных систем управления клапаном может потребоваться калибровка по отношению к отдельным клапанам, которыми управляет автоматизированная система. Например, системы обобщенного управления и контроля можно использовать для управления клапанами различных размеров. Индикатор 34 хода клапана можно использовать для калибровки автоматизированной системы. Например, один техник может визуально или механически определять положение индикатора 34 хода клапана для конкретного клапана и передавать эту информацию другому технику, ответственному за калибровку автоматизированной системы, управляющей конкретным клапаном.
Фиг.2 представляет собой вид в поперечном разрезе, показывающий дополнительные детали индикатора 34 хода клапана согласно одному варианту осуществления настоящего изобретения. Индикатор 34 хода клапана дополнительно содержит участок 50 индикатора и удерживающий участок 52.
Участок 50 индикатора содержит в основном круглый суженный диск с центральным отверстием, проходящим через него. Участок 50 индикатора дополнительно содержит участок индикатора 34 хода клапана, показывающий текущее положение заглушки 24 клапана относительно шкалы 36 индикатора.
В одном варианте осуществления участок 50 индикатора дополнительно содержит углубление 54. Удерживающий участок 52 можно расположить в углублении 54 и заблокировать внутри углубления 54. Удерживающий участок 52 можно удерживать в углублении 54 посредством трения, усилия и/или конструкции удерживающего участка 52 так, чтобы удерживающий участок 52 в основном не имел возможности выходить из полости 54 при перемещении участка 50 индикатора относительно штока 26 клапана.
Удерживающий участок 52 содержит участок индикатора 34 хода клапана, предназначенный для подвижного соединения участка 50 индикатора со штоком 26 клапана. В одном варианте осуществления удерживающий участок 52 может содержать элемент, обеспечивающий фрикционное соединение между участком 50 индикатора и штоком 26 клапана, такой как уплотнительное кольцо. Удерживающий участок 52 можно выбирать таким, чтобы индикатор 34 хода клапана можно было взаимно прикреплять к штоку 26 заглушки клапана при обычном использовании и работе штока 26 клапана, в то же время предоставляя возможность индикатору 34 хода клапана перемещаться в ответ на заданное усилие, приложенное к индикатору 34 хода клапана. Усилие можно определять, используя подходящие критерии. Например, можно выбирать такое усилие, чтобы обеспечить перемещение индикатора 34 хода клапана человеком вручную без инструментов, при этом не допуская перемещения индикатора 34 хода клапана при обычной работе штока 26 клапана. В одном варианте осуществления для перемещения индикатора 34 хода клапана относительно штока 26 клапана требуется усилие приблизительно 4-25 фунтов, но можно использовать и другие подходящие значения усилия.
При работе индикатор 34 хода клапана первоначально выравнивают со шкалой 36 индикатора. Например, клапан 12 может быть полностью закрыт, и индикатор 34 хода клапана вручную выравнивают с положением метки полностью закрытого клапана на шкале 36 индикатора; однако, для выравнивания индикатора 34 хода клапана и шкалы 36 индикатора можно использовать любой подходящий метод. По мере перемещения индикатора 34 хода клапана со штоком 26 клапана суженный конец участка 50 индикатора можно использовать с метками на шкале 36 индикатора, чтобы определить, открыт ли клапан 12, закрыт или только частично открыт. Предоставление возможности выравнивания вручную, например, для человека в полевых условиях, обеспечивает улучшенные функциональные возможности индикатора 34 хода клапана и уменьшенную стоимость клапана 12.
При перемещении штока 26 клапана вверх и вниз, чтобы открывать и закрывать клапан 12, индикатор 34 хода клапана перемещается вверх и вниз относительно шкалы 36 индикатора. Положение индикатора 34 хода клапана относительно шкалы 36 индикатора обеспечивает визуальную и/или механическую локальную индикацию на клапане 12 состояния клапана 12. Например, техник, визуально проверяющий состояние клапана 12, может видеть, открыт ли клапан 12, закрыт или частично открыт.
Один обычный индикатор хода клапана включает в себя травление углубления в штоке клапана и затем выравнивание шкалы индикатора с углублением. Эта технология увеличивает стоимость клапана из-за необходимости отдельной перемещаемой шкалы индикатора, при которой обычно требуется отвертка или другие инструменты для выравнивания. Напротив, один вариант осуществления индикатора 34 хода клапана может предоставить возможность человеку без инструментов выравнивать индикатор 34 хода, перемещая индикатор 34 хода клапана до подходящего местоположения на гладком штоке 26 клапана, полагаясь на трение между штоком 26 клапана и удерживающим участком 52, чтобы установить индикатор 34 хода клапана в нужное положение. Дополнительно для индикатора 34 хода клапана можно обеспечить возможность образования шкалы 36 индикатора, как часть клапана 12 и/или силового привода 14, что может уменьшить стоимость клапана 12, исключая использование и изготовление отдельной подвижной шкалы индикатора обычной конструкции.
Поскольку индикатор 34 хода клапана подвижно соединен со штоком клапана, можно также улучшить простоту разборки узла 10 регулирующего клапана. Более конкретно, когда подвижное управляющее устройство 22 извлечено из узла 10 регулирующего клапана, индикатор 34 хода клапана может легко соскальзнуть со штока 26 клапана без использования инструментов. Шток 26 клапан можно повторно вставлять в клапан 12 через удерживающий участок 52 при повторной сборке, и затем можно повторно выравнивать индикатор 34 хода клапана относительно шкалы 36 индикатора.
Также индикатор 34 хода клапана может способствовать снижению количества травм, которым подвергаются техники, работающие с узлом 10 регулирующего клапана. Как известно специалистам в данной области техники, обычные индикаторы хода клапана жестко соединены со штоком клапана, и рука или часть руки техника может застрять там в то время, как техник работает с клапаном. Напротив, при индикаторе 34 хода клапана можно избежать травм рук техников благодаря скольжению штока 26 клапана. Более конкретно, поскольку индикатор 34 хода клапана подвижно соединен со штоком 26 клапана, если индикатор 34 хода клапана сталкивается с препятствием на пути индикатора 34 хода клапана, индикатор 34 хода клапана может начать скользить по штоку 26 клапана вместо того, чтобы раздавить препятствие. Например, препятствие может содержать накопленный мусор, такой как лед, или установленные ненадлежащим образом принадлежности клапана, такие как датчик указателя положения или регулятор давления. Дополнительно индикатор 34 хода клапана может увеличить срок службы узла 10 регулирующего клапана благодаря своему скольжению по штоку 26 клапана в ответ на препятствие вместо удара по препятствию и, возможно, повреждения узла 10 регулирующего клапана при таком воздействии.
Фиг.3 представляет собой вид в поперечном разрезе индикатора 34 хода клапана согласно одному варианту осуществления настоящего изобретения. В одном варианте осуществления участок 50 индикатора имеет внешний диаметр 1,5 дюйма и внутренний диаметр 0,8 дюйма. Как вариант, участок 50 индикатора может иметь внешний диаметр от 1,5 дюйма до 7 дюймов, а внутренний диаметр от 0,375 дюйма до 2 дюймов. Сужение начинается относительно близко к внутреннему диаметру и сужается к внешнему диаметру. В одном варианте осуществления суженный участок участка 50 индикатора проходит на 0,7 дюйма от внешнего диаметра. Участок 50 индикатора составляет 0,21 дюйма в высоту и сужается до 0,06 дюйма в высоту на конце суженного участка. Как вариант, участок 50 индикатора может иметь высоту в диапазоне от 0,21 дюйма до 0,5 дюйма, а край сужения может находиться в диапазоне от 0,05 дюйма до 0,1 дюйма по высоте. В одном варианте осуществления участок 50 индикатора имеет внешнюю длину немного меньшую, чем внутренний диаметр отверстия 31 тройника, так что на участке 50 индикатора имеется край, расположенный вблизи от шкалы 36 индикатора. Например, если внутренний диаметр отверстия 31 тройника составляет 2 дюйма, участок 50 индикатора может иметь внешний диаметр немного меньше, чем 2 дюйма так, чтобы положение участка 50 индикатора относительно шкалы 36 индикатора можно было легче определить.
Углубление 54 имеет внешний диаметр 0,673 дюйма, внутренний диаметр 0,5 дюйма и высоту 0,135 дюйма. Как вариант, углубление 54 может иметь внешний диаметр в диапазоне от 0,673 дюйма до 2,2 дюйма, внутренний диаметр в диапазоне от 0,5 дюйма до 2 дюймов и высоту в диапазоне от 0,135 дюйма до 0,145 дюйма.
Участок 50 индикатора можно изготавливать из любого подходящего материала, такого как пластмасса или металл, в зависимости от окружающей среды, в которой будет использован индикатор 34 хода клапана, стоимости и других подходящих критериях. В одном варианте осуществления участок 50 индикатора выполнен из устойчивого к ультрафиолетовому излучению акрилонитрилстиролакрилата (АСА). Как вариант участок 50 индикатора можно выполнить из латуни, алюминия или других подходящих металлов или пластмасс. В основном при выборе материала для участка 50 индикатора можно основываться на ожидаемой окружающей среде для клапана 12, чтобы увеличить срок службы участка 50 индикатора. Например, участок 50 индикатора может быть подвергнут факторам окружающей среды типа коррозионных и некорродирующих текучих сред, температурных перепадов, высокого или низкого уровней влажности, осадков, снега и озона.
В одном варианте осуществления удерживающий участок 52 имеет уплотнительное кольцо. Внешний диаметр, материал и толщину удерживающего участка 52 выбирают в зависимости от диаметра штока 26 клапана так, чтобы удерживающий участок 52 клапана зажимал шток 26 клапана с достаточным усилием для удерживания участка 50 индикатора и поддержания положения участка 50 индикатора относительно штока 26 клапана при обычной работе штока 26 клапана. Внешний диаметр, материал и толщину удерживающего участка 52 можно также выбирать таким образом, чтобы удерживающий участок 52 не зажимал шток 26 заглушки клапана с чрезмерным усилием, которое препятствует перемещению участка 50 индикатора человеком без инструментов или препятствует извлечению штока 26 заглушки клапана из клапана 12 при его разборке. В этом варианте осуществления удерживающий участок 52 имеет внутренний диаметр 0,5 дюйма, внешний диаметр 0,6875 дюйма, диаметр поперечного сечения 0,09375 дюйма и выполнен из нитрила с ударопрочностью 70 по шкале Шора А. Как вариант, удерживающий участок 52 может иметь внутренний диаметр от 0,480 дюйма до 2 дюймов, внешний диаметр от 0,6875 дюйма до 2,1875 дюйма, диаметр поперечного сечения в диапазоне от 0,09375 дюйма до 0,106 дюйма, и его можно изготавливать из фторэластомера, этиленпропилена или любого подходящего подобного каучуку материала с соответствующим номинальным значением прочности, способным к манипулированию при ожидаемых факторах окружающей среды, таких как озон и чрезвычайные температурные изменения.
В другом варианте осуществления индикатор 34 хода клапана может содержать в основном цельную деталь из материала, пригодного для обеспечения подходящей посадки с натягом между штоком 26 клапана и индикатором 34 хода клапана. Этот вариант осуществления можно использовать без удерживающего участка 52 и углубления 54, поскольку материал, используемый для образования участка 50 индикатора, обеспечивает посадку с натягом относительно штока 26 клапана, и участок 50 индикатора содержит весь индикатор 34 хода клапана. Например, участок 50 индикатора может содержать отдельную деталь из жесткого каучука, такого как этиленпропилен с ударопрочностью 90 по шкале Шора А. Участок 50 индикатора можно образовать из одной или более отдельных деталей, которые соответствующим образом соединены вместе. В этом варианте осуществления для участка 50 индикатора можно выбрать подходящие материалы, которые обеспечивают достаточную силу трения, чтобы обеспечить возможность индикатору 34 хода клапана работать так, как описано выше.
Дополнительно индикатор 34 хода клапана можно использовать с гладкими штоками клапана, избегая повреждения гладкого штока клапана. Например, шток 26 клапана, в одном варианте осуществления, можно полировать с чистотой обработки 4 мкм Ra. Более конкретно из-за скольжения по штоку 26 клапана индикатора 34 хода клапана избегают повреждения штока 26 клапана при столкновении с препятствием и при извлечении штока 26 клапана из клапана 12. Когда гладкие штоки клапана оцарапаны, прорезаны или повреждены как-то иначе, повреждение гладкого штока клапана может повредить клапан при его обычной работе. Например, прорезанный гладкий шток клапана может повредить сальник в клапане при перемещении штока в клапан и из него, а поврежденный сальник может вызвать протекание клапана.
Фиг.4 представляет собой вид в поперечном разрезе индикатора 34 хода клапана согласно одному варианту осуществления настоящего изобретения. Удерживающий участок 52 может, как вариант, содержать установочный винт 56 согласно одному варианту осуществления настоящего изобретения. Установочный винт 56 расположен проходящим через участок 50 индикатора перпендикулярно штоку 26 клапана и действует для подвижного соединения участка 50 индикатора со штоком 26 клапана. Более конкретно затягивая установочный винт 56 относительно штока 26 клапана, участок 56 индикатора можно подвижно соединять со штоком 26 клапана. Величину усилия, требуемую для перемещения индикатора 34 хода клапана, можно определять плотностью посадки установочного винта 56. Установочный винт 56 может являться подходящим установочным винтом, таким как полиамидный наконечник, пластмассовый установочный винт, или другой соответствующей крепежной деталью, подходящей для использования в среде вокруг индикатора 34 хода клапана.
Фиг.5 представляет собой вид сверху индикатора 34 хода клапана согласно одному варианту осуществления настоящего изобретения. В этом варианте осуществления участок 50 индикатора дополнительно содержит канал 60. Канал 60 может содержать отрезок, имеющий соответствующий размер, проходящий от внешнего края до внутреннего края участка 50 индикатора и проходящий от верхней до нижней части участка 50 индикатора. Размер канала 60 можно определять на основании требуемой величины регулируемости во внешнем диаметре участка 50 индикатора. Например, участок 50 индикатора, предназначенный для использования со штоками 26 клапанов различных диаметров, может иметь канал 60 достаточной ширины, чтобы обеспечить возможность плотной подгонки участка 50 индикатора к штокам 26 клапана различных размеров.
В одном варианте осуществления удерживающий участок 52 может содержать первый фланец 62, второй фланец 64 и элемент 66 сжатия. Первый и второй фланцы 62 и 64 содержат продолжения участка 50 индикатора, выполненные с возможностью размещения элемента 66 сжатия. Элемент 66 сжатия содержит подходящий элемент, действующий для затягивания первого и второго фланцев 62 и 64 с целью уменьшения внутреннего диаметра участка 50 индикатора так, чтобы участок 50 индикатора зажал шток 26 клапана. В одном варианте осуществления элемент 66 сжатия содержит винт. Как вариант, элемент 66 сжатия может содержать подходящий элемент для смыкания регулируемым образом фланцев 62 и 64. В этом варианте осуществления удерживающий участок 52 подвижно соединяет участок 50 индикатора со штоком 26 клапана посредством затягивания элемента 66 сжатия.
Зачастую обычные индикаторы хода клапана предназначены для взаимодействия с большими клапанными узлами. Поскольку клапанные узлы стали меньше, то более подходящими могут быть другие конструкции индикаторов хода клапана. Например, индикатор 34 хода клапана можно использовать с относительно маленькими узлами 10 регулирующего клапана.
Возможны также и другие изменения, варианты и альтернативы, не выходя при этом за рамки сущности и объема настоящего изобретения, которые также определены в представленной формуле изобретения.
Формула изобретения
1. Индикатор хода клапана, содержащий участок индикатора, выполненный с возможностью индикации местоположения на шкале индикатора клапана, и удерживающий участок, неподвижно соединенный с участком индикатора и подвижно соединенный со штоком клапана, причем удерживающий участок выполнен с возможностью неподвижного соединения участка индикатора со штоком клапана при перемещении штока клапана и подвижного соединения участка индикатора со штоком клапана для перемещения в продольном направлении по штоку клапана в ответ на заданное усилие, приложенное к участку индикатора.
2. Индикатор хода клапана по п.1, в котором удерживающий участок содержит уплотнительное кольцо.
3. Индикатор хода клапана по п.2, в котором уплотнительное кольцо выполнено из нитрила с ударопрочностью 70 по шкале Шора А.
4. Индикатор хода клапана по п.2, в котором уплотнительное кольцо выполнено из фторэластомера или этиленпропилена.
5. Индикатор хода клапана по п.2, в котором участок индикатора выполнен из устойчивого к ультрафиолетовому излучению акрилонитрилстиролакрилата, при этом участок индикатора является суженным.
6. Индикатор хода клапана по п.2, в котором участок индикатора дополнительно содержит углубление, при этом удерживающий участок расположен внутри углубления.
7. Индикатор хода клапана по п.1, в котором удерживающий участок содержит установочный винт.
8. Индикатор хода клапана по п.1, в котором участок индикатора дополнительно содержит проходящий через него канал, при этом удерживающий участок содержит первый фланец, соединенный с первой стороной канала, второй фланец, соединенный со второй стороной канала, отличной от первой стороны, и элемент сжатия, соединенный с первым и вторым фланцами, причем элемент сжатия выполнен для обеспечения уменьшения внутреннего диаметра участка индикатора.
9. Индикатор хода клапана по п.8, в котором элемент сжатия содержит винт.
10. Индикатор хода клапана по п.8, в котором элемент сжатия дополнительно выполнен для обеспечения уменьшения расстояния между первым и вторым фланцами.
11. Индикатор хода клапана по п.1, в котором заданное усилие составляет от 4 фунтов давления до 25 фунтов давления.
12. Индикатор хода клапана по п.1, в котором участок индикатора и удерживающий участок содержат этиленпропилен с ударопрочностью 90 по шкале Шора А.
13. Индикатор хода клапана по п.12, в котором участок индикатора и удерживающий участок являются отдельными элементами.
14. Индикатор хода клапана, содержащий средство для участка индикатора, выполненного с возможностью индикации местоположения на шкале индикатора клапана, средство для удерживающего участка, неподвижно соединенного с участком индикатора и подвижно соединенного со штоком клапана, причем удерживающий участок выполнен с возможностью неподвижного соединения участка индикатора со штоком клапана при перемещении штока клапана и подвижного соединения участка индикатора со штоком клапана для перемещения в продольном направлении по штоку клапана в ответ на заданное усилие, приложенное к участку индикатора.
15. Индикатор хода клапана, содержащий участок индикатора, выполненный с возможностью индикации местоположения на шкале индикатора клапана и содержащий углубление, при этом участок индикатора имеет внешний диаметр 1,5 дюйма, внутренний диаметр 0,8 дюйма и выполнен из устойчивого к ультрафиолетовому излучению акрилонитрилстиролакрилата, участок индикатора сужается от 0,21 дюйма по высоте до 0,06 дюйма по высоте, и углубление имеет внешний диаметр 0,673 дюйма, внутренний диаметр 0,5 дюйма и высоту 0,135 дюйма, уплотнительное кольцо, неподвижно расположенное в углублении и подвижно соединенное со штоком клапана, причем уплотнительное кольцо выполнено с возможностью неподвижного соединения участка индикатора со штоком клапана при перемещении штока клапана и подвижного соединения участка индикатора со штоком клапана в ответ на заданное усилие, приложенное к участку индикатора, при этом уплотнительное кольцо имеет внутренний диаметр 0,5 дюйма, внешний диаметр 0,6875 дюйма, диаметр поперечного сечения 0,09375 дюйма и выполнено из нитрила с ударопрочностью 70 по шкале Шора А и заданное усилие составляет от 4 фунтов давления до 25 фунтов давления.
16. Способ обеспечения безопасности узла клапана, при котором обеспечивают индикатор хода клапана, причем индикатор хода клапана подвижно соединен со штоком заглушки клапана, и перемещают индикатор хода клапана в продольном направлении по штоку заглушки клапана в ответ на препятствие на пути, используемом индикатором хода клапана.
17. Способ по п.16, в котором препятствием является часть руки человека.
РИСУНКИ
|
|