|
|
(21), (22) Заявка: 2006107833/06, 15.03.2006
(24) Дата начала отсчета срока действия патента:
15.03.2006
(46) Опубликовано: 10.02.2008
(56) Список документов, цитированных в отчете о поиске:
RU 2138719 C1, 27.09.1999. GB 1196252 A, 24.06.1970. US 4147327 A, 03.04.1979. FR 2392299 A1, 22.12.1978. DE 2054045 A, 04.05.1972. EP 0372117 A1, 13.06.1990.
Адрес для переписки:
141700, Московская обл., г. Долгопрудный, ул. Первомайская, 15, кв.9, В.Н. Галаганову
|
(72) Автор(ы):
Галаганов Валерий Николаевич (RU)
(73) Патентообладатель(и):
Галаганов Валерий Николаевич (RU)
|
(54) ШАРОВОЙ КРАН
(57) Реферат:
Изобретение относится к запорной арматуре и предназначено для регулирования и перекрытия потоков рабочей среды, транспортируемой по трубопроводу. Шаровой кран содержит корпус, размещенную в корпусе сферическую пробку и упругодеформируемые седла, взаимодействующие с пробкой. Каждое из седел выполнено в виде, по меньшей мере, двух сопряженных элементов в виде полых тел вращения относительно продольной оси корпуса. Эти полые тела вращения имеют в основании круг. Диаметр основания элемента, расположенного ближе к пробке, меньше диаметра основания сопряженного с ним элемента. Изобретение направлено на повышение герметичности пары седло – пробка шарового крана в широком диапазоне давлений рабочей среды за счет совершенствования геометрии упругодеформируемого седла и на упрощение технологии его изготовления. 9 з.п. ф-лы, 4 ил.
Изобретение относится к запорной арматуре и может быть использовано для регулирования и перекрытия потоков рабочей среды, транспортируемой по трубопроводу.
Известны шаровые краны (RU, 2243437, кл. F16К 5/06, 2004 г.; RU, 2267048, кл. F16К 5/06, 2004 г.), содержащие корпус с патрубками и сферическую пробку, размещенную в седлах, выполненных в виде металлических втулок, взаимодействующих с поверхностью пробки и опирающихся на поверхность корпуса либо патрубка. Седло хорошо работает в широком температурном диапазоне, однако упругих свойств металлической втулки оказывается недостаточно для обеспечения надлежащего уплотнения пары седло – пробка. Упомянутое седло требует дополнительного поджатия в сторону пробки, что усложняет конструкцию крана и технологию его сборки.
Известен шаровой кран (RU, 2138719, F16K 5/06, 2002 г.), содержащий корпус и сферическую пробку в седлах, наиболее близкий к заявляемому по числу совпадающих признаков, в котором роль седла выполняет тарельчатая пружина, взаимодействующая с пробкой и опирающаяся на проточку корпуса. Тарельчатая пружина обладает хорошими упругими свойствами и не требует применения дополнительных поджимающих устройств, однако при увеличении давления рабочей среды и нагрузки на седло упругая деформация пружины не обеспечивает герметичность седла без изменения ее геометрии.
Настоящее изобретение решает задачу повышения герметичности пары седло – пробка шарового крана в широком диапазоне давлений рабочей среды путем совершенствования геометрии упругодеформируемого седла и упрощения технологии его изготовления.
Задача решается тем, что в шаровом кране, содержащем корпус со штуцером, сферическую пробку, упругодеформируемые седла, контактирующие с пробкой и опирающиеся на поверхность корпуса либо штуцера, каждое из седел выполнено в виде сопряженных полых тел вращения относительно продольной оси корпуса, имеющих в основании круг, при этом диаметр основания элемента, расположенного ближе к пробке, меньше диаметра основания сопряженного с ним элемента. Поверхность каждого из седел, введенная в контакт с пробкой, выполнена сферической. На поверхности седла, введенной в контакт с пробкой, может быть выполнен по меньшей мере один кольцевой выступ. Каждое из седел выполнено в виде либо двух сопряженных цилиндров либо в виде сопряженных двух цилиндров и размещенного между ними усеченного конуса, либо в виде сопряженных усеченного конуса и цилиндра, либо в виде двух сопряженных усеченных конусов. Сопряжение упомянутых элементов может быть выполнено плавным. На поверхности каждого из седел, обращенной к пробке, может быть выполнена отбортовка с возможностью введения в контакт с пробкой. Шаровой кран может быть снабжен штуцером, при этом каждое из седел установлено в проточке корпуса и опирается на его торцевую поверхность либо торцевую поверхность штуцера.
Седло предлагаемой геометрии за счет многовариантности сочетаний составляющих его элементов обеспечивает герметичность контакта с поверхностью пробки в широком диапазоне давлений рабочей среды. Под воздействием большого давления рабочей среды возможно увеличение контактной поверхности седла и корпуса в пределах зоны упругости материала седла. Седло может быть изготовлено штамповкой из упругодеформируемого материала, что существенно уменьшает металлоемкость шарового крана и упрощает его изготовление.
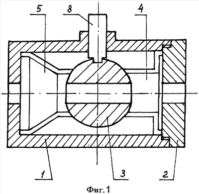
Изобретение поясняется описанием шарового крана и приложенными к нему чертежами. На фиг.1, 3 и 4 представлены разрезы шарового крана с седлами различной геометрии; на фиг.2 – форма контактной поверхности седла по п.3 формулы изобретения.
Шаровой кран содержит корпус 1 со штуцером 2 и сферической пробкой 3, контактирующей с седлами 4 и 5. В шаровом кране, разрез которого представлен на фиг.1, седло 4 выполнено в виде двух сопряженных элементов в виде полых тел вращения относительно продольной оси корпуса, имеющих в основании круг, а именно цилиндров, при этом диаметр основания цилиндра, расположенного ближе к пробке и введенного в контакт с ее поверхностью, меньше диаметра основания сопряженного с ним цилиндра, опирающегося своей торцевой поверхностью (своим основанием) на торцевую поверхность корпуса. Сопряжение цилиндров осуществлено посредством плоской поверхности. Седло 5 выполнено в виде сопряженных цилиндров и расположенного между ними усеченного конуса, при этом, как и в седле 4, цилиндр меньшего диаметра своей торцевой поверхностью введен в контакт с поверхностью пробки, а цилиндр большего диаметра своей торцевой поверхностью (своим основанием) опирается на торцевую поверхность корпуса. В шаровом кране, разрез которого представлен на фиг.3, седло 4 выполнено в виде двух сопряженных усеченных конусов, при этом имеющий меньшее основание конус введен в контакт с поверхностью пробки, а имеющий большее основание конус опирается им на торцевую поверхность корпуса. Седло 5 выполнено в виде этих же элементов, сопряженных между собой плавно. В шаровом кране, разрез которого представлен на фиг.4, седло 4 выполнено в виде плавно сопряженных двух цилиндров, а седло 5 – в виде плавно сопряженных двух цилиндров и усеченного конуса. На поверхности любого из седел (например, седла 4), обращенной к пробке, выполнена отбортовка 6 с возможностью контакта с поверхностью пробки. Седло 4 введено в контакт с торцевой поверхностью корпуса частью своей внутренней поверхности, а седло 5 – с боковой поверхностью корпуса частью своей боковой поверхности. Поверхность седла любой формы, контактирующая с пробкой, может быть выполнена сферической ответной поверхности пробки. На ней может быть выполнен по меньшей мере один кольцевой выступ 7, контактирующий с поверхностью пробки своей кромкой (фиг.2). Опорная поверхность седла может контактировать как с корпусом, так и с торцевой поверхностью штуцера 2. Пробка сочленена со штоком 8.
Шаровой кран работает следующим образом.
В положении крана «открыт» сферическая пробка расположена таким образом, что ее проходное отверстие совпадает с проходными каналами патрубков и корпуса и рабочая среда свободно проходит через кран. Поворотом штока на угол 90 перемещают пробку таким образом, что она перекрывает путь рабочей среде. Седла, подвергаясь воздействию давления рабочей среды, деформируясь, поджимаются к пробке, препятствуя прохождению рабочей среды через проходной канал и за пределы крана.
Изобретение используется в составе магистральных трубопроводов, транспортирующих жидкости и газы, для перекрытия или регулирования потоков рабочей среды под большим давлением.
Формула изобретения
1. Шаровой кран, содержащий корпус, размещенную в корпусе сферическую пробку, упругодеформируемые седла, взаимодействующие с пробкой, отличающийся тем, что каждое из седел выполнено в виде, по меньшей мере, двух сопряженных элементов в виде полых тел вращения относительно продольной оси корпуса, имеющих в основании круг, при этом диаметр основания элемента, расположенного ближе к пробке, меньше диаметра основания сопряженного с ним элемента.
2. Шаровой кран по п.1, отличающийся тем, что поверхность каждого из седел, введенная в контакт с поверхностью пробки, выполнена сферической.
3. Шаровой кран по п.1, отличающийся тем, что на поверхности каждого из седел, введенной в контакт с пробкой, выполнен, по меньшей мере, один кольцевой выступ.
4. Шаровой кран по п.1, отличающийся тем, что в него дополнительно введен штуцер, а каждое из седел опирается своей торцевой поверхностью наибольшего диаметра на торцевую поверхность корпуса либо штуцера.
5. Шаровой кран по п.1, отличающийся тем, что каждое из седел выполнено в виде двух сопряженных цилиндров.
6. Шаровой кран по п.1, отличающийся тем, что седло выполнено в виде сопряженных двух цилиндров и размещенного между ними усеченного конуса.
7. Шаровой кран по п.1, отличающийся тем, что каждое из седел выполнено в виде двух сопряженных усеченных конусов.
8. Шаровой кран по п.1, отличающийся тем, что каждое из седел выполнено в виде усеченного конуса и цилиндра.
9. Шаровой кран по п.5, или 6, или 7, или 8, отличающийся тем, что сопряжение упомянутых элементов каждого из седел выполнено плавным.
10. Шаровой кран по п.4, или 5, или 6, или 7, отличающийся тем, что на поверхности каждого из седел, обращенной к пробке, выполнена отбортовка с возможностью взаимодействия с поверхностью пробки.
РИСУНКИ
|
|