|
|
(21), (22) Заявка: 2006104758/06, 15.02.2006
(24) Дата начала отсчета срока действия патента:
15.02.2006
(46) Опубликовано: 10.02.2008
(56) Список документов, цитированных в отчете о поиске:
RU 2242660 С2, 20.12.2004. SU 181928 A1, 1966.01.01. GB 1063075 A1, 30.03.1967. US 4367766 A, 11.01.1983.
Адрес для переписки:
640027, г.Курган, ул. Химмашевская, 18, ОАО “Икар”, ОППИ
|
(72) Автор(ы):
Черыков Леонид Александрович (RU), Шанаурин Анатолий Леонтьевич (RU), Макаров Владимир Васильевич (RU)
(73) Патентообладатель(и):
ОАО “Икар” Курганский завод трубопроводной арматуры (RU)
|
(54) КЛИНОВАЯ ЗАДВИЖКА
(57) Реферат:
Изобретение относится к арматуростроению, а именно к клиновым задвижкам, и предназначено для использования в качестве запорной арматуры на технологических трубопроводах различных отраслей промышленности. Клиновая задвижка содержит корпус с уплотнительными полями. Они взаимодействуют с ответными полями клина. Клин состоит из двух самоустанавливающихся между собой дисков, соединенных центральным пальцем. На внутренних сторонах дисков, противоположных уплотнительным полям, выполнены противолежащие согласованные кольцевые проточки. В проточки установлена кольцевая прямоугольная проставка. Один из наружных углов последней имеет фаску со сферической поверхностью. Фаска взаимодействует с ответной конической поверхностью, выполненной на стенке проточки. Изобретение упрощает подгонку дисков, обеспечивает перекрытие уплотнительных полей клина и корпуса. 2 ил.
Изобретение относится к арматуростроению, а именно к клиновым задвижкам, и предназначено для использования в качестве запорной арматуры на технологических трубопроводах различных отраслей промышленности.
Известна клиновая задвижка (см. SU 1691638 A1 А16К 3/14), запорный орган которой состоит из двух дисков с узлом регулирования положения уплотнительных полей дисков относительно уплотнительных полей корпуса в виде двух цилиндрических валиков, размещенных по вертикальной оси в глухих отверстиях дисков. При этом в отверстии центрального валика установлены компенсационные шайбы.
К недостаткам известной конструкции следует отнести металлоемкость узла затвора задвижки и наличие регулировки, обеспечивающей перекрытие (посредством установки компенсационных шайб) уплотнительных полей клина относительно уплотнительных полей корпуса, необходимое для наработки гарантированной цикличности.
Известна также задвижка с двухдисковым клиновым затвором ( см. RU 2242660 С2, F16К 3/02 прототип), частично свободная от указанных недостатков, содержащая корпус, клиновый затвор, состоящий из двух дисков, охватывающего и охватываемого, взаимодействующих друг с другом конической и сферической поверхностями и соединенных между собой посредством пальца, выполненного за одно целое с охватываемым диском.
К недостатку известной конструкции относится сложность подгонки дисков по конической и сферической поверхностям для обеспечения работоспособности затвора путем перекрытия уплотнительных полей клина относительно уплотнительных полей корпуса.
Целью изобретения является упрощение подгонки дисков, обеспечивающей перекрытие уплотнительных полей клина и корпуса.
Указанная цель достигается тем, что на внутренних сторонах дисков, противоположных уплотнительным полям, выполнены противолежащие согласованные кольцевые проточки, в которых установлена кольцевая прямоугольная проставка, один из наружных углов последней имеет фаску со сферической поверхностью, взаимодействующую с ответной конической поверхностью, выполненной на стенке проточки.
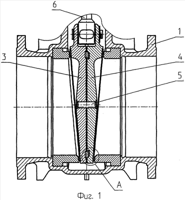
На фиг.1 изображен продольный разрез затворного узла клиновой задвижки; на фиг.2 – вид А фиг.1.
Задвижка содержит корпус 1 с уплотнительными полями 2, клин, состоящий из двух дисков 3 и 4, соединенных между собой пальцем 5 и управляемым шпинделем 6. На внутренних поверхностях дисков 3 и 4 противолежаче расположены кольцевые проточки соответственно 7 и 8, в которые помещена кольцевая прямоугольная проставка 9, наружный угол которой выполнен в виде сферы 10, взаимодействующей с конической стенкой 11 проточки 8 или, как вариант, стенка 11 проточки 8 выполнена сферически выпуклой и взаимодействует с конической сферой 10.
Клиновая задвижка работает следующим образом.
Для обеспечения наработки задвижкой гарантированного цикла «открыто-закрыто» необходимо при сборке затворного узла клиновой задвижки обеспечить перекрытие полей 12 и 2 с выдержкой размера «а». Этот размер обеспечивается подгонкой высоты кольцевой прямоугольной проставки 9 путем проточки широкой плоской стороны, сопрягаемой с проточкой 7.
Подгонка осуществляется, как правило, точением или шлифованием, т.е. простыми операциями для обработки плоских поверхностей на универсальном оборудовании. После обеспечения размера «а» производится сборка задвижки. Задвижка готова к работе.
Формула изобретения
Клиновая задвижка, содержащая корпус с уплотнительными полями, взаимодействующими с ответными полями клина, состоящего из двух самоустанавливающихся между собой дисков, соединенных центральным пальцем, отличающаяся тем, что на внутренних сторонах дисков, противоположных уплотнительным полям, выполнены противолежащие согласованные кольцевые проточки, в которых установлена кольцевая прямоугольная проставка, один из наружных углов последней имеет фаску со сферической поверхностью, взаимодействующую с ответной конической поверхностью, выполненной на стенке проточки.
РИСУНКИ
|
|