|
|
(21), (22) Заявка: 2006124679/11, 10.07.2006
(24) Дата начала отсчета срока действия патента:
10.07.2006
(46) Опубликовано: 10.02.2008
(56) Список документов, цитированных в отчете о поиске:
SU 304379 А, 25.05.1971. SU 1373933 A1, 15.02.1988. SU 1101607 A, 23.04.1988. JP 10103434 A, 21.04.1998. DE 4428556 A, 15.02.1996.
Адрес для переписки:
394000, г.Воронеж, пр-кт Революции, 19, ГОУ ВПО ВГТА, отдел СМП
|
(72) Автор(ы):
Рощупкин Роман Леонидович (RU), Бахолдин Александр Михайлович (RU)
(73) Патентообладатель(и):
Государственное образовательное учреждение высшего профессионального образования Воронежская государственная технологическая академия (RU)
|
(54) НАТЯЖНОЕ УСТРОЙСТВО ДЛЯ РЕМЕННЫХ И ЦЕПНЫХ ПЕРЕДАЧ
(57) Реферат:
Изобретение относится к натяжным устройствам цепных и ременных передач. Натяжное устройство состоит из корпуса, стержня, пружины, шкива, расклинивающего устройства и элемента натяжения. В корпусе установлен подпружиненный шток с возможностью продольного перемещения и взаимодействующий с натяжным шкивом и стержнем. Для фиксации стержня установлен зажим, состоящий из двух конусообразных цанг, контактирующих между собой торцевыми поверхностями и охватывающих стержень. Торцевая поверхность одной цанги выполнена с выступом, а торцевая поверхность другой цанги – с углублением. Цанги охвачены стопорными втулками с внутренним конусом, установленными в корпусе. В качестве расклинивающего устройства используют накидную гайку. Достигается увеличение надежности и нагрузочной способности, повышается срок службы элементов. 1 ил.
Изобретение относится к натяжным устройствам цепных и ременных передач.
Наиболее близкой по технической сущности и достигаемому эффекту является автоматическое натяжное устройство для цепных и ременных передач, содержащее корпус, подпружиненный стержень, взаимодействующий с натяжной звездочкой или натяжным шкивом и автоматический зажим для стержня одностороннего действия [А.с. 1253006, опубл. 25.05.71. Бюл. №17].
Недостатком данной конструкций являются низкие надежность и нагрузочная способность, т.к. в случае значительного увеличения нагрузки на цепь или ремень, зажим одностороннего действия, состоящий из подпружиненных шариков, взаимодействующих одновременно с конусом и стержнем, не сработает и стержень начнет «проскальзывать» в обратном направлении из-за малой площади контакта шарика и стержня.
Техническая задача изобретения – увеличение надежности и нагрузочной способности натяжного устройства для цепных и ременных передач.
Поставленная техническая задача достигается тем, что в натяжном устройстве для цепных и ременных передач, состоящем из корпуса, стержня, пружины, шкива, расклинивающего устройства и элемента натяжения, новым является то, что в нем установлен подпружиненный шток с возможностью продольного перемещения и взаимодействующий с натяжным шкивом и стержнем, причем для фиксации стержня установлен зажим, состоящий из двух конусообразных цанг, контактирующих между собой торцевыми поверхностями, причем торцевая поверхность одной цанги выполнена с выступом, а торцевая поверхность другой цанги – с углублением, охватывающих стержень, и охватываемых стопорными втулками с внутренним конусом, при этом в качестве расклинивающего устройства используют накидную гайку.
Технический результат заключается в увеличении надежности и нагрузочной способности натяжного устройства для цепных и ременных передач.
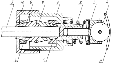
На чертеже изображено натяжное устройство для цепных и ременных передач.
Натяжное устройство для цепных и ременных передач состоит из корпуса 1, подпружиненного пружиной 2 штока 3, взаимодействующего одновременно с натяжным шкивом 4 и стержнем 5, зажима стержня, включающего в себя две цанги 6 и 7, охватываемые стопорными втулками 8 и 9 соответственно, накидной гайки 10 для расклинивания цанг по стержню.
Натяжное устройство для цепных и ременных передач работает следующим образом.
Накидной гайкой 10 освобождается стопорная втулка 8 и цанги 6 и 7. Все устройство перемещается в сторону передачи 11 до тех пор, пока стержень 5 с подпружиненным штоком 3 и натяжным шкивом 4 не займут крайнее правое положение, при этом пружина 2 сжимается. Цанги 6 и 7 расклиниваются по стержню 5 стопорными втулками 8 и 9 под действием накидной гайки 10, при этом корпус 1 фиксируется. При ослаблении передачи 11 пружина 2 перемещает шток 3 с натяжным шкивом 4 – происходит натяжение.
Предложенное натяжное устройство для цепных и ременных передач позволяет увеличить надежность и нагрузочную способность, повысить срок службы элементов.
Формула изобретения
Натяжное устройство для цепных и ременных передач, содержащее корпус, стержень, пружину, шкив, расклинивающее устройство, элемент натяжения, отличающееся тем, что в нем установлен подпружиненный шток с возможностью продольного перемещения, взаимодействующий с натяжным шкивом и стержнем, причем для фиксации стержня установлен зажим, включающий в себя две конусообразные цанги, контактирующие между собой торцевыми поверхностями, причем торцевая поверхность одной цанги выполнена с выступом, а торцевая поверхность другой – с углублением, охватывающие стержень и охватываемые стопорными втулками с внутренним конусом, в качестве расклинивающего устройства используют накидную гайку.
РИСУНКИ
MM4A – Досрочное прекращение действия патента СССР или патента Российской Федерации на изобретение из-за неуплаты в установленный срок пошлины за поддержание патента в силе
Дата прекращения действия патента: 11.07.2008
Извещение опубликовано: 20.05.2010 БИ: 14/2010
|
|