|
| На основании пункта 3 статьи 13 Патентного закона Российской Федерации от 23 сентября 1992 г. № 3517-I патентообладатель обязуется передать исключительное право на изобретение (уступить патент) на условиях, соответствующих установившейся практике, лицу, первому изъявившему такое желание и уведомившему об этом патентообладателя и федеральный орган исполнительной власти по интеллектуальной собственности, – гражданину РФ или российскому юридическому лицу. |
|
(21), (22) Заявка: 2006121893/11, 21.06.2006
(24) Дата начала отсчета срока действия патента:
21.06.2006
(46) Опубликовано: 10.02.2008
(56) Список документов, цитированных в отчете о поиске:
SU 1513260 A1, 07.10.1989. RU 2087766 C1, 20.08.1997. SU 1732044 A1, 07.05.1992. US 4317601 A1, 02.03.1982. DE 19605471 A1, 21.08.1997.
Адрес для переписки:
305044, г.Курск, ул. Союзная, 12, кв.84, А.А.Сарычеву
|
(72) Автор(ы):
Сарычев Александр Александрович (RU)
(73) Патентообладатель(и):
Сарычев Александр Александрович (RU)
|
(54) СЕПАРАТОР РОЛИКОВОГО ПОДШИПНИКА КАЧЕНИЯ
(57) Реферат:
Изобретение относится к области машиностроения, а в частности – к подшипникам качения, работающим в узлах машин и механизмов. Сепаратор роликового подшипника качения содержит корпус гребенчатой формы с гнездами и перемычками между ними, имеющими выемки со стороны свободного торца, фланец, соединенный с корпусом по поверхностям выемок, соединительные элементы, размещенные в соосных отверстиях корпуса и фланца, и стопоры, выполненные в виде замыкающих головок соединительных элементов. В сепараторе оси соосных отверстий корпуса и фланца расположены в перемычках на поверхности, совпадающей или эквидистантной поверхности расположения осей гнезд. Поверхности торцов сепаратора расположены перпендикулярно соосным отверстиям корпуса и фланца. Поверхности выемок обращены в сторону соединенных с ними поверхностей фланца, которые имеют единообразную форму с поверхностями выемок и соединены с ними по посадке. Одна из поверхностей выемок расположена перпендикулярно осям гнезд. Стержни соединительных элементов сопряжены с поверхностями соосных отверстий корпуса и фланца по посадке на посадочном участке. Часть стержня соединительных элементов, прилегающая к посадочному участку, выполнена с меньшим диаметром, и/или соосные отверстия корпуса и/или фланца выполнены ступенчатыми с посадочными участками, имеющими меньший диаметр. Выемки выполняют V-образной формы с любым приемлемым углом между ее поверхностями, одну из которых выполняют конической с углом конуса не более 10 градусов и с вершиной на оси сепаратора, расположенной с любого из его торцов. Поверхности выемок выполняют со стороны внутреннего и/или наружного диаметров сепаратора и соединяют с поверхностями фланца по посадке с незначительным гарантированным натягом, или, по крайней мере, без зазора, соединительные элементы устанавливают в соосных отверстиях корпуса и фланца по переходным посадкам. Технический результат: увеличение долговечности подшипника за счет расширения функциональных возможностей конструкции сепаратора. 4 з.п. ф-лы, 1 ил.
Изобретение относится к области машиностроения, а в частности – к подшипникам качения (ПК), работающим в узлах машин и механизмов.
Известен сепаратор стандартного роликового ПК, содержащий корпус гребенчатой формы с гнездами и перемычками между ними, имеющими выемки Г-образной формы со стороны свободного торца перемычек, сепараторную шайбу (фланец), соединенный с корпусом по поверхностям выемок, соединительные элементы, выполненные в виде заклепок и размещенные в соосных отверстиях корпуса и фланца и стопоры, выполненные в виде замыкающих головок заклепок, в котором оси соосных отверстий корпуса и фланца расположены в перемычках на поверхности, совпадающей или эквидистантной поверхности расположения осей гнезд, поверхности торцов сепаратора расположены перпендикулярно соосным отверстиям корпуса и фланца, поверхности выемок обращены в сторону соединенных с ними поверхностей фланца, которые имеют единообразную форму с поверхностями выемок и соединены с ними по переходной посадке, одна из поверхностей выемки расположена перпендикулярно осям гнезд, а другая выполнена цилиндрической с осью совпадающей с осью сепаратора (1).
Такие сепараторы из-за низких функциональных возможностей их конструкции не могут быть применены в других типах ПК, например в роликовых конических ПК. Это связано с тем, что сепаратор роликовых конических ПК должен иметь конические гнезда для размещения конических роликов, при этом оси соосных отверстий в корпусе и фланце должны быть расположены под углом к оси сепаратора, что затрудняет сборку сепаратора в одно целое при помощи заклепок (соединительных элементов).
Известен ряд технических решений, направленных на повышение долговечности ПК. Например, такое как металлический штампованный сепаратор конического роликового подшипника в виде полого конического корпуса с наружной и внутренней коническими боковыми поверхностями и с большим и малым основаниями, имеющими плоские торцы, содержащий большую круговую перемычку и малую круговую, образующую внутренней цилиндрической поверхностью расположенное в плоскости малого основания донное отверстие, и соединяющие их между собой равномерно расположенные по окружности продольные перемычки, образующие совместно окна для роликов; радиальное сечение малой круговой перемычки выполнено в форме трапеции, наружная сторона которой совпадает с наружной боковой конической поверхностью корпуса, а внутренняя сторона расположена под острым углом к основанию трапеции, совпадающему с торцом малого основания (2).
Недостаток такого сепаратора роликового конического ПК заключается в том, что он изготавливается штамповкой, при которой трудно достичь высоких точностных параметров требуемых от сепараторов в роликовых ПК. Кроме того, такая конструкция сепаратора применяется в ПК относительно небольших размеров.
Наиболее близким техническим решением, направленным на увеличение долговечности ПК, принятым в качестве прототипа, является сепаратор, в котором применяется узел крепления корпуса сепаратора ПК с фланцем, содержащий соединительную заклепку, размещенную в соосных отверстиях корпуса и фланца, стержень заклепки, на длине равной 1,5…3,0 толщины фланца, от головки сопряжен с поверхностями отверстий во фланце и корпусе по прессовой посадке, при этом прилегающая к посадочному участку часть стержня заклепки может быть выполнена с меньшим диаметром, или отверстие под заклепку может быть выполнено ступенчатым, причем посадочный участок имеет меньший диаметр (3).
Недостаток такого сепаратора роликового ПК заключается в том, что его конструкцию трудно реализовать в других ПК из-за низкой функциональной возможности, например в роликовых конических ПК. Из-за того что в роликовом коническом ПК оси соосных отверстий корпуса и фланца наклонены к оси сепаратора под некоторым углом то сборку сепаратора в одно целое – клепку сепаратора необходимо производить под этим же углом к оси сепаратора. Поэтому сборка сепаратора роликового конического ПК в одно целое посредством клепки соединительных элементов проблематична.
Целью изобретения является увеличение долговечности ПК за счет расширения функциональных возможностей конструкции сепаратора.
Указанная цель достигается следующим.
1. Сепаратор роликового ПК, содержащий корпус гребенчатой формы с гнездами для роликов и перемычками между ними, имеющими выемки со стороны свободного торца перемычек, фланец, соединенный с корпусом по поверхностям выемок, соединительные элементы, размещенные в соосных отверстиях корпуса и фланца и стопоры, выполненные в виде замыкающих головок соединительных элементов, в котором оси соосных отверстий корпуса и фланца расположены в перемычках на поверхности, совпадающей или эквидистантной поверхности расположения осей гнезд, поверхности торцов сепаратора расположены перпендикулярно соосным отверстиям корпуса и фланца, поверхности выемок обращены в сторону соединенных с ними поверхностей фланца, которые имеют единообразную форму с поверхностями выемок и соединены с ними по посадке, одна из поверхностей выемок расположена перпендикулярно осям гнезд, стержни соединительных элементов сопряжены с поверхностями соосных отверстий корпуса и фланца по посадкам на посадочных участках, часть стержня соединительных элементов, прилегающая к посадочному участку, выполнена с меньшим диаметром, и/или соосные отверстия корпуса и/или фланца выполнены ступенчатыми с посадочными участками имеющими меньший диаметр, отличающийся тем, что:
1.1. Выемки выполняют V-образной формы с любым приемлемым углом между ее поверхностями, например меньше прямого угла, или равным прямому углу, или больше чем прямой угол.
1.2. Одну из поверхностей выемок выполняют конической с углом конуса не более 10 градусов и с вершиной на оси сепаратора, расположенной с любого из торцов сепаратора.
1.3. Поверхности выемок выполняют со стороны внутреннего и/или наружного диаметров сепаратора.
1.4. Поверхности выемок соединяют с поверхностями фланца по посадке с незначительным гарантированным натягом или, по крайней мере, без зазора.
1.5. Соединительные элементы устанавливают в соосных отверстиях корпуса и фланца по переходным посадкам (с относительно небольшими натягом или зазором) и/или по посадкам с натягом.
2. Сепаратор роликового ПК по п.1, отличающийся тем, что:
2.1. На посадочных участках соосных отверстий корпуса и/или фланца выполняют резьбу.
2.2. На посадочных участках соединительных элементов выполняют резьбу, соответствующую резьбе соосных отверстий корпуса и/или фланца.
2.3. Размеры посадочных участков устанавливают в пределах сечения сепаратора радиальной плоскостью.
2.4. Соединительные элементы выполняют в виде любых технически выполнимых резьбовых деталей, например болта, или винта, или шпильки с гайкой, или конического штифта с резьбой.
2.5. Стопоры выполняют любой технически выполнимой формы за одно целое с соединительными элементами и/или сепаратором, или отдельно от них и соединяют с сепаратором и соединительными элементами с обеспечением возможности разборки сепаратора или без таковой, например, в виде сварных швов между соединительными элементами и сепаратором, или чеканки соединительных элементов на сепараторе, или в виде кольцевых канавок на соединительных элементах и стопорных шайб или колец, или в виде радиальных отверстий в соединительных элементах и шплинтов, или в виде радиальных отверстий в сепараторе и соединительных элементах и штифтов.
3. Сепаратор роликового ПК по п.1, отличающийся тем, что оси соосных отверстий корпуса и фланца располагают под углом к осям гнезд для роликов или между перемычками и совмещают с осями гнезд для роликов.
4. Сепаратор роликового ПК по п.2, отличающийся тем, что оси соосных отверстий корпуса и фланца располагают под углом к осям гнезд для роликов или между перемычками и совмещают с осями гнезд для роликов.
5. Сепаратор роликового ПК по п.1, или п.2, или п.3, или п.4, отличающийся тем, что:
5.1. Наружную и внутреннюю поверхности сепаратора выполняют любой технически выполнимой формы, например конической, вершину которой располагают в точке пересечения осей гнезд для роликов, или цилиндрической, или ступенчатой, или другой формы, или комбинированной, состоящей из конических, цилиндрических и других поверхностей.
5.2. Торцы сепаратора располагают перпендикулярно или под некоторым углом к оси сепаратора или выполняют состоящими, по меньшей мере, из двух поверхностей, одна из которых перпендикулярна оси сепаратора, а другая перпендикулярна осям соосных отверстий корпуса и фланца.
5.3. Соосные отверстия корпуса выполняют в перемычках сквозными или глухими, открытыми в сторону фланца, или оси соосных отверстий корпуса и фланца располагают между перемычками и совмещают с осями гнезд для роликов.
5.4. Стопоры выполняют в виде деталей простой формы, например тонкостенным диском с отверстием, или штифтом из проволоки, или шплинтом, или гроверной шайбой.
5.5. Стопоры фиксируют неподвижно по поверхностям соединительных элементов и сепаратора.
Указанные выше отличия заявленного устройства от конструкции прототипа необходимы для достижения поставленной цели и объясняются следующим:
1.1) Выемки выполняют V-образной формы с любым приемлемым углом между ее поверхностями для того, чтобы обеспечить надежное соединение перемычек с фланцем. При этом угол между ее поверхностями может быть как меньше, чем прямой угол, так и больше прямого угла, так и равным прямому углу, так как величина угла не влияет на соединяемость перемычек и фланца.
1.2) Одну из поверхностей выемок выполняют конической с углом конуса не более 10 градусов и с вершиной на оси сепаратора, расположенной с любого из торцов сепаратора для того, чтобы в соединении перемычек с фланцем обеспечить гарантированный натяг, или, по крайней мере, посадку без зазора.
1.3) Поверхности выемок выполняют со стороны внутреннего и/или наружного диаметров сепаратора для того, чтобы обеспечить технологичность конструкции. Это связано с тем, что в зависимости от типа ПК, в котором предполагается применение сепаратора, необходимо соответствующее расположение выемок, в том числе, и выемок, расположенных одновременно со стороны внутреннего и наружного диаметров сепаратора.
1.4) Поверхности выемок соединяют с поверхностями фланца по посадке с незначительным гарантированным натягом или, по крайней мере, без зазора для того, чтобы обеспечить надежное соединение этих деталей, исключающее их взаимное перемещение при работе. При этом минимально допустимый натяг может быть нулевым, так как он гарантирует отсутствие зазора в соединении и исключает взаимное перемещение деталей. Назначение конкретной величины натяга производится при разработке конструкции в зависимости от задания на проектирование.
1.5) Соединительные элементы устанавливают в соосных отверстиях корпуса и фланца по переходным посадкам (с относительно небольшим натягом или зазором) и/или по посадкам с натягом для того, чтобы оптимизировать напряжения в этой посадке. Это связано с тем, что значительные напряжения в этой посадке приводят к поломке сепаратора. А незначительный зазор в этой посадке способствует улучшению собираемости сепаратора и практически не влияет на долговечность ПК. При этом посадки в соосных отверстиях корпуса и фланца могут быть как одинаковыми, так и разными. Решение о назначении той или иной посадки принимается в процессе конструирования в зависимости от поставленной задачи.
2.1) На посадочных участках соосных отверстий корпуса и/или фланца выполняют резьбу для того, чтобы обеспечить более надежное соединение деталей сепаратора в одно целое. При этом резьба может быть выполнена только в соосных отверстиях корпуса или только в соосных отверстиях фланца. Кроме того, резьба может быть выполнена в соосных отверстиях обоих деталей, например в части соосных отверстий корпуса и в части соосных отверстий фланца.
2.2) На посадочных участках соединительных элементов выполняют резьбу, соответствующую резьбе соосных отверстий корпуса и/или фланца для того, чтобы обеспечить более надежное соединение деталей сепаратора в одно целое. Резьба может быть изготовлена соответствующей резьбе, выполняемой в соосных отверстиях корпуса при взаимодействии соединительных элементов с его соосными отверстиями. Резьба может быть изготовлена соответствующей резьбе, выполняемой в соосных отверстиях фланца при взаимодействии соединительных элементов с его соосными отверстиями. При наличии различной резьбы в соосных отверстиях корпуса и фланца резьбу на соединительных элементах выполняют соответствующей резьбе той детали сепаратора, с которой они взаимодействуют. При этом часть соединительных элементов может быть с резьбой, соответствующей резьбе соосных отверстий корпуса, а часть – соответствующей резьбе соосных отверстий фланца.
2.3) Размеры посадочных участков устанавливают в пределах сечения сепаратора радиальной плоскостью для того, чтобы обеспечить равную надежность всех деталей и элементов конструкции, исходя из конструктивных и прочностных требований к соединению и собранному сепаратору в целом.
2.4) Соединительные элементы выполняют в виде любых технически выполнимых резьбовых деталей для того, чтобы обеспечить их технологичность и сравнительно низкую себестоимость. Например, соединительные элементы выполняют в виде болта, или винта, или шпильки с гайкой, или конического штифта с резьбой, или любых других деталей. При этом форма соединительных элементов не столь важна – главное, чтобы они обеспечивали надежное соединение деталей сепаратора.
2.5) Стопоры выполняют любой технически выполнимой формы за одно целое с соединительными элементами и/или сепаратором или отдельно от них и соединяют с сепаратором и соединительными элементами с обеспечением возможности разборки сепаратора или без таковой для того, чтобы обеспечить технологичность как стопоров, так и других деталей сепаратора, так и процесса сборки сепаратора в одно целое. Стопоры могут быть выполнены за одно целое с соединительными элементами в виде проточек или буртиков для чеканки по сепаратору. Стопоры могут быть выполнены за одно целое с сепаратором. Стопоры могут быть выполнены за одно целое с соединительными элементами и сепаратором в виде сварных швов между ними. Стопоры могут быть выполнены отдельно от соединительных элементов и сепаратора, например в виде стопорных шайб или колец, или в виде шплинтов, или штифтов. При этом стопоры могут быть соединены с сепаратором и соединительными элементами с обеспечением возможности разборки или без возможности разборки сепаратора после его сборки. Выбор той или иной формы стопоров и той или иной схемы сборки сепаратора производится при проектировании конструктором исходя из технического задания.
3) и 4) Оси соосных отверстий корпуса и фланца располагают под углом к осям гнезд для роликов или между перемычками и совмещают с осями гнезд для роликов для того, чтобы обеспечить технологичность конструкции. Кроме того, расположение осей соосных отверстий корпуса и фланца под некоторым углом к осям гнезд для роликов позволяет унифицировать оснастку и применять ее для разных типов ПК. А расположение осей соосных отверстий корпуса сепаратора между перемычками и совмещение их с осями гнезд для роликов позволяет использовать такую конструкцию сепаратора в ПК с роликами, имеющими центральные отверстия.
5.1) Наружную и внутреннюю поверхности сепаратора выполняют любой технически выполнимой формы для того, чтобы расширить функциональные возможности конструкции сепаратора и применять ее для различных типов ПК. Например, эти поверхности выполняют коническими, вершины которых располагают в точке пересечения осей гнезд для роликов, или цилиндрическими, или ступенчатыми, или другой формы, или комбинированными, состоящими из конических, цилиндрических и других поверхностей. Решение о выборе той или иной формы этих поверхностей принимается конструктором исходя из конструктивных и иных соображений в зависимости от типа проектируемого ПК.
5.2) Торцы сепаратора располагают перпендикулярно или под некоторым углом к оси сепаратора, или выполняют состоящими, по меньшей мере, из двух поверхностей, одна из которых перпендикулярна оси сепаратора, а другая перпендикулярна осям соосных отверстий корпуса и фланца для того, чтобы обеспечить технологичность изготовления корпуса и фланца. Это связано с тем, что кольцевые детали с плоскими торцами (плоскость торца перпендикулярна оси) более технологичны, чем детали, например, с коническим торцом. Однако в ряде случаев, когда в кольцевой детали необходимо изготавливать отверстия, расположенные под некоторым углом к ее оси, более технологично выполнение торца под этим же углом. При этом торцы могут состоять из нескольких поверхностей. Количество поверхностей, составляющих торцы сепаратора, не влияет на долговечность ПК, а важно то, чтобы одна из них была перпендикулярна оси сепаратора, а другая перпендикулярна осям соосных отверстий корпуса и фланца.
5.3) Соосные отверстия корпуса выполняют в перемычках сквозными или глухими, открытыми в сторону фланца, или оси соосных отверстий корпуса и фланца располагают между перемычками и совмещают с осями гнезд для роликов для того, чтобы обеспечить технологичность и сравнительно низкую себестоимостью сепаратора. При этом соосные отверстия корпуса могут быть выполнены как сквозными, так и глухими. Выполнение сквозных отверстий более технологично при относительно небольших осевых размерах сепаратора. Глухие отверстия более технологичны при относительно больших осевых размерах сепаратора. А расположение осей соосных отверстий корпуса и фланца между перемычками и совмещение их с осями гнезд для роликов позволяет использовать такую конструкцию сепаратора в ПК с роликами, имеющими центральные отверстия.
5.4) Стопоры выполняют в виде деталей простой формы для того, чтобы обеспечить технологичность и сравнительно низкую себестоимость их изготовления. Стопоры выполняют, например, в виде тонкостенного диска с отверстием, или штифта из проволоки, или шплинта, или гроверной шайбы. Форма стопоров не влияет на долговечность ПК, поэтому важно, чтобы она была как можно проще и выполняла свои функции.
5.5) Стопоры фиксируют неподвижно по поверхностям соединительных элементов и сепаратора для того, чтобы исключить разборку сепаратора в процессе работы ПК.
Все это, в конечном счете, позволяет расширить функциональные возможности конструкции сепаратора и тем самым повысить долговечность ПК.
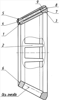
На чертеже представлен сепаратор роликового ПК в разрезе с элементами.
Сепаратор роликового ПК, содержит корпус 1 с гнездами и перемычками 2 между ними, фланец 3, соединительные элементы 4 и стопоры 5. Наружная и внутренняя поверхности сепаратора выполнены коническими. Оси соосных отверстий корпуса 1 и фланца 3 расположены в перемычках 2 на поверхности эквидистантной поверхности расположения осей гнезд. Один торец 6 сепаратора расположен перпендикулярно соосным отверстиям корпуса 1 и фланца 3, а другой торец сепаратора состоит из двух поверхностей 7 и 8, первая из которых перпендикулярна оси сепаратора, а вторая перпендикулярна соосным отверстиям корпуса 1 и фланца 3. Соединительные элементы 4 выполнены в виде болтов. Посадочные участки 9 соосных отверстий фланца 3 и соединительных элементов 4 выполнены с соответствующей друг другу резьбой. Стопоры 5 выполнены в виде тонкостенных дисков с отверстиями, зафиксированы неподвижно на поверхностях соединительных элементов 4 и корпуса 1 и соединены с корпусом 1 и соединительными элементами 4 с обеспечением возможности разборки сепаратора.
Сепаратор работает только в составе ПК. Работа сепаратора роликового ПК заключается в обеспечении разделения вращающихся роликов в работающем ПК. При этом сепаратор не позволяет поверхностям роликов соприкасаться друг с другом при работе ПК. Это обеспечивается тем, что сепаратор имеет гнезда для роликов и перемычки между ними.
Источники информации.
1. ГОСТ 8328-75 “Подшипники роликовые радиальные с короткими цилиндрическими роликами. Типы и основные размеры.” – М.: Издательство стандартов, 1989.
2. Патент RU №2087766, В.А. Багинский и др. “Металлический штампованный сепаратор конического роликоподшипника и способ его изготовления”, Россия, МПК6 F16C 33/46, БИ №23, 1997.
3. А.с. 1513260, Карел Доубал “Узел крепления корпуса сепаратор подшипника качения с фланцем”, СССР, МКИ4 F16C 33/46, F16B 19/04, БИ №37, 1989. Прототип.
Формула изобретения
1. Сепаратор роликового подшипника качения, содержащий корпус гребенчатой формы с гнездами и перемычками между ними, имеющими выемки со стороны свободного торца, фланец, соединенный с корпусом по поверхностям выемок, соединительные элементы, размещенные в соосных отверстиях корпуса и фланца, и стопоры, выполненные в виде замыкающих головок соединительных элементов, в котором оси соосных отверстий корпуса и фланца расположены в перемычках на поверхности, совпадающей или эквидистантной поверхности расположения осей гнезд, поверхности торцов сепаратора расположены перпендикулярно соосным отверстиям корпуса и фланца, поверхности выемок обращены в сторону соединенных с ними поверхностей фланца, которые имеют единообразную форму с поверхностями выемок и соединены с ними по посадке, одна из поверхностей выемок расположена перпендикулярно осям гнезд, стержни соединительных элементов сопряжены с поверхностями соосных отверстий корпуса и фланца по посадке на посадочном участке, часть стержня соединительных элементов, прилегающая к посадочному участку, выполнена с меньшим диаметром, и/или соосные отверстия корпуса и/или фланца выполнены ступенчатыми с посадочными участками, имеющими меньший диаметр, отличающийся тем, что выемки выполняют V-образной формы с любым приемлемым углом между ее поверхностями, одну из которых выполняют конической с углом конуса не более 10° и с вершиной на оси сепаратора, расположенной с любого из его торцов, поверхности выемок выполняют со стороны внутреннего и/или наружного диаметров сепаратора и соединяют с поверхностями фланца по посадке с незначительным гарантированным натягом, или, по крайней мере, без зазора, соединительные элементы устанавливают в соосных отверстиях корпуса и фланца по переходным посадкам и/или по посадкам с натягом.
2. Сепаратор роликового подшипника качения по п.1, отличающийся тем, что на посадочных участках соосных отверстий корпуса и/или фланца и соединительных элементов выполняют соответствующую друг другу резьбу, размеры посадочных участков устанавливают в пределах сечения сепаратора радиальной плоскостью, соединительные элементы выполняют в виде любых технически выполнимых резьбовых деталей, стопоры выполняют любой технически выполнимой формы за одно целое с соединительными элементами и/или сепаратором, или отдельно от них и соединяют с сепаратором и соединительными элементами с обеспечением возможности разборки сепаратора или без таковой.
3. Сепаратор роликового подшипника качения по п.1, отличающийся тем, что оси соосных отверстий корпуса и фланца располагают под углом к осям гнезд, или между перемычками и совмещают с осями гнезд.
4. Сепаратор роликового подшипника качения по п.2, отличающийся тем, что оси соосных отверстий корпуса и фланца располагают под углом к осям гнезд, или между перемычками и совмещают с осями гнезд.
5. Сепаратор роликового подшипника качения по любому из пп.1-4, отличающийся тем, что наружную и внутреннюю поверхности сепаратора выполняют любой технически выполнимой формы, торцы сепаратора располагают перпендикулярно или под некоторым углом к оси сепаратора или выполняют состоящими, по меньшей мере, из двух поверхностей, одна из которых перпендикулярна оси сепаратора, а другая перпендикулярна осям соосных отверстий корпуса и фланца, соосные отверстия корпуса выполняют в перемычках сквозными или глухими, открытыми в сторону фланца, или оси соосных отверстий корпуса сепаратора и фланца располагают между перемычками и совмещают с осями гнезд для роликов, стопоры выполняют в виде деталей простой формы и фиксируют неподвижно по поверхностям соединительных элементов и сепаратора.
РИСУНКИ
|
|