|
|
(21), (22) Заявка: 2004101208/06, 14.01.2004
(24) Дата начала отсчета срока действия патента:
14.01.2004
(43) Дата публикации заявки: 20.06.2005
(46) Опубликовано: 10.02.2008
(56) Список документов, цитированных в отчете о поиске:
RU 2198323 C1, 10.02.2003. RU 2125187 C1, 20.01.1999. RU 2072454 С1, 27.01.1997. US 5857838 А, 12.01.1999. US 4673335 A, 16.01.1987.
Адрес для переписки:
456313, Челябинская обл., г. Миасс, а/я 692, А.Ф. Недугову
|
(72) Автор(ы):
Куркулов Михаил Анатольевич (RU), Недугов Анатолий Федорович (RU)
(73) Патентообладатель(и):
Куркулов Михаил Анатольевич (RU), Недугов Анатолий Федорович (RU)
|
(54) СТРУЙНЫЙ СМЕШИВАЮЩИЙ ПОДОГРЕВАТЕЛЬ ЖИДКОСТИ
(57) Реферат:
Подогреватель содержит активное сопло, приемную камеру, камеру предварительного смешения, трубопровод подачи жидкости в камеру предварительного смешения с устройством нагнетания жидкости, соединяемого системой запорных задвижек: всасывающим патрубком с входом в активное сопло, нагнетательным – с камерой предварительного смешения – либо всасывающим патрубком с выходной частью подогревателя, а нагнетательным – с камерой предварительного смешения – либо всасывающий и нагнетающий патрубки соединены с камерой предварительного смешения. В корпусе камеры предварительного смешения выполнены тангенциальные сопла, а на внутренней поверхности установлены лопатки. Технический результат – подогрев жидкости. 3 з.п. ф-лы, 2 ил.
Изобретение относится к области теплоэнергетики и может применяться в любых отраслях народного хозяйства для нагревания жидкости паром, вводимым в поток жидкости, это, в частности, системы теплоснабжения, горячего водоснабжения и водоподготовки.
В промышленности, в технологических процессах существуют сопутствующие источники пара переменных параметров с меняющимися давлениями, температурой и расходом, например системы испарительного охлаждения мартеновских печей, конвекторов, отработавший пар паровых машин, который используется либо частично, либо не используется вообще, а сбрасывается в атмосферу. В энергетическом плане эти источники обладают значительными запасами тепловой энергии, которую целесообразно использовать, например, для нагрева воды в магистралях с использованием в том числе и конденсата после бойлерных установок. Но чаще всего оказывается, что давление в водяных магистралях может быть как выше, так и ниже давления источника пара, что создает трудности в использовании таких источников.
Предлагаемое изобретение направлено на создание устройства, решающего эту проблему, то есть обеспечивающего подогрев текущего расхода жидкости паром при изменении входных параметров пара (давления и расхода) в широком диапазоне.
Для нагревания жидкости паром известны струйные аппараты классической схемы, описанные, например, в книге Соколова Е.Я. и Зингера Н.М. “Струйные аппараты”, Изд. 2-е, М., “Энергия”, 1970 г. Работа аппаратов основана на явлении эжекции затопленной струей рабочей среды (жидкости или пара) пассивной среды (тоже жидкости или пара). Например, на страницах 251-270 описан смешивающий струйный подогреватель воды, рабочей средой в котором является вода, а инжектируемой – пар, который при конденсации нагревает воду. Подогреватель состоит из активного сопла, приемной камеры, камеры смешения и диффузора.
Достоинством таких устройств является простота конструкции, а также несложность изготовления. Известен целый класс изобретений, усовершенствующих работу струйных аппаратов, например: п.2125187, кл. 6 F04F 5/02; а. с.1044839, кл. F04F 5/14; п.2041404, 2046220, 2061912, 2059893, 2059894, кл. 6 F04F 5/4; п.1809671-1809673, 1806296 – 1806300, кл. 5 F04F 5/4; а.с. 901655, кл. F04F 5/16; а. с.403880, кл. F04F 5/4; а.с.787735, кл. F04F 5/02. Но все эти устройства неприменимы при изменении в широком диапазоне входных параметров пара, значительной разнице давления у источника пара и в водяных магистралях. Кроме того, при повышенных расходах пара в водяной магистрали формируется двухфазная структура течения с размерами паровых включений, близкими к размерам трубы, вызывающими ударно-вибрационное воздействие на трубопроводные системы, что недопустимо.
Наиболее близким техническим решением к заявляемому является патент РФ №2198323 С2, кл. 7 F04F 5/08, приоритет 21.06.2000 г., опубликован в бюл. №4 10.02.2003 года, принятый за прототип.
Взятое за прототип устройство для непрерывной подачи пара в водяную магистраль содержит активное сопло, в котором осуществляется разгон нагреваемой воды с понижением давления, приемную камеру, в которой формируется зона разрежения, камеру предварительного смешения пара с нагреваемой водой, соединенную трубопроводом через вентиль с входной частью активного сопла. Конструкция камеры предварительного смешения обеспечивает разбиение подаваемой в нее по трубопроводу нагреваемой воды в дисперсный поток с помощью струйных форсунок и смешение ее с потоком пара. Подача воды в камеру предварительного смешения происходит за счет перепада давления между давлением нагреваемой воды в активном сопле и давлением греющего пара. Полученная двухфазная смесь подается в приемную камеру за счет разности давлений пара в камере и в зоне разрежения. В дальнейшем происходит конденсация двухфазной пароводяной смеси на струе воды, что приводит к повышению температуры нагреваемой воды.
Достоинством известного устройства является возможность расширения диапазонов расходов пара, воды, диаметров трубопроводов, при которых может быть оно использовано для нагревания воды, поскольку позволяет перейти от крупномасштабной двухфазной структуры течения к мелкомасштабной, исключив тем самым гидравлические удары и вибрации трубопроводных систем. Прототип хорошо работает при давлениях пара, меньших давления воды в подающей водяной магистрали.
Недостатком прототипа является невозможность подачи воды в камеру предварительного смешения при давлениях пара, больших давлений воды, отбираемой из зоны на входе в активное сопло, что сужает область применения прототипа, а при близких значениях давлений воды и пара ухудшается распыл воды в струйных форсунках и, следовательно, ухудшается качество получаемой двухфазной смеси.
В некоторых случаях проблема обеспечения работоспособности прототипа при давлениях пара, больших давлений воды в подающей магистрали, может быть решена, как известно, сужением критического сечения активного сопла, однако такой способ приводит к росту гидравлического сопротивления подогревателя.
Как показал опыт эксплуатации, при включении прототипа в работу, после подачи воды в активное сопло, камера предварительного смешения подогревателя заполнена водой, а после подачи пара происходит вытеснение воды из камеры предварительного смешения в приемную камеру в течение некоторого времени (обычно несколько минут), в процессе которого наблюдаются гидравлические удары. Наличие данного эффекта является неприемлемым в производствах, связанных с частыми остановками (запусками) подогревателя, например при нерегулярном графике потребления воды.
К другим недостаткам можно отнести ухудшение эжекционных характеристик активного сопла вследствие отбора части расхода нагреваемой воды перед активным соплом, а также сложную конструкцию камеры предварительного смешения.
Для устранения этих недостатков прототипа, содержащего активное сопло, приемную камеру, камеру предварительного смешения пара с жидкостью, трубопровод подачи жидкости в камеру предварительного смешения, в нем трубопровод подачи жидкости в камеру предварительного смешения содержит устройство нагнетания жидкости, например центробежный насос, всасывающий патрубок которого соединен со входом в активное сопло, а нагнетательный патрубок соединен с камерой предварительного смешения. Напор насоса выбирается из условия, чтобы поднять давление жидкости, подаваемой в камеру предварительного смешения, до значений, превышающих давление пара и обеспечивающих эффективное разбиение струй воды при любых давлениях пара и воды.
Для повышения эжекционных свойств активного сопла подогревателя всасывающий патрубок насоса соединен с выходной частью подогревателя и отбирает нагретую жидкость, которую подает в камеру предварительного смешения. В отличие от прототипа, для получения двухфазной смеси используется не нагреваемая, а уже нагретая жидкость, что позволяет эффективно использовать весь поток жидкости, пропускаемой через активное сопло для создания эффекта эжекции, а также обеспечить более мягкие режимы взаимодействия пара с жидкостью в камере предварительного смешения.
Всасывающий патрубок насоса соединен трубопроводом с камерой предварительного смешения, что обеспечивает быстрое удаление заполняющей ее жидкости и преобразование ее в охлажденную двухфазную смесь в начальный момент запуска подогревателя в работу и, следовательно, обеспечивается включение его в работу практически без вибраций и гидравлических ударов.
Для упрощения конструкции камеры предварительного смешения в корпусе камеры предварительного смешения выполнены тангенциальные сопла, сообщенные через охватывающий ее коллектор с нагнетательной магистралью насоса, а на внутренней поверхности корпуса установлены лопатки.
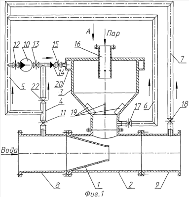
На фигуре 1 представлена конструкция предлагаемого струйного смешивающего подогревателя жидкости, на фигуре 2 – вид сверху на камеру предварительного смешения, при этом трубопроводы и арматура условно не показаны.
В состав подогревателя входит активное сопло 1, выполненное в виде конфузора и размещенное внутри приемной камеры 2, выполненной в виде тройника. Ко входу активного сопла подсоединена подводящая магистраль 8, через которую осуществляется подача нагреваемой жидкости в подогреватель. К выходу приемной камеры подсоединена выходная часть подогревателя 9 (магистраль для отвода нагретой жидкости). К верхнему патрубку приемной камеры прикреплена фланцевым соединением камера предварительного смешения 3 пара и жидкости. Корпус камеры предварительного смешения выполнен из цилиндрической трубы, в которой образованы тангенциальные сопла 21 для пропуска жидкости из коллектора 20, охватывающего корпус камеры. В нижней части камеры предварительного смешения на внутренней поверхности установлены лопатки 19. Для подачи пара в камеру предварительного смешения служит патрубок 16, в котором выполнены отверстия в пределах той части, которая помещена в камеру предварительного смешения.
Если давление нагреваемой жидкости на входе в сопло больше давления пара, камера предварительного смешения 3 может быть сообщена через трубопровод 4, при открытых запорных задвижках 11 и 15, с подводящей водяной магистралью 8.
Если давление нагреваемой жидкости меньше давления пара, предусмотрено соединение подводящей водяной магистрали трубопроводом 5 через задвижки 11 и 12 с всасывающим патрубком насоса 10, а камеру предварительного смешения 3 (коллектор 14) сообщают с нагнетательным патрубком насоса 10 через открытые задвижки 13 и 15.
Если эжекционных свойств сопла недостаточно для подсоса пара, предусмотрено соединение выходной части 9 подогревателя с помощью трубопровода 7 и задвижек 18 и 12 с всасывающим патрубком насоса 10, а нагнетательный патрубок насоса соединен с камерой предварительного смешения.
Для исключения гидравлических ударов при включении подогревателя в работу предусмотрено соединение всасывающего патрубка насоса 10 трубопроводом 6 и задвижками 17 и 12 с нижней частью камеры предварительного смешения 3.
Работа подогревателя осуществляется следующим образом.
Вода под давлением по подводящей магистрали 8 поступает на вход в активное сопло 1. В активном сопле происходит снижение статического давления вследствие разгона воды, и на выходе из сопла формируется высоконапорная струя воды с давлением меньшим, чем давление пара. Пар подают через патрубок 16 в камеру предварительного смешения 3. В начальный момент, после подачи жидкости в сопло, камера предварительного смешения заполнена жидкостью. При подаче пара происходит вытеснение жидкости из камеры предварительного смешения под действием давления пара и возникают гидравлические удары. Для предупреждения таких негативных эффектов открывают задвижки 17, 12, 13, 15 и включают насос 10 (остальные задвижки закрыты), вследствие чего жидкость из нижней части камеры предварительного смешения откачивается насосом по трубопроводу 6, поступает в коллектор 20 и вводится в виде струй через тангенциальные сопла 21 в камеру предварительного смешения, где, смешиваясь со струями пара, превращается в двухфазную смесь, с частичной конденсацией пара и снижаются тем самым пульсационные и вибрационные характеристики потоков в камере предварительного смешения при запуске подогревателя в работу. После полного вытеснения воды из камеры предварительного смешения насос выключают и закрывают задвижку 17, например по сигналу от датчика сплошности среды или датчика уровня жидкости.
Если давление нагреваемой жидкости в подводящей магистрали 8 больше давления пара в патрубке 16, часть нагреваемой жидкости под действием этого перепада давлений между жидкостью и паром по трубопроводу 4 (задвижки 11, 22, 15 открыты) поступает в камеру предварительного смешения, где, смешиваясь с паром, превращается в двухфазную смесь, которая в приемной камере 2 и отводящей магистрали 9 конденсируется на струе жидкости, вытекающей из активного сопла, нагревая тем самым поток жидкости. Поток жидкости, подаваемый в камеру предварительного смешения, для лучшего перемешивания подается через тангенциальные сопла 21, а полученный двухфазный поток, имеющий окружную составляющую, тормозится на спрямляющих лопатках 19.
Если давление нагреваемой жидкости меньше давления пара, включают насос 10, и нагреваемая жидкость под давлением нагнетается насосом в камеру предварительного смешения (открыты задвижки 11, 12, 13, 15, остальные закрыты). Подача нагреваемой жидкости с давлением, превышающим давление пара, позволяет расширить эксплуатационные возможности подогревателя, а с другой стороны – улучшить качество двухфазной смеси, обеспечив необходимую тонкость распыла жидкости, а тем самым создать развитую поверхность теплообмена потоков пара и жидкости.
Для сохранения эжекционной характеристики активного сопла при падении расхода нагреваемой жидкости, пропускаемой через активное сопло в результате отбора части жидкости перед соплом, включают насос 10 и по трубопроводу 7 (задвижки 18, 12, 13, 15 открыты, остальные закрыты) нагретую жидкость под давлением подают в камеру предварительного смешения, где, смешиваясь с паром, она образует однородную двухфазную смесь.
Признаками изобретения являются:
– активное сопло;
– приемная камера;
– камера предварительного смешения пара с жидкостью;
– трубопровод подачи жидкости в камеру предварительного смешения;
– трубопровод подачи жидкости в камеру предварительного смешения содержит устройство нагнетания жидкости, например насос;
– всасывающий патрубок устройства нагнетания жидкости соединен со входом в активное сопло, а нагнетательный патрубок – с камерой предварительного смешения;
– всасывающий патрубок устройства нагнетения жидкости соединен с выходной частью подогревателя, а нагнетающий – с камерой предварительного смешения;
– всасывающий и нагнетающий патрубки устройства нагнетания жидкости соединены с камерой предварительного смешения;
– в корпусе камеры предварительного смешения выполнены тангенциальные сопла;
– тангенциальные сопла сообщены с нагнетательной магистралью насоса через охватывающий корпус коллектор;
– на внутренней поверхности корпуса камеры предварительного смешения установлены лопатки.
Признаки: “активное сопло, приемная камера, камера предварительного смешения, трубопровод подачи жидкости в камеру предварительного смешения” – общие, остальные – отличительные.
Таким образом, предлагаемый смешивающий подогреватель жидкости обладает изобретательским уровнем, так как совокупность признаков данного технического решения обуславливает новое свойство, дающее требуемый технический эффект: обеспечивает непрерывный подогрев текущего расхода жидкости вводимым в поток жидкости паром при изменении соотношений давлений нагреваемой воды и греющего пара в широком диапазоне. Кроме того, улучшаются эксплуатационные характеристики подогревателя при включении его в работу, а также улучшается качество получаемой двухфазной смеси без ухудшения эжекционных свойств и без роста гидравлического сопротивления подогревателя.
Формула изобретения
1. Струйный смешивающий подогреватель жидкости, содержащий активное сопло, приемную камеру, камеру предварительного смешения пара с жидкостью, трубопровод подачи жидкости в камеру предварительного смешения, отличающийся тем, что в нем трубопровод подачи жидкости в камеру предварительного смешения содержит устройство нагнетания жидкости, например насос, всасывающий патрубок которого соединен со входом в активное сопло, а нагнетательный – с камерой предварительного смешения.
2. Струйный смешивающий подогреватель жидкости по п.1, отличающийся тем, что всасывающий патрубок насоса соединен с выходной частью подогревателя, а нагнетательный – с камерой предварительного смешения.
3. Струйный смешивающий подогреватель жидкости по п.1 или 2, отличающийся тем, что всасывающий и нагнетательный патрубки насоса соединены с камерой предварительного смешения пара с жидкостью.
4. Струйный смешивающий подогреватель жидкости по п.1 или 2, отличающийся тем, что в корпусе камеры предварительного смешения выполнены тангенциальные сопла, сообщенные через охватывающий корпус коллектор с нагнетательной магистралью насоса, а на внутренней поверхности корпуса установлены лопатки.
РИСУНКИ
|
|