|
|
(21), (22) Заявка: 2006120319/06, 05.06.2006
(24) Дата начала отсчета срока действия патента:
05.06.2006
(46) Опубликовано: 10.02.2008
(56) Список документов, цитированных в отчете о поиске:
RU 2150021 C1, 27.05.2000. RU 2113613 C1, 20.06.1998. US 4092828 A, 06.06.1978. US 4454429 A, 12.06.1984. GB 1587593 A, 08.04.1981. FR 2357751 A1, 03.02.1978. DE 3130095 A1, 18.11.1982.
Адрес для переписки:
198332, Санкт-Петербург, Ленинский пр-кт, 79, корп.1, кв.351, Ю.А. Телегину
|
(72) Автор(ы):
Кирюнин Антон Евгеньевич (RU), Телегин Юрий Александрович (RU), Трофимов Юрий Владимирович (RU)
(73) Патентообладатель(и):
Кирюнин Антон Евгеньевич (RU)
|
(54) ВОЛНОВАЯ ЭНЕРГЕТИЧЕСКАЯ УСТАНОВКА
(57) Реферат:
Установка предназначена для преобразования энергии волн в электроэнергию. Установка содержит вертикальную, укрепленную на дне опору, качающуюся штангу, установленную на опоре с возможностью вращения вокруг оси опоры, поплавок, закрепленный на одном из концов штанги. Поплавок имеет впускное снизу и выпускное сверху отверстия, снабженные управляемыми дистанционно клапанами, и электрогенератор. Верхний конец опоры находится под водой при любой возможной силе волнения. Датчик силы волнения связан с управляемыми дистанционно клапанами, поплавок подключен к пневмомагистрали, соединенной с источником давления, качающаяся штанга соединена с насосом, который соединен трубопроводом с аккумулятором гидропотенциальной энергии на берегу, электрогенератор расположен на берегу и связан с гидротурбиной, соединенной с аккумулятором гидропотенциальной энергии. Установка переходит в безопасный режим за счет заполнения поплавка водой при превышении силы волнения, которое определяется соответствующим датчиком. Конструкция установки позволяет обеспечить надежность и долговечность работы. 8 з.п. ф-лы, 3 ил.
Изобретение относится к области возобновляемой энергетики, а именно к устройствам для преобразования энергии волн водоемов в электроэнергию.
Известна волновая энергетическая установка по заявке на патент РФ №94025338, МПК 8 F03В 13/12. Волновая энергетическая установка содержит вертикальную опору, трубу, установленную на опоре с возможностью вращения вокруг ее оси, две горизонтальных опоры, объединенных направляющими, по которым перемещается поплавок в форме цилиндра, на оси которого установлены колеса, перемещающиеся по направляющим, и посредством гибкой связи приводящий в действие обмотку электрогенератора. Установка содержит также два электродвигателя, с помощью которых установка меняет свое положение при изменении направления волны и ее амплитуды.
Основным недостатком известной волновой энергетической установки является то, что электрогенератор и электродвигатели расположены с возможностью попадания в них воды, что снижает надежность и долговечность работы установки.
Также известна волновая энергетическая установка по патенту РФ №2150021, МПК 8 F03В 13/12, наиболее близкая по своей технической сущности и принятая в качестве ближайшего аналога. Волновая энергетическая установка по патенту РФ №2150021 выглядит следующим образом: на поверхности воды из комплектующих собирают жесткий объемный каркас в виде однотипных модулей, устанавливают множество поплавков в несколько рядов как вдоль, так и перпендикулярно рабочему валу с муфтами одностороннего вращения на каждый поплавок и поплавки связывают с муфтами гибкими связями. Вторичные валы передаточных механизмов разных модулей соединяют карданными передачами. Площадь энергостанции, параметры и количество поплавков определяют по выведенной формуле в зависимости от проектной мощности. Используют поплавки двух оптимальных форм для двух вариантов подвески – на двуплечем рычаге и на вертикальном участке замкнутой через четыре шкива связи. На каркасе размещают ветроагрегаты, преобразователи солнечной энергии, производственные и жилые постройки. Утилизированную энергию волн и ветра в виде механической энергии вращающегося вала через механизмы сцепления, раздаточные коробки и т.п.используют для привода электрогенераторов, насосов, вакуумных дистилляционных установок, опреснительных установок обратного осмоса, мельниц и др. Первичную электроэнергию с нестабильными параметрами используют для нагрева пара, зарядки аккумуляторов, а также для работы электролизера и получения водорода, его накапливают в резервуарах и используют для работы двигателя внутреннего сгорания для привода другого генератора со стабилизацией параметров с помощью обратной связи. Насосами морскую воду перекачивают в резервуары выше уровня моря и используют для работы гидроэлектроагрегата по принципу гидроаккумулирующей электростанции. Энергостанцию устанавливают на шарнирной опоре, или на сваях, или на понтонах с возможностью регулирования высоты расположения каркаса относительно уровня воды, оснащают водяными колесами для маневрирования.
Недостатком единичного модуля известной волновой энергетической установки является возможность разрушения конструкция данного модуля, а особенно стойки, поплавковой конструкции и подвески поплавка к общему каркасу посредством стойки либо шкивов при воздействии волновой нагрузки, превышающей расчетную, например, при сильном шторме, могут разрушиться, что снижает устойчивость установки к неблагоприятным внешним факторам и ее надежность.
Перед заявляемым изобретением поставлена задача повысить устойчивость волновой энергетической установки к неблагоприятным внешним факторам, тем самым повысить надежность и долговечность ее работы в условиях неблагоприятной внешней среды.
Поставленная задача решается следующим образом: волновая энергетическая установка, содержащая вертикальную, укрепленную на дне опору, качающуюся штангу, установленную на опоре с возможностью вращения вокруг оси опоры, поплавок, закрепленный на одном из концов качающейся штанги, причем поплавок имеет впускное снизу и выпускное сверху отверстия, снабженные управляемыми дистанционно клапанами, и электрогенератор, при этом вертикальная, укрепленная на дне опора, имеет длину такую, что верхний ее конец находится под водой при любой возможной силе волнения, датчик силы волнения связан с управляемыми дистанционно клапанами, поплавок подключен к пневмомагистрали, соединенной с источником давления, качающаяся штанга соединена с насосом, который соединен трубопроводом с аккумулятором гидропотенциальной энергии на берегу, электрогенератор расположен на берегу и связан с гидротурбиной, соединенной с аккумулятором гидропотенциальной энергии.
Аккумулятор гидропотенциальной энергии может быть выполнен в виде водонапорной башни.
Аккумулятор гидропотенциальной энергии может быть выполнен в виде гидропневмоаккумулятора.
Гидротурбина, насос и аккумулятор гидропотенциальной энергии могут быть объединены в замкнутый контур
На вертикальную опору может быть надет открытый снизу стакан, закрепленный на вертикальной опоре с помощью подшипниковых опор, находящихся в образованной между стаканом и вертикальной опорой воздушной подушке.
Датчик силы волнения может быть выполнен в виде датчика гидростатического давления, расположенного на качающейся штанге, вблизи крепления штанги на опоре
Датчик силы волнения может быть выполнен в виде датчика углового положения, расположенного на оси вращения штанги.
Датчик силы волнения может быть выполнен в виде датчика углового ускорения и расположен во внутренней полости штанги.
Датчик силы волнения может быть выполнен в виде датчика давления в насосе.
Таким образом, заявляемое изобретение позволяет получить технический результат, а именно повысить надежность и долговечность работы волновой энергетической установки в условиях неблагоприятной внешней среды.
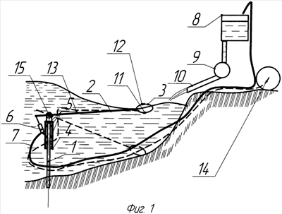
На фиг.1 представлен общий вид размещения установки в водоеме, и положений поплавка в рабочем и безопасном положениях.
На фиг.2 представлен вид опоры с расположенным на ней оборудованием.
На фиг.3 представлен вид поплавка и узел крепления качающейся штанги к опоре.
Волновая энергетическая установка (фиг.1) содержит вертикальную опору 1, укрепленную на дне водоема. Вертикальная опора 1 установлена таким образом, чтобы ее верхний срез с укрепленной на нем качающейся штангой 2, находился под водой при любой вероятной силой волнения. Качающаяся штанга 2 закреплена на вертикальной опоре 1 так, что соотношение между плечами качающейся штанге 2 составляют примерно 10 к 1. На длинном конце штанги закреплен поплавок 3. На вертикальную опору 1 (фиг.2) надет открытый снизу стакан 4, закрепленный на вертикальной опоре 1 с помощью подшипниковых узлов 5, находящихся в образованной между стаканом и вертикальной опорой воздушной подушке. Также снаружи стакана 4 закреплен насос 6, механически связанный с коротким плечом качающейся штанги 2. Насос 6 с помощью трубопровода 7 соединен с гидропневмоаккумулятором 8, расположенном на берегу в защищенном от неблагоприятных факторов внешней среды месте. Турбина 9 соединена с гидропневноаккумулятором 8 через клапан постоянного давления. Сливной патрубок 10 одним концом соединен с выходом турбины 9, а другим выходит в водоем. В поплавке 3 (фиг.3) имеются верхнее и нижнее отверстия, снабженные регулируемыми клапанами 11 и 12. Также в поплавке 3 имеется отверстие с присоединенной к нему пневмомагистралью 13, которая соединена с источником сжатого воздуха 14. Регулируемые клапана 11 и 12 связаны с датчиком силы волнения, выполненном в виде датчика гидростатического давления 15, расположенном на качающейся штанге 2, вблизи крепления качающейся штанги 2 к вертикальной опоре 1.
Сливной патрубок 10 может быть объединен с насосом 6 и гидропневмоаккумулятором 8 в замкнутый контур, что несколько снизит к.п.д. системы, но позволит использовать в контуре химически нейтральную жидкость, например пресную воду, что повысит долговечность работы установки.
Также датчик силы волнения может быть реализован в виде датчика углового положения качающейся штанги, либо в виде датчика углового ускорения, расположенного в штанге, либо в поплавке. Датчик силы волнения может быть реализован в виде датчика давления в насосе. Благодаря тому, что электрогенератор может быть изолирован от неблагоприятного воздействия внешней среды на берегу повышается надежность работы всей установки в целом.
Волновая энергетическая установка работает следующим образом: при нормальных условиях внешней среды качающаяся штанга 2 с поплавком 3 свободно вращается и качается относительно вертикальной опоры 1, при этом верхний и нижний регулируемые клапана 11 и 12 закрыты. В этом режиме подводная часть установки за счет механических перемещений поплавка 3 перекачивает с помощь насоса 5 воду по трубопроводу 6 в гидропневмоаккумулятор 8, и затем поток воды, проходя через турбину 9, вырабатывает энергию. При наступлении неблагоприятных внешних условий, например, чрезмерно сильного волнения либо ветра поступает сигнал от датчика 15, на открытие регулируемых клапанов 11 и 12 в поплавке 3. Поплавок 3 заполняется водой, приобретает отрицательную плавучесть, и качающаяся штанга 2 с поплавком 3 погружается в положение не подвергающиеся значительным динамическим нагрузкам от волнения. При снижении силы волнения до допустимой силы датчик 15 подает сигнал на закрытие верхнего клапана 12 и на подачу сжатого воздуха в поплавок 3 по пневмомагистрали 13 от источника сжатого воздуха 15, вода вытесняется из поплавка 3, поплавок 3 приобретает положительную плавучесть и начинает работать в нормальном режиме. Через некоторое время после начала подачи сжатого воздуха в поплавок 3 закрывается нижний регулируемый клапан 11. Таким образом, при превышении допустимых нагрузок волновая энергетическая установка переходит в безопасный режим. В безопасном режиме все основные узлы конструкции находятся ниже уровня максимального воздействия волнения, что способствует повышению надежности работы установки. Также волновая энергетическая установка, находящаяся в безопасном режиме более динамически устойчива за счет заполненного водой поплавка.
Таким образом, заявляемое изобретение позволило получить технический результат, а именно повысить надежность и долговечность работы волновой энергетической установки в условиях неблагоприятной внешней среды.
Формула изобретения
1. Волновая энергетическая установка, содержащая вертикальную, укрепленную на дне опору, качающуюся штангу, установленную на опоре с возможностью вращения вокруг оси опоры, поплавок, закрепленный на одном из концов качающейся штанги, причем поплавок имеет впускное снизу и выпускное сверху отверстия, снабженные управляемыми дистанционно клапанами, и электрогенератор, расположенный на берегу и связанный с гидротурбиной, соединенной с аккумулятором гидропотенциальной энергии, отличающаяся тем, что вертикальная, укрепленная на дне опора, имеет длину такую, что верхний ее конец находится под водой при любой возможной силе волнения, датчик силы волнения, связанный с управляемыми дистанционно клапанами, поплавок подключен к пневмомагистрали, соединенной с источником давления, качающаяся штанга механически соединена с насосом, который соединен трубопроводом с аккумулятором гидропотенциальной энергии на берегу.
2. Волновая энергетическая установка по п.1, отличающаяся тем, что аккумулятор гидропотенциальной энергии выполнен в виде водонапорной башни.
3. Волновая энергетическая установка по п.1, отличающаяся тем, что аккумулятор гидропотенциальной энергии выполнен в виде гидропневмоаккумулятора.
4. Волновая энергетическая установка по п.1, отличающаяся тем, что гидротурбина, насос и аккумулятор гидропотенциальной энергии объединены в замкнутый контур.
5. Волновая энергетическая установка по п.1, отличающаяся тем, что на вертикальную опору надет открытый снизу стакан, закрепленный на вертикальной опоре с помощью подшипниковых узлов, находящихся в образованной между стаканом и вертикальной опорой воздушной подушке.
6. Волновая энергетическая установка по п.1, отличающаяся тем, что датчик силы волнения выполнен в виде датчика гидростатического давления, расположенного на качающейся штанге вблизи узла крепления штанги на опоре.
7. Волновая энергетическая установка по п.1, отличающаяся тем, что датчик силы волнения выполнен в виде датчика углового положения, расположенного на оси вращения качающейся штанги.
8. Волновая энергетическая установка по п.1, отличающаяся тем, что датчик силы волнения выполнен в виде датчика углового ускорения, расположенного во внутренней полости качающейся штанги.
9. Волновая энергетическая установка по п.1, отличающаяся тем, что датчик силы волнения выполнен в виде датчика давления в насосе.
РИСУНКИ
MM4A – Досрочное прекращение действия патента СССР или патента Российской Федерации на изобретение из-за неуплаты в установленный срок пошлины за поддержание патента в силе
Дата прекращения действия патента: 06.06.2008
Извещение опубликовано: 27.06.2010 БИ: 18/2010
|
|