|
(21), (22) Заявка: 2006105180/06, 20.02.2006
(24) Дата начала отсчета срока действия патента:
20.02.2006
(46) Опубликовано: 10.02.2008
(56) Список документов, цитированных в отчете о поиске:
FR 2439174 А, 16.05.1980. FR 1351422 А, 07.02.1964. RU 2255240 C1, 27.06.2005. RU 2186235 C1, 27.07.2002. US 3278356 A, 11.10.1966. FR 2597926 A, 30.10.1987.
Адрес для переписки:
614113, г.Пермь, ул. Чистопольская, 16, ФГУП “Научно-исследовательский институт полимерных материалов”
|
(72) Автор(ы):
Амарантов Георгий Николаевич (RU), Арефьев Вадим Сергеевич (RU), Моисеева Галина Петровна (RU), Саранина Наталья Владимировна (RU), Федченко Николай Николаевич (RU), Лопатина Галина Евгеньевна (RU), Божья-Воля Николай Сергеевич (RU), Кузьмицкий Геннадий Эдуардович (RU)
(73) Патентообладатель(и):
Федеральное государственное унитарное предприятие “Научно-исследовательский институт полимерных материалов” (RU), Федеральное казенное предприятие “Пермский пороховой завод” (RU)
|
(54) ЗАРЯД ТВЕРДОГО РАКЕТНОГО ТОПЛИВА
(57) Реферат:
Заряд твердого ракетного топлива на основе тонкосводных топливных трубок одной длины с постоянным по длине сечением выполнен составным в виде двух пучков трубок. Один из пучков трубок образован топливными трубками, надетыми на штифты, размещенные на переднем днище двигателя в завулканизированной эластичной резине. Другой, центральный пучок, помещен относительно первого пучка со смещением в сторону переднего днища двигателя в центральный стакан, скрепленный с передним днищем, и удерживается в нем колосником. Центральный пучок выполнен с диаметром, не выходящим за пределы межсоплового пространства двигателя. Величина смещения центрального пучка равна длине предсоплового объема двигателя. Изобретение позволяет обеспечить высокую начальную скорость выстрела, сохранить уровень максимального давления и исключить дегрессивно догорающие остатки топлива. 1 з.п. ф-лы, 1 ил.
В системе вооружений существует необходимость в разработке переносных противотанковых управляемых и неуправляемых ракет, реактивных огнеметов, гранатометов, запускаемых из положения «с плеча» с высокими (300 м/с) начальными скоростями.
При разработке зарядов двигателей таких ракет предусматривается очень короткий (10-20 мс) период горения, поскольку сгорание элементов заряда до конца должно происходить в пределах пусковой установки. В ракетах управляемого типа не допускается при этом догорание дегрессивных остатков топлива, препятствующего устойчивому оптическому наведению ракеты на цель.
В наибольшей степени это обеспечивают заряды на основе тонкосводных элементов твердого ракетного топлива в виде трубок или элементов иного профиля, собранных в пучок и заделанных концом по типу «щетка» в полимерный крепящий состав, отвержденный на переднем днище двигателя (пат. Франции №№1351422, F42B, 1963; 2181178, F42C, 1974, пат. РФ №№2211354, F02K, 2002; 2183606, С06В, 2001).
Элементы заряда при этом могут изготавливаться из кордитных (пироксилиновых), двухосновных (баллиститных) топлив с постоянной в рабочем диапазоне давлений (20-30 МПа) скоростью горения (зоне «плато») либо из быстрогорящих смесевых топлив с существенно более высоким уровнем скорости горения в этой области.
Для исключения дегрессивно догорающих остатков топливных трубок в заделке крепящим составом они могут содержать вкладные элементы в виде штифтов, вклеенных в каналы и удерживающих трубки подвеской на передней несущей пластине двигателя (пат. США №№3278356, кл. 156-294, 1996).
Стремление обеспечить высокий уровень начальной скорости выстрела приводит к высоким плотностям заряжания камеры двигателя топливом. В устройствах щеточных зарядов это свойство заставляет работать при низких отношениях площади свободного прохода продуктов сгорания топлива в присопловой зоне к площади критического сечения сопла (Fсв/Fкр), в особенности в начальный период горения заряда. В данных условиях это приводит к эрозионному горению топлива.
Для баллиститных и кордитных топлив с невысокими (30-40 мм/с) скоростями горения в зоне «плато» в целях исключения эрозионного горения минимально допустимое отношение Fсв/Fкр составляет 2,0; для зарядов твердого топлива с более высоким уровнем скоростей горения предельное значение этого отношения может быть несколько ниже (1,5).
Указанные эрозионные ограничения по величине Fсв/Fкр снижают массовое совершенство РДТТ с щеточными зарядами. Влияние эрозионного горения ограничивает уровень рабочего давления и повышает величину отношения максимальных давлений в двигателе на верхней и нижней границах температурного диапазона боевого применения заряда, что является основным недостатком зарядов.
Другим их недостатком является наличие дегрессивно догорающих остатков топливных элементов в заделке, которые при неравномерной растекаемости крепящего состава по поверхности дна могут составлять значительную величину.
Заряды, описанные в патенте США №3278356, хотя и не имеют этого недостатка, однако не обеспечивают высоких плотностей заряжания, поскольку наличие перемычек между отверстиями несущей пластины исключает возможность плотной упаковки топливных трубок заряда.
Из патента Франции №2439174, С06В 21/00, 1980 известно устройство щеточного заряда в виде пучка топливных элементов с разной длиной и изогнутым в поперечном сечении профилем, например, в форме «омега ». При этом более короткие элементы собраны в пучок по центру основного, более длинного пучка. Длинные и короткие топливные элементы заделаны в эластичную смолу путем ее наливки на поверхность днища и отверждения.
Омегообразные элементы топлива данного заряда могут иметь и одну длину, но выполняться усеченными по -периметру в форме трапеции в направлении движения продуктов сгорания.
Аналогичное усечение периметра трубчатого топливного элемента в цилиндро-коническую форму отмечено в патенте США 3729349, С06В, 1971 на заряд в виде пучка трубок.
Устройство заряда по патенту Франции №2439174 взято за прототип данного изобретения. Устройство заряда-прототипа позволяет выдержать существующие ограничения по величине Fсв/Fкр на участке от торца короткого пучка до присоплового торца заряда и исключить, за счет этого, влияние эрозионного горения на уровень максимального давления в начальный период работы заряда.
Недостатками устройства-прототипа являются снижение массовых характеристик заряда и, следовательно, уровня основной характеристики (начальной скорости) за счет применения короткого пучка и усечения профиля топливных элементов, а также наличие дегрессивно догорающих остатков топлива в заделке, исключающее возможность применения заряда в системах оптического наведения.
Технической задачей настоящего изобретения является повышение массовых характеристик с обеспечением условий безэрозионного горения топлива в устройствах зарядов на основе тонкосводных топливных элементов, повышение за счет этого уровня основного параметра (начальной скорости выстрела), сохранение уровня максимального давления, исключение дегрессивно догорающих остатков топлива, а также снижение температурной чувствительности величины максимального давления в двигателе.
Технический результат достигается за счет того, что заряд выполняется аналогично прототипу составным в виде двух пучков тонкосводных топливных трубок. Однако топливные трубки имеют одну длину и постоянное по длине сечение.
При этом центральный пучок помещается в цилиндрический стакан, скрепленный с передним днищем двигателя. Наружный пучок трубок вклеен по схеме «щетка». Данный пучок образуют топливные трубки, надетые на штифты, размещенные на переднем днище двигателя в завулканизованной эластичной резине.
Относительно наружного пучка центральный пучок смещен в сторону переднего днища на расстояние, равное, в предельном случае, длине предсоплового объема двигателя, что обеспечивает снятие эрозионного горения топлива в присопловой области заряда.
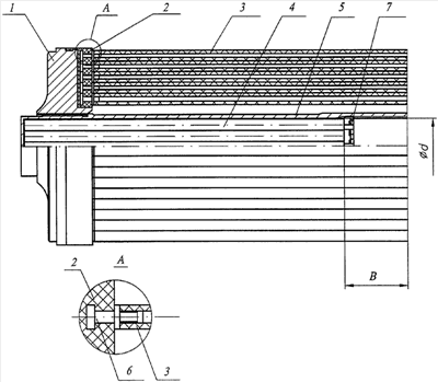
Сущность изобретения показана на чертеже.
Изображенное устройство заряда представляет собой двухпучковую схему на основе топливных трубок 3 и 4 одной и той же длины.
Пучок трубок 4 помещен свободно в центральный стакан 5, скрепленный с передним днищем 1 двигателя, и удерживается в нем колосником 7. Пучок трубок 3 вклеен по схеме «щетка» с использованием покрытых клеем штифтов 6, размещенных на переднем днище 1 двигателя в завулканизованной эластичной резине 2.
Пучок трубок 4 смещен в сторону переднего днища 1 на расстояние В. Диаметр d пучка трубок 4 не выходит за пределы межсоплового пространства на заднем днище двигателя, а величина смещения пучка В в пределе равна длине предсоплового объема двигателя.
Смещение пучка топливных трубок 4 позволяет снизить на участке В отношение Fсв/Fкр до уровня, снижающего или совсем исключающего эрозионное горение топлива, а исполнение при этом заряда на основе топливных трубок одной длины – исключить потерю массовых характеристик двигателя.
Вместе взятое это обеспечивает высокий уровень начальной скорости выстрела, установленную величину максимального давления, снижая градиент последнего в температурной области боевого применения.
Реализация схемы «щетка» пучка трубок 3 с заделкой штифтов в завулканизованную эластичную резину исключает имеющиеся на отверждаемых полимерных крепящих составах местные их подъемы, оголения штифтов из-за неравномерной растекаиваемости полимерного состава и гарантирует полное исключение возможности появления дегрессивно горящих остатков топлива, обеспечивая, кроме этого, надежное закрепление элементов заряда.
Заявленное техническое решение положительно зарекомендовало себя в отработке заряда баллиститного топлива пехотного огнемета.
Формула изобретения
1. Заряд твердого ракетного топлива на основе тонкосводных топливных трубок одной длины с постоянным по длине сечением, отличающийся тем, что он выполнен составным в виде двух пучков, один из которых образуют топливные трубки, надетые на штифты, размещенные на переднем днище двигателя в завулканизированной эластичной резине, а другой, центральный пучок, с диаметром, не выходящим за пределы межсоплового пространства двигателя, помещен относительно первого пучка со смещением в сторону переднего днища двигателя в центральный стакан, скрепленный с передним днищем, и удерживается в нем колосником.
2. Заряд по п.1, отличающийся тем, что величина смещения центрального пучка равна длине предсоплового объема двигателя.
РИСУНКИ
|