|
|
(21), (22) Заявка: 2006125264/06, 13.07.2006
(24) Дата начала отсчета срока действия патента:
13.07.2006
(46) Опубликовано: 10.02.2008
(56) Список документов, цитированных в отчете о поиске:
RU 2272920 C1 (БОЕВ И.В.), 27.03.2006. RU 40393 U1 (БОЕВ И.В.), 10.09.2004. RU 2163682 C2 (МАКСИМОВ A.M.), 27.02.2001. SU 442610 A1 (XEPMAHH ПАПСТ), 05.09.1974. GB 1595600 A (ERNST BOSSHARD), 12.08.1981. US 4505187 A (FIAT AUTO S.P.A.), 19.03.1985. WO 95/08697 A1 (FENEUX EMILIEN), 30.03.1995.
Адрес для переписки:
400066, г.Волгоград, ул. Коммунистическая, 10, кв.73, И.В. Боеву
|
(72) Автор(ы):
Боев Игорь Васильевич (RU)
(73) Патентообладатель(и):
Боев Игорь Васильевич (RU)
|
(54) АКСИАЛЬНО-ПОРШНЕВОЙ ДВИГАТЕЛЬ
(57) Реферат:
Изобретение относится к двигателестроению, а именно к поршневым двигателям внутреннего сгорания с качающейся наклонной шайбой. Технический результат заключается в повышении надежности двигателя. Согласно изобретению двигатель включает в себя блок цилиндров с цилиндрами рабочей секции и с цилиндрами компрессорной секции. При этом оси цилиндров параллельны оси коленчатого вала, установленного в блоке цилиндров с возможностью вращения в подшипниковых опорах. Поршни рабочей секции и поршни компрессорной секции расположены в цилиндрах попарно и скреплены штоками. Со штоками поршней соединены рычаги наклонных шайб, установленных шарнирно на кривошипе коленчатого вала. Двигатель дополнительно содержит опорные пластины, на которые опираются опорные ролики, расположенные шарнирно на рычагах наклонных шайб. Опорные ролики предназначены для предотвращения вращения наклонных шайб вместе с кривошипом коленчатого вала. 2 ил.
Изобретение относится к двигателестроению, конкретнее к аксиально-поршневым двигателям внутреннего сгорания с осями цилиндров, расположенных в одной плоскости с осью ведущего вала, и с качающейся наклонной шайбой.
Известен аксиально-поршневой двигатель, содержащий корпус, установленный в корпусе на подшипниках скольжения с возможностью вращения, ведущий вал с первой осью симметрии и с кривошипом, блок цилиндров, оси которых параллельны первой оси ведущего вала, расположенные в цилиндрах поршни с шатунами, наклонную шайбу со второй осью и с центральной цапфой, связанной шарнирно с возможностью качания с кривошипом, при этом наклонная шайба шарнирно соединена посредством шатунов с поршнями, крестовину с двумя противоположно расположенными на третьей оси цапфами, которые установлены шарнирно в корпусе на подшипниках качения, кроме того, наклонная шайба выполнена с дополнительными двумя противоположно расположенными на четвертой оси цапфами, которые установлены шарнирно в крестовине посредством подшипников качения, при этом четвертая ось перпендикулярна третьей оси и пересекается в общей точке с первой, второй и третьей осями (см. описание полезной модели к патенту РФ №40393, МПК F 01 В 3/02, публикация 10.09.2004 г.).
Недостатком этого двигателя является консольное расположение ведущего вала, что увеличивает габариты двигателя, повышает нагрузку на шарнир центральной цапфы, связанный с кривошипом, и соответственно снижает надежность двигателя в целом.
Известен аксиально-поршневом двигатель, содержащий корпус, установленный в корпусе с возможностью вращения в подшипниковых опорах ведущий вал с первой осью симметрии и с кривошипом, блок цилиндров, оси которых параллельны первой оси ведущего вала, расположенные в цилиндрах поршни с шатунами, наклонную шайбу со второй осью и с центральной цапфой, связанной шарнирно с кривошипом, при этом наклонная шайба шарнирно соединена посредством шатунов с поршнями, крестовину с двумя противоположно расположенными на третьей оси цапфами, которые установлены шарнирно в корпусе в подшипниковых опорах, кроме того, наклонная шайба выполнена с возможностью качания на двух противоположно расположенных на четвертой оси цапфах, которые установлены шарнирно в крестовине в подшипниковых опорах, при этом четвертая ось перпендикулярна третьей оси и пересекается в общей точке с первой, второй и третьей осями, двигатель дополнительно содержит сепаратор-ресивер, распределитель, компрессорную секцию, воздушный ресивер и распределительный вал с кривошипом, который установлен на продолжении первой оси в блоке цилиндров и в головке цилиндров в подшипниковых опорах с возможностью вращения, наклонная шайба выполнена на второй оси с дополнительной центральной цапфой, связанной шарнирно с кривошипом распределительного вала, на втором конусном конце которого жестко закреплены кулачки для управления через толкатели и коромысла впускными и выпускными клапанами головки цилиндров, в цилиндрах выполнены выпускные окна для отвода выхлопных газов через обратный клапан в сепаратор-ресивер, выход которого через распределитель соединен со входом подпоршневой полости компрессорной секции, при этом выход компрессорной секции через воздушный ресивер подключен к входам впускных клапанов головки цилиндров (см. описание изобретения к патенту РФ №2272920, МПК F 02 B 75/26, F 01 B 3/02, публикация 27.03.2006 г.).
Недостатком этого двигателя, принятого за прототип, является сложная траектория движения шатунов, что соответственно ведет к снижению надежности двигателя.
Задачей заявляемого изобретения является повышение надежности аксиально-поршневых двигателей.
Сущность изобретения заключается в том, что аксиально-поршневой двигатель содержит блок цилиндров с цилиндрами рабочей секции и с цилиндрами компрессорной секции, установленный в блоке цилиндров с возможностью вращения в подшипниковых опорах коленчатый вал с кривошипом, расположенные в цилиндрах попарно поршни рабочей секции и поршни компрессорной секции с штоками, наклонные шайбы с рычагами, соединенными скользящими по ним шарнирами с штоками и поршнями, головку цилиндров компрессорной секции, компрессор с электроприводом от системы электрооборудования, включаемый перед запуском двигателя и при необходимости повышения степени сжатия, воздушный ресивер, распределительный вал с кулачками для управления через толкатели впускными и выпускными клапанами головки цилиндров рабочей секции. В головке цилиндров установлены форсунки подачи топлива. Выход компрессорной секции и выход компрессора через воздушный ресивер подключены к входам впускных клапанов головки цилиндров. Двигатель дополнительно содержит опорные пластины, на которые опираются опорные ролики, расположенные шарнирно на рычагах наклонных шайб и препятствующие вращению наклонных шайб вместе с кривошипом. Наклонные шайбы установлены в подшипниковых опорах с возможностью относительного вращения.
Сущность изобретения поясняется чертежами, где:
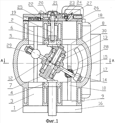
на фиг.1 показан аксиально-поршневой двигатель, общин вид в продольном разрезе;
на фиг.2 – то же, поперечный разрез А-А;
Аксиально-поршневой двигатель содержит блок цилиндров 1 с цилиндрами 2 рабочей секции и с цилиндрами 3 компрессорной секции, установленный в блоке цилиндров 1 с возможностью вращения в подшипниковых опорах 4, 5 коленчатый вал 6 с кривошипом 7, расположенные в цилиндрах 2, 3 попарно поршни 8 рабочей секции и поршни 9 компрессорной секции с штоками 10, 11, наклонные шайбы 12, 13 с рычагами 14, соединенными скользящими по ним шарнирами 15 с штоками 10, 11 и поршнями 8,9, головку цилиндров 16 компрессорной секции, компрессор 17 с электроприводом от системы электрооборудования, воздушный ресивер 18, распределительный вал 19 с кулачками 20, 21 для управления через толкатели 22, 23 впускными 24 и выпускными 25 клапанами головки цилиндров 26 рабочей секции. В головке цилиндров 26 установлены форсунки 27 подачи топлива. Двигатель дополнительно содержит опорные пластины 28, на которые опираются опорные ролики 29, расположенные шарнирно на рычагах 14 наклонных шайб 12, 13 и препятствующие их вращению вместе с кривошипом 7. Наклонные шайбы 12, 13 установлены в подшипниковых опорах 30 с возможностью относительного вращения.
Аксиально-поршневой двигатель работает следующим образом. При вращении коленчатого вала 6 в подшипниковых опорах 4, 5 в цилиндрах 3 компрессорной секции поршнями 9 сжимается воздух и вытесняется через головку цилиндров 16 в воздушный ресивер. 18. Циклы впуска и сжатия. При положении поршня 8 в верхней мертвой точке цилиндра 2 блока цилиндров 1 при вращении коленчатого вала 6 закрывается выпускной клапан 25 и открывается впускной клапан 24, размещенные в головке цилиндров 26. При движении поршня 8 в направлении нижней мертвой точки рабочая полость цилиндра 2 наполняется сжатым воздухом из ресивера 18. При положении поршня 8, в котором объем надпоршневой полости равен объему камеры сгорания, закрывается впускной клапан 24 и производится впрыск топлива через форсунку 27. Начало цикла рабочего хода. При достижении поршнем 8 нижней мертвой точки (или с некоторым опережением) открывается выпускной клапан 25. Окончание рабочего хода и начало цикла выпуска. При движении поршня 8 от нижней мертвой точки к верхней происходит удаление выхлопных газов.
Движущиеся возвратно-поступательно поршни 8 через штоки 10, 11 шарниры 15 воздействуют на рычаги 14 наклонных шайб 12, 13, которые через подшипниковые опоры 30 воздействуют на кривошип 7, вращая коленчатый вал 6 в подшипниковых опорах 4, 5 и распределительный вал 19 с кулачками 20, 21, воздействующими через толкатели 22, 23 на соответствующие впускные 24 и выпускные 25 клапаны головки цилиндров 26 двигателя. Опорные ролики 29, опирающиеся на опорные пластины 28, препятствуют вращению наклонных шайб 12, 13 совместно с кривошипом 7 и ведущим валом 6. Компрессор 17 служит для создания давления воздуха в воздушном ресивере 18 перед запуском двигателя и увеличения давления в процессе работы с целью повышения степени сжатия.
Заявленное изобретение позволит повысить надежность, уменьшить габариты, изменять степень сжатия в процессе работы аксиально-поршневых двигателей.
Формула изобретения
Аксиально-поршневой двигатель, содержащий блок цилиндров с цилиндрами рабочей секции и с цилиндрами компрессорной секции, установленный в блоке цилиндров с возможностью вращения в подшипниковых опорах коленчатый вал с кривошипом, расположенные в цилиндрах попарно поршни рабочей секции и поршни компрессорной секции с штоками, наклонные шайбы с рычагами, соединенными скользящими по ним шарнирами с штоками и поршнями, головку цилиндров компрессорной секции, компрессор, воздушный ресивер, распределительный вал с кулачками для управления через толкатели впускными и выпускными клапанами головки цилиндров рабочей секции, форсунки подачи топлива, отличающийся тем, что двигатель дополнительно содержит опорные пластины, на которые опираются опорные ролики, расположенные шарнирно на рычагах наклонных шайб и препятствующие вращению наклонных шайб вместе с кривошипом, а наклонные шайбы установлены в подшипниковых опорах с возможностью относительного вращения.
РИСУНКИ
|
|